JP4975475B2 - セグメント継手 - Google Patents

セグメント継手 Download PDF

Info

Publication number
JP4975475B2
JP4975475B2 JP2007038406A JP2007038406A JP4975475B2 JP 4975475 B2 JP4975475 B2 JP 4975475B2 JP 2007038406 A JP2007038406 A JP 2007038406A JP 2007038406 A JP2007038406 A JP 2007038406A JP 4975475 B2 JP4975475 B2 JP 4975475B2
Authority
JP
Japan
Prior art keywords
joint
female
male
fitting
rod
Prior art date
Legal status (The legal status is an assumption and is not a legal conclusion. Google has not performed a legal analysis and makes no representation as to the accuracy of the status listed.)
Expired - Fee Related
Application number
JP2007038406A
Other languages
English (en)
Other versions
JP2008202284A (ja
Inventor
勝司 福本
潤 上田
博英 橋本
一博 小林
崇 國藤
勇 大塚
一美 下田
Current Assignee (The listed assignees may be inaccurate. Google has not performed a legal analysis and makes no representation or warranty as to the accuracy of the list.)
INTERNATIONAL LABORATORY CORPORATION
Obayashi Corp
Original Assignee
INTERNATIONAL LABORATORY CORPORATION
Obayashi Corp
Priority date (The priority date is an assumption and is not a legal conclusion. Google has not performed a legal analysis and makes no representation as to the accuracy of the date listed.)
Filing date
Publication date
Application filed by INTERNATIONAL LABORATORY CORPORATION, Obayashi Corp filed Critical INTERNATIONAL LABORATORY CORPORATION
Priority to JP2007038406A priority Critical patent/JP4975475B2/ja
Publication of JP2008202284A publication Critical patent/JP2008202284A/ja
Application granted granted Critical
Publication of JP4975475B2 publication Critical patent/JP4975475B2/ja
Expired - Fee Related legal-status Critical Current
Anticipated expiration legal-status Critical

Links

Images

Landscapes

  • Lining And Supports For Tunnels (AREA)
  • Insertion Pins And Rivets (AREA)
  • Mutual Connection Of Rods And Tubes (AREA)

Description

本発明は、雄型継手と雌型継手によって接合してなるピン構造のセグメント継手に関する。
従来、シールドトンネルでは、トンネル断面形状及びトンネル軸方向に沿って分割形成されたセグメントを、トンネルの掘削推進とともに逐次組み立てつつ、隣り合うセグメント同士を一体に接合してトンネル内壁を形成している。一般的に用いられるセグメント継手は、セグメント同士の接合面に予め連通孔を設けておき、セグメント同士を当接させて連通孔にボルトを挿通してナットにより締め付ける構造が多かった。しかし、このようなボルト、ナットによる継手構造は、連通孔の位置決めやボルトの締め付け作業等に手間がかかることから、トンネルの掘進効率が低下する要因となっていた。そこで、シールド掘削機に備えられているシールドジャッキの押圧力を利用して継手を接合させるようにした圧入式のピン構造の継手が、例えば特許文献1乃至3に提案されている。
特許文献1乃至3に記載されるセグメント継手は、嵌合穴を形成させてその奥側に中ぐり部を有する有底の雌型継手と、先端に紡錘状に膨らんだピンを軸方向に移動可能に収容保持させたロッドを接合面に突設させた雄型継手とからなり、雌型継手の嵌合穴に雄型継手を挿入させ、ピンの先端が雌型継手の底部に当接した後にさらに圧入させることで、雄型継手のロッド先端部をピンの膨出部に沿って外径寸法が大きくなるように変形させ、ロッド先端部が雌型継手の中ぐり部に密接した状態とすることで、変形したロッド先端部と雌型継手の中ぐり部との間に摩擦を発生させ、その接触抵抗により雄型継手が抜けないようにした継手構造である。
特開2004−19378号公報 特開2004−19379号公報 特開2000−2090号公報
しかしながら、特許文献1乃至3に記載のセグメントの継手は、雄型継手と雌型継手とを接触による摩擦抵抗によって固定させる接合構造であることから、その接触抵抗よりも大きな力(引抜き力)が雄型継手が抜ける方向(挿入方向の反対方向)に作用したときに、雄型継手が雌型継手から抜けてしまうというおそれがあった。
本発明は、上述する問題点に鑑みてなされたもので、抜ける方向への移動を規制することで、雄型継手が雌型継手より容易に抜けないようにしたセグメント継手を提供することを目的とする。
上記目的を達成するため、本発明に係るセグメント継手では、第1セグメントの接合面に突設した雄型継手を、第2セグメントの接合面に設けた雌型継手に挿入させてセグメント同士を接合させるセグメント継手であって、雄型継手は、先端側に軸方向に沿う中空孔を有する嵌合ロッドと、中空孔に基端側を進退可能に収容保持させるとともに先端側に略紡錘状に膨らんだ膨出部を有するピンとを備え、雌型継手は、雄型継手を挿通させるとともに軸方向中間部に位置する胴部の奥側に位置して胴部の内径より大径の中ぐり部を有する嵌合筒体と、嵌合筒体の嵌合穴の奥部に位置してなる底部とを備え、雄型継手及び雌型継手のいずれか一方に段差部が形成されるとともに、他方に凸曲部が形成され、雄型継手を雌型継手に挿入したときに、嵌合ロッドが膨出部に沿って拡径するように変形し、他方の凸曲部が一方の段差部の角部に係合することで、段差部によって雄型継手と雌型継手とが互いに引っ掛かり合って係合するように構成されていることを特徴としている。
本発明では、雄型継手の嵌合ロッドを雌型継手の嵌合筒体に挿入させることで、ピンの先端部が底部に当接し、さらに嵌合ロッドを押し込んで圧入させると、ピンが既に底部に当接して移動が規制された状態であることから、嵌合ロッドの先端部は、中空孔の内面側においてピンの膨出部に沿って径方向外側に拡径変形するとともに嵌合筒体の奥に挿入され、底部に接触しつつその周面に沿って径方向内側に湾曲し、嵌合穴の奥部とピンとの両側から押圧された状態で中ぐり部に嵌合される。つまり、雄型継手と雌型継手が接合されると、中空孔の中にピンがほぼ完全に圧入されることになる。そして、変形した嵌合ロッドの先端部は、嵌合筒部の中ぐり部が胴部より奥に位置するとともに胴部の内径よりも大径であるから、その中ぐり部に嵌合されることになり、嵌合ロッドの先端部と嵌合筒体とが密接した状態となって両者間に摩擦力が発生し、雄型継手は抜け出る方向へ移動しにくくなる。また、雄型継手の嵌合ロッド及び嵌合筒体の少なくとも一方には段差部が形成されていることから、その段差部によって雄型継手と雌型継手とが互いに引っ掛かり合って係合可能な状態となって、雄型継手における雌型継手から抜け出る方向への移動を規制することができる。
また、雄型継手及び雌型継手のいずれか一方に形成された段差部の角部に、他方に形成された凸曲部が引っ掛かるようにして係合されることから、雄型継手における雌型継手から抜け出る方向への移動を規制することができる。
また、本発明に係るセグメント継手では、膨出部には、その先端側で径方向外側に凹部が形成されていることが好ましい。
本発明では、ピンの膨出部に凹部を形成させているので、雄型継手が雌型継手内に挿入された状態で、膨出部と底部との間に空間が形成されることになり、圧入によって底部に沿って変形する嵌合ロッドの先端部を空間側に向けて導くように湾曲させることができることから、嵌合ロッドの先端部を雌型継手の嵌合穴の奥部まで確実に押し込むことができる。また、ピンに対する嵌合ロッドの先端部の接触が少なくなるため、圧入にかかる押し込み力を低減させることができる。
また、本発明に係るセグメント継手では、膨出部と底部とは曲面形状をなし、膨出部が底部より小さな半径の円弧面を有していることが好ましい。
本発明では、ピンの膨出部の円弧形状が底部の円弧形状より小さくなっているので、雄型継手が雌型継手に対して同軸に挿入されずに傾いた状態で挿入された場合であっても、底部に対して膨出部を任意の角度で当接させることができ、嵌合筒体の中ぐり部に対して嵌合ロッドの先端部を拡径変形させて嵌合させることができる。
また、本発明に係るセグメント継手では、嵌合ロッドの先端には、凹部と底部との間に進出して弾性変形する係止部が形成されていることが好ましい。
本発明では、雄型継手が雌型継手に挿入されて、嵌合ロッドがピンの膨出部に沿って径方向外側に拡径変形しながらさらに嵌合筒体の奥に圧入されると、嵌合ロッドの係止部が底部とピンの凹部との間の空間に進入して弾性変形してピンの膨出部に係止するため、ピンと嵌合ロッドとが固定され、ピンに対して嵌合ロッドの進退移動が抑制された状態となり、嵌合ロッドの先端部における拡径変形した状態を維持することができる。
本発明のセグメント継手によれば、嵌合ロッドの先端部が径方向外方に拡がって嵌合筒体の中ぐり部に嵌合されて密接することで、雄型継手と雌型継手との間に生じる摩擦によって固定されるとともに、雄型継手及び雌型継手の少なくとも一方に設けた段差部によって互いに引っ掛かり合って係合可能な状態となることから、雄型継手における雌型継手から抜け出る方向への移動を規制することができる。したがって、雄型継手が雌型継手から容易に抜けることを防ぐことができ、セグメント同士を強固に接合することができる。
以下、本発明に係るセグメント継手の第一の実施の形態について、図1乃至図4に基づいて説明する。
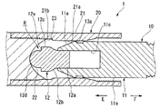
図1は本発明の第一の実施の形態によるセグメント継手の構造を説明する水平断面図、図2は雌型継手に雄型継手を挿入させる状態を示す断面図、図3は雌型継手に雄型継手が圧入された接合状態を示す断面図、図4(a)、(b)は図3に示す雄側段差部と雌側段差部との係合状態の要部断面図である。
図1に示すように、本第一の実施の形態によるセグメント継手1は、例えばシールドトンネルにおいて隣接配置されるコンクリート製などのセグメント同士を接合するためのものであり、互いの接合面に設けられている。
図1における符号10は雄型継手であり、符号20は雌型継手であり、先行して配置されているセグメント(第1セグメント)の雌型継手20に対して、後続するセグメント(第2セグメント)の雄型継手10を接合させることにより、シールドトンネルを構成する筒状壁体が構築されることになる。
ここで、雄型継手10を雌型継手20に挿入する方向を挿入方向Eとし、挿入方向Eの反対方向を符号Fとして以下説明する。
雄型継手10は、図示しないセグメントの接合面に突設された断面視円形の嵌合ロッド11と、嵌合ロッド11の先端側に取り付けられたピン12とからなる。
嵌合ロッド11は、ロッド基端部11b側が図示しないセグメントの接合面に固定され、ピン12のピン基端部12aを収容保持させるとともに嵌合ロッド11の先端からロッド基端部11bへ向けて軸方向に沿う断面円形の中空孔11cが形成されている。
中空孔11cは、ピン12のピン基端部12aを緩めに装着させるような内径寸法、つまり中空孔11cに対してピン12が進退可能で且つピン12が抜け落ちない内径寸法をなし、ピン12の軸方向の長さより長い寸法をもって形成されている。嵌合ロッド11の外径寸法は、後述する雌型継手20の胴部21aの内径寸法よりわずかに小さい寸法であって、雌型継手20に対して嵌合ロッド11が偏芯により所定の傾斜角度の範囲内で挿入される場合において、ほとんど抵抗なく挿入できる寸法とされる。例えば、嵌合筒体21aの内径寸法30.5mmに対して、ロッド先端部11aの外径寸法を29mmとすることができる。
そして、ロッド先端部11aの周面先端側には、その外径寸法がロッド基端部11bからロッド先端部11aに向かうにしたがって漸次外径が小さくなるテーパ面11dが形成されている。ここで、ロッド先端部11aのうち、とくにテーパ面11dの先端付近を係止部11fとする。この係止部11fは、詳しくは後述するが雌型継手20の底部22とピン12の膨出部12cとの間の空間に進出して弾性変形するようになっている。
嵌合ロッド11のロッド胴部11eには、全周にわたって係止溝13が形成されている。係止溝13における嵌合ロッド11の先端側には、後述する雌型継手20の雌側段差部23に引っ掛かり合うようにして係合される雄側段差部13aが形成されている。
また、ピン12は、嵌合ロッド11と同軸に設けられ、ピン基端部12aが嵌合ロッド11の中空孔11cに進退可能に挿入されて収容されてなり、ピン基端部12aから先端に向かってその外径寸法が滑らかに大きくなるテーパ面12bが形成され、このテーパ面12bから前記中空孔11cの内径より大きい直径をなす膨出部12cへ延ばされている。そして、その膨出部12cの先端には、膨出部12cより小さな外径寸法で曲面形状をなす球状先端部12dが形成されている。すなわち、球状先端部12dの基端側(すなわち、膨出部12cの先端側で径方向外側)には、段差状の凹部12eが形成されている。膨出部12cの外径寸法は、ロッド胴部11eの外径寸法より小さくなるように形成されている。このような形状のピン12は、ピン基端部12aのみが嵌合ロッド11の中空孔11cに収容された状態で取り付けられており、この状態でピン12のピン基端部12aと中空孔11cの内面との間には空間が設けられた状態となっている。
つまり、このように構成される雄型継手10は、嵌合ロッド11とピン12とが軸方向に相対移動可能とされ、具体的にはピン12が固定位置あるとき嵌合ロッド11を挿入方向(矢印E方向)に押圧させることで、嵌合ロッド11のロッド先端部11aがピン12のテーパ面12bと膨出部12cとに沿って変形しつつ挿入方向Eに圧入され、ピン12が中空孔11c内に挿入される構成となっている。
雌型継手20は、雄型継手10の嵌合ロッド11を挿入させる略円筒形状の嵌合筒体21と、嵌合筒体21の嵌合穴の奥部に位置してなる底部22とからなる。
嵌合筒体21は、嵌合穴の深さ方向のほぼ中間部に位置するとともに前記嵌合ロッド11のロッド胴部11eより大きな内径寸法をなす胴部21aと、胴部21aより奥側に位置するとともに胴部21aの内径より大径をなす中ぐり部21bとが形成されている。つまり、胴部21aと中ぐり部21bとの境界には、嵌合筒体21の軸方向に略直交する方向に段差面を有する雌側段差部23が形成されている(図4(a)参照)。そして、胴部21aより手前側(開口側)には、その胴部21aより大きな内径寸法の開口端部21cが胴部21aから連続している。雌側段差部23は、嵌合ロッド11が嵌合筒体21内に挿入されたときに、嵌合ロッド11の雄側段差部13aと雌側段差部23とが係合するように構成されている。
そして、底部22は、嵌合筒体21の中心軸上で深さ寸法が最大となるような椀状をなし、上述したピン12の球状先端部12d(膨出部12c)より大きな半径の円弧面をなす曲面形状となっている。
次に、上述このように構成された第一の実施の形態によるセグメント継手1の作用について図面に基づいて説明する。
図2に示すように、ピン12を装着した状態の雄型継手10の嵌合ロッド11を、雌型継手20の嵌合筒体21に挿入させることで、ピン12の球状先端部12dが底部22に当接する。この当接状態において、ピン12の凹部12eの周囲には、凹部12eと底部22との間に空間Rが設けられた状態となっている。さらに、図3に示すように、嵌合ロッド11を底部22側(挿入方向E)に向かって押し込んで圧入させると、ピン12が既に底部22に当接して移動が規制された状態であることから、嵌合ロッド11のロッド先端部11aは、中空孔11cの内面側においてテーパ面12bさらには膨出部12cに沿って径方向外側に拡径変形する。そして、嵌合ロッド11が径方向外側に拡径変形しながらさらに嵌合筒体21の奥に圧入されると、嵌合ロッド11の係止部11fが底部22とピン12の凹部12eとの間の空間に進入して,底部22に接触しつつその円弧形状に沿って弾性変形してピン12の膨出部12cに係止するため、ピン12と嵌合ロッド11とが固定され、ピン12に対して嵌合ロッド11の進退移動が抑制された状態となり、ロッド先端部11aにおける拡径変形した状態を維持することができる。
このように嵌合ロッド11を押圧させて嵌合筒体21の奥部に挿入させると、嵌合ロッド11の中空孔11cの中にピン12がほぼ完全に圧入されることになる。そして、変形したロッド先端部11aが嵌合筒部21の中ぐり部21bが胴部21aより奥に位置するとともに胴部21aの内径よりも大径であるから、その中ぐり部21bに嵌合され、ロッド先端部11aと嵌合筒体21とが密接した状態となって両者間に摩擦力が発生し、雄型継手10は雌型継手20から抜け出る方向(矢印F方向)へ移動しにくくなる。
また、上述したようにピン12に凹部12eを形成させているので、雄型継手10が雌型継手20内に挿入された状態で、ピン12の凹部12eと底部22との間に空間Rが形成されることになり、圧入によって底部22に沿って変形するロッド先端部11aを前記空間R側に向けて導くように湾曲させることができることからロッド先端部11aを雌型継手20の嵌合穴の奥部まで確実に押し込むことができる。また、ピン12に対するロッド先端部11aの接触が少なくなるため、圧入にかかる押し込み力を低減させることができる。
そして、図4(a)に示すように、雄型継手10が雌型継手20に挿入された状態で、雄型継手10と雌型継手20との両方に形成された雄側段差部13aと雌側段差部23とが互いに引っ掛かり合って係合されることから、雄型継手10の雌型継手20に対して抜け出る方向への移動を規制することができ、雄型継手10と雌型継手20との接合が完了することになる。
また、図3に示すように、本セグメント継手1では、ピン12の膨出部12cの円弧形状が底部22の円弧形状より小さくなっているので、雄型継手10が雌型継手20に対して同軸に挿入されずに傾いた状態で挿入された場合であっても、底部22に対して膨出部12cを任意の角度で当接させることができ、嵌合筒体21の中ぐり部21bに対して嵌合ロッド11のロッド先端部11aを拡径変形させて嵌合させることができる。つまり雄型継手10と雌型継手20とは、調芯機能を有して上述したような作用をもって接合することができる。
また、本雄型継手10では、図1に示すようにロッド先端部11aに係止溝13が形成されているため、ロッド先端部11aが係止溝13を支点にして湾曲して拡径変形しやすい状態となり、拡径変形時の外径をより一層拡大させることができる。例えば、拡径変形した状態におけるロッド先端部11aの外径寸法は、係止溝13が形成されていない場合で30.5mmであるのに対して、係止溝13が形成されている場合には31.5mmとなる。
なお、図4(b)に示すように、例えば嵌合ロッド11が十分に圧入されず、雄側段差部13aと雌側段差部23とが係合されない場合には、中ぐり部21bの内側で拡径変形しているロッド胴部11eの外周面が雌側段差部23の角部23aに引っ掛かるようにして係合されることから、雄型継手10における雌型継手20から抜け出す方向への移動が規制されることになる。
本第一の実施の形態によるセグメント継手では、嵌合ロッド11のロッド先端部11aが径方向外方に拡がって嵌合筒体21の中ぐり部21bに嵌合されて密接することで、雄型継手10と雌型継手20との間に生じる摩擦によって固定されるとともに、雄側段差部13aと雌側段差部23とによって互いに引っ掛かり合って係合可能な状態となることから、雄型継手10における雌型継手20から抜け出る方向への移動を規制することができる。したがって、雄型継手10が雌型継手20から容易に抜けることを防ぐことができ、セグメント同士を強固に接合することができる。
次に、本発明の第一の実施の形態の第一及び第二変形例と第二の実施の形態について、図5乃至図8などに基づいて説明するが、上述の第一の実施の形態と同一又は同様な部材、部分には同一の符号を用いて説明を省略し、第一の実施の形態と異なる構成について説明する。
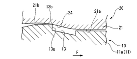
図5は本第一の実施の形態の第一変形例による雄型継手と雌側段差部との係合状態の要部断面図であって、図4に対応する図、図6は本第一の実施の形態の第二変形例による雄側段差部と雌型継手との係合状態の要部断面図であって、図4に対応する図である。
図5に示すように、第一変形例による雄型継手10の嵌合ロッド11は、第一の実施の形態における図1に示す係止溝13(雄側段差部13a)が形成されていない構成、すなわち、ロッド先端部11aは基端から先端に向かうにしたがって外径寸法が緩やかに大きくなる凸曲部14が形成された構成となっている。本第一変形例では、雄型継手10を雌型継手20に挿入させた状態で、ロッド先端部11aが径方向外方に拡がって、その拡径変形したロッド先端部11aが中ぐり部21bに嵌合されたときに、ロッド先端部11aの凸曲部14が雌側段差部23の角部23aに引っ掛かるようにして係合されることから、雄型継手10における雌型継手20から抜け出す方向(矢印F方向)への移動が規制されることになる。
また、図6に示すように、第二変形例による雌型継手20の嵌合筒体21は、第一の実施の形態における雌側段差部23が形成されず、胴部21aから中ぐり部21bにかけて内径寸法が漸次大きくなるように滑らかに連続する凸曲部24が形成された構成となっている。本第二変形例では、雄型継手10を雌型継手20に挿入させてロッド先端部11aが径方向外方に拡がるとともに、ロッド先端部11aの雄側段差部13aの角部13bが凸曲部24に引っ掛かるようにして係合されることから、雄型継手10における雌型継手20から抜け出す方向(矢印F方向)への移動が規制されることになる。
上述した第一及び第二変形例では、第一の実施の形態と同様に、雄型継手10が雌型継手20より容易に抜けることを防げるという効果を奏する。
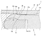
図7は本発明の第二の実施の形態によるセグメント継手の構造を示す断面図、図8(a)、(b)は雄型継手と雌型継手との接合状態を説明する要部断面図である。
図7及び図8(a)に示すように、第二の実施の形態では、雄型継手10及び雌型継手20のそれぞれに2箇所ずつ段差部を設けた構成となっている。すなわち、嵌合ロッド11には、所定位置に係止溝15が形成されるとともに、この係止溝15より先端側にロッド胴部11eの外径寸法より大きいロッド膨出部16が形成されている。係止溝15の先端側には、第1雄側段差部15aが形成されている。そして、ロッド膨出部16の後端側には、第2雄側段差部16aが形成されている。また、雌型継手20の嵌合筒体21には、胴部21aと中ぐり部21bとの間に二段の段差部(第1雌側段差部25、第2雌側段差部26)が形成されている。ここで、図8(a)に示すように、雄型継手10の第1雄側段差部15aと第2雄側段差部16aとの間の長さ寸法D1は、雌型継手20の第1雌側段差部25と第2雌側段差部26との間の長さ寸法D2より小さい寸法となっている。つまり、第2雌側段差部26と第2雄側段差部16aとが互いに当接して係合可能な状態であるとき、第1雌側段差部25と第1雄側段差部15aとは互いに当接しない状態となる構成になっている。
図8(a)に示すように、本第二の実施の形態では、雄型継手10を雌型継手20に挿入させてロッド先端部11aが径方向外方に拡がるとともに、拡径して中ぐり部21bに圧入されたロッド先端部11aの第2雄側段差部16aと第2雌側段差部26とが互いに引っ掛かり合って係合可能な状態となり、雄型継手10が雌型継手20から抜け出す方向(矢印F方向)への移動が規制されることになる。なお、このとき、第1雌側段差部25と第1雄側段差部15aとは互いに当接しない状態となっている。
また、図8(b)に示すように、例えば嵌合ロッド11が十分に圧入されず、図8(a)のようにロッド膨出部16が中ぐり部21bに嵌合されない場合には、第1雄側段差部15aと第1雌側段差部25とが当接して係合可能な状態となり、雄型継手10における雌型継手20から抜け出る方向(矢印F方向)への移動が規制されることになる。
このように本第二の実施の形態では、セグメント継手1の軸方向に二段の段差部を設けた構成とすることで、雄型継手10が雌型継手20より容易に抜けることを防ぐことをより一層確実に行うことができる。
以上、本発明によるセグメント継手の第一及び第二の実施の形態、第一及び第二変形例について説明したが、本発明は上記の実施の形態及び変形例に限定されるものではなく、その趣旨を逸脱しない範囲で適宜変更可能である。
例えば、本第一の実施の形態では雄型継手10、雌型継手20のそれぞれに1箇所ずつ段差部13a、23が設けられ、第一及び第二変形例では雄型継手10、雌型継手20のいずれか一方に段差部が設けられ、第二の実施の形態では雄型継手10、雌型継手20のそれぞれに2箇所ずつの段差部が設けられているが、これら段差部における配置、形状、箇所数に限定されることはない。
そして、嵌合ロッド11、ピン12、嵌合筒体21などの形状、挿入方向の長さ寸法その他の構成は、本実施の形態及び変形例に限定されることはなく、任意に設定することができる。また、本実施の形態ではピン12に凹部12eを形成させているが、凹部を設けることに限定されることはない。
本発明の第一の実施の形態によるセグメント継手の構造を説明する水平断面図である。 雌型継手に雄型継手を挿入させる状態を示す断面図である。 雌型継手に雄型継手が圧入された接合状態を示す断面図である。 (a)、(b)は図3に示す雄側段差部と雌側段差部との係合状態の要部断面図である。 本第一の実施の形態の第一変形例による雄型継手と雌側段差部との係合状態の要部断面図であって、図4に対応する図である。 本第一の実施の形態の第二変形例による雄側段差部と雌型継手との係合状態の要部断面図であって、図4に対応する図である。 本発明の第二の実施の形態によるセグメント継手の構造を示す断面図である。 (a)、(b)は雄型継手と雌型継手との接合状態を説明する要部断面図である。
符号の説明
1 セグメント継手
10 雄型継手
11 嵌合ロッド
11a ロッド先端部
11c 中空孔
12 ピン
12c 膨出部
12e 凹部
13a 雄側段差部(段差部)
13b 角部
14 凸曲部
15a 第1雄側段差部(段差部)
16a 第2雄側段差部(段差部)
20 雌型継手
21 嵌合筒体
21a 胴部
21b 中ぐり部
22 底部
23 雌側段差部(段差部)
23a 角部
24 凸曲部
25 第1雌側段差部(段差部)
26 第2雌側段差部(段差部)


Claims (4)

  1. 第1セグメントの接合面に突設した雄型継手を、第2セグメントの接合面に設けた雌型継手に挿入させて前記セグメント同士を接合させるセグメント継手であって、
    前記雄型継手は、先端側に軸方向に沿う中空孔を有する嵌合ロッドと、前記中空孔に基端側を進退可能に収容保持させるとともに先端側に略紡錘状に膨らんだ膨出部を有するピンとを備え、
    前記雌型継手は、前記雄型継手を挿通させるとともに軸方向中間部に位置する胴部の奥側に位置して前記胴部の内径より大径の中ぐり部を有する嵌合筒体と、該嵌合筒体の嵌合穴の奥部に位置してなる底部とを備え、
    前記雄型継手及び前記雌型継手のいずれか一方に前記段差部が形成されるとともに、他方に凸曲部が形成され、
    前記雄型継手を前記雌型継手に挿入したときに、前記嵌合ロッドが前記膨出部に沿って拡径するように変形し、前記他方の凸曲部が前記一方の段差部の角部に係合することで、該段差部によって前記雄型継手と前記雌型継手とが互いに引っ掛かり合って係合するように構成されていることを特徴とするセグメント継手。
  2. 前記膨出部には、その先端側で径方向外側に凹部が形成されていることを特徴とする請求項1に記載のセグメント継手。
  3. 前記膨出部と前記底部とは曲面形状をなし、前記膨出部が前記底部より小さな半径の円弧面を有していることを特徴とする請求項1又は2記載のセグメント継手。
  4. 前記嵌合ロッドの先端には、前記凹部と底部との間に進出して弾性変形する係止部が形成されていることを特徴とする請求項に記載のセグメント継手。
JP2007038406A 2007-02-19 2007-02-19 セグメント継手 Expired - Fee Related JP4975475B2 (ja)

Priority Applications (1)

Application Number Priority Date Filing Date Title
JP2007038406A JP4975475B2 (ja) 2007-02-19 2007-02-19 セグメント継手

Applications Claiming Priority (1)

Application Number Priority Date Filing Date Title
JP2007038406A JP4975475B2 (ja) 2007-02-19 2007-02-19 セグメント継手

Publications (2)

Publication Number Publication Date
JP2008202284A JP2008202284A (ja) 2008-09-04
JP4975475B2 true JP4975475B2 (ja) 2012-07-11

Family

ID=39780066

Family Applications (1)

Application Number Title Priority Date Filing Date
JP2007038406A Expired - Fee Related JP4975475B2 (ja) 2007-02-19 2007-02-19 セグメント継手

Country Status (1)

Country Link
JP (1) JP4975475B2 (ja)

Family Cites Families (6)

* Cited by examiner, † Cited by third party
Publication number Priority date Publication date Assignee Title
JPS5411536U (ja) * 1977-06-27 1979-01-25
JPH1082282A (ja) * 1996-09-05 1998-03-31 Ishikawajima Constr Materials Co Ltd セグメントの接合構造
JP2000002090A (ja) * 1998-06-18 2000-01-07 Kajima Corp コンクリート部材の耐振用接合構造
JP4300319B2 (ja) * 1999-12-01 2009-07-22 戸田建設株式会社 接合構造
JP4061342B2 (ja) * 2002-06-20 2008-03-19 株式会社アイ・エル・シー セグメントの継手装置
JP4039894B2 (ja) * 2002-06-20 2008-01-30 株式会社間組 セグメントの継手装置

Also Published As

Publication number Publication date
JP2008202284A (ja) 2008-09-04

Similar Documents

Publication Publication Date Title
KR101111928B1 (ko) 조인트, 이 조인트에 사용하는 소켓 및 플러그
JP5715700B2 (ja) コネクタ
US20100078934A1 (en) Connector
JP5619975B2 (ja) 杭の継手構造
JP2005127394A (ja) 管継手
JP6112918B2 (ja) 土木工事用パイプ連結構造
JP4975475B2 (ja) セグメント継手
JP2015004381A (ja) コネクタ
JP4444878B2 (ja) 配管継手
CN112752909A (zh) 带凸起区域的膨胀锚
JP4493860B2 (ja) 接合構造
JP6370721B2 (ja) 連結具及びそれを用いたコンクリート部材の連結装置
JP4814059B2 (ja) 連結具及びそれを用いたコンクリート部材の連結装置
JP2014173355A (ja) セグメント連結方法、及び、セグメント連結継手、及び、セグメント
JP2001153115A (ja) 鋼管の連結構造
JP6470601B2 (ja) ロックボルト及びその施工方法
JP3395040B2 (ja) 管継手
JP5725564B2 (ja) 連結継手及びセグメント
JP2019214874A (ja) シールドセグメントの接続構造及び接続方法
JP2008255687A (ja) コンクリート用アンカー
JP3530659B2 (ja) 連結装置
JP2001311491A (ja) 樹脂製管の接続部構造
JP2022143930A (ja) 離脱防止継手用の抜け止め部材、および、離脱防止継手
JPH06229488A (ja) コネクタ
JPH1019188A (ja) 差込み型管継手

Legal Events

Date Code Title Description
A621 Written request for application examination

Free format text: JAPANESE INTERMEDIATE CODE: A621

Effective date: 20100115

A977 Report on retrieval

Free format text: JAPANESE INTERMEDIATE CODE: A971007

Effective date: 20110627

A131 Notification of reasons for refusal

Free format text: JAPANESE INTERMEDIATE CODE: A131

Effective date: 20111129

A521 Request for written amendment filed

Free format text: JAPANESE INTERMEDIATE CODE: A523

Effective date: 20120130

TRDD Decision of grant or rejection written
A01 Written decision to grant a patent or to grant a registration (utility model)

Free format text: JAPANESE INTERMEDIATE CODE: A01

Effective date: 20120403

A01 Written decision to grant a patent or to grant a registration (utility model)

Free format text: JAPANESE INTERMEDIATE CODE: A01

A61 First payment of annual fees (during grant procedure)

Free format text: JAPANESE INTERMEDIATE CODE: A61

Effective date: 20120411

R150 Certificate of patent or registration of utility model

Ref document number: 4975475

Country of ref document: JP

Free format text: JAPANESE INTERMEDIATE CODE: R150

Free format text: JAPANESE INTERMEDIATE CODE: R150

FPAY Renewal fee payment (event date is renewal date of database)

Free format text: PAYMENT UNTIL: 20150420

Year of fee payment: 3

R250 Receipt of annual fees

Free format text: JAPANESE INTERMEDIATE CODE: R250

S533 Written request for registration of change of name

Free format text: JAPANESE INTERMEDIATE CODE: R313533

R350 Written notification of registration of transfer

Free format text: JAPANESE INTERMEDIATE CODE: R350

R250 Receipt of annual fees

Free format text: JAPANESE INTERMEDIATE CODE: R250

R250 Receipt of annual fees

Free format text: JAPANESE INTERMEDIATE CODE: R250

R250 Receipt of annual fees

Free format text: JAPANESE INTERMEDIATE CODE: R250

R250 Receipt of annual fees

Free format text: JAPANESE INTERMEDIATE CODE: R250

R250 Receipt of annual fees

Free format text: JAPANESE INTERMEDIATE CODE: R250

S111 Request for change of ownership or part of ownership

Free format text: JAPANESE INTERMEDIATE CODE: R313117

R350 Written notification of registration of transfer

Free format text: JAPANESE INTERMEDIATE CODE: R350

R250 Receipt of annual fees

Free format text: JAPANESE INTERMEDIATE CODE: R250

R250 Receipt of annual fees

Free format text: JAPANESE INTERMEDIATE CODE: R250

R250 Receipt of annual fees

Free format text: JAPANESE INTERMEDIATE CODE: R250

LAPS Cancellation because of no payment of annual fees