JP4891663B2 - ドアミラーの取付け構造 - Google Patents

ドアミラーの取付け構造 Download PDF

Info

Publication number
JP4891663B2
JP4891663B2 JP2006163371A JP2006163371A JP4891663B2 JP 4891663 B2 JP4891663 B2 JP 4891663B2 JP 2006163371 A JP2006163371 A JP 2006163371A JP 2006163371 A JP2006163371 A JP 2006163371A JP 4891663 B2 JP4891663 B2 JP 4891663B2
Authority
JP
Japan
Prior art keywords
door
door mirror
mounting base
sash
mirror mounting
Prior art date
Legal status (The legal status is an assumption and is not a legal conclusion. Google has not performed a legal analysis and makes no representation as to the accuracy of the status listed.)
Expired - Fee Related
Application number
JP2006163371A
Other languages
English (en)
Other versions
JP2007331460A (ja
Inventor
誠 関井
光枝 落合
Current Assignee (The listed assignees may be inaccurate. Google has not performed a legal analysis and makes no representation or warranty as to the accuracy of the list.)
Subaru Corp
Original Assignee
Fuji Jukogyo KK
Priority date (The priority date is an assumption and is not a legal conclusion. Google has not performed a legal analysis and makes no representation as to the accuracy of the date listed.)
Filing date
Publication date
Application filed by Fuji Jukogyo KK filed Critical Fuji Jukogyo KK
Priority to JP2006163371A priority Critical patent/JP4891663B2/ja
Publication of JP2007331460A publication Critical patent/JP2007331460A/ja
Application granted granted Critical
Publication of JP4891663B2 publication Critical patent/JP4891663B2/ja
Expired - Fee Related legal-status Critical Current
Anticipated expiration legal-status Critical

Links

Images

Landscapes

  • Rear-View Mirror Devices That Are Mounted On The Exterior Of The Vehicle (AREA)

Description

この発明は、ドアミラーの取付け構造に関し、詳しくは、サイドドアガラスの前方に三角窓が配置された車両のフロントドアに取付けられるドアミラーの取付け構造に関する。
従来、この種のドアミラーの取付け構造にあっては、サッシュに取付けるタイプと窓肩に取付けるタイプとの2種類がある。サッシュに取付けるタイプは、図14に示されるように、ドアミラー1の取付け基部をなすドアミラーベース2をサイドドアガラス3と三角窓4との間のドアサッシュ5に沿って取付け固定するものである。
一方、窓肩に取付けるタイプは、図15に示されるように、ドアミラーベース2をドアサッシュ5の付け根あたりのフロントドア6の窓肩部に取付け固定するものである。
しかしながら、上記した従来のドアミラーの取付け構造にあっては、次のような問題がある。すなわち、サッシュに取付けるタイプにあっては、ドアミラーベース2をドア内側から締め付け固定するため、図16に示されるように、ドアミラー固定用ボルト7が貫通する貫通孔をサッシュアウタ5a及びその内側のインナーブラケット8に穿設する必要があり、インナーブラケット断面が拡大してしまう。そのうえ、ドアサッシュ5とその内側のピラーとの間に雨水や風切音のためのパッキン9を配設しなければならない。そのため、ドアミラー締め付けの上下支持スパンSがかせげるものの、ドアサッシュ5の外観幅が拡大するという問題があった。ドアサッシュ5が太いとドアサッシュ前後の窓面積が減少して乗員の視界が確保し難くなる。
さらには、ドアミラーベース2とドアサッシュ5に沿って装着したカバー10との合わせ目が外気温によって広がったり、爪部の引っかけ留めによるカバー10が上下方向にずれて取付けられ易いため、ドアミラーベース2とカバー10との合わせ目からドアサッシュ5が見えてしまうことがある。通常、ドアミラーベース2とカバー10とは黒で塗装して統一感を出しているが、ドアサッシュ5が黒とは異なるボディカラーで塗装されていると、そこだけドアサッシュ5の色が目立ってしまうために、車外からドアミラー廻りを見た際の外観品質が低いとユーザに指摘されることもある。
そこで、このような問題を解決するために、特許文献1には、ドアミラーベースを取付けるための拡幅部をドアサッシュ前側に設けることが提案されている。ところが、このような方法では、ドアサッシュに沿ったカバーは不必要となるものの、ドアミラー締め付けの上下支持スパンSが殆ど取れないため、重量が約1.3kg前後ある電動式のドアミラーを支持する支持剛性は低く、走行中にドアミラーが振れてしまうという問題がある。そして、このような支持剛性の低いドアミラーの振れを抑止するには頑丈な補強が必要である。
さらにまた、ドアミラーの固定は、ドア外側にてドアミラーベースを拡幅部にあてがいながら、ドア内側にて拡幅部を介してドアミラーベースに複数の固定用ボルトをねじ込まなければならず、作業効率が悪いという問題があった。
一方の窓肩に取付けるタイプでは、フロントドア6の窓肩にドアミラーベース2を取付けるのでドアサッシュ5を細くすることは容易であるが、ドアミラーベース2がフロントドア6の窓肩部に取付け固定されるためにドアミラー締め付けの上下支持スパンSが殆ど取れないという問題がある。そして、ドアミラー1を支持する支持剛性が低いために、フロントドア6内の補強を頑丈にしてドアミラー1の振れを防止しなければならないという問題が発生してしまう。
さらにまた、この窓肩に取付けるタイプの固定は、ドア外側にてドアミラーベース2をフロントドア6の取付け部にあてがいながら、ドア内側にてドアミラーベース2に複数の固定用ボルトをねじ込んだり、或いはドアミラーベース2に植設されたボルト軸部にナットをねじ込まなければならず、作業効率が悪いという問題があった。
特開平9−71184号公報
そこで、この発明は、上記した従来技術が有している問題点を解決するためになされたものであって、ドアサッシュをより細くして乗員の視界向上を図ること、ドアミラー締め付けの上下支持スパンをできるだけ長く取ってドアミラーの支持剛性をより高めること、ドアミラーの取付け固定が容易なこと、ドアミラー廻りの外観品質をより向上させること、等が可能なドアミラーの取付け構造を提供することを目的とする。
上記目的を達成するため第1の発明は、サイドドアガラスの前方に三角窓を有する車両のフロントドアに取付けられるドアミラーの取付け構造において、
前記ドアミラーを支持するドアミラー取付け基部が、前記サイドドアガラス及び前記三角窓の間に配設されるドアサッシュと前記フロントドアの窓肩部とに跨って配置され、前記ドアミラー取付け基部の上部が前記ドアサッシュにドア外側から締め付け固定され、且つ前記ドアミラー取付け基部の下部が前記フロントドアの窓肩部にドア外側から締め付け固定され、ドアミラー取付け基部とドアサッシュとには、ドアミラー取付け基部をドアサッシュに仮保持させるための仮保持爪部及び仮保持爪部が挿入される挿入係止孔が設けられていると共に、ドアミラー取付け基部とフロントドアの窓肩部には、ドアミラー取付け基部を窓肩部に仮保持させるための第2の仮保持爪部及び第2の仮保持爪部が挿入される第2の挿入係止孔が設けられていることを特徴とする。
第1の発明によれば、ドアミラーを支持するドアミラー取付け基部が、ドアサッシュとフロントドアの窓肩部とに跨って配置され、ドアミラー取付け基部の上部がドアサッシュにドア外側から締め付け固定され、且つドアミラー取付け基部の下部がフロントドアの窓肩部にドア外側から締め付け固定される。これにより、ドアミラー締め付けの上下支持スパンが従来よりも長くなるのでドアミラーの支持剛性をより高めることができる。しかも、ドアミラー取付け基部をドア外側から締め付け固定するため、インナーブラケット断面を縮小することが可能となり、ドアサッシュをより細くして乗員の視界向上を図ることができるうえに、ドアミラーの取付け固定を容易化することができる。
さらに、ドアサッシュに設けられた挿入係止孔へドアミラー取付け基部の仮保持爪部を挿入すると共に、窓肩部に設けられた第2の挿入係止孔へドアミラー取付け基部の第2の仮保持爪部を挿入することによって、ドアミラー取付け基部はドアサッシュ及び窓肩部に跨った状態で仮保持される。これにより、フロントドアに位置合わせしてから最初のドアミラー取付け基部固定用の固定用ボルトをねじ込むまでの間、作業者はずっとドアミラー取付け基部を支持し続ける必要はなくなるので、ドアミラー取付け基部の組付け工程が容易化され、作業者の負荷を軽減することが可能となる。
上記目的を達成するため第2の発明は、第1の発明の構成に加えて、前記ドアミラー取付け基部は、前記ドアサッシュとの間では1箇所、前記フロントドアの窓肩部との間では2箇所の締め付け位置を有することを特徴とする。
第2の発明によれば、ドアサッシュ側に設けられたボルト孔とフロントドアの窓肩部側の2つのボルト孔とによる上1点+下2点の立体支持が可能となるため、第1の発明の作用効果に加えて、頑丈な補強をしなくてもドアミラーを支持する支持剛性を大幅に高めることが可能なる。
上記目的を達成するため第の発明は、第1または第2の発明の構成に加えて、ドアミラー取付け基部には、ドアミラー取付け基部とドアサッシュ及びフロントドアの窓肩部との締め付け位置をほぼ一致させるための位置決め突起部が、挿入状態でぐらつきがないように設けられていることを特徴とする。
の発明によれば、位置決め突起部がドア窓肩の挿入係止孔に挿入されると、ドアサッシュに仮保持されたドアミラー取付け基部は揺動が規制され、且つドアミラー取付け基部とドアサッシュ及びフロントドアの窓肩部との締め付け位置がほぼ一致する。これにより、第1または第2の発明の作用効果に加えて、ドアミラー取付け基部の締付け固定位置合わせが大幅に容易化されるので、熟練度を問わず誰でも簡単、容易にドアミラー取付け基部をフロントドアに締付け固定することが可能となる。
上記目的を達成するため第の発明は、サイドドアガラスの前方に三角窓を有する車両のフロントドアに取付けられるドアミラーの取付け構造において、ドアミラーを支持するドアミラー取付け基部が、サイドドアガラス及び三角窓の間に配設されるドアサッシュとフロントドアの窓肩部とに跨って配置され、ドアミラー取付け基部の上部がドアサッシュにドア外側から締め付け固定され、且つドアミラー取付け基部の下部がフロントドアの窓肩部にドア外側から締め付け固定され、ドアサッシュにはドアミラー取付け基部の上部を覆うように第1のカバー部材が装着されると共に、ドアミラー取付け基部と第1のカバー部材との係合は、係合用の係合爪、位置決め用の挿入係止片部及び挿入係止片部が挿入される挿入係止孔によるものであることを特徴とする。
の発明によれば、ドアミラー取付け基部と第1のカバー部材とには、取付け位置決め用の挿入係止片部及びこの挿入係止片部が挿入される挿入係止孔がそれぞれ設けられている。これにより、第1乃至第4の何れか1つの発明の作用効果に加えて、第1のカバー部材をドアミラー取付け基部に装着する際の位置決め精度の向上を図ることができると共に、ドアミラー廻りの外観品質の向上を図ることができる。
上記目的を達成するため第の発明は、第の発明の構成に加えて、前記ドアミラー取付け基部は、前記第1のカバー部材の下端部に重なり合うように延設され、且つ前記第1のカバー部材の下端部に臨んだ面部が下方側から上方側に切り上げられた延設部を有することを特徴とする。
の発明によれば、ドアミラー廻りを見下ろした場合や第1のカバー部材が収縮してドアミラー取付け基部とのつなぎ目が広がった場合でも、ドアサッシュが見えないように延設部が立ちはだかるので、第1のカバー部材とドアミラー取付け基部とのつなぎ目は目立たなくなる。これにより、第5の発明の作用効果に加えて、ドアミラー取付け基部と第1のカバー部材とが黒で塗装され、ドアサッシュが黒とは異なるボディカラーで塗装されているような場合であっても、ドアサッシュの色が目立ってしまうようなことはなくなり、ドアミラー廻りの外観品質をさらに向上させることができる。
上記目的を達成するため第の発明は、サイドドアガラスの前方に三角窓を有する車両のフロントドアに取付けられるドアミラーの取付け構造において、ドアミラーを支持するドアミラー取付け基部が、サイドドアガラス及び三角窓の間に配設されるドアサッシュとフロントドアの窓肩部とに跨って配置され、ドアミラー取付け基部の上部がドアサッシュにドア外側から締め付け固定され、且つドアミラー取付け基部の下部がフロントドアの窓肩部にドア外側から締め付け固定され、前記ドアミラー取付け基部の下部には第2のカバー部材が装着されると共に、前記第2のカバー部材を取り外すための取り外し治具差し込み口が前記ドアミラーの格納時に露呈する前記ドアミラー取付け基部に設けられていることを特徴とする。
の発明によれば、ドアミラー取付け基部に設けられた取り外し治具差し込み口は、ドアミラーを格納しなければ露呈しない位置に設けられている。これにより、第1の発明の作用効果に加えて、ドアミラー廻りの外観品質をさらに向上させることができる。
本発明のドアミラーの取付け構造によれば、ドアミラーを支持するドアミラー取付け基部が、ドアサッシュとフロントドアの窓肩部とに跨って配置され、ドアミラー取付け基部の上部がドア外側から締め付け固定され、且つドアミラー取付け基部の下部がフロントドアの窓肩部にドア外側から締め付け固定される。これにより、ドアミラー締め付けの上下支持スパンが従来よりも長くなるのでドアミラーの支持剛性をより高めることができる。しかも、ドアミラー取付け基部をドア外側から締め付け固定するため、インナーパネル断面を縮小することが可能となり、ドアサッシュをより細くして乗員の視界向上を図ることができるうえに、作業効率が上昇してドアミラーの取付け固定を容易化することができる。
さらに、ドアミラー取付け基部に設けた延設部が、ドアミラーを上方から見下ろしたり、第1のカバー部材が収縮して隙間があいてもドアサッシュを見えないようにする。これにより、ドアミラー廻りの外観品質をより向上させることができる。
以下、本発明の最も好適と思われる実施形態について図面を用いて詳細に説明する。
図1は、本発明が適用されて車体左側のフロントドアに取付けられたドアミラーをドア外側から見た図、図2は、同例におけるドアミラーを車体後方から見た図、図3は、同例におけるドアミラー取付け基部の斜視図、図4は、図1中のA−A矢視断面図、図5は、図1中のB−B矢視断面図、図6は、図1中のC−C矢視断面図、図7は、図1中のD−D矢視断面図、図8は、図1中のE−E矢視断面図、図9は、図1中のF−F矢視断面図、図10は、図1中のG−G矢視断面図、図11は、図3中の範囲Tの拡大図、図12(a)は、図11中のH−H矢視断面図、図12(b)は、図11中のJ−J矢視断面図、図13(a)は、通常使用時におけるドアミラーの斜め下方側からの斜視図、(b)は、格納時におけるドアミラーの斜め下方側からの斜視図である。
なお、従来とほぼ同様の構成部材については同一の符号を付している。
図1〜13に示されるように、サイドドアガラス3及び三角窓4の間に配設されるドアサッシュ5とフロントドア6の窓肩部とに跨って、ドアミラー(ドアミラーボディユニットのこと)1を支持するドアミラー取付け基部(以下、ステーという)11がドア外側から締め付け固定されている。
なお、フロントドア6は、ドアサッシュ5を含めたドア全体がインナパネル(図示せず)とアウタパネル6aとを接合して形成された所謂フルドアであるが、これに限定されるものではない。
また、ドアミラーの取付け構造は車体の左右両側において互いに対称構造であるので、以下にあっては、車体左側のドアミラーの取付け構造についての説明を行う。
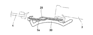
ステー11は、図1〜3に示されるように、ドアミラー1を支持した状態で、ドアサッシュ5のほぼ中央位置からフロントドア6の窓肩部に達するように上下方向に延設された本体部の上部11aと下部11bとに、ドアサッシュ側に突設された接合部(上部に1つ、下部に2つ)12,13,13が一体的に形成されている。上部11aの接合部12にはボルト孔14が1つ、車体前後方向に2つ並んだ下部11bの接合部13,13にもボルト孔15,15が1つずつ形成されている。
上部11aの接合部12に形成されたボルト孔(以下、上側ボルト孔)14は、ステー11に支持された状態のドアミラー上部とほぼ同じ高さか、或いはドアミラー上部よりも上方側に設けられていると共に、下部11bの接合部13,13に形成されたボルト孔(以下、下側ボルト孔)15,15は、ステー11に支持された状態のドアミラー下部よりも下方側に設けられている。このため、このステー11がフロントドア6に取付けられた状態にあっては、ドアミラー締め付けの上下支持スパンSが従来のサッシュに取付けるタイプよりも拡大されると共に、上側ボルト孔14と下側ボルト孔15,15とによる上1点+下2点の立体支持が可能となるため、頑丈な補強をしなくてもドアミラー1を支持する支持剛性を大幅に高めることが可能とされている。
このステー11の上端部には、図2,9に示されるように、このステー11をドアサッシュ5に仮保持させるための仮保持爪部としての仮保持フック16がドアサッシュ側に向かって一体的に形成されている。この仮保持フック16の先端上面側は、前下がりに面取りされていると共に、先端下面側には返し部16aが形成されている。これにより、後述するドアサッシュ5のサッシュアウタ5aに穿設された挿入係止孔17への挿入を容易化し、且つ挿入された状態にあっては返し部16aにより挿入係止孔17からの抜け止めがなされるようになっている。また、ステー11の下部にも同様に、ドアアウタパネル6aの窓肩に穿設された第2の挿入係止孔(図示せず)に挿入される第2の仮保持爪部としての仮保持フック42が形成され、ステー11の下方の抜け止めがなされるようになっている。そして、この仮保持フック16をサッシュアウタ5aに仮保持させ、且つ仮保持フック42を窓肩部の挿入係止孔に挿入させることによって、フロントドア6に位置合わせしてから最初のドアミラー固定用ボルト7をねじ込むまでの間、作業者はずっとステー11を支持し続ける必要はなくなるので、ステー11の組付け工程が容易化され、作業者の負荷を軽減することが可能となる。
ところで、挿入係止孔17に仮保持された状態のステー11は、挿入係止孔17を支点としてフロントドア側面に沿って揺動自在に吊り下げられるため、上側及び下側ボルト孔14,15,15とフロントドア6に設けられたステー締付け固定位置(具体的には、後述するボルト孔28a,39,39、ウェルディングナット29,40の位置)とは一致しない。
そこで、図10に示されるように、このステー11の下部11bに突設されている接合部13には、ドアサッシュ5に仮保持された状態のステー11の上側及び下側ボルト孔14,15,15をフロントドア側のステー締付け固定位置にほぼ一致させるための位置決め突起部13aが形成されている。
この位置決め突起部13aは、ステー11の下部11bに突設されている接合部13にドアサッシュ側に向かって一体的に形成されており、位置決め先端側は前下がりに面取りされている。これにより、この位置決め突起部13aは後述ドアサッシュ5のサッシュアウタ5aに設けられた車体孔38への挿入が容易となっている。そして、位置決め突起部13aが車体孔38へ挿入された状態にあってはドアサッシュ5に仮保持されたステー11は揺動が規制され、且つ上側及び下側ボルト孔14,15,15がフロントドア側のステー締付け固定位置にほぼ一致するようになっている。これにより、ステー11の締付け固定位置合わせが大幅に容易化されるので、熟練度を問わず、誰でも簡単容易にステー11をフロントドア6に締付け固定することが可能となる。
また、図1〜3に示されるように、ステー11の上部11aと下部11bとの間には、このステー11の一部がドア外側に向かって張り出されたドアミラー支持部11cが一体的に形成されている。このドアミラー支持部11cの上面側には、ドアミラー1を格納、展開可能に支持するセットプレート20(図2に図示)をほぼ面一に収納する収納部11dが凹み形成されている。さらに、ドアミラー1の回転中心軸上となるドアミラー支持部11c及びセットプレート20のほぼ中央部には、ハーネス通し孔21(図1に図示)が設けられている。
また、ドアミラー支持部11cとセットプレート20とには、図示しない下向きのネジ孔が連なるように形成されており、ドアミラー支持部11cの下方側から上向きにねじ込まれる固定用ネジによってセットプレート20がドアミラー支持部11cに締結固定されるようになっている。
また、このドアミラー支持部11cの下面側には、ステー11の下部11cに装着される第2のカバー部材を取り外すための取り外し治具差し込み口(例えば、マイナスドライバー)22が開口形成されている。この取り外し治具差し込み口22は、図13(a),(b)に示されるように、ドアミラー1が展開された状態にあってはドアミラー1によって隠され、且つドアミラー格納時にあっては露呈するドア外側に臨んだ位置に設けられている。これにより、取り外し治具差し込み口22は、ドアミラー1を格納した状態であってもドアミラー1を下方側から見上げなければその存在は気づかないようになっており、ドアミラー廻りの外観視の向上が図られるようになっている。
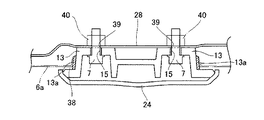
ステー11の下部11bには、図1,3,7に示されるように、横向きのハーネス通し孔23が下側ボルト孔15,15の間に形成されている。さらに、下側ボルト孔15,15を覆うように第2のカバーとしての半割カップ状のロアカバー24が、ロアカバー24に設けられた係合用の係合爪25をステー11の下部11bの予め設定された設定箇所に係合させることにより着脱可能に装着されている。さらに、このロアカバー24には、周縁部に沿って複数設けられた係合用の係合爪26が設けられており、取付位置精度の向上が図られている。
次に、ドアサッシュ5について説明する。
図5に示されるように、ドアサッシュ5のサッシュアウタ5aのほぼ中央部には、ステー11の上部11aの接合部12を挿通するように切り欠かれた車体孔27が設けられている。この車体孔27の内側には、ステー11の上部11aの接合部12が接合される板状のインナーブラケット28が一段奥まった状態で配設されている。このインナーブラケット28には、上側ボルト孔14を挿通したドアミラー固定用ボルト7のボルト軸部を挿通するボルト孔28aが形成されていると共に、その内側には車体締め付け位置としてのウェルディングナット29が固着されている。なお、このインナーブラケット28は、図4,5,7,10に示されるように、サッシュアウタ5a及びドアアウタパネル6aに沿って配設される長尺部材である。
さらに、車体孔27の上方側には、図9に示されるように、仮保持フック16が挿入係止される挿入係止孔17が形成されており、この挿入係止孔17に仮保持フック17が係止されると、サッシュアウタ5aにステー11が仮保持されるようになっている。
また、ステー11には、図1〜9に示されるように、第1のカバー部材としてのアッパカバー30が着脱可能に装着されている。このアッパカバー30は、サッシュアウタ5aの上端部からステー11の上部11a全てを覆うように形成された断面コ字状のカバー部材である。
そして、ステー11の上部11aには、図1に示されるように、アッパーカバー30に設定された挿入突起部31が挿入される挿入案内孔32が設けられている。この挿入案内孔32はステー外側から見た際の正面視が縦長の矩形状に形成されていると共に、奥側が斜め下方湖に向かうように形成された四角筒状孔である。
このように構成された挿入案内孔32によりアッパーカバー30の挿入突起部31はぐらつくことなく容易に挿入することができる。
さらに、アッパーカバー30には対向面の周縁部に沿って係合用の係合爪が複数配設されている。ステー11の上部11aはこれら係合爪が係合する係合孔が設けられている。
さらに、サッシュアウタ5aとアッパカバー30との上部には、ほぼ正確な取付け位置にアッパカバー30を導くための取付け位置決め用の挿入係止片部及びこの挿入係止片部が挿入される挿入係止孔がそれぞれ設けられている。具体的には、図6に示されるように、アッパカバー30に挿入係止片部としてのクリップ33が設けられていると共に、このクリップ33が取付けられる取付孔34がサッシュアウタ5aに設けられており、アッパカバー30を装着する際の位置決め精度の向上が図られている。
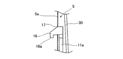
さらに、図11,12に示されるように、アッパカバー30の下端部の前面側には、ステー11の上部11aに一体的に取付けられることによって、ステー11の一部と見なされるパッキン35の厚み分だけ切り欠かれた切り欠き部36が設けられている。また、パッキン35、つまり、ステー11の上部には、アッパカバー30の下端部に重なり合うように上方に向けて延設された延設部37が形成されていると共に、この延設部37のアッパカバー30の下端部の前面側に臨んだ面部37aは、下方側から上方側に切り上げられている。これにより、ドアミラー廻りを見下ろした場合に、面部37aによってステー11とアッパカバー30とのつなぎ目が目立たないようになる。また、外気温によってアッパカバー30が収縮してステー11とのつなぎ目が広がった場合に、サッシュアウタ5aが見えないように延設部37が立ちはだかっているので、アッパカバー30とステー11とのつなぎ目は目立たなくなる。そのため、ステー11とアッパカバー30とが黒で塗装され、サッシュアウタ5aが黒とは異なるボディカラーで塗装されていても、サッシュアウタ5aの色が目立つことはない。その結果、ドアミラー廻りの外観品質をより向上させることができる。
次に、フロントドア6の窓肩部について説明する。
図7,10に示されるように、フロントドア6の窓肩部にあたるドアアウタパネル6aには、ステー11の下部11bの接合部13,13を挿通するように切り欠かれた車体孔38が設けられている。この車体孔38の内側には、ステー11の下部11bの接合部13,13が接合されるインナーブラケット28が離間した状態で配設されている。このインナーブラケット28には、図10に示されるように、下側ボルト孔15,15を挿通したドアミラー固定用ボルト7,7のボルト軸部を挿通する一対のボルト孔39,39が形成されていると共に、その内側には車体締め付け位置としての一対のウェルディングナット40,40がそれぞれ固着されている。これにより、フロントドア6の窓肩部にステー11の下部11bを接合した状態にあっては、ドア外側への突出量の低減化が図られるようになっている。
さらに、下側ボルト孔15,15間のインナーブラケット28には、横向きのハーネス通し孔41が形成されている(図7に図示)。
そして、ドアサッシュ5のサッシュアウタ5aに穿設された挿入係止孔17に仮保持フック16を挿入してサッシュアウタ5aにステー11を仮保持させる。そして、ステー11の上部11aの接合部12を車体孔27からインナーブラケット28に接合し、ドア外側から上側ボルト孔14とボルト孔28aとを貫通し、ウェルディングナット29に螺合するドアミラー固定用ボルト7によってステー11の上部11aはドアサッシュ5に締め付け固定される。
さらにまた、ステー11の下部11bの接合部13,13を車体孔38からインナーブラケット28に接合して、ドア外側から下側ボルト孔15,15とボルト孔39,39とを貫通し、ウェルディングナット40,40に螺合するドアミラー固定用ボルト7,7によってステー11の下部11bがフロントドア6の窓肩部に締め付け固定される。
そして、フロントドア6へのステー11の締め付け固定が終了すると、アッパカバー30に設定された挿入突起部31をステー11に設定された挿入案内孔32に挿入させたのち、アッパーカバー30の係合用の係合爪をステー11に設けられた係合部へ係合させると共に、アッパーカバー30のクリップ33をサッシュアウタ5aの取付孔34に取付けることによって、アッパカバー30が適正な取付け位置に装着される。さらに、ロアカバー24がステー11の下部11bに装着される。
この左側のドアミラー1及びステー11と対称形状に構成され、右側のフロントドアに取付けられる右側のドアミラー及びステーも、同様の態様により、そのステーがドアサッシュとフロントドアの窓肩部とに跨った状態でドア外側から締め付け固定される。
以上述べたように本発明のドアミラーの取付け構造によれば、ステー11がドアサッシュ5とフロントドア6の窓肩部とに跨った状態でドア外側から締め付け固定される。これにより、ドアミラー締め付けの上下支持スパンSが従来よりも長くなるのでドアミラー1の支持剛性をより高めることができる。しかも、ステー11をドア外側から締め付け固定するため、インナーブラケット断面を縮小することが可能となり、ドアサッシュ5をより細くして乗員の視界向上を図ることができるうえに、ドアミラー1の取付け固定を容易化することができる。
また、本発明によれば、ドアサッシュ側に設けられた上側ボルト孔14とフロントドア6の窓肩部側の2つの下側ボルト孔15,15とによる上1点+下2点の立体支持が可能となるため、頑丈な補強をしなくてもドアミラー1を支持する支持剛性を大幅に高めることが可能なる。
さらにまた、本発明によれば、ドアサッシュ5のサッシュアウタ5aに設けられた挿入係止孔17へステー11の仮保持フック16を挿入すると共に、窓肩部に設けられた第2の挿入係止孔へステー11の仮保持フック42を挿入することによって、ステー11はドアサッシュ5及び窓肩部に抜け止め固定された状態で仮保持される。これにより、フロントドア6に位置合わせしてから最初のドアミラー固定用ボルト7をねじ込むまでの間、作業者はずっとステー11を支持し続ける必要はなくなるので、ステー11の組付け工程が容易化され、作業者の負荷を軽減することが可能となる。
さらにまた、本発明によれば、位置決め突起部13aが車体孔38にぐらつきがないように挿入されると、ドアサッシュ5のサッシュアウタ5aに仮保持されたステー11は揺動が規制され、且つステー11とサッシュアウタ5a及びフロントドア6の窓肩部との締め付け位置がほぼ一致する。これにより、ステー11の締付け固定位置合わせが大幅に容易化されるので、熟練度を問わず誰でも簡単、容易にステー11をフロントドア6に締付け固定することが可能となる。
さらにまた、本発明によれば、ドアサッシュ5のサッシュアウタ5aとアッパカバー30とには、取付け位置決め用のクリップ33及びこのクリップ33が挿入される取付孔34がそれぞれ設けられている。これにより、アッパカバー30をサッシュアウタ5aに装着する際の位置決め精度の向上を図ることができると共に、ドアミラー廻りの外観品質の向上を図ることができる。
さらにまた、本発明によれば、ドアミラー廻りを見下ろした場合やアッパカバー30が収縮してステー11とのつなぎ目が広がった場合でも、サッシュアウタ5aが見えないように延設部37が立ちはだかるので、ステー11とアッパカバー30とのつなぎ目は目立たなくなる。これにより、ステー11とアッパカバー30とが黒で塗装され、サッシュアウタ5aが黒とは異なるボディカラーで塗装されているような場合であっても、サッシュアウタ5aの色が目立ってしまうようなことはなくなり、ドアミラー廻りの外観品質をさらに向上させることができる。
さらにまた、本発明によれば、ステー11に設けられた取り外し治具差し込み口22は、ドアミラー1を格納しなければ露呈しない位置に設けられている。これにより、ドアミラー廻りの外観品質をさらに向上させることができる。
本発明が適用されて車体左側のフロントドアに取付けられたドアミラーをドア外側から見た図である。 同例におけるドアミラーを車体後方から見た図である。 同例におけるドアミラー取付け基部の斜視図である。 図1中のA−A矢視断面図である。 図1中のB−B矢視断面図である。 図1中のC−C矢視断面図である。 図1中のD−D矢視断面図である。 図1中のE−E矢視断面図である。 図1中のF−F矢視断面図である。 図1中のG−G矢視断面図である。 図3中の範囲Tの拡大図である。 (a)は、図11中のH−H矢視断面図、b)は、図11中のJ−J矢視断面図である。 (a)は、通常使用時におけるドアミラーの斜め下方側からの斜視図、(b)は、格納時におけるドアミラーの斜め下方側からの斜視図である。 従来のサッシュに取付けるタイプによりフロントドアに取付けられたドアミラーをドア外側から見た図である。 従来の窓肩に取付けるタイプによりフロントドアに取付けられたドアミラーをドア外側から見た図である。 従来のガセットタイプにおけるドアサッシュの断面図である。
符号の説明
1 ドアミラー
3 サイドドアガラス
4 三角窓
5 ドアサッシュ
5a サッシュアウタ
6 フロントドア
6a アウタパネル
7 ドアミラー固定用ボルト
11 ステー
12,13 接合部
14 上側ボルト孔(ステー締め付け固定位置)
15 下側ボルト孔(ステー締め付け固定位置)
16 仮保持フック(仮保持爪部)
17 挿入係止孔
22 取り外し治具差し込み口
24 ロアカバー(第2のカバー部材)
28 インナーブラケット
28a ボルト孔(ステー締め付け固定位置)
29 ウェルディングナット(ステー締め付け固定位置)
30 アッパカバー(第1のカバー部材)
35 パッキン(ステー)
37 延設部
37a 面部
39 ボルト孔(ステー締め付け固定位置)
40 ウェルディングナット(ステー締め付け固定位置)
42 仮保持フック(第2の仮保持爪部)
S ドアミラー締め付けの上下支持スパン

Claims (6)

  1. サイドドアガラスの前方に三角窓を有する車両のフロントドアに取付けられるドアミラーの取付け構造において、
    前記ドアミラーを支持するドアミラー取付け基部が、前記サイドドアガラス及び前記三角窓の間に配設されるドアサッシュと前記フロントドアの窓肩部とに跨って配置され、前記ドアミラー取付け基部の上部が前記ドアサッシュにドア外側から締め付け固定され、且つ前記ドアミラー取付け基部の下部が前記フロントドアの窓肩部にドア外側から締め付け固定され
    前記ドアミラー取付け基部と前記ドアサッシュとには、前記ドアミラー取付け基部を前記ドアサッシュに仮保持させるための仮保持爪部及び前記仮保持爪部が挿入される挿入係止孔が設けられていると共に、前記ドアミラー取付け基部と前記フロントドアの窓肩部には、前記ドアミラー取付け基部を前記窓肩部に仮保持させるための第2の仮保持爪部及び前記第2の仮保持爪部が挿入される第2の挿入係止孔が設けられていることを特徴とするドアミラーの取付け構造。
  2. 前記ドアミラー取付け基部は、前記ドアサッシュとの間では1箇所、前記フロントドアの窓肩部との間では2箇所の締め付け位置を有することを特徴とする請求項1に記載のドアミラーの取付け構造。
  3. 前記ドアミラー取付け基部には、前記ドアミラー取付け基部と前記ドアサッシュ及び前記フロントドアの窓肩部との締め付け位置をほぼ一致させるための位置決め突起部が、挿入状態でぐらつきがないように設けられていることを特徴とする請求項1または2に記載のドアミラーの取付け構造。
  4. サイドドアガラスの前方に三角窓を有する車両のフロントドアに取付けられるドアミラーの取付け構造において、
    前記ドアミラーを支持するドアミラー取付け基部が、前記サイドドアガラス及び前記三角窓の間に配設されるドアサッシュと前記フロントドアの窓肩部とに跨って配置され、前記ドアミラー取付け基部の上部が前記ドアサッシュにドア外側から締め付け固定され、且つ前記ドアミラー取付け基部の下部が前記フロントドアの窓肩部にドア外側から締め付け固定され、
    前記ドアサッシュには前記ドアミラー取付け基部の上部を覆うように第1のカバー部材が装着されると共に、前記ドアミラー取付け基部と前記第1のカバー部材との係合は、係合用の係合爪、位置決め用の挿入係止片部及び前記挿入係止片部が挿入される挿入係止孔によるものであることを特徴とするドアミラーの取付け構造。
  5. 前記ドアミラー取付け基部は、前記第1のカバー部材の下端部に重なり合うように延設され、且つ前記第1のカバー部材の下端部に臨んだ面部が下方側から上方側に切り上げられた延設部を有することを特徴とする請求項に記載のドアミラーの取付け構造。
  6. サイドドアガラスの前方に三角窓を有する車両のフロントドアに取付けられるドアミラーの取付け構造において、
    前記ドアミラーを支持するドアミラー取付け基部が、前記サイドドアガラス及び前記三角窓の間に配設されるドアサッシュと前記フロントドアの窓肩部とに跨って配置され、前記ドアミラー取付け基部の上部が前記ドアサッシュにドア外側から締め付け固定され、且つ前記ドアミラー取付け基部の下部が前記フロントドアの窓肩部にドア外側から締め付け固定され、
    前記ドアミラー取付け基部の下部には第2のカバー部材が装着されると共に、前記第2のカバー部材を取り外すための取り外し治具差し込み口が前記ドアミラーの格納時に露呈する前記ドアミラー取付け基部に設けられていることを特徴とするドアミラーの取付け構造。
JP2006163371A 2006-06-13 2006-06-13 ドアミラーの取付け構造 Expired - Fee Related JP4891663B2 (ja)

Priority Applications (1)

Application Number Priority Date Filing Date Title
JP2006163371A JP4891663B2 (ja) 2006-06-13 2006-06-13 ドアミラーの取付け構造

Applications Claiming Priority (1)

Application Number Priority Date Filing Date Title
JP2006163371A JP4891663B2 (ja) 2006-06-13 2006-06-13 ドアミラーの取付け構造

Publications (2)

Publication Number Publication Date
JP2007331460A JP2007331460A (ja) 2007-12-27
JP4891663B2 true JP4891663B2 (ja) 2012-03-07

Family

ID=38931358

Family Applications (1)

Application Number Title Priority Date Filing Date
JP2006163371A Expired - Fee Related JP4891663B2 (ja) 2006-06-13 2006-06-13 ドアミラーの取付け構造

Country Status (1)

Country Link
JP (1) JP4891663B2 (ja)

Families Citing this family (4)

* Cited by examiner, † Cited by third party
Publication number Priority date Publication date Assignee Title
JP5811650B2 (ja) * 2011-07-13 2015-11-11 トヨタ自動車株式会社 車両用ドア構造
JP5853545B2 (ja) * 2011-09-29 2016-02-09 スズキ株式会社 車両用ドアミラーの取付構造
US10150354B2 (en) 2014-02-21 2018-12-11 Ford Global Technologies, Llc Automotive door structure for sail mounted mirrors
FR3130697B1 (fr) * 2021-12-20 2023-12-08 Renault Sas Module de vitre fixe pour un véhicule automobile

Family Cites Families (5)

* Cited by examiner, † Cited by third party
Publication number Priority date Publication date Assignee Title
JPS63189945A (ja) * 1987-02-03 1988-08-05 Nec Corp ソ−ステキスト管理方式
JPH07223490A (ja) * 1994-02-14 1995-08-22 Toyota Auto Body Co Ltd ドアミラーの取付構造
JPH08216787A (ja) * 1995-02-14 1996-08-27 Showa Aircraft Ind Co Ltd 車輌のミラーステーの取付構造
JPH0971184A (ja) * 1995-09-06 1997-03-18 Toyota Motor Corp 自動車のドアのアウタミラー取付け構造
JP2004196206A (ja) * 2002-12-20 2004-07-15 Murakami Corp アウターミラー

Also Published As

Publication number Publication date
JP2007331460A (ja) 2007-12-27

Similar Documents

Publication Publication Date Title
US20090218834A1 (en) Vehicle bumper fascia retainer
EP2998160B1 (en) Method of fixing an apparatus comprising a towing mirror
US8453946B2 (en) Front structure for a motor vehicle
JP4891663B2 (ja) ドアミラーの取付け構造
US6517146B1 (en) Attachment of front quadrant to crossmember
US11077796B1 (en) Mirror assembly with extended mount and super duty mirror system/door delete option and support plate with slots
US11338741B2 (en) Camera mirror vehicle mounting system
JP2003312264A (ja) サッシュの取付構造
JP2000153777A (ja) サスペンション取付部構造
JPH1067341A (ja) フェンダパネルの取付構造
JP2004106585A (ja) フラップの取付構造
JP4491788B2 (ja) シートの取付構造
CN212637684U (zh) 一种翼子板的前固定板结构
JP2772433B2 (ja) 自動車用バンパの取付構造
JP4584964B2 (ja) 車体前部構造
JP4377277B2 (ja) 車載用モニター取付装置およびその取付構造
JP3059455U (ja) リヤアンダーミラーの取付構造
JP2006103389A (ja) ステアリングサポートメンバー構造
JP2001163084A (ja) インストルメントパネル取り付け構造
JP2006015880A (ja) ステアリングサポートメンバ構造
JP2009248884A (ja) バンパ固定構造
JP2003118516A (ja) バンパーの取付構造
JP2001191952A (ja) フードロックブレースの取付構造
JP2006123742A (ja) 取付構造
JP2002096782A (ja) 車両における外装部品の取付構造

Legal Events

Date Code Title Description
A621 Written request for application examination

Free format text: JAPANESE INTERMEDIATE CODE: A621

Effective date: 20090604

A977 Report on retrieval

Free format text: JAPANESE INTERMEDIATE CODE: A971007

Effective date: 20110630

A131 Notification of reasons for refusal

Free format text: JAPANESE INTERMEDIATE CODE: A131

Effective date: 20110705

A521 Written amendment

Free format text: JAPANESE INTERMEDIATE CODE: A523

Effective date: 20110824

TRDD Decision of grant or rejection written
A01 Written decision to grant a patent or to grant a registration (utility model)

Free format text: JAPANESE INTERMEDIATE CODE: A01

Effective date: 20111206

A01 Written decision to grant a patent or to grant a registration (utility model)

Free format text: JAPANESE INTERMEDIATE CODE: A01

A61 First payment of annual fees (during grant procedure)

Free format text: JAPANESE INTERMEDIATE CODE: A61

Effective date: 20111216

R150 Certificate of patent or registration of utility model

Ref document number: 4891663

Country of ref document: JP

Free format text: JAPANESE INTERMEDIATE CODE: R150

Free format text: JAPANESE INTERMEDIATE CODE: R150

FPAY Renewal fee payment (event date is renewal date of database)

Free format text: PAYMENT UNTIL: 20141222

Year of fee payment: 3

S531 Written request for registration of change of domicile

Free format text: JAPANESE INTERMEDIATE CODE: R313531

R350 Written notification of registration of transfer

Free format text: JAPANESE INTERMEDIATE CODE: R350

R250 Receipt of annual fees

Free format text: JAPANESE INTERMEDIATE CODE: R250

R250 Receipt of annual fees

Free format text: JAPANESE INTERMEDIATE CODE: R250

R250 Receipt of annual fees

Free format text: JAPANESE INTERMEDIATE CODE: R250

S533 Written request for registration of change of name

Free format text: JAPANESE INTERMEDIATE CODE: R313533

R350 Written notification of registration of transfer

Free format text: JAPANESE INTERMEDIATE CODE: R350

R250 Receipt of annual fees

Free format text: JAPANESE INTERMEDIATE CODE: R250

R250 Receipt of annual fees

Free format text: JAPANESE INTERMEDIATE CODE: R250

R250 Receipt of annual fees

Free format text: JAPANESE INTERMEDIATE CODE: R250

LAPS Cancellation because of no payment of annual fees