JP4882467B2 - 電動パワーステアリング制御装置 - Google Patents

電動パワーステアリング制御装置 Download PDF

Info

Publication number
JP4882467B2
JP4882467B2 JP2006107893A JP2006107893A JP4882467B2 JP 4882467 B2 JP4882467 B2 JP 4882467B2 JP 2006107893 A JP2006107893 A JP 2006107893A JP 2006107893 A JP2006107893 A JP 2006107893A JP 4882467 B2 JP4882467 B2 JP 4882467B2
Authority
JP
Japan
Prior art keywords
power
potential difference
relay
relay circuit
power supply
Prior art date
Legal status (The legal status is an assumption and is not a legal conclusion. Google has not performed a legal analysis and makes no representation as to the accuracy of the status listed.)
Expired - Fee Related
Application number
JP2006107893A
Other languages
English (en)
Other versions
JP2007276706A (ja
Inventor
幹彦 角田
Current Assignee (The listed assignees may be inaccurate. Google has not performed a legal analysis and makes no representation or warranty as to the accuracy of the list.)
NSK Ltd
Original Assignee
NSK Ltd
Priority date (The priority date is an assumption and is not a legal conclusion. Google has not performed a legal analysis and makes no representation as to the accuracy of the date listed.)
Filing date
Publication date
Application filed by NSK Ltd filed Critical NSK Ltd
Priority to JP2006107893A priority Critical patent/JP4882467B2/ja
Publication of JP2007276706A publication Critical patent/JP2007276706A/ja
Application granted granted Critical
Publication of JP4882467B2 publication Critical patent/JP4882467B2/ja
Expired - Fee Related legal-status Critical Current
Anticipated expiration legal-status Critical

Links

Images

Landscapes

  • Steering Control In Accordance With Driving Conditions (AREA)
  • Power Steering Mechanism (AREA)

Description

本発明は、電源安定化用コンデンサへのプリチャージを予め行った後、電源リレーを投入して電源からの電力供給を開始するようにした電動パワーステアリング制御装置に関するものである。
従来、この種の電動パワーステアリング制御装置では、イグニッションスイッチがオンされたことに伴って電源リレーをオン状態に切り換えた際に、電源から電源安定化用コンデンサに突入電流(ラッシュカレント)が流れることを抑制するため、電源リレーをオン状態に切り換える前に電源安定化用コンデンサを充電するためのプリチャージ回路を設け、このプリチャージ回路により電源安定化用コンデンサを前以って充電した後、電源リレーをオン状態に切り換えるようにしている。そして、例えば、電源と電源安定化用コンデンサとの間に、抵抗値の異なる2つの抵抗を設け、抵抗値の小さい抵抗を介して充電を行った後、抵抗値の大きい抵抗を介して充電を行い、充電における時定数を小さくすることでプリチャージ時間の大幅な短縮を図るようにしたもの(例えば、特許文献1参照)、また、電源リレーをオン状態に切り換える前に、電源リレーの溶着診断を行うようにしたもの(例えば、特許文献2参照)等も提案されている。
特開2004−135389号公報 特許第3511593号
前述のように、電源リレーをオン状態に切り換える前にプリチャージが行われることから、電源リレーの溶着診断は、通常、プリチャージ途中の、エンジンクランキング時に行われている。
ここで、電源リレーの溶着診断を、例えば電源リレーの負荷接続側のリレー接点の電圧を用いて行う場合、電源リレーが溶着している場合には、負荷接続側のリレー接点の電圧は電源リレーを介して電源電圧と等しくなることから、負荷接続側のリレー接点の電圧の大きさを監視することでリレー溶着を検出することができる。
逆に、電源リレー開放状態であるときには、負荷接続側のリレー接点の電圧は電源安定化用コンデンサの電圧と等しくなるため、このときの電圧値を監視することで、リレー溶着していないことを検出することができる。
しかしながら、エンジンクランキング時には電源電圧が変動し、この電源電圧により作動するプリチャージ回路によるプリチャージ量が安定しないことから、この状態でリレー溶着診断を行った場合には、リレー溶着していると誤判断する可能性がある。
そこで、この発明は、上記従来の未解決の問題に着目してなされたものであり、リレー溶着診断における誤判断を回避し、より的確に突入電流の発生を抑制することの可能な電動パワーステアリング制御装置を提供することを目的としている。
上記目的を達成するために、本発明の請求項1に係る電動パワーステアリング制御装置は、操舵系に対して操舵補助力を付与する電動モータと、当該電動モータを駆動するモータ駆動回路と、当該モータ駆動回路に電源からの電力を供給する電源リレー回路と、当該電源リレー回路を制御するリレー制御手段と、当該電源リレー回路と前記モータ駆動回路との間に介挿された電源安定化用コンデンサと、前記電源リレー回路を閉じる前に前記電源安定化用コンデンサを充電するプリチャージ回路と、前記電源リレー回路のリレー接点両端間の電位差を検出する電位差検出手段と、エンジンにより駆動されて発電し前記電源への充電を行う発電手段と、前記エンジンが回転中か否かを検出するエンジン回転状態検出手段と、当該エンジン回転状態検出手段での検出結果に基づきエンジンが回転中か否かに応じて前記電源安定化用コンデンサのプリチャージ量を制御するプリチャージ量制御手段と、を備え、前記リレー制御手段は、前記電位差検出手段で検出した電位差が予め設定したしきい値より小さくなったとき前記電源リレー回路を閉状態に制御し、前記プリチャージ量制御手段は、エンジンが非回転中は、回転中よりもより遅い速度でプリチャージを行うことを特徴としている。
この請求項1に記載の発明では、電源リレー回路のリレー接点両端間の電位差を検出し、この電位差がしきい値より小さくなったとき電源リレー回路を閉じるようにしているため、リレー接点両端間の電位差が突入電流が生じないと予測される電位差相当のしきい値を下回ったとき電源リレー回路を閉じることによって、的確なタイミングでプリチャージが終了されると共に、突入電流が生じることなく電源リレー回路を閉じることが可能となる。
また、エンジンが非回転中であって、発電手段による発電が行われておらず電源への充電が行われていない間は、回転中よりも、より遅い速度でプリチャージが行われるため、プリチャージにより、電源リレー回路の、電源安定化用コンデンサ側の接点電圧が、電源側の接点電圧に近づき過ぎる状態となることが回避される。
また、請求項に係る電動パワーステアリング制御装置は、前記電源リレー回路の、前記電源側と接続される接点の電圧を検出する電源側接点電圧検出手段を備え、前記プリチャージ量制御手段は、前記電源側接点電圧検出手段で検出される電源側接点電圧が予め設定したしきい値以下であり、且つ前記電位差検出手段で検出される電位差が予め設定したしきい値より小さいときには前記電源安定化用コンデンサを放電させることを特徴としている。
この請求項に係る発明では、電源リレー回路の電源側接点電圧がしきい値以下である場合には、プリチャージにより電源安定化用コンデンサ側の接点電圧が、電源側接点電圧に近づき過ぎる状態となる可能性があるが、電位差がしきい値以上であるときにはプリチャージを行い、電位差がしきい値より小さいときには電源安定化用コンデンサを放電させるから、電源安定化用コンデンサ側の接点電圧が、電源側接点電圧に近づき過ぎる状態となることが回避される。
また、請求項に係る電動パワーステアリング制御装置は、前記電位差検出手段で検出される、前記リレー接点両端間の電位差に基づいて異常検出を行う異常検出手段を備え、当該異常検出手段は、前記電源リレー回路が閉状態に制御された後に、前記異常検出を行うことを特徴としている。
この請求項に係る発明では、異常の種類によってリレー接点両端間の電位差が取り得る値が異なることからこの電位差に基づいて異常検出を行うことで、より的確に異常検出を行うことができる。また、この異常検出は、プリチャージ終了後に行われるから、電源安定化用コンデンサの充電電圧及び電源電圧が安定した状態で異常検出が行われることになり電圧変動に起因する誤判断が回避される。
また、請求項に係る電動パワーステアリング制御装置は、前記異常検出手段は、前記電位差検出手段の検出結果に基づき、前記電源リレー回路が閉状態に切り換わったと予測される時点での前記リレー接点両端間に電位差がないとき、リレー溶着異常と判断することを特徴としている。
この請求項に係る発明では、電源リレー回路は、電源リレー回路の接点間の電位差がしきい値より小さくなったとき閉じられるから、電源リレー回路が閉じた直後には、リレー接点両端間に電位差が生じるはずである。電源リレー回路が閉じた直後のリレー接点両端間に電位差がないということはすなわち電源リレー回路が制御される以前に導通状態であったとみなすことができるから、リレー溶着異常の可能性があるとみなすことが可能となる。
また、請求項に係る電動パワーステアリング制御装置は、前記異常検出手段は、前記電位差検出手段の検出結果に基づき、前記電源リレー回路が閉状態に切り換わった後の前記リレー接点両端間の電位差が予め設定したしきい値以上であるとき、断線異常であると判断することを特徴としている。
この請求項に係る発明では、電源リレー回路が閉じた後には、電源リレー回路は導通状態となるため、電源リレー回路の接点間の電位差はしきい値よりも小さくなるはずであるから、この電位差がしきい値以上である場合には断線異常が何れかの箇所で生じているとみなすことが可能となる。
さらに、請求項に係る電動パワーステアリング制御装置は、前記リレー制御手段は、前記異常検出手段で異常を検出したとき、前記電源リレー回路を開閉動作させる開閉制御手段を備え、前記異常検出手段は、前記異常を検出したとき、前記開閉制御手段を作動させ、前記電源リレー回路を規定回数開閉動作させても前記異常が検出されるとき、異常発生として確定することを特徴としている。
この請求項に係る発明では、異常検出手段で異常が検出されたとき、開閉制御手段によって、電源リレー回路が開閉動作され、異常検出手段は、規定回数開閉動作が行われても異常が検出されるとき異常発生として確定する。例えば、リレー溶着がそれほど進んでいないときや、異物等が電源リレー回路のリレー接点に挟まっている場合等異常の要因の種類や程度によっては、電源リレー回路を複数回開閉動作させることで異常の要因が除去されるから、異常の回復を図ることが可能となる。
本発明の請求項1に係る電動パワーステアリング制御装置によれば、電源リレー回路のリレー接点両端の電位差がしきい値より小さくなったとき電源リレー回路を閉じるようにしているから、リレー接点両端の電位差が、突入電流が生じないと予測される電位差相当のしきい値を下回ったときに電源リレー回路を閉じることによって、突入電流が生じることなく的確なタイミングでプリチャージを終了することができる。
た、エンジンが非回転中であって、発電手段による発電が行われておらず電源への充電が行われていない間は、回転中よりも、より遅い速度でプリチャージが行うから、プリチャージにより、電源リレー回路の電源安定化用コンデンサ側の接点電圧が、電源側の接点電圧に近づき過ぎる状態となることを回避することできる。
また、請求項に係る電動パワーステアリング制御装置によれば、電源リレー回路の電源側接点電圧がしきい値以下であり且つ電源リレー回路の接点間の電位差がしきい値より小さいときには電源安定化用コンデンサを放電させるから、プリチャージにより、電源安定化用コンデンサ側の接点電圧が、電源側接点電圧に近づき過ぎる状態となることを回避することができる。
また、請求項に係る電動パワーステアリング制御装置によれば、電位差検出手段で検出される、前記リレー接点両端間の電位差に基づいて異常検出を行うと共に、この異常検出を電源リレー回路が閉状態に制御された後に行うから、電位差に応じて異常検出を的確に行うことができる。また、プリチャージ終了後の、電源安定化用コンデンサの充電電圧及び電源電圧が安定した状態で異常検出を行うから、電圧変動に起因する誤判断を回避することができる。
また、請求項に係る電動パワーステアリング制御装置によれば、電源リレー回路が閉状態に切り換わったと予測される時点で、電源リレー回路のリレー接点両端間の電位差の有無を判断することで、リレー溶着異常を容易に検出することができる。
また、請求項に係る電動パワーステアリング制御装置によれば、電源リレー回路が閉状態に切り換わった後のリレー接点両端間の電位差がしきい値以上であるかどうかを判断することで、地絡等の断線異常を容易に検出することができる。
さらに、請求項に係る電動パワーステアリング制御装置によれば、異常検出手段は、異常を検出したとき前記電源リレー回路を規定回数開閉動作させるから、リレー溶着の程度等によっては、異常の回復を図ることができる。
以下、本発明の実施の形態を説明する。
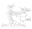
図1は、本発明の実施の形態を示す概略構成図であって、図中、1はステアリングホイールであり、このステアリングホイール1に運転者から作用される操舵力がステアリングシャフト2に伝達される。このステアリングシャフト2は、入力軸2aと出力軸2bとを有し、入力軸2aの一端がステアリングホイール1に連結され、他端はトルク検出手段としてのトルクセンサ3を介して出力軸2bの一端に連結されている。
そして、出力軸2bに伝達された操舵力は、ユニバーサルジョイント4を介してロアシャフト5に伝達され、さらにユニバーサルジョイント6を介してピニオンシャフト7に伝達される。
このピニオンシャフト7に伝達された操舵力はステアリングギヤ8を介してタイロッド9に伝達され、図示しない転舵輪を転舵させる。ここで、ステアリングギヤ8は、ピニオンシャフト7に連結されたピニオン8aとこのピニオン8aに噛合するラック8bとを有するラックアンドピニオン形式に構成され、ピニオン8aに伝達された回転運動をラック8bで直進運動に変換している。
ステアリングシャフト2の出力軸2bには、補助操舵力を出力軸2bに伝達する減速ギヤ10が連結されており、この減速ギヤ10には、操舵系に対して補助操舵力を発生する電動モータ12の出力軸が連結されている。
トルクセンサ3は、ステアリングホイール1に付与されて入力軸2aに伝達された操舵トルクを検出するもので、例えば、操舵トルクを入力軸2a及び出力軸2b間に介挿した図示しないトーションバーの捩れ角変位に変換し、この捩れ角変位を例えばポテンショメータで検出するように構成されている。このトルクセンサ3から出力されるトルク検出値Tは、コントローラ13に入力される。
このコントローラ13には、トルク検出値Tの他に、車速センサ15で検出した車速検出値V及びエンジン回転数センサ25で検出したエンジン回転数Neも入力され、コントローラ13では、入力されるトルク検出値T及び車速検出値Vに応じた操舵補助力を電動モータ12で発生する操舵補助指令値IM *を公知の手順で算出し、算出した操舵補助指令値IM *とモータ電流検出値IMDとにより、電動モータ12に供給する駆動電流をフィードバック制御するためのモータ駆動電流IMを算出する。
また、イグニッションスイッチIGがオン状態となったとき、エンジン回転数センサ25で検出したエンジン回転数Neに基づいて、後述の電源安定化用コンデンサ35へのプリチャージ量を制御しつつ電源安定化用コンデンサ35へのプリチャージを行い、プリチャージ終了後、後述の電源リレー回路30をオン状態に切り換える。また、リレー溶着等の異常検出を行い、異常検出時には、警報装置50を作動して警報を発する。
コントローラ13は、図2に示すように、公知の手順で、電動モータ12の制御処理を実行するマイクロコンピュータ16と、マイクロコンピュータ16から出力されるモータ駆動電流IMが入力されて電動モータ12に供給する駆動電流を制御するモータ駆動回路18と、電動モータ12に流れる駆動電流を検出するモータ電流検出回路19と、バッテリ36からモータ駆動回路18への電力供給を遮断するための電源リレー部30と、モータ駆動回路18へ供給される電源電圧を安定化するための電源安定化用コンデンサ35と、当該電源安定化用コンデンサ35にプリチャージを行うプリチャージ回路40と、を備えている。また、前記バッテリ36には、エンジンにより駆動されて発電し前記バッテリ36への充電を行う発電機36aを備えている。
ここで、モータ駆動回路18は、電界効果トランジスタFET1〜FET4でなる公知のHブリッジ回路20と、マイクロコンピュータ16から出力されるモータ駆動電流IMに基づいてHブリッジ回路20の各電界効果トランジスタFET1〜FET4の各ゲートを駆動するFETゲート駆動回路21とで構成され、前記電界効果トランジスタFET1及びFET2の接続点に、システム内部で生成された内部電圧Vrが印加され、FET3及びFET4の接続点が抵抗Rを介して接地されている。
電源リレー部30は、リレー接点31及びこのリレー接点31を付勢するリレーコイル32からなる電源リレー回路33と、リレーコイル32に対する印加電圧を制御する印加電圧制御用能動素子としてのトランジスタ34とを有し、リレー接点31はその一端がHブリッジ回路20の電界効果トランジスタFET1及びFET2の接続点に接続され、他端はバッテリ36に接続される。また、トランジスタ34のソース端子には後述の内部電圧Vbが印加され、ドレイン端子にはリレーコイル32の一端が接続されその他端は接地される。
そして、このリレー接点31と前記電界効果トランジスタFET1及びFET2の接続点との間に、電源安定化用コンデンサ35の一端が接続されその他端は接地される。
プリチャージ回路40は、前記電源安定化用コンデンサ35の高電位側に接続される、電源安定化用コンデンサ35側への逆電圧の印加を防止するための逆電圧素子用のダイオード41と、電界効果トランジスタで構成され、電源安定化用コンデンサ35へのプリチャージ電流を制御するプリチャージ電流制御用トランジスタ42と、このプリチャージ電流制御用トランジスタ42のソース端子に一端が接続される突入電流抑制用抵抗43と、差動アンプで構成される電位差検出回路44と、から構成され、プリチャージ電流制御用トランジスタ42のドレイン端子が突入電流抑制用抵抗43の一端に接続され、その他端はダイオード41のアノード側に接続される。
また、前記ダイオード41のカソード側は、イグニッションスイッチIGを介してバッテリ36に接続されると共に、後述の電源自己保持用トランジスタ52を介してバッテリ36に接続され、イグニッションスイッチIGとダイオード41との間にイグニッションスイッチIG側への逆電圧素子用のダイオード51が接続され、また、ダイオード41と電源自己保持用トランジスタ52との間及び電源自己保持用トランジスタ52とバッテリ36との間には、それぞれバッテリ36側への逆電圧素子用のダイオード53及び54が介挿されている。つまり、ダイオード41のカソード側には、バッテリ36の出力電圧がイグニッションスイッチIGを通る経路と、電源自己保持用トランジスタ52を通る経路とにより印加され、このダイオード41のカソード側の電圧が内部電圧Vbとして、前記電源リレー部30のトランジスタ34のソース端子に印加される。
前記プリチャージ電流制御用トランジスタ42のゲート端子には、マイクロコンピュータ16からのプリチャージ制御信号Spが入力され、プリチャージ制御信号Spにより電源安定化用コンデンサ35のチャージ量が制御される。
また、電源リレー回路33のリレー接点31のバッテリ側端子の電位及びリレー接点31のコンデンサ側の電位が電位差検出回路44に入力され、これらリレー接点31の両接点の電位差が検出され、これが図示しないA/D変換器を介して接点電位差としてマイクロコンピュータ16に入力される。
また、リレー接点31のバッテリ側端子が図示しない電圧検出器(電源側接点電圧検出手段)によって検出され、また、コンデンサ側端子の電圧が図示しない電圧検出器によって検出され、これらがA/D変換されてそれぞれ接点前段電圧、すなわちバッテリ側接点電圧及び、接点後段電圧、すなわちコンデンサ側接点電圧としてマイクロコンピュータ16に入力される。
一方、前記電源自己保持用トランジスタ52のゲート端子には、マイクロコンピュータ16からの電源自己保持信号Skが入力される。電源自己保持用トランジスタ52は、イグニッションスイッチIGが閉状態となりマイクロコンピュータ16が起動されたときにオン状態に制御され、イグニッションスイッチIGを介さず直接に、バッテリ36からの電力供給を可能とする。また、イグニッションスイッチIGがオフ状態となったときには、所定の処理が行われ電源リレー回路33が開状態に制御された後、オフ状態に制御される。
マイクロコンピュータ16は、バッテリ36を電圧源として生成される内部電圧Vcを電源としてイグニッションスイッチIGがオフである間も動作可能に構成されている。そして、イグニッションスイッチIGがオン状態となると、電源自己保持信号Skを出力して電源自己保持用トランジスタ52をオン状態に制御し、イグニッションスイッチIGを介さない、バッテリ36から直接の電力供給を開始する。
また、マイクロコンピュータ16は、プリチャージ用トランジスタ42をPWM制御しデューティ比制御を行うことで、電源リレー回路33の端子間の電位差及びエンジン回転数センサ25で検出したエンジン回転数Neに応じて、電源安定化用コンデンサ35へのプリチャージ量を制御し、電源リレー回路33の両接点の電位差が突入電流の生じない程度の値となったときプリチャージを終了すると共に電源リレー回路33をオン状態に切り換える。
そして、車速センサ15及びトルクセンサ3の検出信号に基づいて公知の手順でモータ駆動制御処理を行い、運転者の操舵操作に応じた操舵補助力を発生する。
図3は、マイクロコンピュータ16で実行される操舵補助制御処理の処理手順の一例を示すフローチャートである。
マイクロコンピュータ16では、まず、ステップS1で、イグニッションスイッチIGがオン状態となったかどうかを判断する。そして、イグニッションスイッチIGがオン状態となったならば、ステップS2に移行し、電源自己保持信号Skを出力し、電源自己保持用トランジスタ52をオン状態に制御する。これによって、イグニッションスイッチIGを介さずに、バッテリ36から直接電力供給が行われる。
次いで、ステップS3に移行し、電源リレー回路33をオン状態に制御するための、後述の電源リレーオン制御処理を行う。そして、電源リレー回路33をオン状態に制御し、システム各部への電源リレー回路33を介してのバッテリ36からの電力供給を開始した後、ステップS4に移行し、車速センサ15及びトルクセンサ3の検出信号に基づいて、運転者の操舵操作に応じた操舵補助力を発生させるためのモータ駆動制御処理を公知の手順で行う。
次いで、ステップS5に移行し、イグニッションスイッチIGがオフ状態となったかどうかを判断し、オフ状態となっていなければステップS4に戻って引き続きモータ駆動制御処理を行い、イグニッションスイッチIGがオフ状態となったときステップS6に移行する。
このステップS6では、ステアリングホイール1を徐々に中立状態に戻す等、操舵補助制御終了時の所定の処理を行った後、ステップS7に移行し、電源リレー部30のトランジスタ34への電源リレー制御信号Srの出力を停止して、電源リレー回路33を開状態に制御する。次いで、ステップS8に移行して、電源自己保持信号Skの出力を停止して電源自己保持用トランジスタ52をオフ状態に切り換え、電源自己保持用トランジスタ52を介してのバッテリ36からの電力供給を遮断する。そして、ステップS1に戻り、イグニッションスイッチIGがオン状態となるのを監視する。
前記ステップS3で実行される電源リレーオン制御処理は、図4に示す処理手順で行われる。
まず、ステップS11で、電源リレー回路33のリレー接点31の接点前段電圧、すなわち、バッテリ側接点電圧を読み込み、このバッテリ側接点電圧が予め設定したしきい値よりも高いかどうかを判断する。このしきい値は、バッテリ36のバッテリ電圧の大きさを判断するためのしきい値であって、例えばバッテリ36の初期のプリチャージ量に応じて設定される。
そして、バッテリ側接点電圧が予め設定したしきい値以下の場合、すなわち、クランキングによってバッテリ電圧が低下した場合等、バッテリ電圧が比較的低い場合には、ステップS13に移行し、次に、電位差検出回路44からの検出信号に基づき、電源リレー回路33の接点電位差が予め設定したしきい値よりも小さいかどうかを判断する。このしきい値は、プリチャージを行うことにより、電源安定化用コンデンサ35の充電電圧が、バッテリ36のバッテリ電圧よりも上昇することを回避することの可能な値に設定される。
そして、電源リレー回路33の接点電位差が予め設定したしきい値よりも小さいときには、ステップS13からステップS14に移行し、バッテリ電圧が低く、また接点電位差も小さいことから、プリチャージを行うことにより電源リレー回路33のコンデンサ側接点電位が上昇しバッテリ側接点電位に近づき過ぎる状態となる可能性があるため、これを回避するために電源安定化用コンデンサ35のプリチャージ量を減少させる。すなわち、プリチャージ制御信号Spの出力を停止し、プリチャージ用トランジスタ42をオフ状態に切り換える。これによって、電源安定化用コンデンサ35の充電電圧が、例えば、バッテリ側接点電圧を検出するための電圧検出器を構成する、一端が接地された抵抗等を介して放電される。このため、コンデンサ側接点電圧が低下し、コンデンサ側接点電圧がバッテリ側接点電圧に近づき過ぎる状態となることが回避される。このとき、後述の図5に示すパターンAの減少度合で変化させる。そして、後述のステップS15に移行する。
一方、ステップS13で接点電位差がしきい値以上である場合には、そのままステップS11に戻る。
また、ステップS11で、バッテリ側接点電圧がしきい値よりも高いときには、ステップS12に移行し、プリチャージ制御信号Spを出力し、プリチャージを開始する。このとき、電源安定化用コンデンサ35のプリチャージ量が比較的増加度合の緩やかなパターンBの増加度合で増加し得るプリチャージ制御信号を出力する。
ここで、プリチャージ量の変化度合は、図5に示すように、パターンA、パターンB、パターンC及びパターンDの4種類が設定され、パターンAが最もその変化度合が小さく、パターンB、パターンC、パターンDの順に変化度合が大きくなり、パターンDが最も変化度合が大きくなるように設定される。なお、図5において、横軸は時間、縦軸は、電源安定化用コンデンサ35のプリチャージ量である。このように、電源安定化用コンデンサ35を放電させる場合のパターンAの変化度合よりも、プリチャージを行う際のパターンB、C、Dの変化度合をより大きな変化度合に設定することによって、電源電圧により、より早く、的確にプリチャージ量を制御することができる。
次いで、ステップS15に移行し、エンジン回転数センサ25で検出したエンジン回転数Neを読み込み、このエンジン回転数Neに基づき、エンジンが回転しているか、エンジンが回転している場合にはその回転数がしきい値より小さいかどうかを判断する。なお、このしきい値は、エンジンが始動し、発電機36aによる発電が開始されたかどうかを判断するためのしきい値であって、アイドリング回転数に基づいて設定され、例えば、800〔rpm〕(エンジン始動時1500〔rpm〕)程度に設定される。
そして、エンジンが回転していないと判断されるときにはクランキング中と判断しステップS15からステップS11に戻る。一方、エンジンが回転してはいるが、しきい値よりも小さく低回転しているときにはステップS16に移行し、接点電位差が予め設定したしきい値よりも小さいかどうかを判断する。この接点電位差のしきい値は、電源リレー回路33の両接点間の電位差が、電源リレー回路33を閉状態に切り換えた場合に、設定値以上の突入電流が流れることのない電位差であるかどうかを判断するためのしきい値である。
接点電位差がしきい値よりも小さいときには、電源リレー回路33を閉状態に切り換えたとしても設定値以上の突入電流が流れることはないと判断し、ステップS21に移行する。逆に、接点電位差がしきい値以上であるときには、電源リレー回路33を閉状態に切り換えたときに設定値以上の突入電流が流れる可能性があると判断し、ステップS18に移行する。そして、エンジンが比較的低回転しているため、発電機36aによる充電が遅いことからバッテリ36の電源電圧の増加が遅く、また、接点電位差が大きいことから、バッテリ側接点電圧及びコンデンサ側接点電圧の電位差が縮まって接点電位差がしきい値を下回るまでに時間がかかるため、速やかなプリチャージが必要と判断し、比較的速やかにプリチャージを行うパターンDでのプリチャージに切り換える。
一方、ステップS15で、エンジン回転数Neがしきい値よりも大きく比較的高回転している場合には、中程度の増加度合でプリチャージを行うパターンCで一端プリチャージを行った後、ステップS16に移行して電源リレー回路33の接点電位差がしきい値より小さいかどうかを判断し、接点電位差がしきい値以上であるときには速やかなプリチャージが必要と判断してより早い増加速度でプリチャージを行うパターンDでのプリチャージに切り換える。
そして、ステップS16で、電源リレー回路33の接点電位差がしきい値よりも小さくなったときステップS21に移行し、プリチャージ制御信号Spの出力を停止し、プリチャージ用トランジスタ42をオフ状態に切り換え、ステップS22に移行して電源リレー制御信号Srを出力する。これによって、電源リレー部30のトランジスタ34がオン状態となり、内部電圧Vbが励磁コイル32に印加されることからリレーコイル32が励磁されて電源リレー回路33が閉状態に切り換わる。
そして、電源リレー制御信号Srを出力した後、これに応じて電源リレー回路33が閉状態に切り換わるまでの所要時間が経過した時点で、ステップS23に移行し、電源リレー回路33の接点電位差を読み込み、接点電位差の有無を判断する。そして、接点電位差が無い場合には電源リレー回路33にリレー溶着が生じていると判断する。
つまり、ステップS21では、電源リレー回路33の接点電位差がしきい値よりも小さくなった時点(ステップS16)でプリチャージを停止し電源リレー回路33をオン状態に切り換えているため、電源リレー回路33が正常に動作していれば、電源リレー回路33が閉状態に切り換えられた時点で電源リレー回路33の両端には、しきい値相当の電位差があるはずである。したがって、電源リレー回路33を閉状態に切り換えた時点で電位差がないということは、すなわち電源リレー回路33を閉状態に切り換える以前に電源リレー回路33は導通状態となっていたとみなすことができ、リレー溶着等の異常が生じているとみなすことができる。
このため、ステップS23で接点電位差がない場合には、電源リレー回路33の異常と判断し、ステップS25に移行する。
一方、ステップS23で接点電位差がある場合には、リレー溶着等電源リレー回路33は正常に動作可能と判断しステップS24に移行し、次に、接点前段電圧から接点後段電圧を減算した差分値、すなわち、バッテリ側接点電圧からコンデンサ側接点電圧を減算した差分値が、予め設定したしきい値よりも小さいかどうかを判断する。そして、差分値が予め設定したしきい値以上であるときには、何れかの箇所で地絡が生じている、或いは、電源リレー回路33が閉状態に切り換わっていない等、断線異常が生じていると判断し、ステップS25に移行する。一方、差分値がしきい値より小さいときには地絡等の断線異常は生じておらず正常と判断し、処理を終了する。
前記ステップS23又はステップS24で異常を検出した場合には、ステップS25に移行し、電源リレー制御信号Srの出力を停止すると共に、カウンタを“1”だけインクリメントする。このカウンタは、電源リレー回路33を開閉動作させた回数をカウントするためのカウンタである。次いで、ステップS26に移行して、カウンタ値が予め設定した開閉回数nに達したかどうかを判断し、この開閉回数nに達していないときにはステップS22に戻って、再度電源リレー制御信号Srを出力し、電源リレー回路33を閉状態に制御する。
そして、ステップS23で再度、電源リレー回路33の接点電位差の有無を判断し、接点電位差がある場合にはステップS24でバッテリ側接点電圧からコンデンサ側接点電圧を減算した差分値が正常であるかどうかを判断し、何れかを満足しないときにはステップS25に移行し、再度電源リレー制御信号Srの出力を停止して電源リレー回路33を開状態に切り換える。
そして、ステップS22からステップS26の処理を繰り返し行い、カウンタが規定回数nに達する以前に、ステップS23及びステップS24で正常と判断されたとき、つまり、一度は異常と判断されたが、開閉動作を行ったことで、リレー溶着しかかっていたがリレー接点41が開閉動作可能な状態に復帰した場合、或いは、リレー接点41に異物等が挟まっていたがこれが除去された場合等、正常に復帰した場合には、システムは正常と判断して処理を終了する。
一方、電源リレー回路33の開閉動作を規定回数n回行ってもステップS23又はステップS24で異常と判断されるときには、ステップS27に移行し、異常検出時の処理を実行する。例えば、運転席近傍に設けられた、異常を警告するための警報装置50を作動させ、システムの異常を運転者に通知し、電源リレー回路33をオフ状態、電源自己保持用トランジスタ52を開状態に切り換え、システム各部への電源供給を遮断し、以後、異常が回復するまでの間、操舵補助制御処理を行わない等の対処を行う。
次に、上記実施の形態の動作を説明する。
イグニッションスイッチがオン状態となると、マイクロコンピュータ16は、図3のステップS1からステップS2に移行し、電源自己保持信号Skを出力し、電源自己保持用トランジスタ52をオン状態に切り換える。そして、電源リレーオン制御処理を実行する(ステップS3)。
このときプリチャージ回路40には、イグニッションスイッチIG及び電源自己保持用トランジスタ52を介してバッテリ36から電力供給が行われるから、電源リレー回路33がオン状態となっていない状態であってもプリチャージが可能である。
そして、クランキング等によりバッテリ電圧が低下し、電源リレー回路33のバッテリ側接点電圧が比較的小さくしきい値以下であり、且つ、バッテリ側接点電圧とコンデンサ側接点電圧との接点電位差が比較的大きくしきい値以上である間は、ステップS11からステップS13を経てステップS11に戻る。そして、エンジン始動に伴う発電機36aの発電によりバッテリ側接点電圧が予め設定したしきい値よりも高くなるとき、ステップS11からステップS12に移行し、比較的緩やかな増加度合のパターンBでのプリチャージを開始する。
一方、バッテリ側接点電圧がしきい値よりも低い状態で、さらにバッテリ側接点電圧とコンデンサ側接点電圧との接点電位差がしきい値を下回るときには、ステップS13からステップS14に移行し、プリチャージ用トランジスタ42をオフ状態に切り換え、電源安定化用コンデンサ35の放電を行い、電源安定化用コンデンサ35を放電させる。これによって、後にプリチャージを行った場合であってもコンデンサ側接点電圧がバッテリ側接点電圧に近づき過ぎることはなく、電源安定化用コンデンサ35の充電電圧がバッテリ36の電源電圧を上回ることはない。
そして、ステップS15に移行し、エンジンが回転していなければ、ステップS11に戻り、バッテリ側接点電圧がしきい値よりも小さいときにはステップS11からステップS13に移行し、電源安定化用コンデンサ35の放電によりバッテリ側接点電圧とコンデンサ側接点電圧との接点電圧差がしきい値以上となるとそのままステップS11に戻る。
そして、エンジン始動に伴う発電機36aの発電によりバッテリ側接点電圧が予め設定したしきい値よりも高くなったとき、ステップS11からステップS12に移行し、比較的緩やかな増加度合のパターンBでのプリチャージを開始する。
一方、放電を行った段階でエンジンが回転しており、このとき、エンジンが比較的高回転している場合には、ステップS15からステップS17に移行し、中程度の増加度合のパターンCでプリチャージが行われる。そして、このプリチャージによって電源リレー回路33の接点電位差がしきい値よりも小さくなっていれば、ステップS16からステップS21に移行し、プリチャージを終了するが、接点電位差がしきい値以上である場合には、ステップS18に移行し、パターンCよりも増加度合の大きなパターンDでのプリチャージが行われ、速やかにプリチャージが行うことでプリチャージ時間の短縮が図られる。
このとき、エンジンが比較的高回転をしている場合には、発電機36aによる充電が比較的速やかに行われ、バッテリ電圧は比較的速やかに上昇するから、中程度の増加度合でプリチャージを行ったとしても電源安定化用コンデンサ35の充電電圧がバッテリ電圧に近づき過ぎることはない。また、一旦、中程度の増加度合のパターンCでのプリチャージを行った後、接点電位差の大きさを判断し、その後、増加度合の大きなパターンDでプリチャージを行っているから、エンジン始動後、増加度合の大きなパターンDでのプリチャージを行うことで、電源安定化用コンデンサ35の充電電圧が、バッテリ電圧に近づき過ぎることを回避することができる。
一方、エンジン回転数が比較的小さい場合には、ステップS15からそのままステップS16に移行し、電源リレー回路33の接点電位差が小さければステップS21に移行してプリチャージを終了するが、接点電位差が大きいときには、ステップS18に移行してパターンDでのプリチャージが行われ、速やかにプリチャージを行うことでプリチャージ時間の短縮が図られる。
ここで、エンジン回転数が比較的小さい場合にはバッテリ電圧の上昇が遅いことから、パターンCやパターンDといった比較的大きな増加度合でプリチャージを行った場合、場合によっては、電源安定化用コンデンサ35の充電電圧がバッテリ電圧に近づき過ぎる可能性がある。しかしながら、エンジンが比較的低回転している場合には、まず、ステップS16で接点電位差の大きさを判断し、プリチャージが必要な場合には、パターンDによる、速やかなプリチャージを行っているから、電源安定化用コンデンサ35の充電電圧がバッテリ電圧に近づき過ぎることはなく、且つ、接点電位差が大きい場合には速やかにプリチャージを行って接点電位差を小さくすることができ、プリチャージ時間を短縮することができる。
一方、イグニッションスイッチIGがオン状態となったときに、クランキングによってバッテリ電圧がそれほど低下せず、バッテリ側接点電位がそのしきい値を上回る場合には、ステップS11からそのままステップS12に移行し、そのままパターンBにしたがって比較的緩やかな増加度合でのプリチャージが開始され、エンジンが回転していなければ、ステップS15からステップS11に戻って、ステップS11、S12、S15の処理が繰り返し行われ、パターンBでのプリチャージが継続される。この場合、バッテリ側接点電位は比較的高いことからパターンBでのプリチャージを継続した場合でも、電源安定化用コンデンサ35の充電電圧がバッテリ36の電源電圧に近づき過ぎることはない。
そして、エンジンが始動されると、エンジン回転数が低ければ、ステップS16に移行して電源リレー回路33の接点電位差の大きさが判断され、接点電位差が大きいときにはパターンDでの速やかなプリチャージが図られる。一方、エンジン始動時のエンジン回転数が高ければステップS17に移行してパターンCでの中程度の増加度合でのプリチャージが行われた後、ステップS16に移行し、接点電位差が大きければステップS18に移行してパターンDでの速やかなプリチャージが図られる。
ここで、バッテリ側接点電位がしきい値よりも高く、この状態でプリチャージを行ったとしても電源安定化用コンデンサ35の充電電圧がバッテリ電圧に近づき過ぎる可能性が低いときには、エンジンの回転の有無に関わらず、この時点でプリチャージを開始しているからより早い段階でプリチャージを開始することで、プリチャージ時間を短縮することができる。また、このとき、比較的緩やかな増加度合のパターンBによりプリチャージを行っているから、このプリチャージにより、電源安定化用コンデンサ35の充電電圧がバッテリ電圧に近づき過ぎる状態となることを回避することができる。
そして、電源リレー回路33の接点電位差がしきい値より小さくなったとき、ステップS16からステップS21に移行し、プリチャージ制御信号Spの出力を停止してプリチャージ用トランジスタ42をオフ状態に切り換えてプリチャージを終了し、続いて、電源リレー制御信号Srを出力して、電源リレー部30のトランジスタ34をオン状態に切り換える。これによって、リレーコイル32への電圧印加が開始され、電源リレー回路33がオン状態に切り換えられる。
このとき、電源リレー回路33の接点電位差はしきい値よりも小さく、このしきい値は、設定値以上の突入電流が流れることのない値に設定されているから、電源リレー回路33が閉状態に切り換わったとしても設定値以上の突入電流が生じることはない。したがってこの設定値以上の突入電流が流れることに起因する、リレー溶着やリレーの磨耗等の発生を抑制することができる。
そして、電源リレー回路33がオン状態に切り換わったとみなすことのできる所要時間が経過した時点での接点電位差に基づいて異常判断が行われ、このとき、電源リレー回路33にリレー溶着等が生じていない場合には、電源リレー回路33がオフ状態のときには、しきい値相当の接点電位差があるから、オン状態に切り換わった直後でもある程度の接点電位差が生じることになる。したがって、電源リレー回路33がオン状態に切り換わった直後に、接点電位差がある場合にはリレー溶着は生じていないと判断される(ステップS23)。さらに、接点前段電圧から接点後段電圧を減算した値、すなわち接点電位差が、しきい値よりも小さいということは、すなわち、地絡等が生じていないことを意味するから、システムは正常と判断される(ステップS24)。
そして、システムは正常であることから図3に戻って車速センサ15やトルクセンサ3の検出信号に基づいてモータ駆動制御処理が行われ(ステップS4)、運転者の操舵操作に応じた操舵補助力が発生される。
この状態から、イグニッションスイッチIGがオフに切り換わると、ステアリングホイール1を中立状態に戻す等の操舵制御処理終了時の処理が行われた後、電源リレー回路33がオフ状態に切り換えられ(ステップS7)、電源自己保持用トランジスタ52がオフ状態に切り換えられる(ステップS8)。
一方、電源リレー回路33にリレー溶着が生じている場合には、電源リレー回路33が閉状態に切り換わった時点で接点電位差がないため異常と判断され、ステップS23からステップS25に移行して電源リレー回路25はオフ状態に切り換えられる。また、例えばシステム内部の何れかに地絡等の断線異常が生じている場合には、電源リレー回路33が閉状態に切り換わった場合でも、接点前段電圧から接点後段電圧を減算した値がしきい値よりも大きくなることから、異常と判断されてステップS24からステップS25に移行する。
そして、電源リレー回路33を一旦オフ状態にて再度オン状態に切り換えた後、接点電位差の有無、或いは、接点電位差が正常であるかどうかが判断される。そして、電源リレー回路33を規定回数n回だけ開閉動作させた場合でも、異常と判断されるときは、運転席近傍に設けられた警報装置50を作動させること等により、システムの異常が運転者に通知され、電源リレー回路33がオフ状態、電源自己保持用トランジスタ52が開状態に切り換えられて、バッテリ36からの電源供給が遮断される。
ここで、リレー溶着或いは地絡等が生じている可能性があると判断されるときには、電源リレー回路33を規定回数n回だけ開閉操作させているから、場合によっては、リレー接点31を動作可能な状態に復帰させることができる可能性があり、また、リレー接点31に異物等が挟まることによって導通状態とならなかった場合等には電源リレー回路33を開閉動作させることで異物の除去を図ることができる。
上述のように、電源リレー回路33のバッテリ側及びコンデンサ側の接点の電位差をそれぞれ検出し、これらの差が、突入電流が生じることがないと予測される電位差となったときに電源リレー回路33を閉状態に切り換えるようにしているから設定値以上の突入電流を確実に抑制することができる。したがって、設定値以上の突入電流に起因する、リレー溶着や磨耗等の発生を抑制することができ、電源リレー回路33自体の寿命を延ばすことができる。また、接点間の電位差を監視しているから、設定値以上の突入電流が発生しないとみなすことの可能な時点で速やかにプリチャージを終了して電源リレー回路33をオン状態に切り換えることができるから、プリチャージを的確なタイミングで終了することができプリチャージ時間を必要最小限の時間に抑えることができる。
また、このように設定値以上の突入電流の発生を抑制することができるから、電源リレー回路33を選択する際にその仕様等をそれほど考慮して選択する必要がない。したがって、安価なリレー回路を電源リレー回路33として用いることができ、その分、コスト削減を図ることができる。
また、バッテリ側接点電圧が比較的高いかどうか、また、接点電位差が大きいかどうか、エンジン回転数が高いかどうかに応じて電源安定化用コンデンサ35のプリチャージ量の増加度合を制御し、バッテリ側接点電圧の変化状況及びコンデンサ側接点電圧の変化状況を考慮してプリチャージを行うことができるから、コンデンサ側接点電圧がバッテリ側接点電圧に近づき過ぎることを回避しつつ、速やかにプリチャージを行うことができ、プリチャージ時間の短縮を図ることができる。
また、電源リレー回路33のバッテリ側電圧及びコンデンサ側電圧を検出するようにしているから、従来実施されていたリレー溶着や地絡等の断線検出時のように、コンデンサ側電圧が例えば5V以上のときにはリレー溶着と判断したり、また、9V以下のときには断線と判断したりする場合や、バッテリ電圧Vbとコンデンサ側接点電圧とを比較すること等によって異常監視を行う場合に比較して、異常と判断するための電圧範囲をさらに限定することができ、より精度の高い監視を行うことができる。
また、電源リレー回路33の接点電位差が、設定値以上の突入電流が生じないしきい値を下回った時点でプリチャージを終了し、この時点で電源リレー回路33のリレー溶着診断を行っているから、プリチャージによるコンデンサ側接点電圧の変動がない状態であり、且つ、接点電位差がしきい値よりも小さく電源リレー回路33を導通状態としたときのコンデンサ側接点電圧の変動が比較的安定した状態でリレー溶着診断や地絡等の断線検出を行うことができ、異常判定の誤判断を回避することができる。
なお、上記実施の形態においては、電位差検出回路44として、差動アンプを用いた場合について説明したがこれに限るものではない。上述のように、差動アンプを用いて接点電位差を検出することにより、マイクロコンピュータ16での内部演算が不要なため、2−CPU等での別々の監視を容易に行うことができるが、マイクロコンピュータ16に入力される接点前段電圧としてのバッテリ側接点電圧及び接点後段電圧としてのコンデンサ側接点電圧を用いて、マイクロコンピュータ16で、これらの差分値を演算することで、電源リレー回路33の接点電圧差を獲得するようにしてもよい。この場合、差動アンプを設ける必要がないからその分、コスト削減を図ることができる。
また、上記実施の形態においては、異常を検出したとき、ステップS22からステップS26の処理を繰り返すことで、1回の開閉動作を行わせる毎に異常かどうかを判断する場合について説明したが、これに限るものではなく、例えば、規定回数n回開閉動作を行った後に、異常かどうかを判断するようにしてもよい。
ここで、上記実施の形態において、マイクロコンピュータ16で電源リレー制御信号Srを出力及び停止を行う処理がリレー制御手段に対応し、図4のステップS23及びステップS24の処理が異常検出手段に対応し、電位差検出回路44が電位差検出手段に対応している。
また、発電機36aが発電手段に対応し、エンジン回転数センサ25がエンジン回転状態検出手段に対応し、図4のステップS11〜ステップS18の処理がプリチャージ量制御手段に対応している。
また、図4のステップS22、ステップS25及びステップS26の処理が開閉制御手段に対応している。
本発明の実施の形態を示す概略構成図である。 図1のコントローラの具体的構成を示すブロック図である。 図2のマイクロコンピュータで実行する操舵補助制御処理の処理手順の一例を示すフローチャートである。 図3のステップS3での電源リレーON制御の処理手順の一例を示すフローチャートである。 プリチャージを行う際の、各パターンA〜Dの変化度合を説明するための説明図である。
符号の説明
1 ステアリングホイール
2 ステアリングシャフト
3 トルクセンサ
8 ステアリングギヤ
10 減速ギヤ
12 電動モータ
13 コントローラ
14 車速センサ
16 マイクロコンピュータ
18 モータ駆動回路
19 電流検出回路
20 Hブリッジ回路
21 FETゲート駆動回路
31 リレー接点
32 リレーコイル
33 電源リレー回路
35 電源安定化用コンデンサ
36 電源
42 プリチャージ制御用トランジスタ
43 突入電流抑制抵抗
44 電位差検出回路
50 警報装置

Claims (6)

  1. 操舵系に対して操舵補助力を付与する電動モータと、
    当該電動モータを駆動するモータ駆動回路と、
    当該モータ駆動回路に電源からの電力を供給する電源リレー回路と、
    当該電源リレー回路を制御するリレー制御手段と、
    当該電源リレー回路と前記モータ駆動回路との間に介挿された電源安定化用コンデンサと、
    前記電源リレー回路を閉じる前に前記電源安定化用コンデンサを充電するプリチャージ回路と、
    記電源リレー回路のリレー接点両端間の電位差を検出する電位差検出手段と、
    エンジンにより駆動されて発電し前記電源への充電を行う発電手段と、
    前記エンジンが回転中か否かを検出するエンジン回転状態検出手段と、
    当該エンジン回転状態検出手段での検出結果に基づきエンジンが回転中か否かに応じて前記電源安定化用コンデンサのプリチャージ量を制御するプリチャージ量制御手段と、を備え、
    前記リレー制御手段は、前記電位差検出手段で検出した電位差が予め設定したしきい値より小さくなったとき前記電源リレー回路を閉状態に制御し、
    前記プリチャージ量制御手段は、エンジンが非回転中は、回転中よりもより遅い速度でプリチャージを行うことを特徴とする電動パワーステアリング制御装置。
  2. 前記電源リレー回路の、前記電源側と接続される接点の電圧を検出する電源側接点電圧検出手段を備え、
    前記プリチャージ量制御手段は、前記電源側接点電圧検出手段で検出される電源側接点電圧が予め設定したしきい値以下であり、且つ前記電位差検出手段で検出される電位差が予め設定したしきい値より小さいときには前記電源安定化用コンデンサを放電させることを特徴とする請求項1記載の電動パワーステアリング制御装置。
  3. 前記電位差検出手段で検出される、前記リレー接点両端間の電位差に基づいて異常検出を行う異常検出手段を備え、
    当該異常検出手段は、前記電源リレー回路が閉状態に制御された後に、前記異常検出を行うことを特徴とする請求項1又は請求項2記載の電動パワーステアリング制御装置。
  4. 前記異常検出手段は、前記電位差検出手段の検出結果に基づき、前記電源リレー回路が閉状態に切り換わったと予測される時点での前記リレー接点両端間に電位差がないとき、リレー溶着異常と判断することを特徴とする請求項記載の電動パワーステアリング制御装置。
  5. 前記異常検出手段は、前記電位差検出手段の検出結果に基づき、前記電源リレー回路が閉状態に切り換わった後の前記リレー接点両端間の電位差が予め設定したしきい値以上であるとき、断線異常であると判断することを特徴とする請求項記載の電動パワーステアリング制御装置。
  6. 前記リレー制御手段は、前記異常検出手段で異常を検出したとき、前記電源リレー回路を開閉動作させる開閉制御手段を備え、
    前記異常検出手段は、前記異常を検出したとき、前記開閉制御手段を作動させ、
    前記電源リレー回路を規定回数開閉動作させても前記異常が検出されるとき、異常発生として確定することを特徴とする請求項から請求項の何れか1項に記載の電動パワーステアリング制御装置。
JP2006107893A 2006-04-10 2006-04-10 電動パワーステアリング制御装置 Expired - Fee Related JP4882467B2 (ja)

Priority Applications (1)

Application Number Priority Date Filing Date Title
JP2006107893A JP4882467B2 (ja) 2006-04-10 2006-04-10 電動パワーステアリング制御装置

Applications Claiming Priority (1)

Application Number Priority Date Filing Date Title
JP2006107893A JP4882467B2 (ja) 2006-04-10 2006-04-10 電動パワーステアリング制御装置

Publications (2)

Publication Number Publication Date
JP2007276706A JP2007276706A (ja) 2007-10-25
JP4882467B2 true JP4882467B2 (ja) 2012-02-22

Family

ID=38678614

Family Applications (1)

Application Number Title Priority Date Filing Date
JP2006107893A Expired - Fee Related JP4882467B2 (ja) 2006-04-10 2006-04-10 電動パワーステアリング制御装置

Country Status (1)

Country Link
JP (1) JP4882467B2 (ja)

Cited By (1)

* Cited by examiner, † Cited by third party
Publication number Priority date Publication date Assignee Title
KR20140065572A (ko) * 2012-11-16 2014-05-30 현대모비스 주식회사 전동식 조향장치를 제어하기 위한 전자 컨트롤 유닛 및 그 운영 방법

Families Citing this family (14)

* Cited by examiner, † Cited by third party
Publication number Priority date Publication date Assignee Title
JP2010074915A (ja) 2008-09-17 2010-04-02 Jtekt Corp モータ制御装置及び電動パワーステアリング装置
JP4720896B2 (ja) 2008-10-08 2011-07-13 株式会社デンソー 電源回路の異常診断装置、及び電源回路
JP5402068B2 (ja) * 2009-02-19 2014-01-29 日本精工株式会社 モータ制御装置
JP5444992B2 (ja) * 2009-09-24 2014-03-19 株式会社ジェイテクト 電動パワーステアリング装置
JP2011213255A (ja) * 2010-03-31 2011-10-27 Nsk Ltd 電動パワーステアリング装置
JP5311233B2 (ja) 2010-12-27 2013-10-09 株式会社デンソー モータ制御装置、および、これを用いた電動パワーステアリング装置
JP2013091424A (ja) * 2011-10-26 2013-05-16 Omron Automotive Electronics Co Ltd 電子制御装置
JP5888101B2 (ja) * 2012-05-09 2016-03-16 株式会社デンソー 制御装置
JP6244110B2 (ja) * 2013-05-31 2017-12-06 日本電産エレシス株式会社 電子制御装置
JP5683667B1 (ja) * 2013-10-11 2015-03-11 三菱電機株式会社 電動式パワーステアリング装置
KR102393011B1 (ko) * 2018-08-27 2022-05-02 현대모비스 주식회사 엠디피에스용 기계식 릴레이의 고장 검출 및 대응방법
JP7172306B2 (ja) 2018-09-03 2022-11-16 株式会社ジェイテクト 車両制御装置
JP2020137196A (ja) * 2019-02-15 2020-08-31 株式会社ミツバ モータ制御装置及びモータ制御方法
KR102897087B1 (ko) * 2023-01-31 2025-12-08 에이치엘만도 주식회사 조향 제어 장치 및 방법

Family Cites Families (5)

* Cited by examiner, † Cited by third party
Publication number Priority date Publication date Assignee Title
JPS6062374A (ja) * 1983-09-14 1985-04-10 松下電工株式会社 床下収納庫
JP3839142B2 (ja) * 1997-09-19 2006-11-01 本田技研工業株式会社 電動機駆動装置
JP3595155B2 (ja) * 1998-03-04 2004-12-02 本田技研工業株式会社 電動機駆動装置および電動パワーステアリング装置
JP3560876B2 (ja) * 1999-10-26 2004-09-02 本田技研工業株式会社 ハイブリッド車両の制御装置
JP3511593B2 (ja) * 2000-11-10 2004-03-29 三菱電機株式会社 電動パワーステアリング制御装置

Cited By (2)

* Cited by examiner, † Cited by third party
Publication number Priority date Publication date Assignee Title
KR20140065572A (ko) * 2012-11-16 2014-05-30 현대모비스 주식회사 전동식 조향장치를 제어하기 위한 전자 컨트롤 유닛 및 그 운영 방법
KR102004685B1 (ko) * 2012-11-16 2019-07-30 현대모비스 주식회사 전동식 조향장치를 제어하기 위한 전자 컨트롤 유닛 및 그 운영 방법

Also Published As

Publication number Publication date
JP2007276706A (ja) 2007-10-25

Similar Documents

Publication Publication Date Title
EP2301822B1 (en) Electric power steering system
JP4882467B2 (ja) 電動パワーステアリング制御装置
KR0178294B1 (ko) 전동파워스티어링 제어장치
JP3511593B2 (ja) 電動パワーステアリング制御装置
JP5092538B2 (ja) モータ制御装置及びこれを用いた電動パワーステアリング制御装置
JP2019140883A (ja) 電源装置
US20160087572A1 (en) Motor Drive Device and Motor Drive Method for EPS System
WO2010038702A1 (ja) 電動パワーステアリング装置
JPWO1999017977A1 (ja) 自動車用制御装置
JP5088473B2 (ja) ステアリング装置
JP5402068B2 (ja) モータ制御装置
JPWO2005081386A1 (ja) リレー溶着防止装置およびモータ駆動装置
JP3595155B2 (ja) 電動機駆動装置および電動パワーステアリング装置
JP5194630B2 (ja) 電源制御装置
JP5407935B2 (ja) 電動パワーステアリング装置
JP4876716B2 (ja) 電動パワーステアリング制御装置
JP5683667B1 (ja) 電動式パワーステアリング装置
JP4910561B2 (ja) 電動パワーステアリング装置
JP4899668B2 (ja) 電動パワーステアリング制御装置
JP2005088861A (ja) パワーステアリング装置
JP2013091424A (ja) 電子制御装置
JP2006051912A (ja) 電動パワーステアリング装置
JP2006062616A (ja) 車両の操舵アシスト装置
JP2011213255A (ja) 電動パワーステアリング装置
JP4472584B2 (ja) パワーステアリング装置

Legal Events

Date Code Title Description
RD01 Notification of change of attorney

Free format text: JAPANESE INTERMEDIATE CODE: A7421

Effective date: 20090130

A621 Written request for application examination

Free format text: JAPANESE INTERMEDIATE CODE: A621

Effective date: 20090212

RD03 Notification of appointment of power of attorney

Free format text: JAPANESE INTERMEDIATE CODE: A7423

Effective date: 20101022

RD04 Notification of resignation of power of attorney

Free format text: JAPANESE INTERMEDIATE CODE: A7424

Effective date: 20101022

A131 Notification of reasons for refusal

Free format text: JAPANESE INTERMEDIATE CODE: A131

Effective date: 20110719

A977 Report on retrieval

Free format text: JAPANESE INTERMEDIATE CODE: A971007

Effective date: 20110721

A521 Request for written amendment filed

Free format text: JAPANESE INTERMEDIATE CODE: A523

Effective date: 20110912

TRDD Decision of grant or rejection written
A01 Written decision to grant a patent or to grant a registration (utility model)

Free format text: JAPANESE INTERMEDIATE CODE: A01

Effective date: 20111108

A01 Written decision to grant a patent or to grant a registration (utility model)

Free format text: JAPANESE INTERMEDIATE CODE: A01

A61 First payment of annual fees (during grant procedure)

Free format text: JAPANESE INTERMEDIATE CODE: A61

Effective date: 20111121

FPAY Renewal fee payment (event date is renewal date of database)

Free format text: PAYMENT UNTIL: 20141216

Year of fee payment: 3

R150 Certificate of patent or registration of utility model

Ref document number: 4882467

Country of ref document: JP

Free format text: JAPANESE INTERMEDIATE CODE: R150

Free format text: JAPANESE INTERMEDIATE CODE: R150

LAPS Cancellation because of no payment of annual fees