JP4840586B2 - 光導波路用感光性樹脂組成物、光導波路及びその製造方法 - Google Patents
光導波路用感光性樹脂組成物、光導波路及びその製造方法 Download PDFInfo
- Publication number
- JP4840586B2 JP4840586B2 JP2006250108A JP2006250108A JP4840586B2 JP 4840586 B2 JP4840586 B2 JP 4840586B2 JP 2006250108 A JP2006250108 A JP 2006250108A JP 2006250108 A JP2006250108 A JP 2006250108A JP 4840586 B2 JP4840586 B2 JP 4840586B2
- Authority
- JP
- Japan
- Prior art keywords
- meth
- acrylate
- optical waveguide
- clad layer
- resin composition
- Prior art date
- Legal status (The legal status is an assumption and is not a legal conclusion. Google has not performed a legal analysis and makes no representation as to the accuracy of the status listed.)
- Expired - Fee Related
Links
Images
Landscapes
- Macromonomer-Based Addition Polymer (AREA)
- Optical Integrated Circuits (AREA)
Description
(1)シリコン基板上に、火炎堆積法(FHD)やCVD法等の手法によって、ガラス膜からなる下部クラッド層を形成する。
(2)下部クラッド層上に、これよりも屈折率の高い無機質の薄膜を形成し、この薄膜を反応性イオンエッチング法(RIE)によりパターニングすることによってコア部分を形成する。
(3)更に、火炎堆積法によって上部クラッド層を形成する。
これらの問題を解決するため、光重合可能な成分を含有するシリコーン系組成物の所定の箇所に、所定の量の光を照射して、当該箇所を硬化させた後、未露光部を現像することによってコア部分等を形成して、光導波路を製造する方法が提案されている(特許文献1)。
この方法は、従来の石英系光導波路の製造方法と比較して、短時間かつ低コストで光導波路を製造することができる点で有利である。しかし、この方法は、特殊なシリコーン系オリゴマーを用いる必要があるなどの制約がある。
一方、(A)カルボキシル基、重合性基及びそれ以外の有機基を有するビニル系重合体、(B)分子中に2個以上の重合性反応基を有する化合物、及び(C)放射線重合開始剤、を含有する光導波路形成用放射線硬化性組成物が提案されている(特許文献2)。この組成物によれば、形状の精度が高くかつ優れた伝送特性を有する光導波路を製造することができる。
そこで、本発明は、形状の精度が高く、伝送特性(導波路損失)が良好で、かつ屈曲抵抗性に優れた光導波路を形成することができる感光性樹脂組成物を提供することを目的とする。
すなわち、本発明は、以下の[1]〜[6]を提供するものである。
[1] (A)下記一般式(1):
[2] 上記一般式(1)が、下記一般式(3)で表される構造である上記[1]の感光性樹脂組成物。
[3] ゲルパーミエーションクロマトグラフィーで測定したポリスチレン換算の上記(B)成分の数平均分子量が1,000〜100,000である上記[1]又は[2]の感光性樹脂組成物。
[4] 下部クラッド層と、コア部分と、上部クラッド層とを含む光導波路であって、少なくとも、前記下部クラッド層及び上部クラッド層が、上記[1]〜[3]のいずれかの感光性樹脂組成物の硬化物からなることを特徴とする光導波路。
[5] 前記下部クラッド層、コア部分及び上部クラッド層が、上記[1]〜[3]のいずれかに記載の感光性樹脂組成物の硬化物からなり、かつ、前記コア部分の屈折率が、前記下部クラッド層と前記上部クラッド層のいずれの屈折率よりも0.1%以上大きい上記[4]の光導波路。
[6] 下部クラッド層と、コア部分と、上部クラッド層とを含む光導波路の製造方法であって、下部クラッド層を形成する工程と、コア部分を形成する工程と、上部クラッド層を形成する工程とを含み、かつ、少なくとも、下部クラッド層を形成する工程、及び、上部クラッド層を形成する工程が、上記[1]〜[3]のいずれかの感光性樹脂組成物を光照射して硬化させる工程を含むことを特徴とする光導波路の製造方法。
[(A)成分]
(A)成分は、下記一般式(1)で表される繰り返し単位を含む重合体(例えば、ランダム共重合体)である。(A)成分は、通常、下記一般式(2)で表される繰り返し単位も含む。
ここで、一般式(3)中のW(2価の有機基)の例としては、下記一般式(4)で表される構造や、フェニレン基等が挙げられる。
一般式(3)中のZ(2価の有機基)の例としては、−(CH2)n−O−(式中、nは1〜8の整数である。)等が挙げられる。
(A)成分の製造方法としては、例えば、(a)水酸基を有するラジカル重合性化合物、及び(b)成分(一般式(2)に対応するラジカル重合性化合物)を、溶媒中でラジカル重合した後、得られた共重合体の側鎖の水酸基に対して、(c)(メタ)アクリロイルオキシ基を有するイソシアネートを付加させる方法が挙げられる。
この方法で用いられる化合物(a)〜(c)について説明する。
化合物(a)の例としては、2−ヒドロキシエチル(メタ)アクリレート、2−ヒドロキシプロピル(メタ)アクリレート、4−ヒドロキシブチル(メタ)アクリレート、ヒドロキシメチル(メタ)アクリレート、4−ヒドロキシシクロヘキシル(メタ)アクリレート等が挙げられる。
化合物(a)は、1種を単独でもしくは2種以上を組み合わせて用いられる。
(A)成分中の化合物(a)の含有率は、好ましくは3〜80質量%、より好ましくは7〜60質量%、特に好ましくは10〜40質量%である。
該含有率が3質量%未満であると、硬化が不十分となりやすい。該含有率が80質量%を超えると、屈折率の調整が困難となる場合がある。
化合物(b)の例としては、メチル(メタ)アクリレート、エチル(メタ)アクリレート、イソプロピル(メタ)アクリレート、n−ブチル(メタ)アクリレート、sec−ブチル(メタ)アクリレート、t−ブチル(メタ)アクリレート等の(メタ)アクリル酸アルキルエステル類;ジシクロペンタニル(メタ)アクリレート、シクロヘキシル(メタ)アクリレート等の(メタ)アクリル酸と環状炭化水素化合物とのエステル類;フェニル(メタ)アクリレート、ベンジル(メタ)アクリレート、o−フェニルフェノールグリシジルエーテル(メタ)アクリレート、p−クミルフェノキシエチレングリコールアクリレート等の(メタ)アクリル酸アリールエステル類;トリブロモフェノールエトキシ(メタ)アクリレート、2,2,2−トリフルオロエチル(メタ)アクリレート、2,2,3,3−テトラフルオロプロピル(メタ)アクリレート、1H,1H,5H−オクタフルオロペンチル(メタ)アクリレート、パーフルオロオクチルエチル(メタ)アクリレート等のハロゲン化(メタ)アクリル酸エステル類;スチレン、α−メチルスチレン、m−メチルスチレン、p−メチルスチレン、ビニルトルエン、p−メトキシスチレン等の芳香族ビニル類;1,3−ブタジエン、イソプレン、1,4−ジメチルブタジエン等の共役ジオレフィン類;アクリロニトリル、メタクリロニトリル等のニトリル基含有重合性化合物;アクリルアミド、メタクリルアミド等のアミド結合含有重合性化合物;酢酸ビニル等の脂肪酸ビニル類等が挙げられる。
中でも、ジシクロペンタニル(メタ)アクリレート、メチル(メタ)アクリレート、n−ブチル(メタ)アクリレート、スチレン、α−メチルスチレン等が好ましく用いられる。
化合物(b)は、1種を単独でもしくは2種以上を組み合わせて用いられる。
(A)成分中の化合物(b)の含有率は、好ましくは15〜92質量%、より好ましくは25〜84質量%、特に好ましくは35〜78質量%である。
該含有率が15質量%未満であると、屈折率の調整が困難となる場合がある。該含有率が92質量%を超えると、硬化が不十分となりやすい。
(A)成分中の化合物(c)の含有率は、好ましくは5〜80質量%、より好ましくは 9〜60質量%、特に好ましくは12〜45質量%である。
該含有率が5質量%未満であると、硬化が不十分となりやすい。該含有率が80質量%を超えると、屈折率の調整が困難となる場合がある。
熱重合禁止剤は、熱による重合反応を抑えるために配合される。熱重合禁止剤の例としては、ピロガロール、ベンゾキノン、ヒドロキノン、メチレンブルー、tert−ブチルカテコール、モノベンジルエーテル、メトキシフェノール、アミルキノン、アミロキシヒドロキノン、n−ブチルフェノール、フェノール、ヒドロキノンモノプロピルエーテル等が挙げられる。
保存安定剤の例としては、2,6−ジ−t−ブチル−p−クレゾール、ベンゾキノン、p−トルキノン、p−キシロキノン、フェニル−α−ナフチルアミン等が挙げられる。
硬化触媒の例としては、ジラウリル酸ジブチル錫、ジラウリル酸ジオクチル錫、ジオレイン酸ジブチル錫、二酢酸ジブチル錫、テトラメトキシチタン、テトラエトキシチタン等が挙げられる。
これらの各種添加剤の合計の配合量は、化合物(a)〜(c)の合計量100質量部に対して通常、10質量部以下、好ましくは5質量部以下である。
中でも、環状エーテル類、多価アルコールのアルキルエーテル類、多価アルコールのアルキルエーテルアセテート類、ケトン類、エステル類等が好ましい。
一方、(A)成分の製造における、化合物(c)の付加反応時に使用される溶媒として、分子内に水酸基を有するものを使用すると、化合物(c)が溶媒と反応してしまうため、好ましくない。したがって、化合物(c)の付加反応に用いる溶媒は、好ましくは、水酸基を有しないものである。水酸基を有しない溶媒の例としては、前記のラジカル重合に使用される溶媒のうち、水酸基を有しないものが挙げられる。
[(B)成分]
(B)成分は、ポリエステルポリオール化合物と、ポリイソシアネート化合物と、水酸基含有(メタ)アクリレートの反応物であるウレタン(メタ)アクリレート化合物である。
(B)成分の製造方法として、例えば、以下の製法1〜4が挙げられる。
製法1:ポリオール化合物、ポリイソシアネート化合物及び水酸基含有(メタ)アクリレートを一括して仕込んで反応させる方法。
製法2:ポリオール化合物及びポリイソシアネート化合物を反応させ、次いで水酸基含有(メタ)アクリレートを反応させる方法。
製法3:ポリイソシアネート化合物及び水酸基含有(メタ)アクリレートを反応させ、次いでポリオール化合物を反応させる方法。
製法4:ポリイソシアネート化合物及び水酸基含有(メタ)アクリレートを反応させ、次いでポリオール化合物を反応させ、最後にまた水酸基含有(メタ)アクリレートを反応させる方法。
製法1〜4の中でも、製法2〜4が、分子量分布を制御する上で好ましい。
本発明の(B)成分の原料の一つであるポリオール化合物は、分子内に2個以上の水酸基を有する化合物である。この様な化合物としては、芳香族ポリエーテルポリオール、脂肪族ポリエーテルポリオール、脂環族ポリエーテルポリオール、ポリエステルポリオール、ポリカーボネートポリオール、ポリカプロラクトンポリオール等が挙げられる。
中でも、基板と光導波路との更なる接着性の向上を図るためには、アルキレンオキシ構造を含むポリエーテルポリオール化合物を用いることが好ましい。
芳香族ポリエーテルポリオールとしては、ビスフェノールAのエチレンオキサイド付加ジオール、ビスフェノールAのプロピレンオキサイド付加ジオール、ビスフェノールAのブチレンオキサイド付加ジオール、ビスフェノールFのエチレンオキサイド付加ジオール、ビスフェノールFのプロピレンオキサイド付加ジオール、ビスフェノールFのプロピレンオキサイド付加ジオール、ハイドロキノンのアルキレンオキサイド付加ジオール、ナフトキノンのアルキレンオキサイド付加ジオール等が挙げられる。市販品としては、例えば、ユニオール、DA700、DA1000(以上、日本油脂社製)等が挙げられる。
脂肪族ポリエーテルポリオールとしては、エチレンオキサイド、プロピレンオキサイド、ブチレンオキサイド、テトラヒドロフラン、2−メチルテトラヒドロフラン、3−メチルテトラヒドロフラン、置換テトラヒドロフラン、オキセタン、置換オキセタン、テトラヒドロピラン及びオキセバンから選ばれる少なくとも1種の化合物を開環(共)重合することにより得られるもの等を挙げることができる。具体例としては、ポリエチレングリコール、1,2−ポリプロピレングリコール、1,3−ポリプロピレングリコール、ポリテトラメチレングリコール、1,2−ポリブチレングリコール、ポリイソブチレングリコール、プロピレンオキシドとテトラヒドロフランの共重合体ポリオール、エチレンオキサイドとテトラヒドロフランの共重合体ポリオール、エチレンオキサイドとプロピレンオキサイドの共重合体ポリオール、テトラヒドロフランと3−メチルテトラヒドロフランの共重合体ポリオール、エチレンオキサイドと1,2−ブチレンオキサイドの共重合体ポリオール等が挙げられる。
脂肪族ポリエーテルポリオール及び脂環族ポリエーテルポリオールの市販品としては、例えばユニセーフDC1100、ユニセーフDC1800、ユニセーフDCB1100、ユニセーフDCB1800(以上、日本油脂社製);PPTG4000、PPTG2000、PPTG1000、PTG2000、PTG3000、PTG650、PTGL2000、PTGL1000(以上、保土谷化学社製);EXENOL4020、EXENOL3020、EXENOL2020、EXENOL1020(以上、旭硝子社製);PBG3000、PBG2000、PBG1000、Z3001(以上、第一工業製薬社製);ACCLAIM 2200、3201、4200、6300、8200(以上、住化バイエルウレタン社製);NPML−2002、3002、4002、8002(以上、旭硝子社製)等が挙げられる。
ポリカーボネートポリオールとしては、例えば1,6−ヘキサンポリカーボネート等が挙げられる。市販品としてはDN−980、981、982、983(以上、日本ポリウレタン社製)、PLACCEL−CD205、CD−983、CD220(以上、ダイセル化学工業社製)、PC−8000(米国PPG社製)等が入手できる。
その他の本発明で使用しうるポリオール化合物としては、エチレングリコール、プロピレングリコール、1,4−ブタンジオール、1,5−ペンタンジオール、1,6−ヘキサンジオール、ネオペンチルグリコール、1,4−シクロヘキサンジメタノール、ポリβ−メチル−δ−バレロラクトン、ヒドロキシ末端ポリブタジエン、ヒドロキシ末端水添ポリブタジエン、ひまし油変性ポリオール、ポリジメチルシロキサンの末端ジオール化合物、ポリジメチルシロキサンカルビトール変性ポリオール等が挙げられる。
前記のポリオール化合物のうち、ポリプロピレングリコール、エチレンオキサイド/プロピレンオキサイド共重合ジオール、エチレンオキサイド/1,2−ブチレンオキサイド共重合ジオール、プロピレンオキサイド/テトラヒドロフラン共重合ジオールが好ましく、エチレンオキサイド/1,2−ブチレンオキサイド共重合ジオールがより好ましい。
本発明の(B)成分の原料の一つであるポリイソシアネート化合物は、分子内に2個以上のイソシアネート基を有する化合物である。この様な化合物としては、例えば2,4−トリレンジイソシアネート、2,6−トリレンジイソシアネート、1,3−キシリレンジイソシアネート、1,4−キシリレンジイソシアネート、1,5−ナフタレンジイソシアネート、m−フェニレンジイソシアネート、p−フェニレンジイソシアネート、3,3’−ジメチル−4,4’−ジフェニルメタンジイソシアネート、4,4’−ジフェニルメタンジイソシアネート、3,3’−ジメチルフェニレンジイソシアネート、4,4’−ビフェニレンジイソシアネート、1,6−ヘキサンジイソシアネート、イソホロンジイソシアネート、メチレンビス(4−シクロヘキシルイソシアネート)、2,2,4−トリメチルヘキサメチレンジイソシアネート、1,4−ヘキサメチレンジイソシアネート、ビス(2−イソシアネートエチル)フマレート、6−イソプロピル−1,3−フェニルジイソシアネート、4−ジフェニルプロパンジイソシアネート、リジンジイソシアネート、水添ジフェニルメタンジイソシアネート、水添キシリレンジイソシアネート、テトラメチルキシリレンジイソシアネート等のジイソシアネート化合物等が挙げられる。
中でも、水添キシリレンジイソシアネート、イソホロンジイソシアネート、2,2,4−トリメチルヘキサメチレンジイソシアネート等が好ましい。これらポリイソシアネート化合物は単独で用いても2種以上を併用してもよい。
本発明の(B)成分の原料の一つである水酸基含有(メタ)アクリレートは、分子内に水酸基と(メタ)アクリロイル基を有する化合物である。この様な化合物としては、例えば2−ヒドロキシエチル(メタ)アクリレート、2−ヒドロキシプロピル(メタ)アクリレート、2−ヒドロキシブチル(メタ)アクリレート、2−ヒドロキシ−3−フェニルオキシプロピル(メタ)アクリレート、4−ヒドロキシブチル(メタ)アクリレート、2−ヒドロキシアルキル(メタ)アクリロイルホスフェート、4−ヒドロキシシクロヘキシル(メタ)アクリレート、6−ヒドロキシヘキシル(メタ)アクリレート、ネオペンチルグリコールモノ(メタ)アクリレート、トリメチロールプロパンジ(メタ)アクリレート、トリメチロールエタンジ(メタ)アクリレート、ペンタエリスリトールトリ(メタ)アクリレート、ジペンタエリスリトールペンタ(メタ)アクリレート等が挙げられる。さらに、アルキルグリシジルエーテル、アリルグリシジルエーテル、グリシジル(メタ)アクリレート等の、グリシジル基含有化合物と(メタ)アクリル酸との付加反応により得られる化合物が挙げられる。
中でも、2−ヒドロキシエチル(メタ)アクリレート、2−ヒドロキシプロピル(メタ)アクリレート等が好ましい。
本発明の(B)成分を構成する各原料の配合割合は、例えば、水酸基含有(メタ)アクリレート1モルに対して、ポリオール化合物0.5〜2モル、ポリイソシアネート化合物1〜2.5モルである。
(B)成分の配合量は、(A)成分100質量部に対して、好ましくは10〜100質量部、より好ましくは20〜80質量部、特に好ましくは35〜70質量部である。該量が10質量部未満であると、フィルム状の硬化物について十分な屈曲抵抗性が得られないことがあり、該量が100質量部を超えると、(A)成分との相溶性が悪くなり、硬化物の表面に膜荒れを生じたり、十分な透明性が得られないことがある。
(C)成分は、分子内に1個以上のエチレン性不飽和基を有し、0.1MPaにおける沸点が130℃以上である、(A)、(B)以外の化合物である。
ここで、エチレン性不飽和基としては、例えば、(メタ)アクリロイル基、ビニル基等が挙げられる。
(C)成分の分子量は、好ましくは2,000未満、より好ましくは1,000未満である。
分子内に2個以上のエチレン性不飽和基を有する(C)成分の好ましい例としては、分子内に2個以上の(メタ)アクリロイル基及び/又はビニル基を有し、分子量1,000未満の化合物が挙げられる。
この場合、分子内のエチレン性不飽和基は、その全てがアクリロイル基、メタクリロイル基、ビニル基のいずれか1種のみでもよいし、あるいは、アクリロイル基とメタクリロイル基、アクリロイル基とビニル基、メタクリロイル基とビニル基のいずれかの2種の組み合わせでもよいし、あるいは、アクリロイル基とメタクリロイル基とビニル基の3種の組み合わせでもよい。
分子内に2個の(メタ)アクリロイル基を有する(メタ)アクリレートの例としては、エチレングリコールジ(メタ)アクリレート、テトラエチレングリコールジ(メタ)アクリレート、ポリエチレングリコールジ(メタ)アクリレート、1,4−ブタンジオールジ(メタ)アクリレート、1,6−へキサンジオールジ(メタ)アクリレート、ネオペンチルグリコールジ(メタ)アクリレート、トリス(2−ヒドロキシエチル)イソシアヌレートジ(メタ)アクリレート、ビス(ヒドロキシメチル)トリシクロデカンジ(メタ)アクリレート、ビスフェノールAのエチレンオキサイドまたはプロピレンオキサイドの付加体であるジオールのジ(メタ)アクリレート、水添ビスフェノールAのエチレンオキサイドまたはプロピレンオキサイドの付加体であるジオールのジ(メタ)アクリレート、ビスフェノールAのジグリシジルエーテルに(メタ)アクリレートを付加させたエポキシ(メタ)アクリレート、ポリオキシアルキレン化ビスフェノールAのジアクリレート、9,9−ビス[4−(2−アクリロイルオキシエトキシ)フェニル]フルオレン等が挙げられる。
分子内に3個以上の(メタ)アクリロイル基を有する(メタ)アクリレートの例としては、3個以上の水酸基を有する多価アルコールに3モル以上の(メタ)アクリル酸がエステル結合した化合物、例えばトリメチロールプロパントリ(メタ)アクリレート、ペンタエリスリトールトリ(メタ)アクリレート、トリメチロールプロパントリオキシエチル(メタ)アクリレート、トリス(2−ヒドキシエチル)イソシアヌレートトリ(メタ)アクリレート、ジペンタエリスリトールヘキサ(メタ)アクリレート等が挙げられる。
また、主鎖にポリエーテル、ポリエステルを有するポリエーテルアクリルオリゴマー、ポリエステルアクリルオリゴマー、あるいはポリエポキシアクリルオリゴマーも使用することができる。
MANDA、HX−220、HX−620、R−551、R−712、R−604、R−684、PET−30、GPO−303、TMPTA、DPHA、D−310、D−330、DPCA−20、−30、−60、−120(以上、日本化薬社製)、アロニックスM208、M210、M215、M220、M240、M305、M309、M310、M315、M325、M400、M1200、M6100、M6200、M6250、M7100、M8030、M8060、M8100、M8530、M8560、M9050(以上、東亞合成社製)、NKエステル#401P、NKエステルA−BPEF、NKエステルA−CMP−1E(以上、新中村化学工業社製)、ニューフロンティアBR−31(以上、第一工業製薬社製)、リポキシVR−77、VR−60、VR−90(以上、昭和高分子社製)、Ebecryl81、83、600、629、645、745、754、767、701、755、705、770、800、805、810、830、450、1830、1870(以上、ダイセルUCB社製)、ビームセット575、551B、502H、102(以上、荒川化学社製)、アダマンテートHA、HM(以上、出光興産社製)等が挙げられる。
(C)成分は、1種を単独で、あるいは2種以上を組み合わせて用いられる。
(C)成分の配合量は、(A)成分100質量部に対して、好ましくは5〜100質量部、より好ましくは10〜70質量部、特に好ましくは20〜50質量部である。該量が5質量部未満であると、光導波路を形成する際、目的とする導波路の形状の精度が劣ることがあり、該量が100質量部を超えると、(A)成分との相溶性が悪くなり、硬化物の表面に膜荒れを生じることがある。
(D)成分は、エチレン性不飽和基を重合しうる活性種(ラジカル種)を光の照射によって発生することのできる光ラジカル重合開始剤である。
ここで光とは、例えば赤外線、可視光線、紫外線、及びX線、電子線、α線、β線、γ線のような電離放射線を意味する。
光ラジカル重合開始剤としては、例えば、アセトフェノン、アセトフェノンベンジルケタール、1−ヒドロキシシクロヘキシルフェニルケトン、2,2−ジメトキシ−2−フェニルアセトフェノン、キサントン、フルオレノン、ベンズアルデヒド、フルオレン、アントラキノン、トリフェニルアミン、カルバゾール、3−メチルアセトフェノン、4−クロロベンゾフェノン、4,4’−ジメトキシベンゾフェノン、4,4’−ジアミノベンゾフェノン、ミヒラーケトン、ベンゾインプロピルエーテル、ベンゾインエチルエーテル、ベンジルジメチルケタール、1−(4−イソプロピルフェニル)−2−ヒドロキシ−2−メチルプロパン−1−オン、2−ヒドロキシ−2−メチル−1−フェニルプロパン−1−オン、チオキサントン、ジエチルチオキサントン、2−イソプロピルチオキサントン、2−クロロチオキサントン、2−メチル−1−[4−(メチルチオ)フェニル]−2−モルホリノ−プロパン−1−オン、2,4,6−トリメチルベンゾイルジフェニルフォスフィンオキサイド、ビス(2,6−ジメトキシベンゾイル)−2,4,4−トリメチルペンチルフォスフィンオキシド等が挙げられる。
光ラジカル重合開始剤の市販品としては、例えば、Irgacure184、369、651、500、819、907、784、2959、CGI1700、CGI1750、CGI11850、CG24−61、Darocur1116、1173(以上、チバ・スペシャルティ・ケミカルズ社製)、LucirinTPO、TPO−L(以上、BASF社製)、ユベクリルP36(UCB社製)等が挙げられる。
光ラジカル重合開始剤は、1種を単独で、あるいは2種以上を組み合わせて用いられる。
本発明においては、上述の光重合開始剤と共に光増感剤を配合することができる。光増感剤を併用すれば、光等のエネルギー線をより効果的に吸収することができる。
光増感剤としては、例えば、チオキサントン、ジエチルチオキサントン及びチオキサントンの誘導体;アントラキノン、ブロムアントラキノン及びアントラキノンの誘導体;アントラセン、ブロムアントラセン及びアントラセン誘導体;ペリレン及びペリレンの誘導体;キサントン、チオキサントン及びチオキサントンの誘導体;クマリン及びケトクマリン等を挙げることができる。光増感剤の種類は、光重合開始剤の種類に応じて選択すればよい。
有機溶媒の種類は、本発明の目的、効果を損なわない範囲で適宜選択することができるが、大気圧下での沸点が50〜200℃の範囲内の値を有し、かつ、各構成成分を均一に溶解させるものが好ましい。具体的には、(A)成分を調製する際に使用する有機溶剤を用いることができる。
有機溶媒の好ましい例としては、アルコール類、エーテル類、エステル類、及びケトン類が挙げられる。有機溶媒の好ましい化合物名としては、プロピレングリコールモノメチルエーテルアセテート、プロピレングリコールモノメチルエーテル、乳酸エチル、ジエチレングリコールジメチルエーテル、メチルイソブチルケトン、メチルアミルケトン、シクロヘキサノン、トルエン、キシレン、及びメタノールからなる群より選択される少なくとも1つの溶剤が挙げられる。
有機溶媒の配合量は、前記の(A)〜(D)成分の合計量100質量部に対し、好ましくは10〜500質量部、より好ましくは20〜300質量部、特に好ましくは30〜180質量部である。該量が10質量部未満では、感光性樹脂組成物の粘度調整が困難となることがある。該量が500質量部を超えると、十分な厚さを有する光導波路等を形成することが困難なことがある。
さらにまた、必要に応じて各種添加剤として、例えば酸化防止剤、紫外線吸収剤、光安定剤、シランカップリング剤、塗面改良剤、熱重合禁止剤、レベリング剤、界面活性剤、着色剤、保存安定剤、可塑剤、滑剤、フィラー、無機粒子、老化防止剤、濡れ性改良剤、帯電防止剤等を配合することができる。
ここで酸化防止剤としては、例えばIrganox1010、1035、1076、1222(以上、チバ・スペシャルティ・ケミカルズ社製)、Antigene P、3C、FR、スミライザー(住友化学工業社製)等が挙げられる。紫外線吸収剤としては、例えばTinuvin P、234、320、326、327、328、329、213(以上、チバ・スペシャルティ・ケミカルズ社製)、Seesorb102、103、110、501、202、712、704(以上、シプロ化成社製)等が挙げられる。光安定剤としては、例えばTinuvin 292、144、622LD(以上、チバ・スペシャルティ・ケミカルズ社製)、サノールLS770(三共社製)、Sumisorb TM−061(住友化学工業社製)等が挙げられる。シランカップリング剤としては、例えばγ−アミノプロピルトリエトキシシラン、γ−メルカプトプロピルトリメトキシシラン、γ−メタアクリロキシプロピルトリメトキシシラン等が挙げられ、市販品として、SH6062、SZ6030(以上、東レ・ダウコーニング・シリコーン社製)、KBE903、603、403(以上、信越化学工業社製)等が挙げられる。塗面改良剤としては、例えばジメチルシロキサンポリエーテル等のシリコーン添加剤が挙げられ、市販品としてはDC−57、DC−190(以上、ダウコーニング社製)、SH一28PA、SH−29PA、SH−30PA、SH−190(以上、東レ・ダウコーニング・シリコーン社製)、KF351、KF352、KF353、KF354(以上、信越化学工業社製)、L−700、L−7002、L−7500、FK−024−90(以上、日本ユニカー社製)等が挙げられる。
本発明の感光性樹脂組成物を調製するには、常法にしたがって前記の各成分を混合撹拌すればよい。
[1.光導波路の構造]
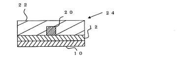
図1中、光導波路24は、フィルム状の光導波路(導波路フィルム)の一部を示すものであり、使用時には基板10上に固着されるべき下部クラッド層12と、この下部クラッド層12の上面に形成された、特定の幅を有するコア部分20と、コア部分20及び下部クラッド層12の上に積層して形成された上部クラッド層22とから構成されている。なお、コア部分20は、光導波路24の外形を形成する下部クラッド層12及び上部クラッド層22の中に埋設されている。
下部クラッド層、コア部分、及び上部クラッド層の厚さは、特に限定されないが、例えば、下部クラッド層の厚さが1〜200μm、コア部分の厚さが3〜200μm、上部クラッド層の厚さが1〜200μmとなるように定められる。コア部分の幅は、特に限定されないが、例えば、1〜200μmである。
コア部分の屈折率は、下部クラッド層及び上部クラッド層のいずれの屈折率よりも大きいものであることが必要である。例えば、波長400〜1,600nmの光に対して、コア部分の屈折率が1.420〜1.650、下部クラッド層及び上部クラッド層の屈折率が1.400〜1.648であり、かつ、コア部分の屈折率が、2つのクラッド層のいずれの屈折率よりも少なくとも0.1%大きな値であることが好ましい。
本発明の光導波路24の製造方法は、基板10上に下部クラッド層12を形成する工程と、コア部分20を形成する工程と、上部クラッド層22を形成する工程を含む。これらの3つの工程のうち、少なくとも一つの工程は、上述の感光性樹脂組成物を光照射して硬化物を形成する工程である。
なお、光導波路を構成する下部クラッド層12、コア部分20及び上部クラッド層22の各部を形成するための感光性樹脂組成物は、各々、便宜上、下層用組成物、コア用組成物及び上層用組成物と称する。
(1)感光性樹脂組成物の調製
下層用組成物、コア用組成物及び上層用組成物の各々の成分組成は、下部クラッド層12、コア部分20及び上部クラッド層22の各部の屈折率の関係が、光導波路に要求される条件を満足するように定められる。具体的には、屈折率の差が適宜の大きさとなるような2種または3種の感光性樹脂組成物を調製し、このうち、最も高い屈折率の硬化膜を与える感光性樹脂組成物をコア用組成物とし、他の感光性樹脂組成物を下層用組成物及び上層用組成物として用いる。
なお、下層用組成物と上層用組成物は、同一の感光性樹脂組成物であることが、経済上及び製造管理上、好ましい。
感光性樹脂組成物の粘度は、好ましくは1〜10,000cps(25℃)、より好ましくは5〜8,000cps(25℃)、特に好ましくは10〜5,000cps(25℃)である。粘度がこの範囲外であると、感光性樹脂組成物の取り扱いが困難になったり、均一な塗膜を形成することが困難なことがある。なお、粘度は、有機溶媒等の配合量を変えることによって、適宜調整することができる。
平坦な表面を有する基板を用意する。この基板の種類としては、特に限定されないが、例えば、シリコン基板やガラス基板等を用いることができる。
(3)下部クラッド層の形成工程
基板の表面に、下部クラッド層12を形成する工程である。具体的には、図2中の(b)に示すように、基板10の表面に下層用組成物を塗布し、乾燥またはプリベークして下層用薄膜を形成する。この下層用薄膜に光を照射して硬化させ、硬化体である下部クラッド層12を形成する。なお、下部クラッド層12の形成工程においては、薄膜の全面に光を照射し、その全体を硬化することが好ましい。
ここで、下層用組成物の塗布方法としては、スピンコート法、ディッピング法、スプレー法、バーコート法、ロールコート法、カーテンコート法、グラビア印刷法、シルクスクリーン法、インクジェット法等のいずれかの方法を用いることができる。このうち、均一な厚さの下層用薄膜が得られることから、スピンコート法を採用することが好ましい。
また、下層用組成物のレオロジー特性を塗布方法に応じた適切なものとするために、下層用組成物には、各種レベリング剤、チクソ付与剤、フィラー、有機溶媒、界面活性剤等を必要に応じて配合することが好ましい。
また、下層用組成物からなる下層用薄膜は、塗布後、有機溶剤等を除去する目的で50〜200℃の温度でプリベークすることが好ましい。
なお、下部クラッド層の形成工程における塗布方法や、レオロジー特性の改良等は、後述のコア部分の形成工程や、上部クラッド層の形成工程においても同様である。
照射する光の種類としては、可視光、紫外線、赤外線、X線、α線、β線、γ線等を用いることができるが、特に紫外線が好ましい。光の照射装置としては、例えば、高圧水銀ランプ、低圧水銀ランプ、メタルハライドランプ、エキシマランプ等を用いることが好ましい。
また、露光後に、さらに加熱処理(ポストベーク)を行うことが好ましい。この加熱条件は、感光性樹脂組成物の成分組成等により異なるが、通常、30〜400℃、好ましくは50〜300℃、より好ましくは100〜200℃で、例えば5分間〜72時間の加熱時間とすればよい。加熱処理(ポストベーク)を行なうことによって、塗膜全面を十分に硬化させることができる。
なお、下部クラッド層の形成工程における光の照射量、種類、及び光(紫外線)の照射装置等は、後述するコア部分の形成工程や、上部クラッド層の形成工程においても同様である。
次に、下部クラッド層12上に、図2中の(c)に示すように、コア用組成物を塗布し、乾燥またはプリベークしてコア用薄膜14を形成する。
その後、図2中の(d)に示すように、コア用薄膜14の上面に対して、所定のパターンに従って、例えば所定のラインパターンを有するフォトマスク18を介して光16の照射(露光)を行う。これにより、コア用薄膜14のうち、光が照射された箇所のみが硬化するので、それ以外の未硬化の部分を現像処理して除去することにより、図2中の(e)に示すように、下部クラッド層12上に、パターニングされた硬化膜からなるコア部分20を形成することができる。
現像処理は、所定のパターンに従ってパターン露光し、選択的に硬化させた薄膜に対して、硬化部分と未硬化部分との溶解性の差異を利用して、現像液を用いて未硬化部分のみの除去を行なうものである。つまり、パターン露光後、未硬化部分を除去し、かつ、硬化部分を残存させて、結果的にコア部分を形成させるものである。
現像処理に用いる現像液としては、有機溶媒を用いることができる。有機溶媒の例としては、アセトン、メタノール、エタノール、イソプロピルアルコール、乳酸エチル、プロピレングリコールモノメチルエーテルアセテート、メチルアミルケトン、メチルエチルケトン、シクロヘキサノン、プロピレングリコールモノメチルエーテル等が挙げられる。
現像時間は、通常30〜600秒間である。現像方法としては、液盛り法、ディッピング法、シャワー現像法等の公知の方法を採用することができる。現像後、そのまま風乾することによって、有機溶媒が除去されて、パターン状の薄膜が形成される。
パターン状の薄膜(パターニング部)の形成後、このパターニング部を加熱処理(ポストベーク)する。この加熱条件は、感光性樹脂組成物の成分組成等により異なるが、通常、30〜400℃、好ましくは50〜300℃、より好ましくは100〜200℃の加熱温度で、例えば5分間〜10時間の加熱時間とすればよい。加熱処理(ポストベーク)を行なうことによって、塗膜全面を十分に硬化させることができる。
a.液晶表示装置と同様の原理を利用して、所定のパターンに従って光透過領域と光不透過領域とからなるマスク像を電気光学的に形成する手段を利用する方法。
b.多数の光ファイバーを束ねてなる導光部材を用い、この導光部材における所定のパターンに対応する光ファイバーを介して光を照射する方法。
c.レーザー光、あるいはレンズ、ミラー等の集光性光学系により得られる収束性の光を、走査させながら感光性樹脂組成物に照射する方法。
コア部分20及び下部クラッド層12の表面に、上層用組成物を塗布し、乾燥またはプリベークして上層用薄膜を形成する。この上層用薄膜に対し、光を照射して硬化させると、図2中の(f)に示すように上部クラッド層22が形成される。
次に、上部クラッド層22を加熱処理(ポストベーク)する。
この加熱条件は、感光性樹脂組成物の成分組成等により異なるが、通常、30〜400℃、好ましくは50〜300℃、より好ましくは100〜200℃で、例えば5分間〜72時間の加熱時間とすればよい。加熱処理(ポストベーク)を行なうことによって、塗膜全面を十分に硬化させることができる。
(6)硬化物のフィルム化工程
上記(1)〜(4)の工程で作製した硬化物を基板10から剥離させると、フィルム状の光導波路(導波路フィルム)が得られる。
剥離方法としては、例えば、シリコン基板上に作製した光導波路を温水やフッ酸に浸漬させる方法が挙げられる。得られた導波路フィルムは、従来の石英系光導波路と同様の用途のみならず、折り畳み型の携帯電話やノートパソコンのヒンジ部等の可動部を経由した素子間の光伝送通信に好適に使用できる。
[1.材料の用意]
(A)〜(E)成分として、以下の材料を用意した。
(1)(A)成分
調製例1
ドライアイス/メタノール還流器の付いたフラスコを窒素置換した後、重合開始剤として2,2’−アゾビスイソブチロニトリル3g、有機溶剤としてプロピレングリコールモノメチルエーテルアセテート115gを仕込み、重合開始剤が溶解するまで攪拌した。引き続いて、ヒドロキシエチルメタクリレート20g、ジシクロペンタニルアクリレート30g、スチレン25g、及びn−ブチルアクリレート25gを仕込んだ後、緩やかに攪拌を始めた。その後、溶液の温度を80℃に上昇させ、この温度で6時間重合を行った。その後、得られた溶液にジラウリル酸ジ−n−ブチル錫0.13g、2,6−ジ−t−ブチル−p−クレゾール0.05gを仕込み、攪拌しながら2−メタクリロキシエチルイソシアネート23.7gを温度が60℃以下に保たれるように滴下した。滴下終了後、60℃で5時間反応させ、側鎖にメタクリル基を有するポリマー溶液を得た。その後、反応生成物を多量のヘキサンに滴下して反応生成物を凝固させた。さらに、この凝固物と同質量のテトラヒドロフランに再溶解し、多量のヘキサンで再度凝固させた。この再溶解−凝固操作を計3回行った後、得られた凝固物を40℃で48時間真空乾燥して、目的とする共重合体A−1を得た。A−1のポリスチレン換算の分子量はGPC分析より、Mn=4,800、Mw=25,500であった。
ドライアイス/メタノール還流器の付いたフラスコを窒素置換した後、重合開始剤として2,2’−アゾビスイソブチロニトリル3g、有機溶剤として乳酸エチル150gを仕込み、重合開始剤が溶解するまで攪拌した。引き続いて、メタクリル酸20g、ジシクロペンタニルアクリレート30g、スチレン25g、及びn−ブチルアクリレート25gを仕込んだ後、緩やかに攪拌を始めた。その後、溶液の温度を80℃に上昇させ、この温度で6時間重合を行った。その後、得られた溶液に3,4−エポキシシクロヘキシルメチルアクリレート10.5g、テトラブチルアンモニウムブロマイド0.8g、p−メトキシフェノール0.1gを添加し、80℃で7時間攪拌することで、側鎖にアクリル基を有するポリマー溶液を得た。その後、反応生成物を多量のヘキサンに滴下して反応生成物を凝固させた。さらに、この凝固物と同質量のテトラヒドロフランに再溶解し、多量のヘキサンで再度凝固させた。この再溶解−凝固操作を計3回行った後、得られた凝固物を40℃で48時間真空乾燥して、目的とする共重合体A−2を得た。A−2のポリスチレン換算の分子量はGPC分析より、Mn=5,500、Mw=18,000であった。
ドライアイス/メタノール還流器の付いたフラスコを窒素置換した後、重合開始剤として2,2’−アゾビス(2,4−ジメチルバレロニトリル)1.5g、有機溶剤としてプロピレングリコールモノメチルエーテルアセテート115gを仕込み、重合開始剤が溶解するまで攪拌した。引き続いて、ヒドロキシエチルメタクリレート20g、ジシクロペンタニルアクリレート25g、メチルメタクリレート40g、及びn−ブチルアクリレート15gを仕込んだ後、緩やかに攪拌を始めた。その後、溶液の温度を70℃に上昇させ、この温度で6時間重合を行った。その後、得られた溶液にジラウリル酸ジ−n−ブチル錫0.12g、2,6−ジ−t−ブチル−p−クレゾール0.05gを仕込み、攪拌しながら2−メタクリロキシエチルイソシアネート23.7gを温度が60℃以下に保たれるように滴下した。滴下終了後、60℃で5時間反応させ、側鎖にメタクリル基を有するポリマー溶液を得た。その後、反応生成物を多量のヘキサンに滴下して反応生成物を凝固させた。さらに、この凝固物と同質量のテトラヒドロフランに再溶解し、多量のヘキサンで再度凝固させた。この再溶解−凝固操作を計3回行った後、得られた凝固物を40℃で48時間真空乾燥して、目的とする共重合体A−3を得た。A−3のポリスチレン換算の分子量はGPC分析より、Mn=6,400、Mw=20,800であった。
ドライアイス/メタノール還流器の付いたフラスコを窒素置換した後、重合開始剤として2,2’−アゾビス(2,4−ジメチルバレロニトリル)1g、有機溶剤として乳酸エチル150gを仕込み、重合開始剤が溶解するまで攪拌した。引き続いて、メタクリル酸20g、ジシクロペンタニルアクリレート25g、メチルメタクリレート35g、及びn−ブチルアクリレート20gを仕込んだ後、緩やかに攪拌を始めた。その後、溶液の温度を70℃に上昇させ、この温度で6時間重合を行った。その後、得られた溶液に3,4−エポキシシクロヘキシルメチルアクリレート31.4g、テトラブチルアンモニウムブロマイド2.2g、p−メトキシフェノール0.1gを添加し、80℃で7時間攪拌することで、側鎖にアクリル基を有するポリマー溶液を得た。その後、反応生成物を多量のヘキサンに滴下して反応生成物を凝固させた。さらに、この凝固物と同質量のテトラヒドロフランに再溶解し、多量のヘキサンで再度凝固させた。この再溶解−凝固操作を計3回行った後、得られた凝固物を40℃で48時間真空乾燥して、目的とする共重合体A−4を得た。A−4のポリスチレン換算の分子量はGPC分析より、Mn=11,000、Mw=35,500であった。
共重合体A−1〜A−4の製造に用いた前記の原料名及び配合量を、表1に示す。
攪拌機を備えた反応容器に、イソホロンジイソシアネート13.6質量部、数平均分子量が2,000のポリプロピレングリコール81.7質量部、2,6−ジ−t−ブチル−p−クレゾール0.01質量部を仕込み、5〜10℃に冷却した。撹拌しながらジラウリル酸ジ−n−ブチル錫0.05質量部を加え、温度が30℃以下に保たれるように調整しながら2時間撹拌した後、50℃まで昇温しさらに2時間撹拌した。続いて、2−ヒドロキシエチルアクリレート4.7質量部(以上の合計量100質量部)を滴下し、滴下終了後、50〜70℃で1時間反応させた。残留イソシアネートが0.1質量%以下になった時を反応終了とし、化合物B−1を得た。B−1のポリスチレン換算の分子量はGPC分析より、Mn=7,000、Mw=13,000であった。
(3)(C)成分
トリメチロールプロパントリアクリレート(0.1MPaにおける沸点:315℃、大阪有機化学工業社製)
トリブロモフェノールエトキシアクリレート(融点:約50℃、第一工業製薬社製、ニューフロンティアBR−31)
テトラフルオロプロピルアクリレート(沸点:106℃/21kPa、大阪有機化学工業社製、ビスコート4F)
(4)(D)成分
光ラジカル重合開始剤(商品名「Irgacure369」、チバ・スペシャルティ・ケミカルズ社製)
(5)(E)成分
乳酸エチル
プロピレングリコールモノメチルエーテルアセテート
表2に示す配合割合で、上述の(A)成分(共重合体A−1〜A−4)、及び(B)〜(E)成分を均一に混合して、感光性樹脂組成物J−1〜J−8を得た。
[実施例1]
(a)下部クラッド層の形成
感光性樹脂組成物J−5をシリコン基板の表面上に、スピンコータで塗布し、ホットプレートを用いて100℃、10分間の条件でプリベークした。次いで、感光性樹脂組成物J−5からなる塗膜に、波長365nm、照度10mW/cm2の紫外線を100秒間照射して、光硬化させた。そして、この硬化膜を150℃、1時間の条件でポストベークをすることにより、厚さ50μmの下部クラッド層とした。
(b)コア部分の形成
次に、感光性樹脂組成物J−1を下部クラッド層の上にスピンコータで塗膜を形成し、100℃、10分間の条件でプリベークした。その後、感光性樹脂組成物J−1からなる厚さ50μmの塗膜に、幅50μmのライン状パターンを有するフォトマスクを介して、波長365nm、照度10mW/cm2の紫外線を100秒間照射して、塗膜を硬化させた。次いで、硬化させた塗膜を有する基板をアセトンからなる現像液中に浸漬して、塗膜の未露光部を溶解させた。その後、150℃、1時間の条件でポストベークを行い、幅50μmのライン状パターンを有するコア部分を形成した。
(c)上部クラッド層の形成
次いで、コア部分を有する下部クラッド層の上面に、感光性樹脂組成物J−5をスピンコータで塗布し、ホットプレートを用いて100℃、10分の条件でプリベークした。その後、感光性樹脂組成物J−5からなる塗膜に、波長365nm、照度10mW/cm2の紫外線を100秒間照射することにより、厚さ50μmの上部クラッド層を形成した。
感光性樹脂組成物を表1のように変えた以外は実施例1と同様にして光導波路を形成した。
光導波路(実施例1〜4、比較例1〜2)を次のようにして評価した。
(1)光導波路の形状の精度
設計上のコア形状(高さ50μm×ライン幅50μm)に対して、実際に形成されたコアの高さ及び幅が共に、50±5μmの寸法を有する場合を「○」、それ以外の場合を「×」とした。
(2)導波路損失
光導波路について、波長850nmの光を一端から入射させた。そして、他端から出射する光量を測定することにより、単位長さ当たりの導波路損失をカットバック法により求めた。導波路損失が0.5dB/cm以下の場合を「○」とし、0.5dB/cmを超える場合を「×」とした。
(3)屈曲抵抗性
下部クラッド層高さ20μm、コア高さ50μm、コア上部から上部クラッド層表面までの高さ20μmで作製された光導波路を基板から剥離し、幅1cm、長さ10cm、厚み90μmの導波路フィルムとした。この導波路フィルムを温度23℃、湿度50%の条件下で半径2mmの金属棒に巻きつけた時に、クラックまたは破断が発生しない場合を「○」とし、発生する場合を「×」とした。
以上の結果を表3に示す
12 下部クラッド層
14 コア用薄膜
16 照射光
18 フォトマスク
20 コア部分
22 上部クラッド層
24 光導波路
Claims (6)
- ゲルパーミエーションクロマトグラフィーで測定したポリスチレン換算の上記(B)成分の数平均分子量が1,000〜100,000である請求項1又は2に記載の感光性樹脂組成物。
- 下部クラッド層と、コア部分と、上部クラッド層とを含む光導波路であって、少なくとも、前記下部クラッド層及び上部クラッド層が、請求項1〜3のいずれか1項に記載の感光性樹脂組成物の硬化物からなることを特徴とする光導波路。
- 前記下部クラッド層、コア部分及び上部クラッド層が、請求項1〜3のいずれか1項に記載の感光性樹脂組成物の硬化物からなり、かつ、前記コア部分の屈折率が、前記下部クラッド層と前記上部クラッド層のいずれの屈折率よりも0.1%以上大きい請求項4に記載の光導波路。
- 下部クラッド層と、コア部分と、上部クラッド層とを含む光導波路の製造方法であって、下部クラッド層を形成する工程と、コア部分を形成する工程と、上部クラッド層を形成する工程とを含み、かつ、少なくとも、下部クラッド層を形成する工程、及び、上部クラッド層を形成する工程が、請求項1〜3のいずれか1項に記載の感光性樹脂組成物を光照射して硬化させる工程を含むことを特徴とする光導波路の製造方法。
Priority Applications (1)
| Application Number | Priority Date | Filing Date | Title |
|---|---|---|---|
| JP2006250108A JP4840586B2 (ja) | 2005-09-29 | 2006-09-14 | 光導波路用感光性樹脂組成物、光導波路及びその製造方法 |
Applications Claiming Priority (3)
| Application Number | Priority Date | Filing Date | Title |
|---|---|---|---|
| JP2005285699 | 2005-09-29 | ||
| JP2005285699 | 2005-09-29 | ||
| JP2006250108A JP4840586B2 (ja) | 2005-09-29 | 2006-09-14 | 光導波路用感光性樹脂組成物、光導波路及びその製造方法 |
Publications (2)
| Publication Number | Publication Date |
|---|---|
| JP2007122023A JP2007122023A (ja) | 2007-05-17 |
| JP4840586B2 true JP4840586B2 (ja) | 2011-12-21 |
Family
ID=38145868
Family Applications (1)
| Application Number | Title | Priority Date | Filing Date |
|---|---|---|---|
| JP2006250108A Expired - Fee Related JP4840586B2 (ja) | 2005-09-29 | 2006-09-14 | 光導波路用感光性樹脂組成物、光導波路及びその製造方法 |
Country Status (1)
| Country | Link |
|---|---|
| JP (1) | JP4840586B2 (ja) |
Families Citing this family (8)
| Publication number | Priority date | Publication date | Assignee | Title |
|---|---|---|---|---|
| JP4518089B2 (ja) * | 2006-07-05 | 2010-08-04 | Jsr株式会社 | 光導波路用感光性樹脂組成物、ドライフィルム、光導波路及びその製造方法 |
| JP5115057B2 (ja) * | 2007-06-29 | 2013-01-09 | Jsr株式会社 | フィルム状光導波路及びフィルム状光導波路用感光性樹脂組成物 |
| TWI441865B (zh) | 2008-01-24 | 2014-06-21 | Hitachi Chemical Co Ltd | 包覆層形成用樹脂組成物、使用該組成物的包覆層形成用樹脂膜以及使用該樹脂膜的光波導與光模組 |
| JP5321899B2 (ja) * | 2009-07-23 | 2013-10-23 | 日立化成株式会社 | クラッド層形成用樹脂組成物、光導波路及び光モジュール |
| JP5892066B2 (ja) | 2010-08-24 | 2016-03-23 | 日立化成株式会社 | 光導波路形成用樹脂組成物、これを用いた光導波路形成用樹脂フィルム、及びこれらを用いた光導波路 |
| JP5668417B2 (ja) * | 2010-11-05 | 2015-02-12 | 三菱化学株式会社 | 活性エネルギー線硬化性組成物 |
| CN107108782B (zh) | 2014-12-26 | 2019-12-03 | 日铁化学材料株式会社 | 末端改性可溶性多官能乙烯基芳香族共聚合物及其应用 |
| JP6776637B2 (ja) * | 2016-06-08 | 2020-10-28 | 三菱ケミカル株式会社 | 活性エネルギー線重合性組成物からなるuvインキ及びその製造方法 |
Family Cites Families (7)
| Publication number | Priority date | Publication date | Assignee | Title |
|---|---|---|---|---|
| JP3599363B2 (ja) * | 1993-09-07 | 2004-12-08 | 三菱レイヨン株式会社 | 大口径プラスチック光ファイバ |
| JP3394582B2 (ja) * | 1994-02-24 | 2003-04-07 | ジェイエスアール株式会社 | 光ファイバー用液状硬化性樹脂組成物 |
| DE69631703T2 (de) * | 1995-07-29 | 2005-01-13 | Sanyo Chemical Industries, Ltd. | UV-härtbare Harzmasse für Fresnel-Linse, Fresnel-Linse und Retroprojektionswand |
| JPH1111986A (ja) * | 1997-04-25 | 1999-01-19 | Takeda Chem Ind Ltd | 光ファイバ被覆用樹脂組成物 |
| JP4212076B2 (ja) * | 1998-10-15 | 2009-01-21 | Jsr株式会社 | 光硬化性樹脂組成物および硬化物 |
| JP4013532B2 (ja) * | 2001-11-26 | 2007-11-28 | 東亞合成株式会社 | 光学部材用活性エネルギー線硬化型組成物 |
| US20070212013A1 (en) * | 2004-02-25 | 2007-09-13 | Kansai Paint Co., Ltd | Photocurable Resin Composition for Forming Optical Waveguide, Photocurable Dry Film for Forming Optical Waveguide, and Optical Waveguide |
-
2006
- 2006-09-14 JP JP2006250108A patent/JP4840586B2/ja not_active Expired - Fee Related
Also Published As
| Publication number | Publication date |
|---|---|
| JP2007122023A (ja) | 2007-05-17 |
Similar Documents
| Publication | Publication Date | Title |
|---|---|---|
| EP1772754B1 (en) | Radiation-sensitive resin composition for optical waveguides, optical waveguide, and method for manufacturing optical waveguide | |
| JP4518089B2 (ja) | 光導波路用感光性樹脂組成物、ドライフィルム、光導波路及びその製造方法 | |
| US7569335B2 (en) | Photosensitive resin composition for optical waveguides, and optical waveguide and manufacturing method thereof | |
| JP2006058831A (ja) | 光導波路用感光性樹脂組成物および光導波路 | |
| JP5309992B2 (ja) | 光導波路形成用ドライフィルム、光導波路およびその製造方法 | |
| JP4935648B2 (ja) | フィルム状光導波路 | |
| JP4840586B2 (ja) | 光導波路用感光性樹脂組成物、光導波路及びその製造方法 | |
| JP4385818B2 (ja) | 感光性樹脂組成物および光導波路 | |
| JP5327053B2 (ja) | フィルム状光導波路 | |
| JP2009157125A (ja) | フィルム状光導波路 | |
| JP4893934B2 (ja) | 光導波路フィルムの製造方法 | |
| JP4682955B2 (ja) | 光導波路の製造方法 | |
| JP2006039154A (ja) | 感光性樹脂組成物、光導波路およびその製造方法 | |
| JP5115057B2 (ja) | フィルム状光導波路及びフィルム状光導波路用感光性樹脂組成物 | |
| JP4000854B2 (ja) | 光導波路形成用放射線硬化性組成物、光導波路ならびにその製造方法 | |
| JP2008164854A (ja) | フィルム状光導波路 | |
| JP4360252B2 (ja) | 光導波路形成用感光性樹脂組成物、及びそれを用いて形成された光導波路 | |
| JPWO2008038838A1 (ja) | フィルム状光導波路 | |
| JP4151508B2 (ja) | 光導波路用感光性樹脂組成物および光導波路 | |
| JP2008116971A (ja) | 光導波路 | |
| JP2008249753A (ja) | フィルム状光導波路 | |
| JP2009244627A (ja) | フィルム状光導波路 |
Legal Events
| Date | Code | Title | Description |
|---|---|---|---|
| A621 | Written request for application examination |
Free format text: JAPANESE INTERMEDIATE CODE: A621 Effective date: 20090122 |
|
| A977 | Report on retrieval |
Free format text: JAPANESE INTERMEDIATE CODE: A971007 Effective date: 20100713 |
|
| TRDD | Decision of grant or rejection written | ||
| A01 | Written decision to grant a patent or to grant a registration (utility model) |
Free format text: JAPANESE INTERMEDIATE CODE: A01 Effective date: 20110907 |
|
| A01 | Written decision to grant a patent or to grant a registration (utility model) |
Free format text: JAPANESE INTERMEDIATE CODE: A01 |
|
| A61 | First payment of annual fees (during grant procedure) |
Free format text: JAPANESE INTERMEDIATE CODE: A61 Effective date: 20110920 |
|
| R150 | Certificate of patent or registration of utility model |
Free format text: JAPANESE INTERMEDIATE CODE: R150 |
|
| FPAY | Renewal fee payment (event date is renewal date of database) |
Free format text: PAYMENT UNTIL: 20141014 Year of fee payment: 3 |
|
| FPAY | Renewal fee payment (event date is renewal date of database) |
Free format text: PAYMENT UNTIL: 20141014 Year of fee payment: 3 |
|
| R250 | Receipt of annual fees |
Free format text: JAPANESE INTERMEDIATE CODE: R250 |
|
| R250 | Receipt of annual fees |
Free format text: JAPANESE INTERMEDIATE CODE: R250 |
|
| R250 | Receipt of annual fees |
Free format text: JAPANESE INTERMEDIATE CODE: R250 |
|
| LAPS | Cancellation because of no payment of annual fees |
