JP4792249B2 - 体液吸収性物品 - Google Patents

体液吸収性物品 Download PDF

Info

Publication number
JP4792249B2
JP4792249B2 JP2005202308A JP2005202308A JP4792249B2 JP 4792249 B2 JP4792249 B2 JP 4792249B2 JP 2005202308 A JP2005202308 A JP 2005202308A JP 2005202308 A JP2005202308 A JP 2005202308A JP 4792249 B2 JP4792249 B2 JP 4792249B2
Authority
JP
Japan
Prior art keywords
sheet
absorbent article
body fluid
water
repellent layer
Prior art date
Legal status (The legal status is an assumption and is not a legal conclusion. Google has not performed a legal analysis and makes no representation as to the accuracy of the status listed.)
Expired - Fee Related
Application number
JP2005202308A
Other languages
English (en)
Other versions
JP2007014705A (ja
Inventor
欽典 熊坂
隆久 高橋
Current Assignee (The listed assignees may be inaccurate. Google has not performed a legal analysis and makes no representation or warranty as to the accuracy of the list.)
Unicharm Corp
Original Assignee
Unicharm Corp
Priority date (The priority date is an assumption and is not a legal conclusion. Google has not performed a legal analysis and makes no representation as to the accuracy of the date listed.)
Filing date
Publication date
Application filed by Unicharm Corp filed Critical Unicharm Corp
Priority to JP2005202308A priority Critical patent/JP4792249B2/ja
Publication of JP2007014705A publication Critical patent/JP2007014705A/ja
Application granted granted Critical
Publication of JP4792249B2 publication Critical patent/JP4792249B2/ja
Anticipated expiration legal-status Critical
Expired - Fee Related legal-status Critical Current

Links

Images

Landscapes

  • Absorbent Articles And Supports Therefor (AREA)

Description

本発明は、生理用ナプキンに代表される体液吸収性物品に関し、特に、吸収速度・逆戻り防止性能、見た目の清潔感等を向上させるために、表面シートを構成する不織布にその表裏を貫通する開孔を複数形成させた体液吸収性物品に関する。
生理用ナプキンに代表される体液吸収性物品は、その吸収対象とする体液を製品外に漏らすことなく全量吸収し、且、体圧等の外部圧力が物品に加重されたとしても吸収した体液を物品外へ漏らさないといったことが要求されている。又、体液を素早く吸収すると共に内部の吸収コアへ素早く移動させることで、表面シート上に体液を残さず、使用者に対し湿潤感を感じさせないといったことが要求されている。
従来より体液吸収性物品の表面シートには不織布が多く用いられている。これは繊維の物性にもよるが、一般に風合いがやわらかく、肌に触れた時の違和感を減少させることに優れているからである。しかしながら、該不織布は繊維の間に液が残存する現象もおきやすく、湿潤感、即ち、むれ・べたつきといった不快感を呈するという問題もある。そこで、該不織布にいわゆるエンボス加工といわれる凹凸をつけ、肌との接触面積を減少させる試みがなされてきた。これによって、体液が肌に触れることをやや減少させることが出来るようになるとともに、使用者に見た目に「よく吸収しそう」といった安心感・期待感を与えることもできるようになったが、実態としては体圧によって不織布全面が肌に接触してしまい、さほどの解決には至っていないのが現状である。
又、表面への体液の残存は、視覚的に体液が物品表面側に広範囲に見えることで衛生的な不安や漏れ防止に対する不安といった問題もある。このような視覚的な印象は、主として使用者が使用後の吸収性物品を交換する際に表面状態が目に入り、その際、不浄なものという認識がある体液が広範囲に見えることで「衛生的ではない」「もう少しで漏れてしまったのではないか」との不安感を与え製品に対する不満として判断されることとなる。特に生理用ナプキンにあっては、吸収対象が経血であるため視覚的に与える影響が強く、より不満度も高まる傾向にある。
そこでこのような不満に対し「漏れの少ない(逆戻り量の少ない)」「隠蔽性が高い(見た目に白い)」といった機能を備えるべく、表面シートに用いる不織布の親水性を落とし、撥水性を向上させることで、表面への液残りを減少させる方法が用いられてきたが、吸収性物品の基本機能である「漏らさず吸収する」性能が著しく低下してしまうという問題があった。即ち、表面シート上を体液が転がってしまい、物品外へ流れてしまい結果漏れとなってしまう。又、表面シートに開孔付樹脂フィルムを用いることで、表面シート自体に液が保持されることがなくなり、且、液が開孔部分を通過して下層に吸収されるため、視覚的に吸収した液が見えにくくなるという構造も採用されてきたが、樹脂フィルムは平滑性が高いために、肌に張り付くような感触があり、使用者の多様な嗜好性を満足させることが出来ないという問題があった。更に、表面シートから早期に吸収コアへ液を移行する目的で、表面シート直下にセカンドシートを設ける方法が用いられてきた。この方法によれば体圧による液の表面層への逆戻りを減少させると共に、吸収性コアに移行した液を隠蔽する効果があるものの、表面シートとセカンドシートとの繊維間の液残りを改善するには至っていないという問題を有している。
特開平5−154176号公報
この発明は、生理用ナプキン等の吸収性物品にいおいて、表面ートへの液残りを防止し、又、吸収後の液が表面シート上へ逆戻りしてしまうことを防止すると共に、吸収した液を表面シート側から見たときに隠蔽できることが出来るようにし、見た目に衛生的な印象を与える体液吸収性物品を提供せんとするものである。
前記課題を解決するためにこの発明が採った手段は、 撥水層と親水層からなる不織布を貫通し、撥水層表面を肌当接面とした開孔を有する表面シートと、液非透過性のバックシートの間に吸収体を配置し、表面シート上の体液が開孔を通過して表面シート下へと移動し吸収体に吸収される体液吸収性物品において、開孔内周面が撥水層を形成する繊維で覆われるように開孔周囲の撥水層と親水層とを延伸しながら親水層の吸収体側表面より吸収体側に突出させたことを特徴とし、また、体液吸収性物品の製造方法として、撥水層と親水層からなる不織布をローラー装置の間隙に挟み込み、ローラーに挿着された針によって不織布を撥水層側から親水層側へ貫通することによって、開孔周囲の撥水層を形成する繊維を親水層側へ延ばし、開孔内周面が少なくとも撥水層を形成する繊維で覆われるように表面シートを開孔することを特徴とする。
又、開孔周囲の撥水層を親水層表面の開孔円周端まで延出したことを特徴とする。
更に、表面シートと吸収体との間に、親水性を有するセカンドシートを配置するようにしたことを特徴とする。
更に、セカンドシートは表面シートより繊維の維度が高く、表面シートの親水層より親水度が高くなっていることを特徴とする。
更に、表面シートに形成した全ての開孔の総面積の比率が、表面シートの表面積に対し面積率で15〜30%となるように形成されていることを特徴とする。
更に、表面シートに形成した開孔が、各々直径0.5mm〜3.5mmであることを特徴とする。
更に、表面シートとセカンドシートを積層した状態で両シートを貫通する開孔を形成するようにしたことを特徴とする。
更に、表面シートの繊維が3dtex以下であり、セカンドシートの繊維が6dtex以上であることを特徴とする。
本発明によれば、開孔部のみ液を通過させることのできる不織布を表面シートに採用することで、肌当たりの良さと共に、吸収した体液が逆戻りせず、且、高い隠蔽性を呈する体液吸収性物品を提供することができる。
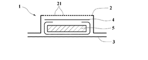
以下、図面を参照しつつ本願発明の最良の実施形態を詳細に説明する。尚、以下の説明は生理用ナプキンの実施形態についてなされているが、この発明は生理用ナプキンに限られるものではなく、使い捨ておしめ、失禁シート、おりものシート等の体液を吸収するための種々の体液吸収性物品に適用することが出来る。体液吸収性物品(1)は、体液を透過し得る表面シート(2)と体液の透過を阻止するバックシート(3)との間に破砕パルプ等の吸収体(5)を内包した従来周知の構造を有しており、表面シート(2)、バックシート(3)及び吸収体(5)の材質、形状、厚み、吸収力等は特に限定されるものではない。又、吸収体は、破砕パルプに体液を吸収する高分子粒子を混合したものであっても良い。
表面シート(2)は、性質の異なる二層の不織布を積層した構造体からなる。該表面シート(2)は、着用者の肌に接する面に撥水性を有する撥水層(22)、吸収体(5)側の面に親水性を有する親水層(23)が積層され、且、該2層を貫通する複数の開孔(21)が形成された構造を有する。表面シート(2)上に接触した体液は、その表面、即ち肌に当接する面である撥水層上に残留するすることなく開孔(21)へと効果的に導かれ、開孔(21)を通過して親水層(23)側へと移動することが出来るようになっている。
前記開孔(21)の形成は、例えば図3に示すようなローラー装置の間隙に表面シート(2)となる不織布を挟み込み、ローラーに挿着された針によって不織布を撥水層側から親水層側へと貫くことで形成する。形成された開孔(21)は図2に示されるように、針の直径と略同径で、且、開孔(21)の周囲の撥水層(22)を形成する繊維が親水層(23)側へと延ばされた状態となるため、開孔(21)内周面に撥水層(22)を形成する繊維が位置し、結果、開孔(21)内面は撥水性を呈するので、開孔(21)を通過する体液は開孔(21)内周面から親水層(23)に吸収されることなくスムースに通過することができる。
セカンドシート(4)は、親水性繊維からなる単層の不織布シートであって、前記表面シート(2)の開孔(21)を通過してきた体液を急速に吸収しつつ速やかに下層の吸収層(5)へ移動させる役割を果たす。該セカンドシート(4)には、ある程度の膨潤性能をもたせ、吸収体(5)の吸収性能を上回る速度での体液の流入があった際に、一時的に表面シート(2)を透過してきた体液を蓄え、表面シート(2)側へ液が逆戻りさせることのないようなバッファ領域として機能させることが好まい。これを達成するため、表面シートより繊維の維度が高く、表面シートの親水層より親水度が高くなるように設定し、例えば、表面シートの繊維が3dtex以下とした場合、セカンドシートの繊維が6dtex以上とすることが好ましい。尚、吸収体(5)の吸収性能によっては、セカンドシートを必ずしも配置しなければならないというものではない。
以上のような構成により、表面シート(2)に接触した体液は、表面シート(2)上層の撥水層の存在により、表面シート(2)に直接含浸することはなく、又、複数形成された開孔(21)により、表面シート(2)上を伝って流れてしまうこともなく開孔(21)へと達する。開孔(21)に達した体液は、開孔(21)の内周面まで延出した撥水性繊維により、スムースに開孔(21)を通過してセカンドシート(4)へと到達する。前述のとおりセカンドシート(4)は親水性で、且、ある程度の膨潤性能を備えているため、流過してきた体液を急速に吸収すると共に、該体液の一部を蓄えつつ更に下層の吸収体(5)へと移動され、吸収動作が完了する。
表面シート(2)に形成した開孔(21)は、任意に設定することが出来、好ましくはその直径を1.5mm〜2.5mmとし、且、表面シート全体に対する開孔の総面積の比率を15〜30%程度とする。開孔の直径が0.5mm以下であると、表面シートに接触した体液の通過がスムーズに行われずに表面シート(2)上を流れてしまい、結果、横漏れ等を引き起こす原因となる。又、直径が3.5mm以上の場合、開孔を伝った体液の通過はスムーズに行われるが、セカンドシート(4)又は吸収体(5)に移動した体液が、体圧等による圧縮力を受けた際に、開孔を通って表面へ逆流しやすくなってしまう。但し、開孔の直径や、開孔同士の距離、開孔の個数等、様々な要件によって表面シートに対する面積比率も変化するので、単に開孔の直径のみで吸収性能が決定されるわけではない。
次に本願発明にかかる吸収性物品の性能の検証をおこなうために、(i)逆戻り量の測定、(ii)表面シート側の白度の計測、(iii)吸収速度の測定の、3点について後述の方法により測定を行った。(i)の逆戻り量の測定は、体液吸収性物品により吸収された体液が、体圧等の外圧の影響を受け、どの程度表面シート上に浮き出てくるのかを測定するものであり、これにより、肌に触れ続ける液の量が測定できるので、肌荒れの可能性を存するのか否かを検証することができる。(ii)表面シート側の白度の計測は、吸収性物品が液を吸収した後の表面シート側の見た目の着色具合を計測するものである。すなわち、体液等を吸収した吸収性物品をみた需要者が吸収具合を視覚的にとらえ、漏れに対する不安等の感覚を数値的に表すことができるものである。(iii)吸収速度の測定は、表面シートに滴下した体液が全て吸収される速度を計測するものである。吸収速度が遅ければ、表面シート上に体液が長時間滞在することになり、結果、横漏れや、肌への長時間接触等による肌荒れの発生という問題を有するものであるとの判断をすることができるものである。
「(i)逆戻り量の測定」についての測定方法は、吸収性物品を広げ折りジワをなくすように前後部を試料台に固定した後、シリンジを用いて表面シートより約1cmの高さより模擬経血10ccを1分間かけて滴下し10分間放置する。次に表面シート上に濾紙を1枚載せ、該濾紙上に直径9cm、重さ1kgのおもりを15秒間載せて吸収性物品に圧力を加える。時間経過後おもりを取り除き、濾紙の質量を計量し、逆戻りした液量を測定する。
「(ii)表面シート側の白度の計測」は、前記「(i)逆戻り量の測定」を行うのと同時に計測は行われ、表面シートの模擬経血を滴下した部位を中心に半径5cm程度の領域を色差計を用いて、その領域の白度を計測する。これにより吸収後の表面シートからみた着色具合を数値的に算出が出来、白度が高いほど、見た目に白く衛生的な印象を受けるものであるとの判断ができるものである。尚、使用する色差計は特に限定されることはないが、本実施例においては「ミノルタ製 CR−300」を利用して行った。計測値の算出方法は、色差計の標準白色校正板にて校正を行い、ブランク値を得る。次に前述の方法により表面シート上の計測を行いサンプル値を得た後、下記の式を用いて表面シートの白度を算出する。
式:白度(ΔL)=100−(ブランク値−サンプル値)
「(iii)吸収速度の計測」は、吸収性物品を広げ折りジワをなくすように前後部を資料第に固定した後、シリンジを用いて、濃度750±10cpsに調整した模擬経血0.2ccを注入する。次に、再度シリンジを用いて、表面より約1cmの高さより同様の模擬経血0.2ccを滴下する。滴下後、表面から模擬経血が引き終わるまでの時間を計測する。
これら「(i)逆戻り量」「(ii)表面シート側の白度」「(iii)吸収速度」の3点の計測値については、出願人による研究の結果、該逆戻り量が0.1g以下であれば、おおむね肌荒れしない逆戻り量を達成することができているものと判断することができ、又、白度(ΔL)の値が70以上であれば、高い隠蔽性を達成することが出来ているものと判断することができ、又、吸収速度が30秒以下であれば、十分な漏れ防止を達成することができているものと判断することが出来るという研究結果がある。以下、本願発明による実施例について前記(i)〜(iii)についての測定を行い検証を行った。
次の条件で吸収性物品を作成し、前述の吸収速度、逆戻り、白度の測定を行った。
表面シート:総量30g/m 2層構造のホットエアースルー製法不織布
・撥水層 20g/m 2.6dtex 芯PET/鞘PE複合繊維
・親水層 10g/m 2.6dtex 芯PET/鞘PE複合繊維
・開孔直径 2.0mm、開孔ピッチ 3.24mm 面積率 30%
セカンドシート:40g/m 8.9dtex 芯PET/鞘PE複合繊維
開孔加工方法:トップシートのみ形成後、セカンドシートと貼り合わせる。
吸収体:パルプ 300g/m、SAP混合繊維 30g/m
バックシート:低密度ポリエチレンフィルム 28g/m
前述の「(i)逆戻り量」「(ii)表面シート側の白度」「(iii)吸収速度」について測定を行ったところ、各々次のような結果であった。(i)逆戻り量については、0.0272gが計測され、肌荒れを起こさない逆戻り量を達成することが出来ていることが確認できた。(ii)表面シート側の白度については、ΔL=74.24との値が計測され、高い隠蔽性を達成することが出来ていることが確認できた。又、(iii)吸収速度については、21.6秒との計測結果であり、漏れ防止を達成するに十分な吸収速度を有していることが確認できた。
次の条件で吸収性物品を作成し、前述の吸収速度、逆戻り、白度の測定を行った。
表面シート:総量30g/m 2層構造のホットエアースルー製法不織布
・撥水層 20g/m 2.6dtex 芯PET/鞘PE複合繊維
・親水層 10g/m 2.6dtex 芯PET/鞘PE複合繊維
・開孔直径 2.0mm、開孔ピッチ 3.24mm 面積率 30%
セカンドシート:単層構造のホットエアースルー製法不織布
・40g/m 8.9dtex 芯PET/鞘PE複合繊維
開孔加工方法:セカンドシートはトップシートと重ねて開孔を形成する
吸収体:パルプ 300g/m、SAP混合繊維 30g/m
バックシート:低密度ポリエチレンフィルム 28g/m
実施例2についても前記同様に「(i)逆戻り量」「(ii)表面シート側の白度」「(iii)吸収速度」について各々測定を行ったところ、(i)逆戻り量については、0.0085gが戻り量として計測され、肌荒れを起こすことがない極めて良好な逆戻り量を達成することが出来ていることが確認できた。又、(ii)表面シート側の白度については、ΔL=73.06との値が計測され、高い隠蔽性を達成することが出来ていることを確認できた。又、(iii)吸収速度については、22.8秒との計測結果で、十分な漏れ防止を達成することが出来る吸収速度を有していることを確認できた。
次の条件で吸収性物品を作成し、前述の吸収速度、逆戻り、白度の測定を行った。
表面シート:総量30g/m 2層構造のホットエアースルー製法不織布
・撥水層 20g/m 2.6dtex 芯PET/鞘PE複合繊維
・親水層 10g/m 2.6dtex 芯PET/鞘PE複合繊維
・開孔直径 2.0mm、開孔ピッチ 3.24mm 面積率 30%
セカンドシート:単層構造のホットエアースルー製法不織布
・40g/m 8.9dtex 芯PET/鞘PE複合繊維
開孔加工方法:セカンドシートはトップシートと重ねて開孔する
吸収体:エアレイドパルプ不織布 200g/m
バックシート:低密度ポリエチレンフィルム 28g/m
実施例3についても前記同様に「(i)逆戻り量」「(ii)表面シート側の白度」「(iii)吸収速度」について各々測定を行ったところ、(i)逆戻り量については、0.0039gが計測され、肌荒れを起こすことがない極めて良好な逆戻り量を達成することが出来ていることが確認できた。又、(ii)表面シート側の白度については、ΔL=72.88との値が計測され、高い隠蔽性を達成することが出来ていることを確認できた。又、(iii)吸収速度については、29.7秒との計測結果で、十分な漏れ防止を達成することが出来る吸収速度を有していることを確認できた。
以上のとおり、本願発明を適用した実施例1〜3を検証した結果、肌荒れを起こすことのない優れた逆戻り防止性能及び吸収速度、並びに、吸収した体液の隠蔽性を向上させることの出来る体液吸収性物品が得られることがわかった。
本願発明にかかる体液吸収性物品の断面図 表面シートに形成された開孔の状態を示す図 開孔形成装置を示す図
符号の説明
(1)体液吸収性物品
(2)表面シート
(21)開孔
(22)撥水層
(23)親水層
(3)バックシート
(4)セカンドシート
(5)吸収体

Claims (8)

  1. 撥水層と親水層からなる不織布を貫通し、撥水層表面を肌当接面とした開孔を有する表面シートと、液非透過性のバックシートの間に吸収体を配置し、表面シート上の体液が開孔を通過して表面シート下へと移動し吸収体に吸収される体液吸収性物品において、開孔内周面が撥水層を形成する繊維で覆われるように開孔周囲の撥水層と親水層とを延伸しながら親水層の吸収体側表面より吸収体側に突出させたことを特徴とする体液吸収性物品。
  2. 表面シートと吸収体との間に、親水性を有するセカンドシートを配置するようにしたことを特徴とする請求項記載の体液吸収性物品。
  3. セカンドシートは表面シートより繊維の繊度が高く、表面シートの親水層より親水度が高くなっていることを特徴とする請求項記載の体液吸収性物品。
  4. 表面シートに形成した全ての開孔の総面積の比率が、表面シートの表面積に対し面積率で15〜30%となるように形成されていることを特徴とする請求項1乃至のいずれかに記載の体液吸収性物品。
  5. 表面シートに形成した開孔が、各々直径0.5mm〜3.5mmであることを特徴とする請求項1乃至のいずれかに記載の体液吸収性物品。
  6. 表面シートとセカンドシートを積層した状態で両シートを貫通する開孔を形成するようにしたことを特徴とする請求項1乃至のいずれかに記載の体液吸収性物品。
  7. 表面シートの繊維が3dtex以下であり、セカンドシートの繊維が6dtex以上であることを特徴とする請求項1乃至のいずれかに記載の体液吸収性物品。
  8. 撥水層と親水層からなる不織布をローラー装置の間隙に挟み込み、ローラーに挿着された針によって不織布を撥水層側から親水層側へ貫通することによって、開孔周囲の撥水層を形成する繊維を親水層側へ延ばし、開孔内周面が撥水層を形成する繊維で覆われるように表面シートを開孔することを特徴とする請求項1乃至のいずれかに記載の体液吸収性物品の製造方法。
JP2005202308A 2005-07-11 2005-07-11 体液吸収性物品 Expired - Fee Related JP4792249B2 (ja)

Priority Applications (1)

Application Number Priority Date Filing Date Title
JP2005202308A JP4792249B2 (ja) 2005-07-11 2005-07-11 体液吸収性物品

Applications Claiming Priority (1)

Application Number Priority Date Filing Date Title
JP2005202308A JP4792249B2 (ja) 2005-07-11 2005-07-11 体液吸収性物品

Publications (2)

Publication Number Publication Date
JP2007014705A JP2007014705A (ja) 2007-01-25
JP4792249B2 true JP4792249B2 (ja) 2011-10-12

Family

ID=37752358

Family Applications (1)

Application Number Title Priority Date Filing Date
JP2005202308A Expired - Fee Related JP4792249B2 (ja) 2005-07-11 2005-07-11 体液吸収性物品

Country Status (1)

Country Link
JP (1) JP4792249B2 (ja)

Cited By (1)

* Cited by examiner, † Cited by third party
Publication number Priority date Publication date Assignee Title
US11266547B2 (en) 2016-06-14 2022-03-08 Daio Paper Corporation Absorbent article

Families Citing this family (25)

* Cited by examiner, † Cited by third party
Publication number Priority date Publication date Assignee Title
JP5563291B2 (ja) * 2009-12-28 2014-07-30 大王製紙株式会社 吸収性物品
JP5536490B2 (ja) * 2010-02-26 2014-07-02 大王製紙株式会社 吸収性物品
TWI448277B (zh) 2011-03-31 2014-08-11 Uni Charm Corp Absorbent items
JP5361965B2 (ja) 2011-04-28 2013-12-04 ユニ・チャーム株式会社 吸収性物品
JP6092508B2 (ja) 2011-09-30 2017-03-08 ユニ・チャーム株式会社 吸収性物品
JP6057664B2 (ja) 2011-12-28 2017-01-11 ユニ・チャーム株式会社 吸収性物品、及びその製造方法
CN104271094B (zh) 2012-02-29 2016-05-04 尤妮佳股份有限公司 吸收性物品
JP5847055B2 (ja) 2012-02-29 2016-01-20 ユニ・チャーム株式会社 吸収性物品
JP5843740B2 (ja) 2012-02-29 2016-01-13 ユニ・チャーム株式会社 吸収性物品
JP5717672B2 (ja) 2012-02-29 2015-05-13 ユニ・チャーム株式会社 吸収性物品
JP5963639B2 (ja) 2012-02-29 2016-08-03 ユニ・チャーム株式会社 吸収性物品
JP5726120B2 (ja) 2012-03-30 2015-05-27 ユニ・チャーム株式会社 吸収性物品
JP5726121B2 (ja) 2012-03-30 2015-05-27 ユニ・チャーム株式会社 吸収性物品
JP5717685B2 (ja) 2012-04-02 2015-05-13 ユニ・チャーム株式会社 吸収性物品
JP6116178B2 (ja) 2012-04-02 2017-04-19 ユニ・チャーム株式会社 吸収性物品
JP5713951B2 (ja) 2012-04-02 2015-05-07 ユニ・チャーム株式会社 吸収性物品
JP5717686B2 (ja) 2012-04-02 2015-05-13 ユニ・チャーム株式会社 吸収性物品
JP6214289B2 (ja) * 2013-09-09 2017-10-18 花王株式会社 吸収性物品
CN106456408B (zh) 2014-03-06 2019-09-27 宝洁公司 多组分顶片
WO2015134375A1 (en) 2014-03-06 2015-09-11 The Procter & Gamble Company Multi-component topsheets
US10206826B2 (en) 2014-03-06 2019-02-19 The Procter & Gamble Company Three-dimensional substrates
WO2017034796A1 (en) 2015-08-26 2017-03-02 The Procter & Gamble Company Absorbent articles having three-dimensional substrates and indicia
WO2018000410A1 (en) 2016-07-01 2018-01-04 The Procter & Gamble Company Absorbent articles with improved topsheet dryness
CN108277655A (zh) * 2018-02-10 2018-07-13 韩旭 一种全拒水天然纤维水刺无纺布及其生产设备
CN115177441B (zh) * 2022-07-05 2025-04-04 杭州诺邦无纺股份有限公司 一种可冲散全降解卫生巾、护垫

Family Cites Families (5)

* Cited by examiner, † Cited by third party
Publication number Priority date Publication date Assignee Title
JPH05115504A (ja) * 1991-10-25 1993-05-14 Daiwabo Create Kk 体液吸収性物品用の表面材
JPH06280150A (ja) * 1993-03-29 1994-10-04 Mitsui Petrochem Ind Ltd 穿孔積層シート及びその製造方法
JPH11192259A (ja) * 1998-01-05 1999-07-21 Oji Paper Co Ltd 吸収性物品
JP4155817B2 (ja) * 2002-12-27 2008-09-24 大王製紙株式会社 積層不織布の製造方法および製造装置
JP4275421B2 (ja) * 2003-01-29 2009-06-10 ユニ・チャーム株式会社 吸収性物品

Cited By (1)

* Cited by examiner, † Cited by third party
Publication number Priority date Publication date Assignee Title
US11266547B2 (en) 2016-06-14 2022-03-08 Daio Paper Corporation Absorbent article

Also Published As

Publication number Publication date
JP2007014705A (ja) 2007-01-25

Similar Documents

Publication Publication Date Title
JP4792249B2 (ja) 体液吸収性物品
JP4364247B2 (ja) 吸収性物品
US10842688B2 (en) Absorbent article with elevated skin-contacting topsheet layer
CN108291346B (zh) 改进的采集分布层合物
US11351070B2 (en) Absorbent article for incontinence
JP2018506396A (ja) 吸収性物品
JP5346537B2 (ja) 吸収性物品
JP6743335B2 (ja) 吸収性物品
JP4804321B2 (ja) 吸収性物品
JP4916282B2 (ja) 吸収性物品
JP3930741B2 (ja) 吸収性物品
JP2020156754A (ja) 吸収性物品
JP2008093290A (ja) 吸収性物品
JP2003265529A (ja) 使い捨て紙おむつ
JP7039798B2 (ja) 吸収性物品
JP7588472B2 (ja) 吸収性物品用表面シート及びこれを備える吸収性物品
JP7279285B2 (ja) 吸収性物品
JP7607276B2 (ja) 吸収性物品
JP7338108B2 (ja) 吸収性物品
JP7424848B2 (ja) 吸収性物品
JP7278874B2 (ja) 吸収性物品
JP2021065585A (ja) 吸収性物品
JP7410711B2 (ja) 吸収性物品
JP7171986B2 (ja) 吸収性物品
JP7372889B2 (ja) 吸収性物品

Legal Events

Date Code Title Description
A621 Written request for application examination

Free format text: JAPANESE INTERMEDIATE CODE: A621

Effective date: 20080617

A977 Report on retrieval

Free format text: JAPANESE INTERMEDIATE CODE: A971007

Effective date: 20091111

A131 Notification of reasons for refusal

Free format text: JAPANESE INTERMEDIATE CODE: A131

Effective date: 20100202

A521 Written amendment

Free format text: JAPANESE INTERMEDIATE CODE: A523

Effective date: 20100405

A131 Notification of reasons for refusal

Free format text: JAPANESE INTERMEDIATE CODE: A131

Effective date: 20101102

A521 Written amendment

Free format text: JAPANESE INTERMEDIATE CODE: A523

Effective date: 20101224

TRDD Decision of grant or rejection written
A01 Written decision to grant a patent or to grant a registration (utility model)

Free format text: JAPANESE INTERMEDIATE CODE: A01

Effective date: 20110624

A01 Written decision to grant a patent or to grant a registration (utility model)

Free format text: JAPANESE INTERMEDIATE CODE: A01

A61 First payment of annual fees (during grant procedure)

Free format text: JAPANESE INTERMEDIATE CODE: A61

Effective date: 20110725

FPAY Renewal fee payment (event date is renewal date of database)

Free format text: PAYMENT UNTIL: 20140729

Year of fee payment: 3

R150 Certificate of patent or registration of utility model

Ref document number: 4792249

Country of ref document: JP

Free format text: JAPANESE INTERMEDIATE CODE: R150

Free format text: JAPANESE INTERMEDIATE CODE: R150

R250 Receipt of annual fees

Free format text: JAPANESE INTERMEDIATE CODE: R250

R250 Receipt of annual fees

Free format text: JAPANESE INTERMEDIATE CODE: R250

R250 Receipt of annual fees

Free format text: JAPANESE INTERMEDIATE CODE: R250

R250 Receipt of annual fees

Free format text: JAPANESE INTERMEDIATE CODE: R250

R250 Receipt of annual fees

Free format text: JAPANESE INTERMEDIATE CODE: R250

LAPS Cancellation because of no payment of annual fees