JP4788906B2 - バルブステムシール - Google Patents

バルブステムシール Download PDF

Info

Publication number
JP4788906B2
JP4788906B2 JP2006140069A JP2006140069A JP4788906B2 JP 4788906 B2 JP4788906 B2 JP 4788906B2 JP 2006140069 A JP2006140069 A JP 2006140069A JP 2006140069 A JP2006140069 A JP 2006140069A JP 4788906 B2 JP4788906 B2 JP 4788906B2
Authority
JP
Japan
Prior art keywords
fluid side
sealing fluid
valve stem
fitting
inner peripheral
Prior art date
Legal status (The legal status is an assumption and is not a legal conclusion. Google has not performed a legal analysis and makes no representation as to the accuracy of the status listed.)
Expired - Fee Related
Application number
JP2006140069A
Other languages
English (en)
Other versions
JP2007309442A (ja
Inventor
貢 小林
Current Assignee (The listed assignees may be inaccurate. Google has not performed a legal analysis and makes no representation or warranty as to the accuracy of the list.)
Nok Corp
Original Assignee
Nok Corp
Priority date (The priority date is an assumption and is not a legal conclusion. Google has not performed a legal analysis and makes no representation as to the accuracy of the date listed.)
Filing date
Publication date
Application filed by Nok Corp filed Critical Nok Corp
Priority to JP2006140069A priority Critical patent/JP4788906B2/ja
Priority to EP07009573A priority patent/EP1857645B1/en
Priority to AT07009573T priority patent/ATE480696T1/de
Priority to DE602007008974T priority patent/DE602007008974D1/de
Publication of JP2007309442A publication Critical patent/JP2007309442A/ja
Application granted granted Critical
Publication of JP4788906B2 publication Critical patent/JP4788906B2/ja
Expired - Fee Related legal-status Critical Current
Anticipated expiration legal-status Critical

Links

Images

Classifications

    • FMECHANICAL ENGINEERING; LIGHTING; HEATING; WEAPONS; BLASTING
    • F01MACHINES OR ENGINES IN GENERAL; ENGINE PLANTS IN GENERAL; STEAM ENGINES
    • F01LCYCLICALLY OPERATING VALVES FOR MACHINES OR ENGINES
    • F01L3/00Lift-valve, i.e. cut-off apparatus with closure members having at least a component of their opening and closing motion perpendicular to the closing faces; Parts or accessories thereof
    • F01L3/08Valves guides; Sealing of valve stem, e.g. sealing by lubricant
    • FMECHANICAL ENGINEERING; LIGHTING; HEATING; WEAPONS; BLASTING
    • F16ENGINEERING ELEMENTS AND UNITS; GENERAL MEASURES FOR PRODUCING AND MAINTAINING EFFECTIVE FUNCTIONING OF MACHINES OR INSTALLATIONS; THERMAL INSULATION IN GENERAL
    • F16JPISTONS; CYLINDERS; SEALINGS
    • F16J15/00Sealings

Landscapes

  • Engineering & Computer Science (AREA)
  • General Engineering & Computer Science (AREA)
  • Mechanical Engineering (AREA)
  • Sealing With Elastic Sealing Lips (AREA)
  • Temperature-Responsive Valves (AREA)
  • Lift Valve (AREA)

Description

本発明は、内燃機関の吸排気を行うバルブが配設されているバルブステムをシールするバルブステムシールに関するものである。
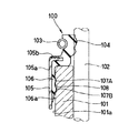
従来、内周面に軸方向に並ぶ複数の嵌合突起が形設されている内周嵌合部を取付環の内周側に設けたバルブステムシールとして、図3及び図4に示すようなものが知られている(下記特許文献1及び2を参照)。
このバルブステムシール100は、バルブステムガイド101の外周面101aの端部に嵌合状態で装着固定されるものであって、バルブステムガイド101の外側に向かって延び外周側に緊迫力を付与するガータスプリング103を備えるシールリップ104と、軸方向に延びる円筒部105aの一端から内径方向に延びるフランジ部105bにシールリップ104が配設され断面形状が略L字形状の金属製の取付環105と、取付環105の円筒部105aの内周側にあってシールリップ104と一体成形されているゴム状弾性体の内周嵌合部106とを備えている。更に、内周嵌合部106の内周面106aには軸方向に並ぶ複数の嵌合突起107A,107Bが形設されている。この嵌合突起107A,107Bのうち密封流体側に位置する密封流体側嵌合突起107Aは、内周嵌合部106がバルブステムガイド101に嵌合することで外周面101aに圧接されて密封性が確保され、反密封流体側嵌合突起107Bは、バルブステムガイド101の外周面101aに形設されている凹部108と嵌合し、バルブステムガイド101からのバルブステムシール100の抜け止めを図っている。
しかしながら、嵌合突起107A,107Bは、手組み作業等で容易に装着することができるように接触面積が小さい突起形状とした低嵌合力設定としているので、バルブステムガイド101へバルブステムシール100を手組み作業で装着する際、嵌合力が小さく、また、嵌合突起107A,107Bが形設されている内周嵌合部106の外周側が金属製の取付環105で被覆されているため、反密封流体側嵌合突起107Bがバルブステムガイド101に形設されている凹部108と嵌合したことを手の感覚で確認することが困難であり、装着後に再確認が必要となり作業性が悪いとの問題点があった。なお、嵌合力を大幅に上げることは、手組み作業が困難となり有効な対策とはなり得なかった。
特開平11−351402号公報 特開2003−343733公報
本発明は上述の問題点を解決するためになされたものであって、その目的とするところは、バルブステムシールをバルブステムガイドに装着させるときに手組み作業でできるように嵌合力が小さく、しかも内周嵌合部の内周面に形設されている嵌合突起がバルブステムガイドの外周面の凹部に嵌合したことを手の感覚で確認することができるバルブステムシールを提供することである。
上記目的を達成するため、本発明の請求項1に係るバルブステムシールは、金属製の取付環と、この取付環に設けられてバルブステムをシールするシールリップと、内周面に軸方向に並ぶ密封流体側嵌合突起及び反密封流体側嵌合突起が形設されているゴム状弾性体の内周嵌合部とを備えるバルブステムシールにおいて、前記内周嵌合部は、前記取付環の内周側に位置して内周面に密封流体側嵌合突起が形設されている密封流体側内周嵌合部と、密封流体側内周嵌合部より厚肉で前記取付環の反密封流体側端部より軸方向外側へ延びる反密封流体側内周嵌合部とからなり、バルブステムガイドの外周面に形設されている凹部に嵌合する反密封流体側嵌合突起が、前記反密封流体側内周嵌合部の内周面に形成されていることを特徴とするものである。
本発明は、以下の効果を奏する。
すなわち、上記構成を備えた本発明の請求項1に係るバルブステムシールは、反密封流体側内周嵌合部が取付環の反密封流体側端部より軸方向外側へ延びていて外周面が取付環で被覆されていないために肉厚を密封流体側内周嵌合部より厚くし剛性を上げることができるので内周面に形設されている反密封流体側嵌合突起がバルブステムガイドの外周面に形設されている凹部に嵌合するときの荷重差(荷重低下量)を大きくすることができ、手組み作業時の嵌合状態の装着感(決まり感)を手の感覚として確認できるので再確認の作業が不要となり作業性を向上することができる。
しかも、反密封流体側内周嵌合部の肉厚を厚くして剛性を上げても外周面は金属製の取付環で被覆されていないので、内周嵌合部をバルブステムガイドへ外挿する過程で、反密封流体側内周嵌合部は外周側へ屈曲することができ、組み付け作業時の嵌合力が大きくなり手組み作業が困難になることを防止することができる。
また、密封流体側内周嵌合部の内周面に形設されている密封流体側嵌合突起がバルブステムガイドの外周面に密封流体側内周嵌合部の嵌合力で圧接されるとき、密封流体側内周嵌合部の外周側は金属製の取付環で被覆されているのでその嵌合力も作用し、バルムステムガイドとの密封性は従来通り確保することができる。
以下に図面を参照して、この発明の好適な実施形態を例示して説明する。
図1は、本発明を適用したバルブステムシールを装着した状態を示す断面図であり、図2は、図1におけるバルブステムシール単体の断面図である。
本発明に係るバルムステムシール1は、内燃機関の吸排気を行うバルブが反密封流体側に配設されているバルブステム10の周面をシールするもので、バルブステムガイド20に嵌合により装着されており、シールリップ30と、取付環40と、内周嵌合部50とを備えている。
シールリップ30は、ゴム状弾性体で成形されていて後述する取付環40の端部に配設されており、リップ基部31が取付環40に接着し、そのリップ基部31からバルブステムガイド20と反対側へ向かって延びるリップ先端部32がバルブステム10と摺動自在に密接するようになっていて、リップ先端部32の外周側には径方向に緊迫力を付与するガータスプリング33が装着されている。
取付環40は、金属で成形されており、円筒部41と、その円筒部41の一端から内径方向に延びる内径フランジ部42と、円筒部41の他端である反密封流体側の端部から外径方向に延びる外径フランジ部43とを備えていて、内径フランジ部42にリップ基部31が被覆するように接着しており、円筒部41はバルブステムガイド20の外周面21に外挿されるようになっている。
内周嵌合部50は、ゴム状弾性体によりシールリップ30と一体成形されており、取付環40の円筒部41の内周側に配設されていて内周面51aに密封流体側嵌合突起60Aが形設されている密封流体側内周嵌合部51と、取付環40の外径フランジ部43より軸方向外側へ延び、密封流体側内周嵌合部51と一体成形されている反密封流体側内周嵌合部52とから形成されている。
反密封流体側内周嵌合部52は、内周面52aにバルブステムガイド20の外周面21に形設されている凹部22と嵌合する反密封流体側嵌合突起60Bが形設されており、外周面52bは取付環40で被覆されていないので密封流体側内周嵌合部51より外径方向に厚肉になっている。
上記のように構成されたバルブステムシール1は、バルブステムガイド20の外周面21に内周嵌合部50を嵌合させることで装着する。この場合に、反密封流体側嵌合突起60Bが形設されている反密封流体側内周嵌合部52は外周面52bが取付環40で被覆されていないので密封流体側内周嵌合部51より外径方向に厚肉として剛性を上げることが可能となり、バルブステムガイド20の外周面21に形設されている凹部22に反密封流体側嵌合突起60Bが嵌合するときの荷重差(荷重低下量)を大きくすることが可能となる。よって、手組み作業時に凹部22に反密封流体側嵌合突起60Bが嵌合するときの装着感(決まり感)を手の感触として確認することが可能となり、装着後の位置再確認作業が不要となり、作業性の改善を図ることが可能となる。
また、反密封流体側内周嵌合部52を厚肉にして剛性を上げても外周面52bが金属製の取付環40で被覆されていないので、内周嵌合部50をバルブステムガイド20へ外挿する過程で、反密封流体側内周嵌合部52は外周側へ屈曲することができ、内周面52aに形設されている反密封流体側嵌合突起60Bをバルブステムガイド20に形設されている凹部22に嵌合させる場合であっても手組み作業にて行うことが可能となる。
さらに、密封流体側嵌合突起60Aが形設されている密封流体側内周嵌合部51は、取付環40の円筒部41の内周側に配設されているので、密封流体側内周嵌合部51をバルブステムガイド20の外周面21に嵌合させることで内周面51aに形設されている密封流体側嵌合突起60Aを圧接させたときの密封性は、取付環40の嵌合力も作用するので従来通り確保することが可能となる。
本発明に係るバルブステムシールの装着状態を示す断面図 図1におけるバルブステムシール単体の断面図 従来例に係るバルブステムシールの装着状態を示す断面図 図3におけるバルブステムシール単体の断面図
1 バルブステムシール
10 バルブステム
20 バルブステムガイド
22 凹部
30 シールリップ
31 リップ基部
32 リップ先端部
33 ガータスプリング
40 取付環
41 円筒部
42,43 フランジ部
50,51,52 内周嵌合部
51a,52a 内周面
21,52b 外周面
60A 密封流体側嵌合突起
60B 反密封流体側嵌合突起

Claims (1)

  1. 金属製の取付環と、この取付環に設けられてバルブステムをシールするシールリップと、内周面に軸方向に並ぶ密封流体側嵌合突起及び反密封流体側嵌合突起が形設されているゴム状弾性体の内周嵌合部とを備えるバルブステムシールにおいて、
    前記内周嵌合部は、前記取付環の内周側に位置して内周面に密封流体側嵌合突起が形設されている密封流体側内周嵌合部と、密封流体側内周嵌合部より厚肉で前記取付環の反密封流体側端部より軸方向外側へ延びる反密封流体側内周嵌合部とからなり、バルブステムガイドの外周面に形設されている凹部に嵌合する反密封流体側嵌合突起が、前記反密封流体側内周嵌合部の内周面に形成されていることを特徴とするバルブステムシール。
JP2006140069A 2006-05-19 2006-05-19 バルブステムシール Expired - Fee Related JP4788906B2 (ja)

Priority Applications (4)

Application Number Priority Date Filing Date Title
JP2006140069A JP4788906B2 (ja) 2006-05-19 2006-05-19 バルブステムシール
EP07009573A EP1857645B1 (en) 2006-05-19 2007-05-12 Valve stem seal
AT07009573T ATE480696T1 (de) 2006-05-19 2007-05-12 Ventilschaftabdichtung
DE602007008974T DE602007008974D1 (de) 2006-05-19 2007-05-12 Ventilschaftabdichtung

Applications Claiming Priority (1)

Application Number Priority Date Filing Date Title
JP2006140069A JP4788906B2 (ja) 2006-05-19 2006-05-19 バルブステムシール

Publications (2)

Publication Number Publication Date
JP2007309442A JP2007309442A (ja) 2007-11-29
JP4788906B2 true JP4788906B2 (ja) 2011-10-05

Family

ID=38255025

Family Applications (1)

Application Number Title Priority Date Filing Date
JP2006140069A Expired - Fee Related JP4788906B2 (ja) 2006-05-19 2006-05-19 バルブステムシール

Country Status (4)

Country Link
EP (1) EP1857645B1 (ja)
JP (1) JP4788906B2 (ja)
AT (1) ATE480696T1 (ja)
DE (1) DE602007008974D1 (ja)

Families Citing this family (2)

* Cited by examiner, † Cited by third party
Publication number Priority date Publication date Assignee Title
JP2009264415A (ja) * 2008-04-22 2009-11-12 Nok Corp バルブステムシールの装着構造
JP7428158B2 (ja) * 2021-04-01 2024-02-06 株式会社豊田自動織機 バルブステムシール構造

Family Cites Families (12)

* Cited by examiner, † Cited by third party
Publication number Priority date Publication date Assignee Title
JPS499937U (ja) * 1972-05-01 1974-01-28
IT7967950A0 (it) * 1979-05-07 1979-05-07 Supertex Spa Gruppo costituito da guarnizione di tenuta per steli di valvole e da scodellino di appoggio molle
JPS6117105U (ja) * 1984-07-03 1986-01-31 株式会社 荒井製作所 バルブステムシ−ル
JPH023001U (ja) * 1988-06-20 1990-01-10
IT227530Y1 (it) * 1992-04-14 1997-12-15 Rft Spa Guarnizione di tenuta per uno stelo scorrevole contro l'azione di mez- zi elastici, in particolare per uno stelo valvola di un motore a combu
JP3155483B2 (ja) * 1997-01-23 2001-04-09 株式会社荒井製作所 バルブステムシール
JP3890750B2 (ja) 1998-06-09 2007-03-07 Nok株式会社 バルブステムシール
DE19949248A1 (de) * 1999-10-13 2001-04-19 Freudenberg Carl Fa Ventilschaftabdichtung
JP4310596B2 (ja) * 2000-03-14 2009-08-12 Nok株式会社 オイルシール
JP4092548B2 (ja) 2002-05-24 2008-05-28 Nok株式会社 バルブステムシール
JP2004068888A (ja) * 2002-08-05 2004-03-04 Nok Corp バルブステムシール
JP2007298143A (ja) * 2006-05-02 2007-11-15 Nok Corp オイルシール

Also Published As

Publication number Publication date
EP1857645B1 (en) 2010-09-08
DE602007008974D1 (de) 2010-10-21
ATE480696T1 (de) 2010-09-15
EP1857645A2 (en) 2007-11-21
EP1857645A3 (en) 2009-12-16
JP2007309442A (ja) 2007-11-29

Similar Documents

Publication Publication Date Title
JP5045869B2 (ja) リップタイプシール
EP1854965B1 (en) Oil seal
JP4788906B2 (ja) バルブステムシール
EP2236776B1 (en) Valve stem seal
JP4853636B2 (ja) バルブステムシール
JP4743380B2 (ja) オイルシール
JPH11173423A (ja) 密封装置
JP4581309B2 (ja) バルブステムシール
JP7180573B2 (ja) インジェクタ取付構造
JP2001263159A (ja) 内燃機関のシリンダヘッドカバー用オイルシール
JP2007024205A (ja) オイルシール
JP2006300204A (ja) ボールジョイント
JP2008223996A (ja) 転がり軸受の密封装置
JP3960139B2 (ja) バルブステムシール
JPH0810713Y2 (ja) 密封装置
JP2002310305A (ja) 密封装置
JP2013170561A (ja) エンジンの伝動ケースの密封装置
JPH0835563A (ja) 往復動用密封装置
JP4299821B2 (ja) 密封装置
JP4600658B2 (ja) ガイド
JP2003097716A (ja) 車軸用密封装置
JP2005009585A (ja) 密封装置
JPH073089Y2 (ja) 密封装置
JP6868448B2 (ja) バルブステムシール
JP2020190278A (ja) バルブステムシール

Legal Events

Date Code Title Description
A621 Written request for application examination

Free format text: JAPANESE INTERMEDIATE CODE: A621

Effective date: 20090423

A521 Request for written amendment filed

Free format text: JAPANESE INTERMEDIATE CODE: A523

Effective date: 20100531

A977 Report on retrieval

Free format text: JAPANESE INTERMEDIATE CODE: A971007

Effective date: 20101008

A131 Notification of reasons for refusal

Free format text: JAPANESE INTERMEDIATE CODE: A131

Effective date: 20101020

A521 Request for written amendment filed

Free format text: JAPANESE INTERMEDIATE CODE: A523

Effective date: 20101214

TRDD Decision of grant or rejection written
A01 Written decision to grant a patent or to grant a registration (utility model)

Free format text: JAPANESE INTERMEDIATE CODE: A01

Effective date: 20110622

A01 Written decision to grant a patent or to grant a registration (utility model)

Free format text: JAPANESE INTERMEDIATE CODE: A01

A61 First payment of annual fees (during grant procedure)

Free format text: JAPANESE INTERMEDIATE CODE: A61

Effective date: 20110705

FPAY Renewal fee payment (event date is renewal date of database)

Free format text: PAYMENT UNTIL: 20140729

Year of fee payment: 3

R150 Certificate of patent or registration of utility model

Ref document number: 4788906

Country of ref document: JP

Free format text: JAPANESE INTERMEDIATE CODE: R150

Free format text: JAPANESE INTERMEDIATE CODE: R150

R250 Receipt of annual fees

Free format text: JAPANESE INTERMEDIATE CODE: R250

R250 Receipt of annual fees

Free format text: JAPANESE INTERMEDIATE CODE: R250

R250 Receipt of annual fees

Free format text: JAPANESE INTERMEDIATE CODE: R250

R250 Receipt of annual fees

Free format text: JAPANESE INTERMEDIATE CODE: R250

LAPS Cancellation because of no payment of annual fees