JP4713232B2 - ブレーキドラム交換用機器 - Google Patents

ブレーキドラム交換用機器 Download PDF

Info

Publication number
JP4713232B2
JP4713232B2 JP2005174867A JP2005174867A JP4713232B2 JP 4713232 B2 JP4713232 B2 JP 4713232B2 JP 2005174867 A JP2005174867 A JP 2005174867A JP 2005174867 A JP2005174867 A JP 2005174867A JP 4713232 B2 JP4713232 B2 JP 4713232B2
Authority
JP
Japan
Prior art keywords
drum
brake drum
mounting plate
wheel
pair
Prior art date
Legal status (The legal status is an assumption and is not a legal conclusion. Google has not performed a legal analysis and makes no representation as to the accuracy of the status listed.)
Expired - Lifetime
Application number
JP2005174867A
Other languages
English (en)
Other versions
JP2006347316A (ja
Inventor
忠司 萩谷
彰裕 長崎
Original Assignee
安全自動車株式会社
長崎ジャッキ株式会社
Priority date (The priority date is an assumption and is not a legal conclusion. Google has not performed a legal analysis and makes no representation as to the accuracy of the date listed.)
Filing date
Publication date
Application filed by 安全自動車株式会社, 長崎ジャッキ株式会社 filed Critical 安全自動車株式会社
Priority to JP2005174867A priority Critical patent/JP4713232B2/ja
Publication of JP2006347316A publication Critical patent/JP2006347316A/ja
Application granted granted Critical
Publication of JP4713232B2 publication Critical patent/JP4713232B2/ja
Anticipated expiration legal-status Critical
Expired - Lifetime legal-status Critical Current

Links

Images

Landscapes

  • Handcart (AREA)
  • Automobile Manufacture Line, Endless Track Vehicle, Trailer (AREA)

Description

本発明は自動車のブレーキドラムの交換と運搬をする場合に、既存の昇降手段を利用できるようにしたブレーキドラム交換用機器に関する。
従来、自動車の点検などで、タイヤ付ホイールとブレーキドラムの交換と運搬をする場合に使用するホイールドーリとして、例えば特許文献1のように両側に配置した一対のフレームの後端を連結材に連結したベースフレームを形成し、該ベースフレームには車輪を設け、前記連結材の両側には支柱を立設し、該支柱に昇降体を昇降可能に設け、該両昇降体にタイヤ付ホイール(以下ホイールという)を支承する支承アームを、左右に所定の長さを有した回転軸に回動可能に、かつ、回転軸に案内され左右にスライド可能に設け、駆動装置により前記支承アームを昇降するようにしたものが知られている(特許文献1参照)。
また、ホイールを外した状態のブレーキドラムを交換、運搬する場合に使用するドラムドーリとして、一対の支柱の下端を連結部で連結してコの字に形成し、該連結部にレバーハンドルを備え、両端には車輪を設け、前記一対の支柱間に取付板を設け、該取付板にブレーキドラムのホイール取付ねじを固定する穴を設けてブレーキドラムを支持し、前記車輪を起倒中心として、取付板に取付けたブレーキドラムを起伏可能にして運搬するようにしたドラムドーリが知られている。
特開2005−132195号公報
しかし、昨今では、自動車の検査基準の強化により、まずタイヤ付のホイールを外し、その後にブレーキドラムを点検してからブレーキドラムを外す工程等が必要となっている。このような工程において、従来においては、ホイールの昇降機器とブレーキドラムの昇降機器は、それぞれ専用機器であるため、ホイールとブレーキドラムの交換、運搬にはそれぞれの機器を用意する必要があった。そのため、設備費用が嵩むことに加え、大きな収納空間(保管スペース)が必要となっていた。
そこで、本発明は既存の昇降機器、例えばホイールドーリを利用して、これにブレーキドラム交換用機器をアタッチメントとして取付けるようにして、ブレーキドラムの脱着を可能とし、新規にドラムドーリの専用機を購入する必要をなくし、設備投資が嵩むことをなくす他、工場内での機器の保管スペースも少なくすることができるブレーキドラム交換用機器を提供することを目的とするものである。
前記の課題を解決するために、請求項1記載の発明は、一対の支承アームを相互に並行に配置したホイールドーリに着脱可能に取付けるブレーキドラム交換用機器であって、
前記ホイールドーリの一対の支承アームに抜き差し可能に取付けるパイプ状の一対の取付部と、回転軸に前後方向に回転可能に備えたドラム取付板と、該ドラム取付板の前後方向の回転角度を規制する規制手段を設けた
ことを特徴とするものである。
請求項2記載の発明は、一対の支承アームを相互に並行に配置したホイールドーリに着脱可能に取付けるブレーキドラム交換用機器であって、
前記ホイールドーリの一対の支承アームに抜き差し可能に取付けるパイプ状の一対の取付部と、該一対の取付部間に架設したフレームと、該フレームに設けた回転軸と、該回転軸を中心として前後方向に回転可能に立設されて前面側にブレーキドラムを取付けるドラム取付板と、該ドラム取付板の前後方向の回転角度を規制する規制手段と、ドラム取付板の略起立状態から前方への倒伏を阻止するロック手段を有することを特徴とするものである。
請求項3記載の発明は、請求項1又は2記載の発明において、前記ドラム取付板に、一対のドラム取付用の長穴を、ドラム取付板の中央を中心として左右対称的に傾斜して設け、該両長穴にブレーキドラムのホイール取付ねじを挿通するようにしたものである。
請求項1記載の発明によれば、整備工場には通常ホイールドーリを備えているため、本発明のブレーキドラム交換用機器を工場に常備されている既存のホイールドーリのアタッチメントとして使用し、ブレーキドラムの交換、脱着、点検ができる。
更に、ドラム取付板を前後方向に回転させることができるため、ブレーキドラムの点検、搬送作業が容易になる。
また、ホイールドーリにブレーキドラム交換用機器を脱着することで、ホイールドーリとドラムドーリの双方の機能を発揮でき
請求項3記載の発明によれば、ドラム取付板に長穴を傾斜して形成したことにより、ホイール取付ねじの位置が異なる多種のブレーキドラムにも対応することができる。
本発明を実施するための最良の形態を図1乃至図23に示す実施例に基づいて説明する。
まずホイールドーリ1について説明する。
図1乃至図4に示すように、ホイールドーリ1を構成する一対のフレーム2,3は、同一平面内において略平行に配置され、該両フレーム2,3の後部上面には支柱4,5が固着されて立設されている。該両フレーム2,3間には連結材6が架設されており、前記両フレーム2,3と連結材6は、上方から見てコ字状に配置されている。
前記両フレーム2,3の前端(図1において右側を前側とする)には前車輪10,11が付設され、前記連結材6の両側部の後部に固設した車輪取付材8,9には後車輪12,13が付設されている。
連結材6の上面には取付台14が固設されており、該取付台14上に後述する支承アームの駆動機構15が搭載されている。該駆動機構15は、油圧シリンダ16と、操作部17と、チェーン18により構成されている。
操作部17を上下に移動させることにより、油圧シリンダ16のロッド16aが昇降するようになっている。該ロッド16aの上端部にはチェーンホイール16bが回転可能に設けられている。チェーン18の一端は取付台14に固定され、他端は連結材6の前方に連結材6と略並行に設けられた後述する連結枠19に固着され、チェーン18の中間は前記チェーンホイール16bに架設している。
前記両支柱4,5には、昇降部材20,21が支柱4,5に沿って昇降可能に設けられている。該両昇降部材20,21間には連結枠19が固設されている。該連結枠19の左右端部には、その前方に突出する腕板20a,21aにより回転軸24,25が固設されており、該回転軸24,25は左右方向に水平に配置されている。該回転軸24,25には昇降する支承部である支承アーム27,28が回動可能に連結されている。該一対の支承アーム27、28は同一平面内において相互に並行に配置され、回転軸24,25に対して略直角に配設されている。また、各支承アーム27,28の左右幅は、各回転軸24,25の左右幅よりも短く設定されており支承アーム27,28が左右方向に移動することができるようになっている。支承アーム27,28の地面に対する角度は、角度調整ネジ29により調整することができるようになっており、角度調整ネジ29を締め付けることにより、支承アーム27,28が回転軸24,25を中心として前側が上昇するようになっている。
したがって、前記昇降部材20,21と連結枠19と支承アーム27,28は一体的に支柱4,5に沿って昇降するようになっている。
連結枠19に連結された前記チェーン18を前記油圧シリンダ16によって昇降することにより、支承アーム27,28を一体的に昇降し、連結枠19を水平状態で昇降するようになっている。
次にブレーキドラム交換用機器30について図5乃至図11により説明する。
図に示すように、ブレーキドラム交換用機器30には昇降機器との取付部である一対の取付パイプ32,33が、前後方向に配置されており、かつ、該取付パイプ32,33は相互に同一平面上において平行に配置されている。
前記取付パイプ32,33の内径は、前記ホイールドーリ1を構成する両支承アーム27,28を取付パイプ32,33に挿入できる径に形成され、該取付パイプ32,33に支承アーム27,28を抜き差し可能になっている。
両取付パイプ32,33間の間隔は、前記支承アーム27,28を挿入できる幅に設定され、該両取付パイプ32,33間に前方フレームパイプ34と後方フレームパイプ35が架設されている。両フレームパイプ34,35には腕板36,37が前上方に向って突設されており、その両腕板36,37の先端には、後述するブレーキドラム取付回転台40の回転台回転軸38,39が固設されている。
回転台回転軸38,39には、ブレーキドラム取付回転台40を構成する、支持片42,43が回動可能に支持されており、該支持片42,43は、への字に形成され前側には支承片フレーム44を有し、後側にはブレーキドラムを固着するドラム取付板45が固設されている。
該ドラム取付板45には図6及び図7に示すように、左右方向の中央部で、かつ、上半部に、上方が略V字状に開口する空間部(切欠部)48が設けられ、該空間部48を挟んで左右対称にドラム取付用の長穴46,47が形成されている。該長穴46,47は、外側ほど上方へ傾斜するように形成され、内径は、ブレーキドラムに突設したホイール取付ねじ(ボルト)51が挿通する径に形成されている。長穴46,47の下端部中心相互間の間隔L1は172mm、長穴46,47の上端部中心相互の間隔L2は218mmに設定されている。このように長穴46,47を形成することにより、径の異なるブレーキドラムのホイール取付ねじ(ボルト)51を挿通できるようになっている。
すなわち、長穴46,47は、径の異なる数種のブレーキドラム50に取付けられているホイール取付ねじ51の配置円周上に沿うように形成され、ホイール取付ねじ51を挿通してナットで固定できるようになっている。また、前記空間部48の付け根に位置する部分には、略四角形状の空間部が形成されており、このような空間部48により、この空間部48にブレーキドラムにおける最下位のホイール取付ねじ51が配置され、そのホイール取付ねじ51がドラム取付板45に当接しないようになっている。
また、ドラム取付板45の支持片42,43が固設された反対面には、ロック手段である横転防止ロック部材52が装着されており、該横転防止ロック部材52は、ドラム取付板45に設けた回転ピン53を回転軸として回動可能となっている。
該横転防止ロック部材52の下部にはフック52aが形成され、前記後方フレームパイプ35に後方から嵌合可能となっている。該フック52aの基部には、ドラム取付板45と接触する接触部52bが形成されている。また、中間部にはロックハンドル52cが後方へ突出するように突設され、該ロックハンドル52cを上方へ引き上げると、前記回転ピン53を軸としてフック52aが後方へ揺動し、後方フレームパイプ35からフック52aを外すことができる。更に、上部には突部52dが形成されており、該突部52dをドラム取付板45側へ移動させると、前記と同様に回転ピン53を軸としてフック52aが後方へ揺動し後方フレームパイプ35から外すことができる。
また、横転防止ロック部材52の上部に位置して円筒状のハンドル差込パイプ54が配置されており、該ハンドル差込パイプ54が、その軸芯が、ドラム取付板45の後面に対して垂直になるようにして一端が固設されている。該ハンドル差込パイプ54の下面にはスリット54a(図8参照)が軸方向に形成されており、前記の横転防止ロック部材52の突部52dが、このスリット54aを通じてハンドル差込パイプ54内に挿通されている。
該ハンドル差込パイプ54内には、その後方開口端から図20に示すような把手を有する長尺なハンドル55が挿入可能となっており、ハンドル55をハンドル差込パイプ54内に挿入すると、前記突部52dにハンドル55の端部が係止し、前記突部52dをドラム取付板45側に向って押し移動するようになっている。この突部52dの前方への移動により、横転防止ロック部材52が回転ピン53を軸として回転し、フック52aを後方フレーム35から外すことができる。
前記の構成により、ブレーキドラム交換用機器30は、その回転台回転軸38,39を軸にしてドラム取付回転台40を回転することができる構造になっている。
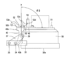
また、図9に示すように、フック52aが後方フレームパイプ35に嵌合している状態では、通常状態として、ドラム取付板45が略垂直に起立した姿勢となる。この垂直状態では、図5に示すように、横転防止ロック部材52の接触部52bはドラム取付板45から離間している。そして、この状態からドラム取付板45を前方へ回転すると、横転防止ロック部材52の接触部52bがドラム取付板45に当接し、回転台回転軸38,39と後方フレームパイプ35が不動であることから、ドラム取付板45は図9に示すように水平に対して直角な鉛直線Xに対して前方へ若干の角度θ1分傾斜し、その傾斜が保持されるようになっている。このθ1は前方に約3度傾斜するように設定されているが、このθ1の角度は3度に限らず所望に設定するものである。
また、フック52aを後方フレームパイプ35から外した状態では、図10に示すように、ドラム取付板45を、回転台回転軸38,39を中心として後方へ回転することができる。この場合、後方へは、支持片42,43の後端ストッパ部42a,43aが、前方フレームパイプ35に接触する位置まで後方へ回転でき、この後方への回転角θ2は約10度に設定されている。このθ2の角度は10度に限らず、所望に設定するものである。
また、前方へは図11に示すように、支持片42,43の前端ストッパ部42b,43bが、前方フレームパイプ34に接触するまで回転できる。この前方への回転角θ3は、ドラム取付板45が図11に示すように略水平状態になる約90度に設定されている。このθ3の角度は90度に限らず、所望に設定するものである。
図中、56はハンドル55の不使用時に、このハンドル55を立て置きするハンドル置きパイプである。
次に前記のホイールドーリ1とブレーキドラム交換用機器30の使用方法について説明する。
整備工場などにおいて、大型車、中型車のトラック等のタイヤ付ホイール(車輪)を交換する場合には、そのトラックをリフトにより所定の高さまで持ち上げる。
そして、ホイールドーリ1において、油圧シリンダ16を作動して昇降部材20,21を上昇させ、両支承アーム27,28を車輪の真下に上昇させる。そして、外した車輪を両支承アーム27,28間に載せ、ホイールドーリ1を後退させた後、油圧シリンダ16により両支承アーム27,28を下降させ、車輪を下降する。
前記作業の後、ブレーキドラム50を点検又は交換する場合には、ブレーキドラム交換用機器30の取付パイプ32,33に、ホイールドーリ1の支承アーム27,28を差込み、ホイールドーリ1にブレーキ交換用機器30を装備する。また、フック52aを後部フレームパイプ35に嵌合係止して、ドラム取付板45を図9の状態にしておく。
そして、前記と同様にホイールドーリ1の両支承アーム27,28を、ブレーキドラム50の下方に位置させて上昇させて、支承アーム27,28に載置されたブレーキドラム交換用機器30のドラム取付板45を、車両に付いたままのブレーキドラム50の正面へ配置する。
そして、ブレーキドラム50における複数のホイール取付ねじ51のうちの一個を最下端に位置させ、その最下端のホイール取付ねじ51を図13及び図14に示すように、ドラム取付板45の空間部48に位置させる。そして、ホイールドーリ1を前進させて、最下端のホイール取付ねじ51を空間部48に挿通し、両側に位置する2本のホイール取付ねじ51を、ドラム取付用の長穴46,47に1本ずつ挿入しナットで締め取り付ける。
そして、図12に示すように、ハンドル55をハンドル差込パイプ54に差込み、フック52aを後方フレームパイプ35から外して横転防止ロック部材52を解除させ、車体から取外し可能になっているブレーキドラム50を、ドラム取付回転台40を若干前後方に傾斜させて車両から取外す。
そして、ホイールドーリ1の支承アーム27,28を下降して、ブレーキドラム50を下降する。
ブレーキドラム50の点検を行なう場合は、図16及び図22に示すように、後端ストッパ部42a,43aが前方フレームパイプ34に当接するまで回転させ後方に傾けて行ない、ブレーキドラム50を安定した支持状態にして点検する。その点検終了時には前記と逆の手順で車両に取付ける。
ブレーキドラム50を交換する場合は、前記のように下降した図16、図22の状態から、ハンドル55をハンドル差込パイプ54に差込み横転防止ロック部材52を解除して、ドラム取付回転台40のドラム取付板45を回転軸39を中心として図17及び図23に示すように、前方に回転させ、ブレーキドラム50を、その車両側端面50aを地上に向けて地上へ降ろす。このとき長尺なハンドル55による、てこの原理によって小さな力で重いブレーキドラム50を回動して地上へ降ろすことができる。
そして、ホイール取付ねじ51に螺合されたナットを外し、ブレーキドラム50をドラム取付板45から外す。
交換する新たなブレーキドラム50を車両へ取付ける場合には、前記と逆の手順で車両に取付ける。
なお、ブレーキドラム50を車両に取付ける際、もしくは取外す際には、ハンドル55は使用しなくてもよい。
また、横転防止ロック部材52がロックされている状態でも、前記のようにドラム取付板45は垂直状態と、該垂直状態より前方への3度の傾斜の位置の間で移動ができるため、ブレーキドラム50の前面に対してドラム取付板45の角度を微調整して作業をすることができる。
また、ドラム取付回転台40を3度以上に前後に傾ける場合には、前記のロックハンドル52cを手動で上方に引き上げることで、フック52aを後方フレームパイプ35から外して横転防止ロック部材52を解除し、ドラム取付回転台40を回転させることができる。
また、ブレーキドラム50を搬送する場合には、ドラム取付板45を後方に傾斜させてブレーキドラム50を傾けることにより、ブレーキドラム50の重心がドラム取付回転台40及びホイールドーリ1の中央に移動し安定して搬送することができる。
なお、前記のように長穴46,47を形成することにより、ホイールの取付ねじ51の位置が異なる数種のブレーキドラムにも対応できる。例えば、図7に示すように、下端部中心間の間隔L1を172mm、上端部中心間の間隔L2を218mmに設定することにより、ホイール取付ねじ51の最下端の両側に位置する2本のねじピッチ間隔が218mm〜172mmであるものに対応できる。つまりホイール取付ねじ51が6本,8本,10本の各サイズのブレーキドラムを保持することができる。
また、上記以外のドラム取付ねじのピッチに使用する場合には、前記長穴46,47の位置と、間隔L1,L2を所望に設定すればよい。
以上のようであるから、既存のホイールドーリ1と、上記のブレーキドラム交換用機器30であるアタッチメントによって、車輪の脱着とホイールドラムの脱着が可能であるため、従来のように、ホイールドーリとドラムドーリの両専用機を用いるものに比べて、小規模の機器で構成することができる。整備工場は、通常ホイールドーリを備えているため、ドラムドーリ専用機を新たに購入する必要がなく、新たな設備費用が少なく済み、また工場での収納スペースも少なくすることができる。
また、ブレーキドラム交換用機器30をホイールドーリ1に搭載したり外すことで両作業が行なえるため、車輪の点検と、ブレーキドラムの交換、脱着点検が一人で行なえる。
なお、ブレーキドラム交換用機器30はホイールドーリ1一台につき、複数使用してもよく、用途に合わせて、他のブレーキドラム交換用機器30を差し換えて使用してもよい。
本発明の実施例のブレーキドラム交換用機器を搭載するホイールドーリを示す側面図。 図1の前面図。 図1の後面図。 図1の上面図。 本発明におけるブレーキドラム交換用機器にハンドルを挿入した側面図。 本発明におけるブレーキドラム交換用機器を示す前面図。 図6の後面図。 図6の上面図。 本発明におけるドラム取付回転台を前方に3度傾斜させた側面図。 本発明におけるドラム取付回転台の横転防止ロック部材を外して後方に約10度傾斜させた側面図。 本発明におけるドラム取付回転台の横転防止ロック部材を外して前方に約90度傾斜させた側面図。 図5のブレーキドラム交換用機器にブレーキドラムを取付けて載置した側面図。 図12の前面図。 図12の後面図。 図12の上面図。 図12におけるドラム取付回転台を後方に約10度傾斜させた側面図。 図12におけるドラム取付回転台を前方に約90度傾斜させた側面図。 ホイールドーリに本発明の実施例におけるブレーキドラム交換用機器を搭載して、ブレーキドラム交換用機器にブレーキドラムを載置した側面図。 図18の前面図。 図18の上面図。 図18の状態から、ブレーキドラム交換用機器とブレーキドラムを上昇させた側面図。 図18におけるドラム取付回転台を後方に約10度傾斜させた側面図。 図18におけるドラム取付回転台を前方に約90度傾斜させた側面図。
符号の説明
1 ホイールドーリ
27,28 支承アーム
30 ブレーキドラム交換用機器
32,33 取付部である取付パイプ
34 前方フレームパイプ
35 後方フレームパイプ
40 ドラム回転台
46,47 保持手段であるドラム取付長穴
50 ブレーキドラム
51 ホイール取付ねじ
52 ロック手段である横転防止ロック部材

Claims (3)

  1. 一対の支承アームを相互に並行に配置したホイールドーリに着脱可能に取付けるブレーキドラム交換用機器であって、
    前記ホイールドーリの一対の支承アームに抜き差し可能に取付けるパイプ状の一対の取付部と、回転軸に前後方向に回転可能に備えたドラム取付板と、該ドラム取付板の前後方向の回転角度を規制する規制手段を設けたことを特徴とするブレーキドラム交換用機器。
  2. 一対の支承アームを相互に並行に配置したホイールドーリに着脱可能に取付けるブレーキドラム交換用機器であって、
    前記ホイールドーリの一対の支承アームに抜き差し可能に取付けるパイプ状の一対の取付部と、該一対の取付部間に架設したフレームと、該フレームに設けた回転軸と、該回転軸を中心として前後方向に回転可能に立設されて前面側にブレーキドラムを取付けるドラム取付板と、該ドラム取付板の前後方向の回転角度を規制する規制手段と、ドラム取付板の略起立状態から前方への倒伏を阻止するロック手段を有することを特徴とするブレーキドラム交換用機器。
  3. 前記ドラム取付板に、一対のドラム取付用の長穴を、ドラム取付板の中央を中心として左右対称的に傾斜して設け、該両長穴にブレーキドラムのホイール取付ねじを挿通するようにした請求項1又は2記載のブレーキドラム交換用機器。
JP2005174867A 2005-06-15 2005-06-15 ブレーキドラム交換用機器 Expired - Lifetime JP4713232B2 (ja)

Priority Applications (1)

Application Number Priority Date Filing Date Title
JP2005174867A JP4713232B2 (ja) 2005-06-15 2005-06-15 ブレーキドラム交換用機器

Applications Claiming Priority (1)

Application Number Priority Date Filing Date Title
JP2005174867A JP4713232B2 (ja) 2005-06-15 2005-06-15 ブレーキドラム交換用機器

Publications (2)

Publication Number Publication Date
JP2006347316A JP2006347316A (ja) 2006-12-28
JP4713232B2 true JP4713232B2 (ja) 2011-06-29

Family

ID=37643608

Family Applications (1)

Application Number Title Priority Date Filing Date
JP2005174867A Expired - Lifetime JP4713232B2 (ja) 2005-06-15 2005-06-15 ブレーキドラム交換用機器

Country Status (1)

Country Link
JP (1) JP4713232B2 (ja)

Families Citing this family (4)

* Cited by examiner, † Cited by third party
Publication number Priority date Publication date Assignee Title
JP2008308052A (ja) * 2007-06-14 2008-12-25 Jidosha Seiki Kogyo Kk 車両用ドラムリムーバ
KR200490768Y1 (ko) * 2019-07-19 2020-02-20 백성기 상용차 타이어 허브 드럼 탈착기
JP7483314B2 (ja) * 2020-11-10 2024-05-15 株式会社スガテック スプロケット替歯交換装置
CN114923070B (zh) * 2022-04-25 2023-10-13 中国电子科技集团公司第二十九研究所 一种超宽平板单元电液混合俯仰多杆机构及方法

Family Cites Families (5)

* Cited by examiner, † Cited by third party
Publication number Priority date Publication date Assignee Title
JPH0629148Y2 (ja) * 1988-03-20 1994-08-10 杉安工業株式会社 キャスター付きコンテナの移動装置
JPH1042617A (ja) * 1996-08-05 1998-02-17 Denken Eng Kk 園芸用自走車
JP3797724B2 (ja) * 1996-10-30 2006-07-19 日野自動車株式会社 自動車用車輪運搬保持装置
JP2000327276A (ja) * 1999-05-18 2000-11-28 Hitachi Plant Eng & Constr Co Ltd 重量物の起立装置
JP2002067967A (ja) * 2000-08-31 2002-03-08 Toshiba Plant Kensetsu Co Ltd パレット台車

Also Published As

Publication number Publication date
JP2006347316A (ja) 2006-12-28

Similar Documents

Publication Publication Date Title
US1399351A (en) Crane for handling motor-vehicle wheels
US5052218A (en) Tire uniformity inspecting machine
US5464314A (en) Device for handling a vehicle wheel
JP2006290340A (ja) 横転可能な取付け・取外し工具を備える着脱装置
JPH05154998A (ja) 回転印刷機械および作業場トロリ
JP6074786B2 (ja) 車両用のホイールタイヤを取り付けおよび取り外しするための機械
CN108944288A (zh) 适于安装于机动车辆上的轮胎拆卸设备和轮胎拆卸方法
JP4713232B2 (ja) ブレーキドラム交換用機器
JP4376548B2 (ja) 産業車両用タイヤ取付け、取外し装置
JPH0880715A (ja) タイヤの着脱装置
JPH05330306A (ja) 自走型タイヤドーリー
JP2008308052A (ja) 車両用ドラムリムーバ
JPH07256317A (ja) 多段圧延機のロール組替方法及びこれに用いるロール組替装置並びに多段圧延機
JPH01155234A (ja) ユニフォミテイーマシンに於けるタイヤ・リムの自動段替方法及びその装置
JP2010260500A (ja) ツールの取付け構造及びタイヤ着脱装置
CN206983641U (zh) 一种汽车轮胎拆装机
CN1693035A (zh) 汽车发动机维修平台
JP5026481B2 (ja) 回転テーブルを備えたタイヤ着脱装置
CN214978927U (zh) 一种补焊工装
JP5904956B2 (ja) タイヤ着脱装置
KR100768671B1 (ko) 타이어 교환장치
JP7310567B2 (ja) 車輪脱着用のリフタ付カート
JP7106618B2 (ja) 車輪保持機能を高めたホイールドーリー
JP2003212126A (ja) タイヤ供給用台車
US5426841A (en) Method and tool for removing and replacing a vehicle wheel

Legal Events

Date Code Title Description
A621 Written request for application examination

Free format text: JAPANESE INTERMEDIATE CODE: A621

Effective date: 20080314

A977 Report on retrieval

Free format text: JAPANESE INTERMEDIATE CODE: A971007

Effective date: 20100715

A131 Notification of reasons for refusal

Free format text: JAPANESE INTERMEDIATE CODE: A131

Effective date: 20100727

A521 Request for written amendment filed

Free format text: JAPANESE INTERMEDIATE CODE: A523

Effective date: 20100922

TRDD Decision of grant or rejection written
A01 Written decision to grant a patent or to grant a registration (utility model)

Free format text: JAPANESE INTERMEDIATE CODE: A01

Effective date: 20110301

A61 First payment of annual fees (during grant procedure)

Free format text: JAPANESE INTERMEDIATE CODE: A61

Effective date: 20110324

R150 Certificate of patent or registration of utility model

Ref document number: 4713232

Country of ref document: JP

Free format text: JAPANESE INTERMEDIATE CODE: R150

R250 Receipt of annual fees

Free format text: JAPANESE INTERMEDIATE CODE: R250

R250 Receipt of annual fees

Free format text: JAPANESE INTERMEDIATE CODE: R250

R250 Receipt of annual fees

Free format text: JAPANESE INTERMEDIATE CODE: R250

R250 Receipt of annual fees

Free format text: JAPANESE INTERMEDIATE CODE: R250

EXPY Cancellation because of completion of term