JP4698552B2 - パーティングロック装置及びその装置を備えた金型装置 - Google Patents

パーティングロック装置及びその装置を備えた金型装置 Download PDF

Info

Publication number
JP4698552B2
JP4698552B2 JP2006306766A JP2006306766A JP4698552B2 JP 4698552 B2 JP4698552 B2 JP 4698552B2 JP 2006306766 A JP2006306766 A JP 2006306766A JP 2006306766 A JP2006306766 A JP 2006306766A JP 4698552 B2 JP4698552 B2 JP 4698552B2
Authority
JP
Japan
Prior art keywords
mold
lock
parting
air
rod
Prior art date
Legal status (The legal status is an assumption and is not a legal conclusion. Google has not performed a legal analysis and makes no representation as to the accuracy of the status listed.)
Active
Application number
JP2006306766A
Other languages
English (en)
Other versions
JP2008119953A (ja
Inventor
晴雄 岡田
英一 山本
Current Assignee (The listed assignees may be inaccurate. Google has not performed a legal analysis and makes no representation or warranty as to the accuracy of the list.)
Nissei Plastic Industrial Co Ltd
Original Assignee
Nissei Plastic Industrial Co Ltd
Priority date (The priority date is an assumption and is not a legal conclusion. Google has not performed a legal analysis and makes no representation as to the accuracy of the date listed.)
Filing date
Publication date
Application filed by Nissei Plastic Industrial Co Ltd filed Critical Nissei Plastic Industrial Co Ltd
Priority to JP2006306766A priority Critical patent/JP4698552B2/ja
Publication of JP2008119953A publication Critical patent/JP2008119953A/ja
Application granted granted Critical
Publication of JP4698552B2 publication Critical patent/JP4698552B2/ja
Active legal-status Critical Current
Anticipated expiration legal-status Critical

Links

Images

Landscapes

  • Moulds For Moulding Plastics Or The Like (AREA)
  • Injection Moulding Of Plastics Or The Like (AREA)

Description

この発明は、3プレート金型や2段構造金型に採用可能なパーティングロック装置とパーティングロック装置を備えた金型装置に関するものである。
一般に3プレート金型と称されてる金型は、金型のパーティングラインとは別のもう一つの平面にランナを配置した構造からなる。また2段構造金型はもう一つの平面もパーティングラインとして金型を配置した構造からなる。その何れの金型においても、型開は固定盤側のランナープレート又は金型(以下第一金型という)と中間位置の金型(以下第二金型という)の型開を先行し、次に第二金型と可動盤側の金型(以下第三金型という)の型開を行っている。
第一金型と第二金型の型開(以下第一型開という)は、第二金型と第三金型とを型閉状態で移動して、第二金型がピンやリンクなどにより制限位置に停止する所まで行われ、第二金型と第三金型の型開(以下第二型開という)は、第三金型をさらに移動して行っている。この第二型開までの型閉の保持は、第二金型と第三金型により形成されたキャビティ内に射出充填された樹脂の型開抵抗をもって行っている。このため樹脂の充填状態によっては型開抵抗が不十分となって、第三金型が第二金型を停止位置まで引っ張切れずに、第一型開の途中で第二型開が始まって第二金型の置き去りが生ずることがある。このため第一型開が中途半端で終わって第一金型と第二金型とにより成形されたランナなどの成形品が金型間に残り、次の成形に支障を来すことがある。
このような型開順序を常に確実となす手段として、第二金型と第三金型のパーティングラインを機械的手段によりロックして型閉状態を保持し、第一金型と第二金型の型開完了時にロックを解除して、第一型開から第二型開への移行することが行われている。この機械的なロック手段としては、第二金型と第三金型の何れか一方の側面に取付けた係止部材と、他方の金型側面に取付けた一対の係止部片とを金型の型閉力をもって係合するものが知られている。
また固定型の側面に突設したピンと係合する係止レバーを、可動型の側面に回動自在に設け、その係止レバーをエアシリンダにより回動して、レバー先端とピンとの係合により、または3プレート式金型ではさらにランナストリッパプレートのガイド溝との係合によりパーティングロックを行っている。また可動型と固定型の上部をエアシリンダにより上下するピンにより連結してパーティングロックを行っているものもある。
特開2000−37756号公報 特開2002−178372号公報
上記従来の係止部材と係止部片とを金型の型閉力をもって係止するロック手段を、金型間の異物を型閉抵抗から検出して型閉を停止する装置を備えた金型に採用すると、ロック時に生ずる型閉抵抗を異物による型閉抵抗として誤検出することから、型閉抵抗による異物検出装置を備えた型締装置には採用し難く、また型閉力による係止では、反復作動による係止部の摩耗が早いので、メンテナンス期間が短いなどの課題を有する。
またパーティングロックを型閉力によらずエアシリンダにより行うロック手段では、型閉抵抗による異物検出装置の障害となることはないが、エアシリンダにより可動型の側面に設けた係止レバーを回動して、固定型の側面に突設したピンに係合していることから、型閉途中でエアシリンダが誤作動すると、係止レバーが回動してピン前にレバー先端が位置し、3プレート式金型ではガイドピンがガイド溝からずれるなどして型閉が行えなくなり、加えて係止レバーの折損及び金型の損傷いう課題を有する。また可動型と固定型の上部をエアシリンダにより上下するピンにより連結してパーティングロックを行う場合も同様で、誤作動による型閉のピンの突出により該ピンの折損及び金型の損傷を来す虞があるので採用し難い課題を有する。
この発明は上記課題を解決するために考えられたものであって、その目的は、金型のパーティングロックにエアを採用し、そのエアを型閉状態でのみエアシリンダに供給できるように構成して、金型相互のパーティングロックをエア作動のロックロッドと該ロックロッドと直交位置するロックプレートの嵌合により行えるようにした新たなパーティングロック装置とその装置を備えた金型装置とを提供することにある。
上記目的によるこの発明のパーティングロック装置は、リターンスプリングを備えるエアシリンダと、そのエアシリンダのピストンと一体のロックロッドと、本体側方からエアシリンダのピストン加圧側に穿設したエア供給路と、前記ロックロッドの先端が進出可能な収容溝とを有する四辺形の本体ブロックと、上記本体ブロックとの当接側面を有し、その当接側面から突出していると共に、前記エア供給路を穿設した前記本体ブロックの所定側面に前記当接側面を当接させると、前記収容溝に入り込み、上記ロックロッド直交位置状態となって該ロックロッドの先端と係合可能なロックプレートと、当該当接時に上記エア供給路と連通するエア通路とを有する四辺形の当接ブロックとを具備するというものである。
また上記エアシリンダは、上記リターンスプリングが位置するシリンダ内端にロッド孔を有し、そのロッド孔の近傍のシリンダに上記エア供給路とは異なる本体側方から穿設したエア吸排路を有するというものであり、また上記ロックロッドは、上記エアシリンダのピストンと一体で先端側面がテーパー面に形成され、そのロックロッドが臨む上記ロックプレートの上面をロッド先端と嵌合するテーパー凹部に形成してなる、というものである。
また上記エア供給路は、本体側面の開口路端に先端が該側面から突出した開弁用ピンを有し、上記エア通路は開弁用ピンに押圧されて開弁するチェックバルブを当接側面の開口路端内に有する、というものである。
この発明の金型装置は、上記パーティングロック装置の本体ブロックと当接ブロックとを、一対の金型の型閉により上記ロックロッドの先端に上記ロックプレートが位置し、かつ金型の型閉に同時する両ブロックの当接後に、上記エア通路から供給されるエアにより上記ピストンと共にロックロッドが作動し、該ロックロッドとロックプレートとの係合によるパーティングロックが生ずるように、一対の金型のいずれか一方の金型と他方の金型に、それぞれパーティング面に沿って設置してなる、というものである。
また上記金型は、固定盤側の第一金型と中間部位の第二金型と可動盤側の第三金型とからなり、その第二金型と第三金型とに上記パーティングロック装置の上記本体ブロックと上記当接ブロックとを、それぞれパーティング面に沿って設置してなる、というものである。
上記構成のパーティングロック装置では、本体ブロック内のエアシリンダへのエアの供給を、本体ブロックとは別体の当接ブロックから行えるようにしたので、常にパーティングロック作動が型閉後となり、型閉完了前の誤作動によるパーティングロック作動は生じないことから、型閉途中での作動によるロックロッドの折損や金型の損傷を防止することができ、またエア作動のロックロッドとそれに直交位置するロックプレートとの嵌合では、型閉抵抗に影響を与えることはないので、型閉抵抗による異物検出装置を備えた型締装置の金型に採用することができる。
また上記パーティングロック装置を、中間部位の第二金型と可動盤側の第三金型とにわたり備えた3プレート式金型では、型閉直後から型開開始直前までに当接ブロック側から本体ブロック内のエアシリンダにエアを供給するだけでパーティングロックができ、ロック解除もエアパージするだけでよいので操作が簡単に済む。また第二金型と第三金型をパーティングロックした状態で第一型開が行われるので、第一型開の途中で第二型開が生ずることがなく、第二金型が制限位置に停止する間際にエアシリンダのパージングを行うだけで型開が第一型開から第二型開にスムーズに移行するので、移行の際に第二金型が制限ピンのストッパー及びガイドピンのピンヘッドに衝突して金型が損傷するようなこともない。
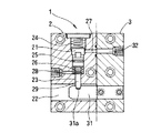
図中1はパーティングロック装置で、本体ブロック2と当接ブロック3とからなり、その両方は同一肉厚で互いに側面を接して1つの形態をなす四辺形のブロックからなる。
上記本体ブロック2は、側面と平行に穿設して形成したエアシリンダ21と、そのエアシリンダ21と壁部を隔てて直交位置するロックプレートの収容溝22とを内部に有し、その壁部にロッド孔23がシリンダ内端から収容溝22に穿設してある。
上記エアシリンダ21は穿穴の開口端を蓋部材24により密閉して形成され、内部にピストン25とリターンスプリング26とを有する。また本体側方からピストン加圧側に穿設したエア供給路27と、そのエア供給路27とは異なる本体側方からロッド孔23の近傍のシリンダに穿設したエア吸排路28とを有する。このエア吸排路28はロッド孔23を兼用として省略することができる。
上記ピストン25は、先端側面をテーパー面に形成したロックロッド29と一体で、ロックロッド29を上記ロッド孔23に挿入して摺動自在に設けてある。ロックロッド29は先端が上記収容溝22に突出しないようにリターンスプリング26により保持されている。
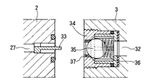
上記当接ブロック3は、上記本体ブロック2との当接側面から突出して上記ロックロッド29の先端部と直交位置するロックプレート31を、ブロック側面の上記収容溝22の対向位置に有し、本体ブロック2との当接時に上記エア供給路27と連通するエア通路32を、ブロック内にエア供給路27よりも大径に穿設して有する。
上記ロックプレート31は、プレート側面を当接ブロック3の側面内に嵌合してボルト止めしてあり、先端部の上面にはロックロッド29の先端が嵌合する凹所31aが形成してある。この凹所31aの前後面はロッド先端と適合するテーパー面に形成してある。
上記構成のパーティングロック装置1では、図1に示すように、本体ブロック2と当接ブロック3とが離れた状態にあると、エア供給路27とエア通路32とが離れてエアシリンダ21の加圧側は無圧状態で、ピストン25はロックロッド29と共にリターンスプリング26により上方に保持されて、ロッド先端がロッド孔内に収まっている。
図2に示すように、本体ブロック2と当接ブロック3とが側面を互いに接した状態では、ロックプレート31がロックロッド29の先端直下に凹所31aが位置するところまで収容溝22に入り込み、またエア供給路27とエア通路32が互いの開口端を接して連通するようになる。かかる状態においてコンプレッサにより圧搾して高圧タンクに蓄えたエアをエア通路32からエア供給路27に供給すると、ピストン25が加圧されてリターンスプリング26を圧縮する。これによりロックロッド29は収容溝22に突き出て先端直下のロックプレート31の凹所31aと先端が嵌合し、ロックプレート31と共に本体ブロック2と当接ブロック3とを互いに拘束するようになる。
したがって、本体ブロック2と当接ブロック3とをパーティング面に沿って側面に設置した一対の金型では、エアの圧力によりパーティングがロックされて型閉状態が保持され、その保持はブロック相互の間からエアがパージされてピストン25がリターンスプリング26により復帰するまで保持される。
図4は、上記エア通路32にバルブを設けた実施形態を示すもので、上記エア供給路27の本体ブロック2の当接側面に開口した路端に、当接側面から突出する長さの開弁用ピン33を設け、その開弁用ピン33により開弁するチェックバルブ34を上記エア通路32の路端内に設けたもので、そのチェックバルブ34はボール弁35を内側のバネ部材36により弁座37に弾圧して閉弁状態を維持する通常構造のものからなる。
このチェックバルブ34により開口路端を常時閉鎖したたエア通路32では、通路内をエアにより常時加圧しておくことができる。これにより本体ブロック2と当接ブロック3との接近に伴うブロック相互の間隔の減少により、開弁用ピン33がボール弁35にタッチし、さらに型閉力によりボール弁35が押し込められてエアがブロック間の隙間に流出する。このエアの流出はブロック相互が当接するまでの僅かな時間で、当接と同時にエアはエア供給路27に流入してピストン25を加圧し、ロックロッド29をロックプレート31の上面に突き出す。したがって、ブロック相互の当接とロック作動とが同時に行えるようになる。
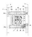
図5以下は、上記パーティングロック装置1を備えた3プレート金型4の1例を示すもので、41は第一金型、42は中間部位の第二金型、43は第三金型である。第一金型41は型取付板5に固定した制限ピン45を片側を挿通し、他側を可動ピン46により型取付板5に取付けて該型取付板の板面に接離自在に設けられている。
上記第二金型42は両側を上記制限ピン45とピン周囲にバネ部材47を設けて第一金型41に固定したガイドピン48とに挿通支持して、制限ピン45の先端のストッパー45aとガイドピン48のピンヘッド48aに接するところまで移動自在に型開するように、第一金型41に重ねて設けられている。また上記第三金型43は型取付板49の板面に設けた台座49aに取付けて設けられており、この第三金型43と台座49aの両側には上記制限ピン45とガイドピン48の挿通孔が設けてある。
第二金型42と第三金型43の側面には上記パーティングロック装置1が、第二金型側に当接ブロック3を、第三金型側に本体ブロック2をボルトにより止着して取付けてある。本体ブロック2と当接ブロック3のそれぞれは、当接側面を金型のパーティング面と同一にして、上記エア供給路27とエア通路32とが型閉時の当接により連通し、また本体ブロック2の収容溝22にロックプレート31が収まるように高さ位置を同じくして対設してある。
上記金型装置は、第一金型41を型締装置(図は省略)の固定盤5に型取付板44をもって取付け、第三金型43を可動盤6に型取付板49をもって取付けている。またエア通路32とエア吸排路28には、図では省略しているが圧搾エアの供給パイプとエア吸排用のパイプが接続され、必要に応じて圧搾エアをエアタンクからエア通路32に供給できるようにしてある。
可動盤6による金型の型閉動作は、通常のごとく先ず可動盤6の前進移動により第三金型43と中間位置に型開した第二金型42とが型閉する。この型閉に伴いパーティング面から突出している上記ロックプレート31が、上述のように本体ブロック2の収容溝22に内に入り込み、両金型がパーティング面を接して型閉したときに、プレート先端部の上面に形成した凹所31aが、上記ロックロッド29の先端直下に位置する。また両金型の側面の上記本体ブロック2と当接ブロック3とが互いに接して、エア供給路7とエア通路32が連通する。
したがって、型開状態ではエア供給路7とエア通路32の連通はないので、型閉途中でエアをエア通路に圧送しても、そのエアは本体ブロック2と当接ブロック3との隙間に流出して大気中に放出され、エア供給路27に流入することはないから、誤作動でエア供給が生じてもパーティングロックは行われない。
次に可動盤6の前進移動により第一金型41と型閉した第二金型42が、第一金型41を型取付板41に押圧して型閉し、全ての金型の型閉が終了する。この型閉の後に可動盤6による型締が行われて、溶融樹脂が第一金型41から第二金型42と第三金型43との間に形成されたキャビティ(図は省略)に射出充填され、樹脂の冷却後に型開となる。
上記パーティングロック装置1による第二金型42と第三金型43のパーティングロックは、型閉直後から型開直前までの間(好ましくは型開1sec程前)に行われる。樹脂の射出充填が完了すると、図示しないエア回路がONして圧搾エアがエアタンクから供給され、エアはエア通路32からエア供給路27を通ってエアシリンダ21の加圧側に圧入され、ピストン25を加圧する。
図6に示すように、ピストン25はリターンスプリング26に抗してロックロッド29と共に前進移動し、ロッド先端がロッド孔23から突き出て凹所31aと嵌合し、ロックプレート31との連結により第二金型42と第三金型43のパーティングが第二金型42が受ける引張力により離れないようにロックする。このパーティングロックはエアによりピストン25が加圧されているあいだ保持される。
可動盤6が後退移動すると、先ず第一金型41から第二金型42が離れて第一型開となる。この第一型開は第二金型42が制限ピン45のストッパー45aとガイドピン48のピンヘッド48aに接して停止するまで維持される。パーティングロックされていない場合には、キャビティの樹脂の充填圧力の不十分さや引張抵抗の変化等から第二金型42が停止位置に達するまでの間に第二型開がが生ずることがあるが、パーティングロックではそのような事態が防止され、常に第一型開が第二金型42の停止位置まで維持される。
第二型開は第二金型42の停止により、可動盤6の後退による引張力が第三金型43に作用して生ずるものであるから、停止時にもパーティングロックされた状態にあると引張力が第二金型42にも作用して、第二金型42が上記ストッパ45a及びピンヘッド48aと衝突し、その衝撃により金型が損傷することがあるので、停止直前(例えば5〜6mm前)にエア供給を停止してエア回路をエアパージに切り換える。
このエアパージにより、第二金型42がストッパ45a及びピンヘッド48aに衝突する前に、ピストン25と共にロックロッド29がリターンスプリングにより復帰し、ロックロッド29とロックプレート31との嵌合による第二金型42と第三金型43の拘束が解除されて、停止した第二金型42から第三金型43が離れて第二型開が、図5に示す型開位置までスムーズに行われる。
またエアパージが遅れたときには、ロックロッド29の先端と凹所31aがテーパー面に形成されていることから、第三金型43に掛かる引張力によりロッド先端にテーパー面に沿った押上力が生ずるようになる。この押上力によりピストン25が加圧側のエアを加圧する。圧搾されたエアは油圧と異なって加圧により圧縮できるので、その圧縮分だけロックロッド29が第三金型43とともに型開方向に横ずれする。これにより金型相互が接していたパーティング面に隙間が生じ、この隙間からエアシリンダ21のエアがリークして加圧側の圧力が除かれてゆき、ロックロッド29と第三金型43の横ずれが進行する。このようなことからエアパージが遅れても大きな衝撃を起こすことなく、第一型開から第二型開の移行がスムーズに行われるようになる。
この発明に係わるパーティングロック装置の非ロック時の断面図である。 同上のロック時の断面図である。 パーティングロック装置の当接ブロック側の側面図である。 バルブ手段を備えるエア供給路とエア通路の路端のバルブ閉鎖時の断面図である。 パーティングロック装置を備えた3プレート金型の型開時の一部を断面で示す側面図である。 同じく型閉時の一部を断面で示す側面図である。 同じく第一型開時の一部を断面で示す側面図である。
符号の説明
1 パーティングロック装置
2 本体ブロック
21 エアシリンダ
22 ロックプレートの収容溝
23 ロッド孔
25 ピストン
26 リターンスプリング
27 エア供給路
28 エア吸排路
29 ロックロッド
3 当接ブロック
31 ロックプレート
31a 嵌合用の凹所
32 エア通路
33 開弁用ピン
34 チェックバルブ
4 3プレート金型
41 第一金型
42 第二金型
43 第三金型
45 制限ピン
45a ストッパー
48 ガイドピン
48a ピンヘッド

Claims (6)

  1. リターンスプリングを備えるエアシリンダと、そのエアシリンダのピストンと一体のロックロッドと、本体側方からエアシリンダのピストン加圧側に穿設したエア供給路と、前記ロックロッドの先端が進出可能な収容溝とを有する四辺形の本体ブロックと、
    上記本体ブロックとの当接側面を有し、その当接側面から突出していると共に、前記エア供給路を穿設した前記本体ブロックの所定側面に前記当接側面を当接させると、前記収容溝に入り込み、上記ロックロッド直交位置状態となって該ロックロッドの先端と係合可能なロックプレートと、当該当接時に上記エア供給路と連通するエア通路とを有する四辺形の当接ブロックとを具備することを特徴とするパーティングロック装置。
  2. 上記エアシリンダは、上記リターンスプリングが位置するシリンダ内端にロッド孔を有し、そのロッド孔の近傍のシリンダに上記エア供給路とは異なる本体側方から穿設したエア吸排路を有することを特徴とする請求項1記載のパーティングロック装置。
  3. 上記ロックロッドは、上記エアシリンダのピストンと一体で先端側面がテーパー面に形成され、そのロックロッドが臨む上記ロックプレートの上面をロッド先端と嵌合するテーパー凹部に形成してなることを特徴とする請求項1記載のパーティングロック装置。
  4. 上記エア供給路は、本体側面の開口路端に先端が該側面から突出した開弁用ピンを有し、上記エア通路は開弁用ピンに押圧されて開弁するチェックバルブを当接側面の開口路端内に有することを特徴とする請求項1記載のパーティングロック装置。
  5. 請求項1に記載の上記パーティングロック装置の本体ブロックと当接ブロックとを、一対の金型の型閉により上記ロックロッドの先端に上記ロックプレートが位置し、かつ金型の型閉に同時する両ブロックの当接後に、上記エア通路から供給されるエアにより上記ピストンと共にロックロッドが作動し、該ロックロッドとロックプレートとの係合によるパーティングロックが生ずるように、一対の金型のいずれか一方の金型と他方の金型に、それぞれパーティング面に沿って設置してなることを特徴とするパーティングロック装置を備えた金型装置。
  6. 上記金型は、固定盤側の第一金型と中間部位の第2金型と可動盤側の第3金型とからなり、その第2金型と第3金型とに上記パーティングロック装置の上記本体ブロックと上記当接ブロックとを、それぞれパーティング面に沿って設置してなることを特徴とする請求項5記載のパーティングロック装置を備えた金型装置。
JP2006306766A 2006-11-13 2006-11-13 パーティングロック装置及びその装置を備えた金型装置 Active JP4698552B2 (ja)

Priority Applications (1)

Application Number Priority Date Filing Date Title
JP2006306766A JP4698552B2 (ja) 2006-11-13 2006-11-13 パーティングロック装置及びその装置を備えた金型装置

Applications Claiming Priority (1)

Application Number Priority Date Filing Date Title
JP2006306766A JP4698552B2 (ja) 2006-11-13 2006-11-13 パーティングロック装置及びその装置を備えた金型装置

Publications (2)

Publication Number Publication Date
JP2008119953A JP2008119953A (ja) 2008-05-29
JP4698552B2 true JP4698552B2 (ja) 2011-06-08

Family

ID=39505246

Family Applications (1)

Application Number Title Priority Date Filing Date
JP2006306766A Active JP4698552B2 (ja) 2006-11-13 2006-11-13 パーティングロック装置及びその装置を備えた金型装置

Country Status (1)

Country Link
JP (1) JP4698552B2 (ja)

Families Citing this family (9)

* Cited by examiner, † Cited by third party
Publication number Priority date Publication date Assignee Title
US8061005B2 (en) * 2009-03-13 2011-11-22 Carefusion 303, Inc. Method for employing quick change injection molding tooling
CN103737961B (zh) * 2013-12-10 2015-10-21 北京理工大学 移模锁模一体式合模油缸结构
JP6390367B2 (ja) 2014-11-13 2018-09-19 株式会社デンソー 成形金型、及び金型段取り方法
DE112015006871T5 (de) 2015-09-02 2018-05-24 Aiyuki Giken Co., Ltd. Schliessvorrichtung und diese verwendende spritzgiessform
JP6134776B1 (ja) * 2015-12-23 2017-05-24 美濃工業栃木株式会社 ダイカスト用金型
JP2018069704A (ja) * 2016-11-04 2018-05-10 大和化成工業株式会社 装置
CN108214355B (zh) * 2018-01-20 2024-02-02 梵利特智能科技(苏州)有限公司 一种卡片定位放置机构
CN108621471B (zh) * 2018-07-13 2024-04-09 苏州劲翔电子科技有限公司 用于产品模具的推开关安全锁
CN112935220A (zh) * 2021-01-06 2021-06-11 安徽将煜电子科技有限公司 一种压铸机锁模机构

Family Cites Families (5)

* Cited by examiner, † Cited by third party
Publication number Priority date Publication date Assignee Title
JPS5474758U (ja) * 1977-11-08 1979-05-28
JPH03106548A (ja) * 1989-09-20 1991-05-07 Eguchi Diecast Kk ダイカスト装置及び製品
JP2871663B2 (ja) * 1997-01-17 1999-03-17 平道 馬渕 金型および金型開閉装置
JPH1177762A (ja) * 1997-09-03 1999-03-23 Sekisui Chem Co Ltd 射出成形用金型及び射出成形品の製造方法
JP3761690B2 (ja) * 1997-10-09 2006-03-29 勝利 西村 金型の自動開閉装置

Also Published As

Publication number Publication date
JP2008119953A (ja) 2008-05-29

Similar Documents

Publication Publication Date Title
JP4698552B2 (ja) パーティングロック装置及びその装置を備えた金型装置
US6679698B2 (en) Die clamping apparatus
JP5143616B2 (ja) プラスチック射出成形用の金型及びこれに適用されるバルブ
WO2014099456A1 (en) Molding tool for producing a component in a gas-assisted injection molding process
JPS62151258A (ja) 金型のガス抜き装置
KR950009716B1 (ko) 사출 성형 노즐장치
KR20240022096A (ko) 다이 캐스팅용 이젝팅 장치
US20040099401A1 (en) Diecasting machine
JP2014213372A (ja) ダイキャスト用ガス抜き装置
JP2005161669A (ja) 成形機
KR200418297Y1 (ko) 에어 밀핀 장치를 갖는 사출금형
JP2007296773A (ja) 多色成形用スライドコア装置
KR100541746B1 (ko) 다공성 핀홀을 갖는 금형 사출물의 제작방법
JP2006026698A (ja) ダイカスト金型のキャビティ内圧力測定装置
JPH11291013A (ja) ダイカスト鋳造に用いる金型用ガス抜き装置
JPH11129303A (ja) 複合直圧式型締装置のタイバーロック方法およびその装置
JP2010052322A (ja) 射出成形機
JPH08336865A (ja) 射出成形金型のゲート封止機構
JPS606262A (ja) ダイカスト用ガス抜き装置
CN100423928C (zh) 带液压保险装置的注塑机锁模油缸
JPH06262652A (ja) 射出成形方法および射出成形用金型
JP4702857B2 (ja) アンギュラーピン駆動式スライド型のロック装置
JPH049077Y2 (ja)
KR101902157B1 (ko) 금형체결용 파워로킹장치
JPH05131498A (ja) 射出成形ノズル

Legal Events

Date Code Title Description
A621 Written request for application examination

Free format text: JAPANESE INTERMEDIATE CODE: A621

Effective date: 20080428

RD04 Notification of resignation of power of attorney

Free format text: JAPANESE INTERMEDIATE CODE: A7424

Effective date: 20100131

A977 Report on retrieval

Free format text: JAPANESE INTERMEDIATE CODE: A971007

Effective date: 20101019

A131 Notification of reasons for refusal

Free format text: JAPANESE INTERMEDIATE CODE: A131

Effective date: 20101102

A521 Request for written amendment filed

Free format text: JAPANESE INTERMEDIATE CODE: A523

Effective date: 20101221

Free format text: JAPANESE INTERMEDIATE CODE: A821

Effective date: 20101221

RD02 Notification of acceptance of power of attorney

Free format text: JAPANESE INTERMEDIATE CODE: A7422

Effective date: 20101221

TRDD Decision of grant or rejection written
A01 Written decision to grant a patent or to grant a registration (utility model)

Free format text: JAPANESE INTERMEDIATE CODE: A01

Effective date: 20110201

A61 First payment of annual fees (during grant procedure)

Free format text: JAPANESE INTERMEDIATE CODE: A61

Effective date: 20110301

R150 Certificate of patent or registration of utility model

Ref document number: 4698552

Country of ref document: JP

Free format text: JAPANESE INTERMEDIATE CODE: R150

R250 Receipt of annual fees

Free format text: JAPANESE INTERMEDIATE CODE: R250

R250 Receipt of annual fees

Free format text: JAPANESE INTERMEDIATE CODE: R250

R250 Receipt of annual fees

Free format text: JAPANESE INTERMEDIATE CODE: R250

R250 Receipt of annual fees

Free format text: JAPANESE INTERMEDIATE CODE: R250

R250 Receipt of annual fees

Free format text: JAPANESE INTERMEDIATE CODE: R250

R250 Receipt of annual fees

Free format text: JAPANESE INTERMEDIATE CODE: R250