JP4635786B2 - 光ファイバの接続端末 - Google Patents

光ファイバの接続端末 Download PDF

Info

Publication number
JP4635786B2
JP4635786B2 JP2005253776A JP2005253776A JP4635786B2 JP 4635786 B2 JP4635786 B2 JP 4635786B2 JP 2005253776 A JP2005253776 A JP 2005253776A JP 2005253776 A JP2005253776 A JP 2005253776A JP 4635786 B2 JP4635786 B2 JP 4635786B2
Authority
JP
Japan
Prior art keywords
optical fiber
connection
optical
connection terminal
face
Prior art date
Legal status (The legal status is an assumption and is not a legal conclusion. Google has not performed a legal analysis and makes no representation as to the accuracy of the status listed.)
Expired - Fee Related
Application number
JP2005253776A
Other languages
English (en)
Other versions
JP2007065490A (ja
Inventor
和人 斎藤
真樹 大村
渉 桜井
Current Assignee (The listed assignees may be inaccurate. Google has not performed a legal analysis and makes no representation or warranty as to the accuracy of the list.)
Sumitomo Electric Industries Ltd
Original Assignee
Sumitomo Electric Industries Ltd
Priority date (The priority date is an assumption and is not a legal conclusion. Google has not performed a legal analysis and makes no representation as to the accuracy of the date listed.)
Filing date
Publication date
Application filed by Sumitomo Electric Industries Ltd filed Critical Sumitomo Electric Industries Ltd
Priority to JP2005253776A priority Critical patent/JP4635786B2/ja
Publication of JP2007065490A publication Critical patent/JP2007065490A/ja
Application granted granted Critical
Publication of JP4635786B2 publication Critical patent/JP4635786B2/ja
Anticipated expiration legal-status Critical
Expired - Fee Related legal-status Critical Current

Links

Images

Landscapes

  • Mechanical Coupling Of Light Guides (AREA)
  • Optical Couplings Of Light Guides (AREA)
  • Optical Fibers, Optical Fiber Cores, And Optical Fiber Bundles (AREA)

Description

本発明は、光ファイバの接続端末に関するものである。
従来より、光ファイバの接続において、その端面を略凸状に研磨等で形成したのち、両光ファイバ端面間に押圧力を作用させながら接続する「PC(フィジカル・コンタクト)接続」が一般的である。光ファイバのコア部端面が凸状になっているが、押圧力によって弾性変形させ、相手側のコア部と隙間を介さずに物理的に接触することができ、光信号の接続端面における反射減衰を抑制できる効果がある(例えば特許文献1)。
接続端面を傾斜させる方法も一般的である。基本的にはそれであっても上記のようにPC接続させるが、仮に何らかの原因でPC接続が行えない事態となっても、端面が傾斜しているがゆえにガラス端と隙間の境界面で反射する光信号が後戻りせずにクラッド側へ逃げることになり、伝送特性に及ぼす悪影響を軽減させることが出来る(例えば特許文献2参照)。
特開昭61−137107号公報 特開平4−336509号公報
ところで、これらの方法は凸状端面形成のための研磨コスト増と、それ以外に押圧力を作用させつづける必要性から光ファイバを接続端末がしっかり保持していなければならず、そのため光ファイバ実装の際には心線被覆を除去してガラス部(クラッド部)を露出させ、その状態で端末に接着固定させる工程となり、実装コストがかさむという不都合があった。伝送特性としても、とりわけ傾斜端面を用いない単なるPC接続においては、PC接続されている時の特性と長期的な劣化や環境変化等でPCが外れてしまった時の特性(透過損失および反射損失)との差異が大きく、光信号伝送システム全体への波及が大きくなり、系を不安定にさせる要因になりかねない。傾斜端面を加えることで反射損失の影響は軽減できるようになるが、透過損失においては変動が大きいことに変わりはない。
本発明は、前述した問題点に鑑みてなされたものであり、その目的は、コストの低減を図るとともに、光伝送特性へ影響を与える変動成分を抑えることにより伝送システム系全体の信頼性を向上することができる光ファイバの接続端末を提供することにある。
本発明にかかる光ファイバの接続端末の第の特徴は、光ファイバを配列するフェルールのガイド穴内に被覆付きの光ファイバが固定される光ファイバの接続端末であって、被覆付きの光ファイバ同士を接続するため、前記接続端末のフェルールの接続端面は光軸直交面に対して傾斜した面として形成され、且つ、接続される前記一対の光ファイバは、いずれも、光ファイバ端面が被覆付きのまま光軸直交面に対して傾斜した接続端面とし前記フェルールの接続端面より5μm以上50μm以下後退し、さらに、接続される光ファイバ同士の間隔を50μm以下にして前記ガイド穴の位置に位置するように前記ガイド穴に挿入固定されることにある。
このように構成された光ファイバの接続端末においては、接続端末におけるフェルールの接続端面は光軸直交面に対して傾斜して設けられるとともに、光ファイバの端面はフェルールの接続端面よりも後退したガイド穴内の位置に位置しているので、光ファイバ同士は直接接触せずに、両光ファイバ端面間には隙間が設けられて非PC接続となっている。このため、接続端面同士を押圧する必要がなく、押圧力による長期間の劣化・変形を防止して長期的な信頼性を向上することができる。
また、本発明にかかる光ファイバの接続端末の第の特徴は、上記本発明の第の特徴において、前記光ファイバはマルチモード石英光ファイバであることにある。
このように構成された光ファイバの接続端末においては、光ファイバにコア径が大きなマルチモード石英光ファイバを用いるので、光軸ずれの許容範囲が大きくなり、低損失な接続を行うことができる。
また、本発明にかかる光ファイバの接続端末の第の特徴は、上記本発明の第またはのいずれかの特徴において、前記被覆の厚さが25μm以下であることにある。
このように構成された光ファイバの接続端末においては、被覆厚さを25μm以下と薄くすることにより、心出し精度を向上して、低損失な接続を行うことができる。
本発明によれば、被覆付きの光ファイバをガイド穴に挿嵌して固定するので、従来のように被覆を除去する必要がなく被覆を除去する工程を省くことができるとともに、被覆を除去した際のガラス部分の損傷を防止することによりコスト低減を図ることができる。また、光ファイバ端面はフェルールの接続端面より後退した位置に設けられて非PC接続となっているので、接続端面同士を押圧する必要がなく、押圧力による長期間の劣化・変形を防止して長期的な信頼性を向上することができる。なお、少なくとも一方の光ファイバの接続端面は光軸直交面に対して傾斜しているので、反射損失の影響を抑えることができる。
以下、本発明に係る実施形態を図面に基づいて詳細に説明する。
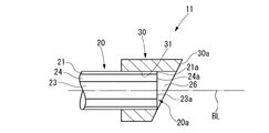
図1は本発明の光ファイバの接続端末およびその接続方法に係る第1実施形態を示す断面図、図2(A)および(B)は本発明の第1実施形態の別の例を示す断面図、図3(A)および(B)は光ファイバの接続端末同士を接続した状態を示す断面図である。
図1に示すように、本発明の第1実施形態である光ファイバの接続端末10は、光ファイバ20を配列するフェルール30のガイド穴31内に光ファイバ20が固定される光ファイバの接続端末10であって、前記光ファイバ20は、被覆21付きであるとともに、光軸BLに対して直角以外の角度で傾斜した接続端面22を有し、前記接続端面22におけるコア部23の端面23aは、コア部23を除く光ファイバ20が接触する他の面よりもδ=5μm以上、50μm以下後退した位置にある。
例えば、図1では、フェルール30の端面30aに対して、接続端面22におけるコア部23の端面23aは、クラッド部24の端面24aおよび被覆21の端面21aとともに、光ファイバ20自体が研磨によって凹むように形成され、ガイド穴内で後退した位置に設けられている。
なお、光ファイバ20はマルチモード石英光ファイバであることが望ましい。被覆21付きの光ファイバ20においては、被覆21の厚さの偏り等から心出し精度が低下しやすいが、光ファイバ20としてコア23径が大きなマルチモード石英光ファイバを用いることにより、光軸BLずれの許容範囲が大きくなるので、低損失な接続を行うことができる。
また、被覆21の厚さDが25μm以下であることが望ましい。これにより、被覆厚さDを25μm以下と薄くすることにより、心出し精度を向上して、低損失な接続を行うことができ、具体的には、例えばコア径50μmの光ファイバ20において、接続損失を平均で0.5dB以下に抑えることができた。
図1に示すように、フェルール30のガイド穴31内部に光ファイバ20が接着固定され、接続端面22が光軸BLに対し直交面からθ(例えば、θ=8°)傾斜している。フェルール30は単心コネクタ向けのようなジルコニアフェルールであってもよいし、多心コネクタ向けのようなプラスチック成形フェルールであってもよい。対向する相手のフェルール30との位置合せにおいても、単心コネクタ向けのような割りスリーブ内でのフェルール嵌合であってもよいし、多心コネクタ向けのようなガイドピンとガイドピン穴の嵌合であってもよい。
ここで、凹み(δ)を5μm以上、50μm以下とした理由は、フェルールである成形材とファイバであるガラスの線膨張率差を考慮して、低温下でファイバがフェルールに対して突き出してくる場合においてもしっかりとファイバ相互間の空隙を確保できるよう、初期間隔を設定しておく必要がある。つまり、成形材とガラスの線膨張率差はおよそ2×10^(-5)/℃、使用温度範囲を考慮した温度差は約50℃、成形材の代表長さとしてファイバ穴長5mmとした場合に、端面間隔は温度変動によっておよそ5μmと算出できるので、下限値として、この数値以上のδが必要となる。
一方、ファイバ間隔を広げ過ぎた場合の弊害として、伝送損失の増加がある。端面間隙とロス増の関係は使用する光ファイバのNA等に依存するが、実験の結果から曲げに強いΔ2%に近い光ファイバにおいても50μm以下の間隙に押えておけば伝送特性上から問題ないことが確認されたので、これを上限値とした。
図2(A)および(B)には、第1実施形態にかかる光ファイバの接続端末の別の例が示されている。
図2(A)に示すように、仮に光ファイバ20がフェルール端面30aに対して突き出していたとしても、コア部23の端面23aがクラッド部24の端面24aより凹んでいればこれでもよい。これにより、相手フェルール30との接続において、両光ファイバ20、20のコア部端面23a間に隙間が形成され、両コア部23、23には押圧力が作用しないので、安定した固定状態を維持することができるとともに、長期的な押圧力により劣化や変形が生じるのを抑えことができる。
あるいは、図2(B)に示すように、クラッド部24の端面24aおよび被覆21の端面21aがフェルール30の端面30aと同じ面で、コア部23の端面23aだけがクラッド部24の端面24aおよび被覆21の端面21aよりも凹んでいてもよい。
次に、図3に基づいて、本発明の第1実施形態にかかる光ファイバの接続方法について説明する。
図3(A)に示すように、少なくとも一方の光ファイバ20の接続端面22が前述した接続端末10で構成されている光ファイバ20を他の光ファイバ20Bと接続する光ファイバの接続方法であって、被覆21付きの前記光ファイバ20の接続端面22を光軸直交面に対して傾斜した面に形成するとともに、他の光ファイバ20Bの接続端面22も同様に形成して、前記光ファイバ同士20、20Bの前記光軸BLが略一直線となるように各光ファイバ20、20Bの接続端面22、22同士を突き合せることで、前記光ファイバ20、20Bのコア端面23a間に隙間25、25を設ける。
なお、図3(A)においては、他方の光ファイバ20Bにも前述した接続端末10で構成されている光ファイバ20と同じものを用いた場合を示してあるが、この他、図3(B)に示すように、他方の光ファイバ20Bとして、前述した端末処理をしていない通常の光ファイバを用いることもできる。
以上、前述した光ファイバの接続端末およびその接続方法によれば、被覆21付きの光ファイバ20をガイド穴31に挿嵌して固定するので、被覆21を除去する工程を省くことができるとともに、被覆21を除去した際のガラス部分の損傷を防止することによりコスト低減を図ることができる。また、接続端面22のコア部23は接続端面22から例えば5μm以上、50μm以下凹んで最初からPC接続させない接続形態であるので、接続端面22同士を押圧する必要がなく、押圧力による長期間の劣化・変形を防止して長期的な信頼性を向上することができる。仮に長期的劣化や環境変化があったとしても常に非PC接続状態であることを維持することにより光伝送特性へ影響を与える可能性のある変動成分を最小限に抑え、伝送システム系全体を長期的に安全に運用することが可能となり、信頼性を高めることができる。さらに、光ファイバ20の接続端面22は光軸直交面に対して傾斜しているので、反射損失の影響を抑えることができる。なお、ガラスに比ベて低ヤング率である被覆21部を介して光ファイバ20のガラス部をフェルール30に固定する形となるが、接続においてPC接続のような押圧力をガラス部が受ける事が無いため、安定したファイバ固定状態を維持できる。
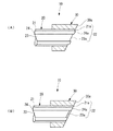
次に、第2実施形態に付いて説明する。
図4には第2実施形態にかかる光ファイバの接続端末が示されている。なお、前述した第1実施形態にかかる光ファイバの接続端末と共通する部位には同じ符号を付して、重複する説明を省略することとする。
この光ファイバの接続端末11では、光ファイバ20を配列するフェルール30のガイド穴31内に被覆21付きの光ファイバ20が固定される光ファイバの接続端末11であって、前記接続端末11のフェルール30の接続端面(端面)30aは光軸BL直交面に対して傾斜した面として形成され、且つ、光ファイバ端面20aは接続端面30aより後退したガイド穴に位置している。
すなわち、光ファイバ20の端面20aは、光軸BLに対し直角に形成されており、一方、フェルール30の端面30aは光軸BL直交面に対して傾斜して形成されているので、光ファイバ20をフェルール30のガイド穴31に挿入すると、光ファイバ20の前方(図4では右方)に隙間26が形成されることになる。
次に、本発明の第2実施形態にかかる光ファイバの接続方法について説明する。
図5に示すように、一方が請求項6に記載の接続端末11で、他方の接続端末12における光ファイバ27の端面27aはフェルール30の接続端面(端面)28と同様に光軸BLの直交面に対して傾斜して形成されており、前記両接続端末11、12を接続する光ファイバの接続方法であって、前記両光ファイバ20、27の光軸BLが略一直線となるように前記両接続端末11、12を付き合わせ、前記両光ファイバ20、27のコア部端面23a間に隙間26を設ける。
以上、前述した光ファイバの接続端末およびその接続方法によれば、接続端末11における光ファイバ20の端面20aを除く部分は光軸BL直交面に対して傾斜して設けられるとともに、光ファイバ20の端面20aは接続端面22よりも後退しているので、光ファイバ20と光ファイバ27は直接接触せずに、両光ファイバ端面20a間には隙間26が設けられて非PC接続となっている。このため、接続端面同士22、28を押圧する必要がなく、押圧力による長期間の劣化・変形を防止して長期的な信頼性を向上することができる。
なお、本発明の光ファイバの接続端末およびその接続方法は、前述した各実施形態に限定されるものでなく、適宜な変形,改良等が可能である。
以上のように、本発明に係る光ファイバの接続端末およびその接続方法は、被覆付きの光ファイバをガイド穴に挿嵌して固定するので、従来のように被覆を除去する必要がなく被覆を除去する工程を省くことができるとともに、被覆を除去した際のガラス部分の損傷を防止することによりコスト低減を図ることができる。また、接続端面のコア部は接続端面から後退して非PC接続となっているので、接続端面同士を押圧する必要がなく、押圧力による長期間の劣化・変形を防止して長期的な信頼性を向上することができる。なお、光ファイバの接続端面は光軸直交面に対して傾斜しているので、反射損失の影響を抑えることができるという効果を有し、光ファイバの接続端末およびその接続方法等として有用である。
本発明の光ファイバの接続端末およびその接続方法に係る第1実施形態を示す断面図である。 (A)および(B)は本発明の第1実施形態の別の例を示す断面図である。 (A)および(B)は光ファイバの接続端末同士を接続した状態を示す断面図である。 本発明の光ファイバの接続端末およびその接続方法に係る第2実施形態を示す断面図である。 光ファイバの接続端末同士を接続した状態を示す断面図である。
符号の説明
10 接続端末
20 光ファイバ
20B 他の光ファイバ
21 被覆
22 接続端面
23 コア部
23a 端面
24 クラッド部
25 隙間
31 ガイド穴
BL 光軸

Claims (3)

  1. 光ファイバを配列するフェルールのガイド穴内に被覆付きの光ファイバが固定される光ファイバの接続端末であって、
    被覆付きの光ファイバ同士を接続するため、前記接続端末のフェルールの接続端面は光軸直交面に対して傾斜した面として形成され、且つ、接続される前記一対の光ファイバは、いずれも、光ファイバ端面が被覆付きのまま光軸直交面に対して傾斜した接続端面とし前記フェルールの接続端面より5μm以上50μm以下後退し、さらに、接続される光ファイバ同士の間隔を50μm以下にして前記ガイド穴の位置に位置するように前記ガイド穴に挿入固定されることを特徴とする光ファイバの接続端末。
  2. 前記光ファイバはマルチモード石英光ファイバであることを特徴とする請求項1に記載の光ファイバの接続端末。
  3. 前記被覆の厚さが25μm以下であることを特徴とする請求項1または2に記載の光ファイバの接続端末。
JP2005253776A 2005-09-01 2005-09-01 光ファイバの接続端末 Expired - Fee Related JP4635786B2 (ja)

Priority Applications (1)

Application Number Priority Date Filing Date Title
JP2005253776A JP4635786B2 (ja) 2005-09-01 2005-09-01 光ファイバの接続端末

Applications Claiming Priority (1)

Application Number Priority Date Filing Date Title
JP2005253776A JP4635786B2 (ja) 2005-09-01 2005-09-01 光ファイバの接続端末

Publications (2)

Publication Number Publication Date
JP2007065490A JP2007065490A (ja) 2007-03-15
JP4635786B2 true JP4635786B2 (ja) 2011-02-23

Family

ID=37927743

Family Applications (1)

Application Number Title Priority Date Filing Date
JP2005253776A Expired - Fee Related JP4635786B2 (ja) 2005-09-01 2005-09-01 光ファイバの接続端末

Country Status (1)

Country Link
JP (1) JP4635786B2 (ja)

Families Citing this family (7)

* Cited by examiner, † Cited by third party
Publication number Priority date Publication date Assignee Title
JP5099681B2 (ja) 2007-06-29 2012-12-19 ジーイー・メディカル・システムズ・グローバル・テクノロジー・カンパニー・エルエルシー 超音波探触子、超音波診断装置および超音波探触子の表面温度推定方法
JP6403444B2 (ja) * 2014-06-06 2018-10-10 三菱電機株式会社 マイカテープ及び固定子コイル
US10444439B2 (en) 2015-10-26 2019-10-15 Sumitomo Electric Industries, Ltd. Optical connector and optical coupling structure
JP6597439B2 (ja) * 2016-03-24 2019-10-30 住友電気工業株式会社 光コネクタフェルール、光コネクタ及び光結合構造
JPWO2017195636A1 (ja) * 2016-05-12 2019-03-14 住友電気工業株式会社 光コネクタ及び光結合構造
JP2019144510A (ja) * 2018-02-23 2019-08-29 住友電気工業株式会社 光コネクタ、光接続構造、及び光コネクタの製造方法
JP7578393B2 (ja) * 2019-08-02 2024-11-06 住友電気工業株式会社 光コネクタ

Family Cites Families (20)

* Cited by examiner, † Cited by third party
Publication number Priority date Publication date Assignee Title
JPS58139108A (ja) * 1982-02-12 1983-08-18 Nippon Telegr & Teleph Corp <Ntt> 光フアイバ心線の接続方法
JPS6463910A (en) * 1987-09-04 1989-03-09 Mitsubishi Rayon Co Optical fiber with integrated optical connector plug
JPH0626885Y2 (ja) * 1989-05-29 1994-07-20 東海ゴム工業株式会社 光フアイバー用コネクター
JPH0497106A (ja) * 1990-08-10 1992-03-30 Nippon Telegr & Teleph Corp <Ntt> 低反射光フアイバ端末及び低反射光コネクタ並びに低反射光フアイバ端末の製造方法
JPH0588041A (ja) * 1991-09-30 1993-04-09 Nippon Telegr & Teleph Corp <Ntt> 光フアイバの光学接続回路
JP2896947B2 (ja) * 1991-10-18 1999-05-31 京セラ株式会社 光ファイバの端部構造及びその製造方法
JPH06294911A (ja) * 1993-04-08 1994-10-21 Toray Ind Inc 光固定減衰器およびその製造方法
JP3518089B2 (ja) * 1994-09-16 2004-04-12 東レ株式会社 広帯域光ファイバ、その心線、コード、及び、コネクタ付き光ファイバ心線、コード
JP2847619B2 (ja) * 1994-09-26 1999-01-20 ヒロセ電機株式会社 光可変減衰器
JPH08304673A (ja) * 1995-03-07 1996-11-22 Toray Ind Inc シングルモード型光ファイバ、その心線、コード、及び、コネクタ付き光ファイバ心線、コード
JPH09127360A (ja) * 1995-11-02 1997-05-16 Omron Corp 光ファイバ接続装置、光ファイバの光学的結合方法、光ファイバケーブル及び光学素子の製造方法
US6074100A (en) * 1998-07-30 2000-06-13 Sikorsky Aircraft Corporation Fiber optic terminus and manufacturing method therefor
JP3501969B2 (ja) * 1999-02-12 2004-03-02 住友電気工業株式会社 光ファイバアレイおよび光導波路
JP2000298225A (ja) * 1999-04-13 2000-10-24 Mitsubishi Rayon Co Ltd 光コネクタプラグ及び光ケーブルの接続方法
US6142678A (en) * 1999-06-15 2000-11-07 Jds Uniphase Inc. Optical coupling
JP2003195128A (ja) * 2001-12-28 2003-07-09 Showa Electric Wire & Cable Co Ltd 光信号減衰用ファイバ
JP2003322760A (ja) * 2002-04-30 2003-11-14 Totoku Electric Co Ltd 光ファイバ・アセンブリの製造方法および光ファイバ・アセンブリ
JP2003344699A (ja) * 2002-05-29 2003-12-03 Showa Electric Wire & Cable Co Ltd 光コネクタ用部材
JP2004177947A (ja) * 2002-11-11 2004-06-24 Pentax Corp 光通信装置
JP2004258193A (ja) * 2003-02-25 2004-09-16 Totoku Electric Co Ltd 光ファイバ・アセンブリの製造方法および光ファイバ・アセンブリ

Also Published As

Publication number Publication date
JP2007065490A (ja) 2007-03-15

Similar Documents

Publication Publication Date Title
US10605993B2 (en) Optical connection component
US8417079B2 (en) Method of producing a ferrule with an optical fiber
JP3273490B2 (ja) 多芯マイクロキャピラリとこれを用いた光導波回路と光ファイバとの接続方法
JP3821971B2 (ja) 光ファイバーアレイ
JP4635786B2 (ja) 光ファイバの接続端末
CN112352173B (zh) 光路弯曲连接器、光路弯曲连接器组件
JP5074806B2 (ja) メカニカルスプライスの組立方法
JP7435692B2 (ja) 光コネクタの接続方法
JP5074805B2 (ja) メカニカルスプライスの組立方法
KR101094314B1 (ko) 대구경의 지르코니아 캐필러리를 이용한 pof 광커넥터 및 그 제조방법
JPH07225325A (ja) 光ファイバの無反射終端部
JPH09105838A (ja) 光導波路装置
JP2007199254A (ja) 光モジュール及び光モジュールの製造方法
JP3270858B2 (ja) 光ファイバ素線の接続装置
CN102549463A (zh) 相连光纤及其制造方法
JPS61132911A (ja) 光コネクタプラグ
JPH0233110A (ja) 光コネクタ
JP4576163B2 (ja) 光学接続方法
JP2006011255A (ja) 光コネクタフェルール及び光コネクタ
JP2004191915A (ja) 光コネクタ
CN100526926C (zh) 生产带有光纤的套筒的方法
JPH10282370A (ja) 光モジュール及びその製造方法
JPH05288963A (ja) 導波路デバイス
JPH0588046A (ja) 光コネクタ
JP6907866B2 (ja) 光接続構造及び光配線部材

Legal Events

Date Code Title Description
A621 Written request for application examination

Free format text: JAPANESE INTERMEDIATE CODE: A621

Effective date: 20080619

A977 Report on retrieval

Free format text: JAPANESE INTERMEDIATE CODE: A971007

Effective date: 20100422

A131 Notification of reasons for refusal

Free format text: JAPANESE INTERMEDIATE CODE: A131

Effective date: 20100427

A521 Request for written amendment filed

Free format text: JAPANESE INTERMEDIATE CODE: A523

Effective date: 20100622

A131 Notification of reasons for refusal

Free format text: JAPANESE INTERMEDIATE CODE: A131

Effective date: 20100831

A521 Request for written amendment filed

Free format text: JAPANESE INTERMEDIATE CODE: A523

Effective date: 20101001

TRDD Decision of grant or rejection written
A01 Written decision to grant a patent or to grant a registration (utility model)

Free format text: JAPANESE INTERMEDIATE CODE: A01

Effective date: 20101026

A01 Written decision to grant a patent or to grant a registration (utility model)

Free format text: JAPANESE INTERMEDIATE CODE: A01

A61 First payment of annual fees (during grant procedure)

Free format text: JAPANESE INTERMEDIATE CODE: A61

Effective date: 20101108

FPAY Renewal fee payment (event date is renewal date of database)

Free format text: PAYMENT UNTIL: 20131203

Year of fee payment: 3

R150 Certificate of patent or registration of utility model

Free format text: JAPANESE INTERMEDIATE CODE: R150

Ref document number: 4635786

Country of ref document: JP

Free format text: JAPANESE INTERMEDIATE CODE: R150

R250 Receipt of annual fees

Free format text: JAPANESE INTERMEDIATE CODE: R250

R250 Receipt of annual fees

Free format text: JAPANESE INTERMEDIATE CODE: R250

R250 Receipt of annual fees

Free format text: JAPANESE INTERMEDIATE CODE: R250

R250 Receipt of annual fees

Free format text: JAPANESE INTERMEDIATE CODE: R250

R250 Receipt of annual fees

Free format text: JAPANESE INTERMEDIATE CODE: R250

R250 Receipt of annual fees

Free format text: JAPANESE INTERMEDIATE CODE: R250

R250 Receipt of annual fees

Free format text: JAPANESE INTERMEDIATE CODE: R250

R250 Receipt of annual fees

Free format text: JAPANESE INTERMEDIATE CODE: R250

R250 Receipt of annual fees

Free format text: JAPANESE INTERMEDIATE CODE: R250

LAPS Cancellation because of no payment of annual fees