JP4635782B2 - 介護補助具 - Google Patents

介護補助具 Download PDF

Info

Publication number
JP4635782B2
JP4635782B2 JP2005241815A JP2005241815A JP4635782B2 JP 4635782 B2 JP4635782 B2 JP 4635782B2 JP 2005241815 A JP2005241815 A JP 2005241815A JP 2005241815 A JP2005241815 A JP 2005241815A JP 4635782 B2 JP4635782 B2 JP 4635782B2
Authority
JP
Japan
Prior art keywords
holding cover
holding
abutment
leg
present
Prior art date
Legal status (The legal status is an assumption and is not a legal conclusion. Google has not performed a legal analysis and makes no representation as to the accuracy of the status listed.)
Expired - Fee Related
Application number
JP2005241815A
Other languages
English (en)
Other versions
JP2007029692A (ja
Inventor
章 金井
Current Assignee (The listed assignees may be inaccurate. Google has not performed a legal analysis and makes no representation or warranty as to the accuracy of the list.)
Individual
Original Assignee
Individual
Priority date (The priority date is an assumption and is not a legal conclusion. Google has not performed a legal analysis and makes no representation as to the accuracy of the date listed.)
Filing date
Publication date
Application filed by Individual filed Critical Individual
Priority to JP2005241815A priority Critical patent/JP4635782B2/ja
Publication of JP2007029692A publication Critical patent/JP2007029692A/ja
Application granted granted Critical
Publication of JP4635782B2 publication Critical patent/JP4635782B2/ja
Anticipated expiration legal-status Critical
Expired - Fee Related legal-status Critical Current

Links

Images

Landscapes

  • Invalid Beds And Related Equipment (AREA)
  • Orthopedics, Nursing, And Contraception (AREA)

Description

この発明は、病人介護の場合に使用し、患者の体位置・姿勢を容易に安定化させるための介護補助具に関する。
従来より、寝たきりの患者は自分で体を動かすことが困難なため、ナースや付添人等の介護者の助力が必要であり、この介護者に助けられて姿勢を変えたり、体表面の拭き取りや排便の処理等を行っている。しかし、このような場合において介護を容易にするための補助用具は現在のところ見当たらない。
全国には末期ガンその他の疾病のために、自力で体を動かすことの困難ないわゆる寝たきりの患者が相当数存在している。これらの患者は寝たきりのため、自分では寝返りもままならず、また背中に汗をかくためその拭き取りや、排便など介護者の助けを借りてこれらのことを行わねばならない。とりわけ、排便時の助力は必須である。この排便時は、一般的には体を動かして横向きに寝た状態にし、介護者が排便の助力を行うが、腰部に体重がかかり、しかもクッション性を有するベッドの上で行うために肛門が開きにくく、患者も介護者も難儀をしているのが現状である。さらに、横向きに寝た状態は双方の脚が上下に位置するので、体力の衰えた患者にとってその姿勢保持が難しい。
本発明は、以上のような従来からの寝たきり患者の介護に関わる課題を解決するために発明されたもので、横向きに寝たときの患者の脚位置保持を行うことにより姿勢の安定が保たれて、患者と介護者双方にとって有益なる補助具を提供することを目的として開発されたものである。
課題を解決する手段として本発明は、支台と保持カバーを着脱係止可能に設けてその主要部を構成した。すなわち、所定高さを有し内部に空隙部を有する支台を設け、一方、柔軟性を有する素材にて保持カバーを設けるとともに、該保持カバー端部間の係止着脱手段と保持カバーの支台に対する係止着脱手段を設ける。本発明は以上の構成よりなる介護補助具である。
本発明によれば、患者の脚位置保持が容易となり、かつ体重の分散が行われるため、従来困難であった患者の背中の拭き取り、排便補助、おむつ替えなどの諸作業を介護者一人にて容易に行うことができ、患者と介護者双方にとって有益なる介護用の補助具を提供することができる。
以下、本発明の実施形態について説明する。
図1〜図3は本発明の支台を示すものである。図において、1は木製の支板で、略長方形の板体であり、一方の短辺をやや突出させてこの突出部に近接して楕円孔による取っ手孔2が設けられ、該支板の四隅近傍には長穴状のスリット3が穿設される。
支板の長辺側面はやや突出し、この突出部各々に脚板4がピン5にて固定される。
この脚板は変形台形状の木板であり、中央に側孔6が形成され、上部適所に貫通孔(図示略)を有している。また支板側面から内方に向けて同径の穴が穿設され、この貫通孔と穴とを一致させて、段部を有する円柱状のピンが嵌入固着し、支板と脚板とを固定している。なお、脚板下面は水平面であるが上部には湾曲凹部を有し、支板における取っ手孔と反対側の端部上下面はやや斜方に削り取られている。7は支板と脚板に固着される細長棒状の補強部材である。
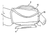
図4〜図6は本発明の保持カバー10を示すものである。この保持カバーは2枚の布を縫合して略長方形状に形成され、一方の短辺は曲線状に形成される。この保持カバーの周囲は別布にて縁取り縫合され、中央部分には板状の軟質発泡合成樹脂による緩衝材11が内包され、また曲線状の短辺に近接して伸縮布12が位置している。
この伸縮布は、ニット織りにて特定方向の伸縮度は高く、その特定方向と直角方向の伸縮度は低いという特徴を有している。この伸縮布は保持カバーの長辺間に長方形状に位置するが、その編み方によりこの配置において長方形長辺間方向には少しの伸縮であるが短辺間方向には大きな伸縮性を有している。なお、この伸縮布部分は袋状ではなく、この伸縮布を挟んで左右に2枚縫合部分が位置する。13〜14は対向して位置する保持ベルトで小長方形布片であり、その一端が保持カバー表面に縫着され、一方の面には面ファスナー15〜16が縫着される。この面ファスナーは一方は保持ベルト表面に、他方は保持ベルト裏面に設けられ、従って保持ベルト13と14は互いに係止可能である。また、この保持ベルト縫着は保持カバーの上下2枚の布体および前記緩衝材を共に縫着している。
17は保持カバー表面に縫着される面ファスナー、18は保持カバー裏面に縫着される面ファスナーであり、互いに係止可能である。
本発明の使用に際しては、まず保持カバーの保持ベルトをスリットに挿入し、支板下面にて対向する保持ベルトを重ね合わせて係止させる。この保持ベルトには既述のように面ファスナーが所定個所に縫着されているので、この面ファスナーが互いに密着し係止される。次ぎに、保持カバーを開いた状態にしてから、仰向けに寝ている患者の脚を少し開き、一方の脚に支台をかぶせる。次ぎに患者を横向きにして他方の脚を、支台上に開いて置かれた保持カバーの上に載せる。そしてその脚をくるむように保持カバーを脚に巻きつけ、保持カバーの面ファスナー17と18を密着させる。これにより強力な密着力が生じて、この保持カバーは患者の脚にしっかりと巻き付き、患者の上方の脚位置が定まることとなる。従って、患者が横向きに寝ても脚位置が定まっているためにその姿勢保持が容易となる。さらに、下方の脚は支台内に、上方の脚は支台上に位置するために体重の一部はこの支台上にかかるため、体重の分散が行われて腰部への負担が軽減され、おむつ換えや排便処理などの作業を容易に行うことができる。
本発明の保持カバーには緩衝材を設けており、使用時は支板と患者の足の間にこの緩衝材が位置することとなるため、ソフトな感触が得られ、また支板と足の温度差による感覚を和らげることができる。また、伸縮布を用いており、この伸縮布は前記のようにこの伸縮布の長辺間方向つまり保持カバーの短辺間方向の伸縮よりも長辺間方向の伸縮度が大きいという特徴がある。従って、例えば支板に対して膝を曲げるなど足をやや斜方に位置させても、この伸縮布の伸縮にて伸縮布の中ほどを膨らませて違和感なく足をくるんで保持させることができる。また、保持カバー短辺間方向の伸縮度は大きくないため、足をしっかりとくるんで保持することができる。例えば、保持カバー短辺間方向の伸縮度も大きくすると、カバー端部間の係止時において該カバーを引張した場合に、足に対する押圧感が生じて患者に負担となるが、上記のようにこの方向の伸縮度は高くないのでこれを防止することができる。なお、この伸縮布は従来技術で製作可能である。
脚板は側孔を有しており、支台の軽量化とともに通気性を高めている。なお本例について、取っ手孔2は支台を運ぶ際の取っ手として利用するために設けたものである。
本例では支台を正面視コ字形としたが、これに限らず四角枠型など種々の形状を用いることができる。本例の支台の一方の端部は少し削った斜面を有するが、これは開いた脚の傾斜に沿うよう考慮したものである。本例の支台は木製であるが、合成樹脂等他の素材を用いてもよく、適度な曲面を用いてデザイン的に工夫して製作することも可能である。なお、本例では係止手段として面ファスナーを用いたが、スナップ、ホックその他の係止手段を用いてもよい。
本発明の概要については既述したが、本発明は所定高さの位置に患者の脚を保持できるところにその特徴がある。疼痛が激しい患者などはその痛みのため自分で身体を動かすことが困難であり、寝返りなどは介護者の助力が必要である。また運動不足となるため、便秘しがちになり、排便も自分で行うことはできない。体力が弱っているため、横向きに寝た姿勢の保持は自力では難しい。そのため、一人が身体を支え、他の一人が必要な作業を行うなど二人がかりで介護しなければならない。また、横向きに寝た状態では体重の多くは腰部にかかるため、おむつ替えや排便の作業が困難であった。
しかるに本発明によれば、体重分散が行われ脚位置が定まり、姿勢保持も容易となるため、上記の作業がし易くなり、かつ一人の介護者にて作業を行うことができるのである。
また、側臥位置が容易にとれるため、床ずれ防止にも有効であり、患者のメンタルケア効果も大である。この発明によって、多くの寝たきり患者とその介護者の双方に福音をもたらす有益なる用具を得ることができ、多くの患者に希望を与えることが可能となるものである。
本発明の支台の平面図 本発明の支台の正面図 本発明の支台の右側面図 本発明の保持カバーの裏面図 本発明の保持カバーの表面図 本発明の要部構造説明図(一部略・厚さ方向誇張表現) 本発明の正面図(保持カバー装着時) 本発明の平面図(保持カバー装着時) 本発明の底面図(保持カバー装着時) 本発明の使用説明図(保持カバー開時) 本発明の使用説明図(保持カバー閉時)
符号の説明
1 支板
2 取っ手孔
3 スリット
4 脚板
5 ピン
6 側孔
7 補強部材
10 保持カバー
11 緩衝材
12 伸縮布
13 保持ベルト
14 保持ベルト
15 面ファスナー
16 面ファスナー
17 面ファスナー
18 面ファスナー
19 保持ベルト縫着部
20 保持ベルト縫着部

Claims (1)

  1. 所定高さを有し内部に空隙部を有する支台を設け、一方、柔軟性を有する素材にて保持カバーを設けるとともに、該保持カバー端部間の係止着脱手段と保持カバーの支台に対する係止着脱手段を設け、保持カバーの長辺間に長方形状に位置し、保持カバーの曲線上短辺に近接して伸縮布を設け、この伸縮布は短辺間方向には大きな伸縮を有するが,長方形長辺間方向には少しの伸縮性であることを特徴とする介護補助具。
JP2005241815A 2005-07-26 2005-07-26 介護補助具 Expired - Fee Related JP4635782B2 (ja)

Priority Applications (1)

Application Number Priority Date Filing Date Title
JP2005241815A JP4635782B2 (ja) 2005-07-26 2005-07-26 介護補助具

Applications Claiming Priority (1)

Application Number Priority Date Filing Date Title
JP2005241815A JP4635782B2 (ja) 2005-07-26 2005-07-26 介護補助具

Publications (2)

Publication Number Publication Date
JP2007029692A JP2007029692A (ja) 2007-02-08
JP4635782B2 true JP4635782B2 (ja) 2011-02-23

Family

ID=37789624

Family Applications (1)

Application Number Title Priority Date Filing Date
JP2005241815A Expired - Fee Related JP4635782B2 (ja) 2005-07-26 2005-07-26 介護補助具

Country Status (1)

Country Link
JP (1) JP4635782B2 (ja)

Family Cites Families (6)

* Cited by examiner, † Cited by third party
Publication number Priority date Publication date Assignee Title
JPS6055944A (ja) * 1983-09-07 1985-04-01 大衛株式会社 医療用の人体の部分的抑制帯および脚部用抑制帯
JPH0638967U (ja) * 1992-10-29 1994-05-24 慶孝 尾坪 脚掛け台
JPH09108254A (ja) * 1995-03-07 1997-04-28 Yomisu:Kk おむつ交換時の暴れ防止具
JP2004121566A (ja) * 2002-10-03 2004-04-22 Kiyoko Miyazaki 足載せ枕
JP2003153965A (ja) * 2002-10-31 2003-05-27 Akira Kanai 介護補助具
JP2005021625A (ja) * 2003-07-04 2005-01-27 Toshiaki Hisatake おむつ交換用具

Also Published As

Publication number Publication date
JP2007029692A (ja) 2007-02-08

Similar Documents

Publication Publication Date Title
US10786091B2 (en) Infant stabilization and immobilization apparatus
CA2792612C (en) Orthopaedic foot support
US20080313812A1 (en) Portable Infant Support Apparatus
WO2004062340A2 (en) Easily changeable absorbent panel for bed clothing
US8607386B2 (en) Infant positioning system and prone positioning apparatus therefor
US3959832A (en) Invalid hammock
US7178877B2 (en) Diaper changing restraint system
US6578210B2 (en) Patient assistive device and lift system
ES2246920T3 (es) Cambiadores para bebes.
JP4635782B2 (ja) 介護補助具
JP6695605B1 (ja) 介護マット
JP3094169U (ja) 褥瘡防止用具
JP2001104091A (ja) 肘パッド
JP4936564B2 (ja) 介護補助具
WO2014073025A1 (ja) 抱きかかえ補助具
JP3878770B2 (ja) 外転枕
JP3089922U (ja) 連結式マットレス
JP2003153965A (ja) 介護補助具
JP2580492B2 (ja) 開脚保持式寝返り介助具
JP2002028193A (ja) 介護用体位安定クッション
JP6730758B1 (ja) 介護器具および介護器具セット
JP3187691U (ja) 介護用ズボン
JPH0718721U (ja) マットレス兼用敷ふとん
JP3079037U (ja) 床ずれ防止アップ・ダウン付き敷きマット
IT202100005894U1 (it) Dispositivo di supporto poggiagambe inclinabile per pazienti allettati.

Legal Events

Date Code Title Description
A621 Written request for application examination

Free format text: JAPANESE INTERMEDIATE CODE: A621

Effective date: 20071120

A131 Notification of reasons for refusal

Free format text: JAPANESE INTERMEDIATE CODE: A131

Effective date: 20100622

A977 Report on retrieval

Free format text: JAPANESE INTERMEDIATE CODE: A971007

Effective date: 20100624

A521 Request for written amendment filed

Free format text: JAPANESE INTERMEDIATE CODE: A523

Effective date: 20100709

A131 Notification of reasons for refusal

Free format text: JAPANESE INTERMEDIATE CODE: A131

Effective date: 20100824

A521 Request for written amendment filed

Free format text: JAPANESE INTERMEDIATE CODE: A523

Effective date: 20100915

TRDD Decision of grant or rejection written
A01 Written decision to grant a patent or to grant a registration (utility model)

Free format text: JAPANESE INTERMEDIATE CODE: A01

Effective date: 20101102

A01 Written decision to grant a patent or to grant a registration (utility model)

Free format text: JAPANESE INTERMEDIATE CODE: A01

A61 First payment of annual fees (during grant procedure)

Free format text: JAPANESE INTERMEDIATE CODE: A61

Effective date: 20101108

FPAY Renewal fee payment (event date is renewal date of database)

Free format text: PAYMENT UNTIL: 20131203

Year of fee payment: 3

R150 Certificate of patent or registration of utility model

Ref document number: 4635782

Country of ref document: JP

Free format text: JAPANESE INTERMEDIATE CODE: R150

Free format text: JAPANESE INTERMEDIATE CODE: R150

R250 Receipt of annual fees

Free format text: JAPANESE INTERMEDIATE CODE: R250

R250 Receipt of annual fees

Free format text: JAPANESE INTERMEDIATE CODE: R250

R250 Receipt of annual fees

Free format text: JAPANESE INTERMEDIATE CODE: R250

R250 Receipt of annual fees

Free format text: JAPANESE INTERMEDIATE CODE: R250

R250 Receipt of annual fees

Free format text: JAPANESE INTERMEDIATE CODE: R250

R250 Receipt of annual fees

Free format text: JAPANESE INTERMEDIATE CODE: R250

R250 Receipt of annual fees

Free format text: JAPANESE INTERMEDIATE CODE: R250

R250 Receipt of annual fees

Free format text: JAPANESE INTERMEDIATE CODE: R250

R250 Receipt of annual fees

Free format text: JAPANESE INTERMEDIATE CODE: R250

R250 Receipt of annual fees

Free format text: JAPANESE INTERMEDIATE CODE: R250

R250 Receipt of annual fees

Free format text: JAPANESE INTERMEDIATE CODE: R250

LAPS Cancellation because of no payment of annual fees