JP4635646B2 - 作物洗浄装置 - Google Patents

作物洗浄装置 Download PDF

Info

Publication number
JP4635646B2
JP4635646B2 JP2005055069A JP2005055069A JP4635646B2 JP 4635646 B2 JP4635646 B2 JP 4635646B2 JP 2005055069 A JP2005055069 A JP 2005055069A JP 2005055069 A JP2005055069 A JP 2005055069A JP 4635646 B2 JP4635646 B2 JP 4635646B2
Authority
JP
Japan
Prior art keywords
cleaning
conveyor
crop
end side
storage tank
Prior art date
Legal status (The legal status is an assumption and is not a legal conclusion. Google has not performed a legal analysis and makes no representation as to the accuracy of the status listed.)
Expired - Fee Related
Application number
JP2005055069A
Other languages
English (en)
Other versions
JP2006239488A (ja
Inventor
伊佐男 石田
元 小田切
真吾 高木
孝章 岩部
Current Assignee (The listed assignees may be inaccurate. Google has not performed a legal analysis and makes no representation or warranty as to the accuracy of the list.)
Iseki and Co Ltd
Original Assignee
Iseki and Co Ltd
Priority date (The priority date is an assumption and is not a legal conclusion. Google has not performed a legal analysis and makes no representation as to the accuracy of the date listed.)
Filing date
Publication date
Application filed by Iseki and Co Ltd filed Critical Iseki and Co Ltd
Priority to JP2005055069A priority Critical patent/JP4635646B2/ja
Publication of JP2006239488A publication Critical patent/JP2006239488A/ja
Application granted granted Critical
Publication of JP4635646B2 publication Critical patent/JP4635646B2/ja
Anticipated expiration legal-status Critical
Expired - Fee Related legal-status Critical Current

Links

Images

Landscapes

  • Cleaning In General (AREA)
  • Apparatuses For Bulk Treatment Of Fruits And Vegetables And Apparatuses For Preparing Feeds (AREA)

Description

本発明は、収穫した人参や大根等を洗浄する洗浄装置に関するものである。
上記の技術分野に関して、例えば特開2005−21753号公報には、搬送コンベアで持ち上げ搬送した作物を複数の洗浄ロールを備える洗浄装置で洗浄する技術が開示されている。
特開2005−21753号公報
特許文献1においては、搬送コンベアで洗浄装置に収穫作物を投入する構成のため、作物に付着する泥が洗浄装置の洗浄始端側に集中して堆積するため、洗浄ロールの耐久性が低下しやすいものであった。
また、特許文献1においては搬送コンベアと洗浄装置とが並列して配置しているため、搬送コンベアと洗浄装置との間にはシュータ等を別個に設ける必要がある。そのため、搬送コンベアと洗浄装置とは直列で隣接して配置することが望ましい。
しかしながら、上記の配置構成では、搬送コンベアと洗浄装置との間にスペースが形成されないため、メンテナンス低下してしまう
また、搬送コンベアと洗浄装置との間に設けたシュータを通過する際に作物が傷付いてしまう問題があると共に、シュータが洗浄装置に接触するとシュータや洗浄装置が傷つくという問題がある。
本発明は収穫した作物を洗浄装置で洗浄する前に粗洗浄できる構成にすることで洗浄ロールの耐久性等を向上させるものでありながら、粗洗浄した泥を回収しやすく、搬送中の作物が傷付きにくくすることを課題とする。
また、搬送コンベアと洗浄装置とを直列に隣接して配置するものでありながら、洗浄装置の洗浄始端側にスペースを形成し、メンテナンスをし易くすることを課題とする。
本発明は、上記課題を解決するために次の技術的手段を用いる。
すなわち、請求項1記載の発明においては、作物と水とを収容可能な収容タンク(A)を設け、該収容タンク(A)内に作物を持ち上げ搬送する搬送コンベア(B)を設け、該搬送コンベア(B)で持ち上げ搬送した作物を収容して洗浄する洗浄装置(C)設けた作物洗浄装置において、前記搬送コンベア(B)の搬送始端部を略平坦に形成すると共に、搬送途中から搬送終端側にかけて斜め上方向に向かって形成前記搬送コンベア(B)を搬送終端側を支点にして搬送始端側が回動する構成とし、該搬送コンベア(B)の搬送途中から搬送終端側に沿って収容タンク(A)の底部に斜め上方向の傾斜部(3)を形成し、前記洗浄装置(C)内に作物を洗浄する複数の洗浄ロール(15)を略U字状に配置して洗浄列(K1,K2)を形成し、該洗浄ロール(15)の洗浄始端側と収容タンク(A)の傾斜部(3)とを隣させて空間部(T)を形成し、該洗浄ロール(15)を駆動させる駆動モータ(29)を洗浄ロール(15)よりも下方で且つ空間部(T)に突出させて配置し、前記搬送コンベア(B)の搬送始端側に軸(15)を支点に回動する回動傾斜板(16)を設け、該回動傾斜板(16)に吊りフック(18)を設けたことを特徴とする作物洗浄装置とする。
請求項2記載の発明においては、前記搬送コンベア(B)から排出される作物を洗浄装置(C)に案内する案内シュート(14)を搬送コンベア(B)の搬送終端側に設け、該案内シュート(14)を弾性体で形成したことを特徴とする請求項1記載の作物洗浄装置とする。
請求項3記載の発明においては、前記洗浄列(K1,K2)を二列設け、複数の洗浄ロール(15)の洗浄始端側に駆動スプロケット(25a)をそれぞれ設け、複数の駆動スプロケット(25a)に各々第1チェーン(26)を無端状に巻回し、二列の洗浄列(K1,K2)に一つの駆動モータ(29)からの駆動力を伝動する第2チェーン(28)を設けたことを特徴とする請求項1または2記載の作物洗浄装置とする。
請求項1記載の発明は、収容タンク(A)内に水と作物を投入することにより、作物は水に浸かりながら搬送コンベア(B)で搬送されるため、洗浄装置(C)に作物を供給する前に粗洗浄ができるため、洗浄装置(C)の洗浄始端側に流入する泥の量が少なくなり、洗浄ロール(15)の耐久性向上する
そして送コンベア(B)の搬送始端側を略平坦に形成すると共に、搬送途中から搬送終端部を斜め上方に向けて形成し、この搬送コンベア(B)の傾斜に沿って収容タンク(A)の底部を斜め上方向に傾斜させて傾斜部(3)を形成することにより、搬送コンベア(B)から離れた泥は傾斜部(3)を流下して搬送コンベア(B)の搬送始端側に集中するため、作業者は収容タンク(A)内に堆積した泥を除去しやすくなる。
また、収容タンク(A)の搬送終端側に形成する傾斜部(3)に洗浄装置(C)の洗浄始端側を隣接させて空間部(T)を形成しこの空間部(T)に洗浄装置(C)に駆動力を供給する駆動モータ(29)を設けたことにより、洗浄装置(C)の洗浄水や作物から除去された泥が駆動モータ(29)に飛散することを防止できるので、機体のメンテナンス性が向上する。
さらに、搬送コンベア(B)の搬送始端側に軸(15)を支点にして回動する回動傾斜板(16)を設け、この回動傾斜板(16)に吊りフック(18)を設けたことにより、回動させた回動傾斜板(16)の吊りフック(18)を吊ると選別コンベア(B)の搬送終端側を支点として搬送始端側を上方に回動させることができるので、選別コンベア(B)の搬送始端側に堆積した泥が除去しやすくなる。
請求項2記載の発明は、請求項1記載の発明の効果に加えて、搬送コンベア(B)から排出される作物を洗浄装置(C)に案内する案内シュート(14)を弾性体で構成したことにより、作物が通過する際に作物が傷付くことを防止できる。
また、搬送コンベア(B)を回動させるとき、案内シュート(14)が洗浄装置(C)に接触しても搬送コンベア(B)の回動が阻害されることがなく、また、案内シュート(14)が破損することを防止できる。
請求項3記載の発明は、請求項1または2記載の発明の効果に加えて、二列の洗浄列(K1,K2)を構成する複数の洗浄ロール(15)の洗浄始端側にそれぞれスプロケット(25a)を設け、このスプロケット(25a)に第1チェーン(26)を二列の洗浄列(K1,K2)にそれぞれ無端状に巻回することにより、複数の洗浄ロール(15)を同時に回転させることができる。
また、二列の洗浄列(K1,K2)に駆動モータ(29)の駆動力を伝動する第2チェーン(28)を設けたことにより、一つの駆動モータ(29)で二列の洗浄列(K1,K2)を駆動させることができる。
そして、駆動スプロケット(25a)と第1チェーン(26)と第2チェーン(28)を洗浄ロール(15)の搬送始端部に設けたことにより、作業者は空間部(T)に入り込んで駆動スプロケット(25a)と第1チェーン(26)と第2チェーン(28)のメンテナンス作業を行うことができる。
本発明の実施の形態について、収穫した作物を洗浄装置で洗浄した後に作物の重量毎に選別する作物洗浄選別装置に基づいて説明する。
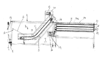
まず図1の平面図に基づいて本発明の作物洗浄選別装置全体の構成について説明する。
Aは収穫した作物を投入する収容タンク、Bは収容タンクA内に投入された作物を搬送する搬送コンベア,Cは搬送コンベアBで搬送された作物を洗浄する洗浄装置,Dは洗浄装置Cで洗浄された作物を一時貯留する貯留タンク,Eは貯留タンク内の作物を搬送する第二搬送コンベア、Fは第二搬送コンベアEで搬送された作物を整列して搬送する整列搬送装置、Gは整列搬送装置で搬送された作物を重量ごとに選別する作物選別装置である。
次に収容タンクA、及び搬送コンベアBについて説明する。ここで説明する始端側とは搬送コンベアBの搬送始端側を指し、終端側とは搬送コンベアBの搬送終端側を指し、それ以外は側部という。
収容タンクA内は、その終端側に傾斜部3を形成し、側部はそれぞれ傾斜部4を形成し、傾斜部内側にはホッパ部1を形成している。ホッパ部1の下方には搬送コンベアBを挿入する挿入部2を形成し、挿入部2の下方、すなわち、収容タンクAの底部には挿入部2の幅Mよりも広い幅Nからなる泥溜まり部5を形成している。そのため、多くの泥を堆積できる構成としている。
泥溜まり部5の下部には水抜き穴6を形成し、水抜き穴6にはホース7を連結している。また、泥溜まり部5の下部には泥抜き通路8を設け、泥抜き通路8は開閉板9により開閉自在に構成している。
収容タンクA内には、収容タンクA内に収容された作物を始端側から終端側に向かって斜め上がり方向に持ち上げ搬送する搬送コンベアBを設ける。搬送コンベアBは、コンベア10と、コンベア10を側方から支持する支持フレーム12と、コンベア10の搬送終端部にあってコンベア10を駆動させる駆動モータ13と、コンベア10から排出された作物を次の洗浄装置Cに案内する案内シュート14とを備えている。案内シュート14は弾性体で形成しており、隣接する洗浄装置Cの洗浄始端側の上方に配置している。
コンベア10は搬送始端側を略平坦に、搬送途中から搬送終端側にかけて斜め上方に向かって形成し、傾斜部3に並行するよう配置している。
支持フレーム12の搬送始端側には軸15を支点に回動する回動傾斜板16と、搬送コンベアBを下側から支持する支持脚17を取り付け、回動傾斜板16には吊りフック18を取り付けている。なお、19は作業者が吊りフック18に引っ掛けて持ち上げる吊り具である。また、20はモータカバー、22は収容タンクAに収穫したコンテナ(図示せず)内の作物を投入するときにコンテナを載置するための載置棒である。
21は搬送コンベアBを回動させる回動支点で、搬送コンベアBの搬送始端側を上下方向に回動可能に構成している。回動方法について詳述すると、作業者が回動傾斜板16を回動させ、吊り具19等をフックに18引っ掛けて持ち上げる。すると、図3に示すように回動支点21を支点に搬送コンベアBの搬送始端側が持ち上がる構成としている。
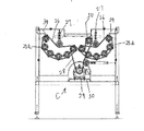
次に洗浄装置Cについて説明する。
洗浄装置Cは複数の洗浄ロール15を並列して設け、洗浄ロール15の下方は開放状態に形成している。洗浄ロール15を略U字上に配列して一箇所の洗浄列K1を形成しており、本実施例では二箇所の洗浄列K1,K2を形成している。洗浄ロール15の洗浄始端側には駆動スプロケット25aをそれぞれ設け、洗浄列K1,K2毎に一本のチェーン26で巻回し、テンション27でチェーンを張る構成である。そして、洗浄ロール駆動モータ29の動力をチェーン28で各洗浄列K1,K2に伝達している。なお、30はモータ載置台で、一つの駆動モータ29が載置されており、50は一つの駆動モータ29で二つの洗浄列K1,K2を回転させるためのカウンタースプロケットである。
洗浄装置Cの側板31の上部には洗浄水を散水する散水装置32を形成している。散水装置32は多数の散水口33aを形成する散水パイプ33からなり、別途設ける水源(図示せず)からの水を洗浄装置Cに向かって散水口33aより散水する構成である。本実施例では水源(図示せず)と接続する散水パイプ33は洗浄終端側で分岐し、洗浄装置Cの左右の側板31それぞれに固定具35で固定している。散水口33aは洗浄始端側の口のピッチ数を多く形成することで、比較的多くの水を集中して散水できる構成としている。また、散水口33aの洗浄始端側の口の面積を他の口よりも大きくしても良い。それにより、散水量全体をできるだけ抑制しながら作物に付着する泥が多い洗浄始端側に集中して散水することができる。
34は散水パイプ33を覆うプレートで、散水口33aに対応して切欠き穴34aを形成している。このプレートは洗浄装置Cで除去された泥が散水口33aに付着して詰まることを防止し、かつ散水パイプ33に直接何らかの衝撃を与えることを防止するためのものである。
プレート34の一端は洗浄装置Cの側板31側に取り付け、多端は洗浄ロール15に当接する構成としている。
洗浄装置Cの洗浄終端側には支点軸26を支点に回動する回動板37を洗浄列K1,K2毎に形成し、回動板37にはウエイト取り付け軸38とウエイト39をそれぞれ取り付けている。40は開動板37の開閉のロック及びロック解除をするロック装置である。
ところで、洗浄ロール駆動モータ29は洗浄始端側より外側に向かって突出する構成である。本実施例のように収容タンクAの終端側と洗浄装置Cの洗浄始端側とを隣接して設けたときに収容タンクAの傾斜部3と洗浄装置Cの洗浄始端側との間に形成される空間部Tを利用して洗浄ロール駆動モータ29を配置する。そのため、隣接する洗浄ロール15間から流れる洗浄水や除去された泥がモータ洗浄ロール駆動モータ29にかかりにくくすることができる。また、洗浄ロール駆動モータ29が洗浄ロール15の下方に配置すると、洗浄ロール駆動モータ29と洗浄ロール15との間に除去した泥が堆積するという不具合が生じていたが本実施例のように構成することで、洗浄ロール15の下方が開放状態になるので泥が堆積することがない。
なお、この空間部Tは下広がりに側面視略三角形状に形成されており、作業者が駆動スプロケット25a及びチェーン26,28等をメンテナンスするときに入り込むことができる。
図11は洗浄ロール15の脱着の構成について説明した図である。
洗浄ロール15の洗浄始端側は角軸15bに形成し、チェーン26を卷回する駆動スプロケット25a及び軸受部41の内部に角軸15bを嵌合し、挿入・抜き出し自在に構成する。洗浄ロール15の洗浄終端側は丸軸15cを軸受けメタル42にキー(図示せず)等を解して脱着可能に嵌め合わせ、軸受けメタル42は洗浄装置Cの搬送終端側の板43にボルト44で取り付けている。なお、板43には洗浄ロール15の径よりも大きい脱着用穴44を形成しておく。
洗浄ロール15を交換するときには、ボルト44を外して軸受けメタル42を板43から取り外す。すると、軸受けメタル42は洗浄ロール15の丸軸15cから外れる。すると、洗浄ロール15は脱着用穴44から引っ張り出すことができる。反対に洗浄ロール15を取り付けるときは洗浄ロール15の角軸15bから脱着用穴44に挿入していき、角軸15cを軸受け部41に挿入し、丸軸15cとキーを軸受けメタル42に挿入し、軸受けメタル42を板にボルト締めをする。
このように、伝動機構45側を取り外すことなく、簡単な作業で洗浄ロール15の脱着作業を行うことができる。
作物洗浄選別装置の作用について説明する。
水を張った収容タンクAに、作業者は収穫したニンジン等の作物を投入する。収容タンクA内に投入された作物は、傾斜部4及び回動傾斜板2により収容タンクAの左右中央部にある搬送コンベアBの搬送始端側に集められ、搬送コンベアBで搬送される。搬送終端側で搬送コンベアBから放出された作物は案内シュート14を通過して洗浄装置Cの各洗浄列K1,K2の洗浄始端側に落下供給される。
作物を持ち上げ搬送したコンベア10が作物を放出した後、傾斜部3と対向しながら移動するときにコンベア10から落下した泥は傾斜部3により泥溜まり部5に堆積されていく。
洗浄装置Cに落下供給された作物は回転する洗浄ロール15のブラシ面15aにより作物表面に付着する泥を除去されながら、洗浄終端側に向かって移送されていく。洗浄終端側に移送された作物は回動板27を押し開けながら洗浄装置Cより排出され、貯留タンクDに貯留されていく。
貯留タンクDに貯留された作物は第二搬送コンベアEにより整列搬送装置に搬送され、整列搬送装置Fで作物の姿勢を修正しながら作物選別装置Gに供給され、作物選別装置Gで重量ごとに選別される。
収容タンクAの泥溜まり部5に堆積した泥を作業者が掻きだす時には、まず、作業中上に持ち上げていたホース7を寝せて収容タンクA内に張った水を排出させる。そして、作業者は回動傾斜板16を回動させ、吊り具19等をフックに18引っ掛けて持ち上げ、回動支点21を支点に搬送コンベアBの搬送始端側を持ち上げる。そして、たとえば持ち上げた搬送コンベアBと収容タンクAとの間を角棒等をかちこみ搬送コンベアBを持ち上げた状態で固定するようにする。そして、開閉板9を開放し泥溜まり部5に堆積した泥を泥抜き通路8から掻き出す。
なお、このとき、案内シュート14を弾性部材にすることで、作物が通過するときに、作物に傷がつきにくい。また、搬送コンベアBを回動させるときに、案内シュート14が洗浄装置Cに当たって搬送コンベアBの回動を阻害したり、案内シュート14自体が破損し難い。
作物洗浄選別装置の平面図 側面から見た収容タンク及び洗浄装置の内部を説明する図 側面から見た搬送コンベアの回動作業を説明する図 平面から見た収容タンク及び搬送コンベアを説明する図 始端側から見た収容タンクと搬送コンベアを説明する図 洗浄装置の平面図 洗浄始端側から見た洗浄装置 洗浄終端側から見た洗浄装置 散水装置の斜視図 散水装置の断面図 洗浄ロールの脱着を説明する図 整列搬送装置及び選別装置の側面図
3 傾斜部
15 洗浄ロール
45 伝動機構
29 駆動モータ
A 収容タンク
B 搬送コンベア
C 洗浄装置
T 空間部

Claims (3)

  1. 作物と水とを収容可能な収容タンク(A)を設け、該収容タンク(A)内に作物を持ち上げ搬送する搬送コンベア(B)を設け、該搬送コンベア(B)で持ち上げ搬送した作物を収容して洗浄する洗浄装置(C)設けた作物洗浄装置において、
    前記搬送コンベア(B)の搬送始端部を略平坦に形成すると共に、搬送途中から搬送終端側にかけて斜め上方向に向かって形成前記搬送コンベア(B)を搬送終端側を支点にして搬送始端側が回動する構成とし、該搬送コンベア(B)の搬送途中から搬送終端側に沿って収容タンク(A)の底部に斜め上方向の傾斜部(3)を形成し、前記洗浄装置(C)内に作物を洗浄する複数の洗浄ロール(15)を略U字状に配置して洗浄列(K1,K2)を形成し、該洗浄ロール(15)の洗浄始端側と収容タンク(A)の傾斜部(3)とを隣させて空間部(T)を形成し、該洗浄ロール(15)を駆動させる駆動モータ(29)を洗浄ロール(15)よりも下方で且つ空間部(T)に突出させて配置し、前記搬送コンベア(B)の搬送始端側に軸(15)を支点に回動する回動傾斜板(16)を設け、該回動傾斜板(16)に吊りフック(18)を設けたことを特徴とする作物洗浄装置。
  2. 前記搬送コンベア(B)から排出される作物を洗浄装置(C)に案内する案内シュート(14)を搬送コンベア(B)の搬送終端側に設け、該案内シュート(14)を弾性体で形成したことを特徴とする請求項1記載の作物洗浄装置。
  3. 前記洗浄列(K1,K2)を二列設け、複数の洗浄ロール(15)の洗浄始端側に駆動スプロケット(25a)をそれぞれ設け、複数の駆動スプロケット(25a)に各々第1チェーン(26)を無端状に巻回し、二列の洗浄列(K1,K2)に一つの駆動モータ(29)からの駆動力を伝動する第2チェーン(28)を設けたことを特徴とする請求項1または2記載の作物洗浄装置。
JP2005055069A 2005-02-28 2005-02-28 作物洗浄装置 Expired - Fee Related JP4635646B2 (ja)

Priority Applications (1)

Application Number Priority Date Filing Date Title
JP2005055069A JP4635646B2 (ja) 2005-02-28 2005-02-28 作物洗浄装置

Applications Claiming Priority (1)

Application Number Priority Date Filing Date Title
JP2005055069A JP4635646B2 (ja) 2005-02-28 2005-02-28 作物洗浄装置

Publications (2)

Publication Number Publication Date
JP2006239488A JP2006239488A (ja) 2006-09-14
JP4635646B2 true JP4635646B2 (ja) 2011-02-23

Family

ID=37046414

Family Applications (1)

Application Number Title Priority Date Filing Date
JP2005055069A Expired - Fee Related JP4635646B2 (ja) 2005-02-28 2005-02-28 作物洗浄装置

Country Status (1)

Country Link
JP (1) JP4635646B2 (ja)

Cited By (1)

* Cited by examiner, † Cited by third party
Publication number Priority date Publication date Assignee Title
CN108433130A (zh) * 2018-04-30 2018-08-24 余芳 一种用于胡萝卜的清洗装置

Families Citing this family (3)

* Cited by examiner, † Cited by third party
Publication number Priority date Publication date Assignee Title
JP5662027B2 (ja) * 2010-01-06 2015-01-28 佐藤農機鋳造 株式会社 洗浄選別装置
CN111589804A (zh) * 2020-05-25 2020-08-28 江苏联峰实业有限公司 一种弹性钢表面处理装置及其处理方法
CN113231405B (zh) * 2021-04-16 2022-06-28 厦门术成自动化科技有限公司 一种基于超音波振荡分解除杂的机构

Family Cites Families (3)

* Cited by examiner, † Cited by third party
Publication number Priority date Publication date Assignee Title
JPH048795Y2 (ja) * 1987-08-19 1992-03-05
JPH10309542A (ja) * 1997-05-08 1998-11-24 Iseki & Co Ltd 球根類洗浄機
JP2000300232A (ja) * 1999-04-20 2000-10-31 Arusu:Kk 搬送装置

Cited By (1)

* Cited by examiner, † Cited by third party
Publication number Priority date Publication date Assignee Title
CN108433130A (zh) * 2018-04-30 2018-08-24 余芳 一种用于胡萝卜的清洗装置

Also Published As

Publication number Publication date
JP2006239488A (ja) 2006-09-14

Similar Documents

Publication Publication Date Title
JP5662727B2 (ja) 貝類取り出し方法と貝類取り出し装置
KR101217090B1 (ko) 정치어망 청소장치
KR20190021119A (ko) 전복 세척장치
KR101347429B1 (ko) 침탈식 자동배추절임장치
JP5715720B2 (ja) 貝類取り出し方法と貝類取り出し装置
JP2012249601A (ja) 茶生葉洗浄装置
KR101974858B1 (ko) 원형 전지 세정기의 물류방법
JP4635646B2 (ja) 作物洗浄装置
KR100641846B1 (ko) 병버섯 재배용 배지병 세척 장치
JP5554959B2 (ja) 漁業用回転ドラム及びその回転ドラムを備えた洗浄装置
JP3699593B2 (ja) 洗浄装置
JP2016208900A (ja) 漁業用洗浄装置
JP4492389B2 (ja) 作物洗浄装置
JP5663553B2 (ja) 果実選別装置
KR20210051047A (ko) 꼬막 종패 분리 및 세척 장치
JP5537314B2 (ja) 養殖貝の洗浄装置
JP5390974B2 (ja) 養殖貝の洗浄装置
JP2011087489A (ja) 養殖・天然物洗浄装置
JP2012249602A (ja) 茶生葉脱水装置
JP2002069974A (ja) 除塵装置
JP2006180726A (ja) 野菜等の洗浄装置及び洗浄方法
KR20120138859A (ko) 그물 세척장치
JP4923540B2 (ja) 作物洗浄装置
AU2007100270A4 (en) Screen Cleaner
JP2010193819A (ja) 作物洗浄装置

Legal Events

Date Code Title Description
A621 Written request for application examination

Free format text: JAPANESE INTERMEDIATE CODE: A621

Effective date: 20080218

A977 Report on retrieval

Free format text: JAPANESE INTERMEDIATE CODE: A971007

Effective date: 20091113

A131 Notification of reasons for refusal

Free format text: JAPANESE INTERMEDIATE CODE: A131

Effective date: 20100223

A521 Request for written amendment filed

Free format text: JAPANESE INTERMEDIATE CODE: A523

Effective date: 20100426

TRDD Decision of grant or rejection written
A01 Written decision to grant a patent or to grant a registration (utility model)

Free format text: JAPANESE INTERMEDIATE CODE: A01

Effective date: 20101026

A01 Written decision to grant a patent or to grant a registration (utility model)

Free format text: JAPANESE INTERMEDIATE CODE: A01

A61 First payment of annual fees (during grant procedure)

Free format text: JAPANESE INTERMEDIATE CODE: A61

Effective date: 20101108

FPAY Renewal fee payment (event date is renewal date of database)

Free format text: PAYMENT UNTIL: 20131203

Year of fee payment: 3

R150 Certificate of patent or registration of utility model

Ref document number: 4635646

Country of ref document: JP

Free format text: JAPANESE INTERMEDIATE CODE: R150

Free format text: JAPANESE INTERMEDIATE CODE: R150

LAPS Cancellation because of no payment of annual fees