JP4635596B2 - 包装装置 - Google Patents

包装装置 Download PDF

Info

Publication number
JP4635596B2
JP4635596B2 JP2004364537A JP2004364537A JP4635596B2 JP 4635596 B2 JP4635596 B2 JP 4635596B2 JP 2004364537 A JP2004364537 A JP 2004364537A JP 2004364537 A JP2004364537 A JP 2004364537A JP 4635596 B2 JP4635596 B2 JP 4635596B2
Authority
JP
Japan
Prior art keywords
product
belt sheet
printing
sheet
packaging
Prior art date
Legal status (The legal status is an assumption and is not a legal conclusion. Google has not performed a legal analysis and makes no representation as to the accuracy of the status listed.)
Expired - Fee Related
Application number
JP2004364537A
Other languages
English (en)
Other versions
JP2006168793A (ja
Inventor
正和 高花
Current Assignee (The listed assignees may be inaccurate. Google has not performed a legal analysis and makes no representation or warranty as to the accuracy of the list.)
Teraoka Seiko Co Ltd
Original Assignee
Teraoka Seiko Co Ltd
Priority date (The priority date is an assumption and is not a legal conclusion. Google has not performed a legal analysis and makes no representation as to the accuracy of the date listed.)
Filing date
Publication date
Application filed by Teraoka Seiko Co Ltd filed Critical Teraoka Seiko Co Ltd
Priority to JP2004364537A priority Critical patent/JP4635596B2/ja
Publication of JP2006168793A publication Critical patent/JP2006168793A/ja
Application granted granted Critical
Publication of JP4635596B2 publication Critical patent/JP4635596B2/ja
Anticipated expiration legal-status Critical
Expired - Fee Related legal-status Critical Current

Links

Images

Landscapes

  • Basic Packing Technique (AREA)
  • Auxiliary Devices For And Details Of Packaging Control (AREA)

Description

本発明は、食品をトレー等の容器に収容した商品を包装する包装装置に関し、詳しくは包装材に、商品に関する情報などを印字する印字手段を備えた包装装置に関する。
商品を包装する包装材に直接印字を行い、その印字された包装材により商品を包装する包装装置、例えば商品の外周に沿ってテープ状の包装材をループ状に巻いて帯掛けする包装装置は既に知られている(例えば、特許文献1参照)。
しかしながら、使用する包装材の種類(材質、色等)、叉は包装される商品(商品自体叉は商品を収容する容器)の色によっては、包装材に印字された内容が見えにくくなったりする。例えば、透明な包装材にバーコード等が印字されている場合、その包装材で包装される商品表面の色が黒色の時には、前記バーコードが読取装置(スキャナー)にて読み取り不能になる場合が発生する、という問題があった。
特開平6−312713号公報
本発明は上記した従来の技術が有する問題点に鑑みてなされたもので、その課題とするところは、商品を包装する包装材の色や包装される商品の色に係わらず、包装材に印字された内容が読取装置で確実に読み取られる印字手段を備えた包装装置を提供することにある。
上記課題を解決するために本発明が講じた技術的手段は、帯シートを包装部に供給して商品を包装する包装装置において、透明部材からなる帯シートを包装部に供給するフィード手段と、帯シートが繰り出される搬送路近傍に、帯シートに不透明物質を付着させる付着手段と、前記包装部と前記付着手段との間に配置され、前記帯シート直接的或いは間接的に印字を行う印字手段と、商品毎に、品名、値段等の商品情報が設定されている商品ファイルと、該商品ファイルの商品を特定する特定手段と、前記商品情報を帯シートに対して印字するための印字位置情報が設定されている印字フォーマットファイルと、該印字フォーマットファイルから印字位置情報を読み出す読み出し手段と、を備え、読み出された印字位置情報に基づき、前記付着手段により帯シートに不透明物質を付着させ、前記印字手段にて不透明物質が付着されたエリアと対向する反対面の帯シートのエリア叉は不透明物質上に前記特定手段により特定された商品の商品情報を印字することを特徴とする(請求項1)。
上記包装装置は、帯掛け包装装置に限らず、ピロー包装装置、製袋包装装置等、何れでもよいものである。
上記不透明物質の形態は、固体(例えば、シール片等)の形態、或いは液状(例えば、塗料等)の形態等、何れでもよく、液状の場合は塗布することで所定厚さの不透明物質の層が形成されるものであればよい。
上記付着手段としては、不透明物質が固体物(例えば、シール片等)である場合は貼付装置が、不透明物質が液状物である場合は塗布装置を使用することができる。叉、固形物の貼付、液状物の塗布は、印刷面叉は印刷面と反対側の面の何れでもよいが、印刷面の場合は、印字のエリアと不透明物質のエリアとが合致する必要があるし、印刷面と反対側の場合は、不透明物質が貼付或いは塗布されたエリアと対向する裏側の包装材のエリアに直接印字されるようにする。
上記手段によれば、透明な帯シートに不透明物質を付着し、その不透明物質の付着部分に印字を行なうため、印字内容が明確に表示される。そして、読取装置による読み取りに問題が生じない内容については、不透明物質を付着することなく帯シートに直接印字する。
上記包装装置の具体例として帯掛け包装装置を挙げると、その構成は、商品載置部を囲むように包装材の帯シートをループ状に繰り出し、その帯シートの先端部を固定し、反対側を引き戻して初期ループを商品外周に沿うループに絞り、帯シートの先端部と重合する部分を接着し切断して帯掛け包装をする包装部を有する包装装置において、透明部材からなる帯シートを包装部に供給するフィード手段と、帯シートが繰り出される搬送路近傍に、帯シートに不透明物質を付着させる付着手段と、前記包装部と前記付着手段との間に配置され、帯シートに直接的或いは間接的に印字を行う印字手段と、商品毎に、品名、値段等の商品情報が設定されている商品ファイルと、該商品ファイルの商品を特定する特定手段と、前記商品情報を帯シートに対して印字するための印字位置情報が設定されている印字フォーマットファイルと、該印字フォーマットファイルから印字位置情報を読み出す読み出し手段と、を備え、読み出された印字位置情報に基づき、前記付着手段により帯シートに不透明物質を付着させ、前記印字手段にて不透明物質が付着されたエリアと対向する反対面の帯シートのエリア叉は不透明物質上に前記特定手段により特定された商品の商品情報を印字することを特徴とする(請求項2)。
上記手段によれば、商品毎に設定された商品情報の印字フォーマットに基づいて包装材の帯シートに不透明物質が付着されるので、印字内容に応じて決まったタイミングで不透明物質を帯シートに付着し、且つ印字することができる。
該印字フォーマットファイルから印字位置情報を読み出す読み出し手段は問わない。つまり、商品特定手段により商品が特定され、印字フォーマットファイルから印字位置情報を、特定された商品の商品情報とは別に、読み出すようにしてもよいし、或いは、各商品に印字位置情報の識別子を割振っておき、商品が特定されたら、印字位置情報も特定され、読み出されるようにしてもよい。
そして、不透明物質を帯シートに付着させる付着手段の起動は、不透明物質上に印字される特定の印字項目の印字位置情報に基づき起動するようにしてもよい(請求項3)。
この手段によれば、印字内容によって不透明物質を付着させる付着手段が起動するため、不透明物質の付着位置と、不透明物質上に印字する印字項目の位置が合致し、安定した印字を行なうことができる。
更に、帯シートに付着する不透明物質は、固体物又は液状物の何れでもよいが、固体物としてラベル用紙を使用してもよい(請求項4)。
この場合は、ラベル用紙(不透明物質)を帯シート容易に付着(貼付)することができると共に、必要事項の印字も容易に行うことができる。
そして、前記帯シートに付着される不透明物質上にはバーコードを印字する(請求項5)。
この場合は、不透明物質上にバーコードが印字されるため、バーコードが読み取り不可能になることはない。
本発明の包装装置は請求項1記載の構成により、帯シートに不透明物質が付着され、その不透明物質の付着部分又は不透明物質の付着部分と対応する反対の面に印字が施されるので、印字内容が明確に現出される。また、読み取りなどに問題の生じない印字内容については、不透明物質がなくても帯シートに直接印字できる為、不透明物質の使用量を最小限に抑えることができる。
又、請求項2記載の構成により、帯シートで商品を帯掛け包装する包装装置において、商品情報の印字フォーマットに基づいて不透明物質が付着されるので、印字項目に対応して決まったタイミングで不透明物質を帯シートに付着し、印字することができる。
更に、請求項3記載の構成により、印字内容によって不透明物質を付着させる付着手段が起動するため、不透明物質の付着位置の設定作業も容易になる。
また、請求項4記載の構成により、ラベル用紙(不透明物質)を帯シートに付着(貼付)することで、不透明物質の付着を容易に、且つ確実に行うことができる。
請求項5記載の構成により、不透明物質上にバーコードが印字されるため、帯シートが透明であってもバーコードが読み取り不可能になることはない。
以下、本発明に係る包装装置の実施の一例を図面に基づいて説明する。
図1乃至図3は包装材として帯シートを使用し、帯シートで商品に帯掛け包装をする帯掛け装置Aの概略を示し、該装置は商品Wの周りに帯シートaを周回させるための初期ループを形成する環状のガイド1と、そのガイド1の側方に配置した帯シートロールa’の装填部2と、前記帯シートaにバーコード印字用のラベル用紙(不透明物質)bを貼付するラベル貼付部(付着手段)3と、前記帯シートaに貼付されたラベル用紙b及び帯シートaに商品情報を印字する印字部(印字手段)4と、商品情報が印字された帯シートを前記環状のガイド1内面に沿って繰り出し及び引き戻すフィード手段5と、初期ループ状態から帯シートの後端側を引き戻して商品Wの外周に沿うループ形状に縮径して帯シートの先端部と重合部を熱溶着する溶着部6と帯シートを切断するカッタ7、及びこれら溶着部6とカッタ7を上下駆動する駆動部8と、更に商品情報等が表示される表示部9と、操作部10とで構成されている。
上記環状のガイド1は、商品Wの出し入れに供する正面略長方形状の窓孔11を開設した前後一対の側板1a,1bと、その前後の側板1a,1bを帯シートaのテープ幅よりやや広い間隔を置いて対峙させ、且つ前記窓孔の開口縁より所定寸法外側に入った位置に沿って周方向に回した底板1cとで構成され、底板1cの表面が帯シートaの案内面として作用する。そして、底板1cは窓孔の孔縁に沿わせて略楕円形状に湾曲形成され、繰り出される帯シートaがスムーズに案内されて初期ループを確実に形成できるように構成されている。そして、底板1cは繰り出された帯シートaの先端とロールa’に連続する部分が重なってループを形成できるように該底板1cに開設した開口12を挟む始端と終端は上下方向にずらして取り付けられており、更に底板1cの始端側の上方における側板1a,1bの内面にはストッパ13が取り付けられ、帯シートaの先端が位置決めされるように構成されている。
叉、上記ガイド1の窓孔の下側孔縁は商品Wの載置部として機能する。尚、前後の側板に開設する窓孔の形状は長方形状に限定されず、商品の出し入れに支障とならなければ形状は任意である。
前記ガイド1の側方に配置した帯シートロールa’の装填部2は、帯掛けの材料となるテープ状の帯シートがロール状に巻かれたロールa’を装填する場所で、中央には帯シートを前記ガイドに向けて繰り出す方向には自由回転し、逆方向には帯シートロールを一体化して駆動回転する一方向クラッチ内蔵の回転軸14が取り付けられており、その回転軸14はモータ15で駆動するように構成されている。この帯シートロールa’がモータ15で逆回転されることで、後述するフィード部5の逆回転による帯シートの引き戻し分を帯シートロールa’に巻き取られる。叉、この装填部2の前面には開閉自在な扉(図示省略)が取り付けられ、帯シートにゴミや埃などが付着しないように構成されている。尚、回転軸14には帯シートが引き出される方向の回転に対して過剰回転を防止する摩擦板ブレーキ構造16が装備されている。
上記装填部2に装填された帯シートロールa’の帯シートa先端部は本体ケースに取り付けたガイドローラ17及びガイド板17’を径由してフィード部5に供給され、そのフィード部5の作動で帯シートaは前記ガイド1内側に繰り出される。そして、前記ガイド板17’の途中にはラベル貼付部3が配置され、そのラベル貼付部3より下流側でフィード部5より上流側にはラベル用紙が貼付された帯シートに印字を行う印字部(印字手段)4が配置されている。
ラベル貼付部(付着手段)3は帯シートが搬送される搬送路近傍に位置し、ロール状に巻いた台紙b’の外側にラベル用紙bを剥離可能に貼付したラベルロールb”と、台紙巻取りリール18と、台紙b’からラベル用紙bを剥離するディスペンサ19と、そのディスペンサ19より下流側に台紙b’から剥離したラベル用紙bを帯シートaに対して貼付するために押え付ける押え部材20が配置されて構成され、前記台紙巻取りリール18がモータ21で駆動回転されることで、ラベルロールb”からラベル用紙bを貼着した台紙b’が引き出されるように構成されている。
そして、ディスペンサ19で台紙b’から剥離されたラベル用紙bは、粘着面を帯シートaに付着して該帯シートaと共に搬送され、その付着状態(貼付状態)をより確実なものとする為に押え部材20で押え付けられる。
その押さえ部材20としては、図4(b)に示す平板部材で構成した押圧ガイド20a、或いは図4(c)に示す押圧ローラ20b等、何れでもよい。
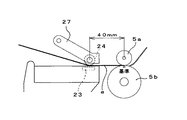
ラベル用紙が貼付された帯シートに商品情報を印字する印字部(印字手段)4は、インクリボン22と、サーマルヘッド23と、プラテンローラ24と、前記プラテンローラ24を駆動回転させるステッピングモータ25と、同プラテンローラ24を上下移動させる移動機構26とで構成され、前記サーマルヘッド23とプラテンローラ24とは対向して配置されている。これにより、帯シートaに商品に関する所定項目が印字され、ラベル用紙bにJANコード(バーコード)が印字される。つまり、ラベル貼付部(付着手段)3にて、帯シートにラベル用紙が貼付されてから印字部(印字手段)4にて帯シートa及びラベル用紙b上への印字がされるので、ラベル貼付部3の位置は、帯シートの搬送路近傍で印字部(印字手段)4より上流であればよい。尚、帯シート及びラベル用紙への印字は、帯シートの先端からの長さによって管理制御される。この点については後段で説明する。
叉、上記印字部(印字手段)4におけるプラテンローラ24は、断面略コ字型に形成したプラテンローラ支持枠27の一側に回転自在に横架支持され、そのプラテンローラ支持枠27の他端側はフレーム28に軸29で上下回動可能に支持されており、更に前記プラテンローラ支持枠27内に支持されたプラテンローラ24の軸部はフレームに開設した円弧案内孔30に嵌挿され、軸29を中心としたプラテンローラ24の上下動が円弧案内孔30によって案内されるように構成されている。
そして、プラテンローラ24をサーマルヘッド23に対して接離させる移動機構26は、前記フレーム28に横架した軸31に前記プラテンローラ支持枠27を下方に押し下げる押圧片32を固着し、軸31の回転による押圧片32の下向き回動で前記プラテンローラ支持枠27が軸29を中心として下方に押し下げられることでプラテンローラ24がサーマルヘッド23に押し付けられる。そして、前記押圧片32を軸着した軸31の回転は、モータ33の回転軸と該軸31とを複数のリンク片34で連結し、モータ33の回転が軸31に伝達されるように構成されている。
叉、前記押圧片32を固着した軸31の端部にはプラテンローラ24がサーマルヘッド23に対する接離(開閉)を検出するフラグ35が取り付けられており、そのフラグ35の回動軌跡上にセンサ36,36’が配置されている。更に、プラテンローラ24をサーマルヘッド23に対して当接させる動作は前記したモータ33の回転により行われるが、プラテンローラ24をサーマルヘッド23から離反させる動作は、前記プラテンローラ支持枠27とフレーム28とに亘って引張りバネ37を張設し、この引張りバネ37の張力でプラテンローラ支持枠27が上方に引き上げられ、プラテンローラ24がサーマルヘッド23から離反される。プラテンローラ24の離反は、前記モータ33の回転により押圧片32がプラテンローラ支持枠27から離れる上向き方向に回動された時、前記引張りバネ37が機能して行われる。
尚、押圧片32を固着した軸31の前面側端部には操作レバー38が取り付けられ、手動操作で押圧片32によるプラテンローラ支持枠27の押圧を解除できるように構成されている。
上記印字部(印字手段)4で所定事項(品名、値段等)の印字Pが行われた帯シートaをガイド1側に供給するフィード手段5は、上下一対のフィードローラ5a,5bで構成され、下側のフィードローラ5bは定位置に支持され、上側のフィードローラ5aは下側のフィードローラ5bに対して接離するよう上下回動可能に支持されている。
そして、下側のフィードローラ5bはモータ5cによって駆動回転するように構成され、上側のフィードローラ5aは前記印字部4におけるプラテンローラ24の上下動(接離動)に連繋して下側のフィードローラ5bに対する接近/離反が切り換わるように構成されている。即ち、印字部(印字手段)4のプラテンローラ24がサーマルヘッド23に接近する印字状態時は上側のフィードローラ5aは下側のフィードローラ5bから離反し、印字手段4のプラテンローラ24がサーマルヘッド23から離反する時は上側のフィードローラ5aは下側のフィードローラ5bと接触するように構成されている。
この上側のフィードローラ5aが下側のフィードローラ5bと接触し、上下のフィードローラ5a,5bによって帯シートaが挾着され、下側のフィードローラ5bが正転方向(時計回り方向)に駆動回転することで帯シートaはガイド1に向けて送り出され、逆転方向(反時計回り方向)に駆動回転することで帯シート1は引き戻される。
上側のフィードローラ5aは、矩形状の枠体39に回転可能に横架支持され、その枠体39はフレーム28に対し軸40で上下回動可能に軸支されている。枠体39の回動支点となる軸40の位置は、上側のフィードローラ5aが下方に回動して下側のフィードローラ5bと接触する接点が下側のフィードローラの軸芯を通る鉛直線上となる位置とする。
そして、この前記枠体39は、該枠体39の側近でフレーム28に回動自在に軸支した押圧カム41によって下方に回動されるように構成されている。
上記押圧カム41の回動は、前記印字部(印字手段)4における押圧片32を固着した軸31と押圧カム41とをリンク42で連結し、軸31の回動により押圧カム41がリンク42を介して揺動されるように構成されている(図4(a)参照)。尚、上側のフィードローラ5aを保持した枠体39の上方への回動(フィードローラの離反)は、前記押圧カム41による枠体39の押圧が解除された時、付勢手段64によって軸40を中心として上方に回動することで離反される。
上記フィード手段5の下流側で前記ガイドの下側位置には、前記ガイド1内に供給した帯シートaを該ガイド1の内面に沿って案内し、初期ループを形成し、その後ガイド内に載置した商品Wの外周面に沿うように初期ループを絞って縮径し、帯シートaの先端部と重なり合う部分を熱溶着し、且つ帯シートロールa’に繋がる帯シートaを切断する溶着部6、カッタ7、及びこれら溶着部6とカッタ7を上下駆動する駆動部8が配置されている。
上記溶着部6は、前記ガイド1の窓孔11における下側の底板1cの開口12内に、帯シートの繰り出し方向に向かい所定間隔をおいて鉛直に起立配置した第1押え板43,第2押え板44と、その第1押え板43と第2押え板44との間に配置した熱溶着板45と、これら第1押え板43、第2押え板44及び熱溶着板45の真上位置にガイド1の側方から出没自在に配置した受け板46とで構成されている。
そして、前記フィード手段5寄りに配置した第1押え板43には上端面より僅か下方位置に帯シートaが嵌挿される通孔47が開設されており、フィード手段5の作動で繰り出される帯シートaの先端はこの通孔47を通ってガイド1に供給される。その為に、第1押え板43より下流側に配置される第2押え板44の上端は前記第1押え板43の通孔47の下側孔縁と面一か或いは下側孔縁より下方となるように配置されている。
叉、第1押え板43と第2押え板44との間に配置する熱溶着板45は、第1押え板43と第2押え板44で帯シートaを押えた後熱溶着する為、該熱溶着板45の上端は第2押え板44の上端より下方に位置されている。
前記第1押え板43と熱溶着板45の上端面を受け止める受け板46は、前記ガイド1の側方(裏側)に該ガイドと直交して配置され、且つその受け板46の上面はガイド1の窓孔11の下側孔縁と面一に保持され、ガイド1内に突出して商品載置面を形成する。そして、この受け板46とガイド1の底板1cとで区画される通路(空間)に帯シートaの先端部が嵌入し、その帯シートaの先端部は前記開口12より下流側における側板1a,1bの内面に突出形成したストッパ13に衝合して先端の位置決めが行われる。
カッタ7は、帯シートaの重合部を熱溶着してループを完成させた後、そのループに連続する帯シートを溶着部近傍で切断するもので、前記第1押え板43と熱溶着板45との間に挾着配置され、且つ前記第1押え板43の側面に沿って該第1押え板43の通孔47を越える位置まで上下することで、該通孔47を貫通している帯シートaは第1押え板43の通孔47の孔縁とカッタ7によるせん断作用で切断されるように構成されている。
上記した溶着部6とカッタ7を上下駆動する駆動部8は、モータ48とカム機構49とで構成され、カム機構49はカムやリンク機構を前記第1押え板43、第2押え板44、熱溶着板45、カッタ7に連結し、更に前記第1押え板43、第2押え板44、熱溶着板45とカッタ7が順次時間差をおいて上下作動するように構成されている。そして、カム機構49の動作を制御する為に該カムを回転する軸に回転板51を固着し、回転板51の外周所定箇所に設けた原点をカム原点センサ52で検知し、駆動部8が制御されるようになっている。
叉、前記ガイド1の帯シートaの先端が位置決め停止される位置より手前側(上流側)の所定位置には、帯掛けする為に供給される帯シートaの先端部が所定位置に到達したことを検出する帯シート先端検出センサ(停止センサ)53が配置されている。この帯シート先端検出センサ53の検出信号により前記帯シートaを繰り出すフィード手段5の駆動が停止され、再度駆動して帯シートaの先端がストッパに当接するまでの繰り出しが制御されている。
更に、前記ガイド1における商品Wが載置される位置の線上外側には、商品検出センサ54が設置され、ガイド1内の所定位置に商品Wが置かれているか否かが検出されるようになっており、商品Wが検出されると前記フィード手段5が起動し、帯シートaの引き戻しを開始するようになっている。
図5は、上記の如く構成した帯掛け装置Aの帯掛けの作動を制御する制御部と、帯掛けの帯シートaに印字を行う印字部の電気的構成を示すブロック図である。
帯掛制御部55は、通信用INFを介して印字制御部56と接続され相互に交信できるようにしてあり、各制御部55,56は、マイクロコンピュータで構成されるCPU(中央処理装置)57,61により制御される。
CPU57には、バス57aを介してROM58、RAM59、帯掛機構駆動部60、帯シート先端検出センサ(停止センサ)53、商品検出センサ54、カム原点センサ52、ラベル貼付部(ラベル発行部)3が接続されている。
ROM58は、CPU57が実行する制御プログラムが格納されており、RAM59には、CPU57とCPU61との通信データ等を一時記憶するエリアである。
前記帯掛機構駆動部60としては、溶着部6の熱溶着板45への通電のON/OFF、プラテンローラ22及び上側フィードローラ5aの開閉駆動モータ33、下側フィードローラ5bの駆動用モータ5c、帯シート巻取り駆動用モータ15、溶着切断手段6及びカッタ7の上下駆動用モータ48、プラテンローラ駆動用モータ25が挙げられ、これ等の駆動/停止が制御される。
印字制御部56のCPU61には、バス61aを介してROM62、RAM63、表示操作部9、キー操作部10、印字部4が接続されている。
ROM62は、CPU61が実行する制御プログラムが格納されており、RAM63には商品毎の品名等の商品情報を記憶しておく商品ファイル(図8参照)、トレイに関する各種データを記憶しておくトレイファイル(不図示)、帯掛けの帯シート(ラベルを含む)に商品に関する所定の項目を印字する為の印字位置情報を記憶しておく印字フォーマットファイル(図9参照)等のファイルが記憶されている。
表示操作部9は、タッチパネルで構成されており、CPU61の指令に基づいて入力データの表示、プリセットデータの表示、各種メッセージの表示を行うものである。
キー操作部10は、装置の起動、停止等のための各種スイッチ及びデータの入力等を行うキーボードからなる。
前記RAM63に記憶される商品ファイルは、図8に示すように、品番(商品番号)、品名、値段、印字フォーマット番号等が設けられており、品番を特定することで、各商品を特定することができる(特定手段)。
印字フォーマットファイルは、図9(a)、(b)、(c)に示すように、印字フォーマット番号(識別子)毎に印字開始、印字項目(品名、値段、バーコード等)毎の印字位置、及び印字項目毎のラベル貼付の有無を示すフラグ(ラベル貼付)等の印字位置情報が設定されており、印字位置は帯シートの先端からの距離、帯シートの幅に対する位置(帯シートの幅方向の一方端を基点O(0,0)とし、その基点から幅方向(X)、及び長手方向(Y)を始点として、そこからのX方向の幅(印字領域X幅)、Y方向の幅(印字領域Y幅)が設定されている。
印字位置Xは、対応項目の印字エリアについて、印字時における帯シートの進行方向と直交する方向における基点Oから印字開始位置のX座標を表し、ドット単位で示される値である。
印字位置Yは、対応項目の印字エリアについて、印字時における帯シートの進行方向における基点Oから印字開始位置のY座標を表し、ドット単位で示される値である。
印字領域X幅は、対応項目の印字エリアのX座標方向のドット数、印字領域Y幅は対応項目の印字エリアのY座標方向のドット数を表す。上記各ドット数は、キー操作部10の数字キーによる入力により任意の数字に設定することができる。また、本実施例では8ドット分が1mmに該当するようになっている。
尚、JANコード(バーコード)が帯シートにラベル用紙を貼付して印字する場合、JANコードの印字位置データがラベル用紙が貼着された位置と一致するよう貼付部を駆動する。
次に、帯シートにラベル用紙(不透明物質)を貼付し、帯シートとラベル用紙に印字し、その印字した帯シートで商品に帯掛けする動作の概略を図10のフローチャートに基づいて説明する。尚、以下の例では各商品に、印字位置情報の識別子である印字フォーマット番号が設定されており、商品が特定されることで当該商品の品名や値段などといった商品情報の印字位置情報が読み出される。
(S1)…帯シートaがセットされていることを確認し、オペレータにより電源スイッチがONされる。電源スイッチがONされるとCPU57は、溶着部6とカッタ部7を上下するカム機構49のカムが初期位置(カム原点センサ52を遮る)に戻るよう制御する。そして、フィード部5が作動して帯シートaの先端を所定位置まで繰り出し、駆動部8が作動してカム機構49が作動することでカッタ7が上昇し、受け板46がカッタ7の上方位置へ突出移動し、受け板46とカッタ7とで帯シートaが挟まれ、帯シートaが切断される。そして、CPU57はフィード手段5を逆回転させて前記帯シートaの切断先端部を該フィード手段5(上下一対のフィードローラの接点間に帯シートの先端が挟まれる位置)へ引き戻し、位置させるよう制御する(図6参照)。この位置が帯シートの初期位置である。尚、印字部(印字手段)4のサーマルヘッドとプラテンローラとの接点からフィード手段5上の初期位置までの距離は装置構成時に決定される。本実施例では、この距離を40mmとする。
(S2)…表示操作部9に表示された商品情報の商品ファイルから、オペレータの選択操作により、帯掛けする被帯掛け商品Wの品番が選択され(特定手段)、当該品番の商品情報が読み出される。
(S3)…スタートボタンがオペレータにより押される。
(S4)…(S2)で選択された品番に関連付けられている印字フォーマット番号の印字位置情報がRAM63の印字フォーマットファイルより読み出され(読み出し手段)、その読み出された品番の商品情報、印字位置情報がRAM63の他のエリアに一時記憶される。そして、RAM63の他のエリアに一時記憶された印字位置情報の印字開始データが40mmか否かをCPU61が判断する。つまり、該印字開始データから40mmを減算し、その値が“0(ゼロ)”かどうかを判断する。そして、その減算値(差分データ)を前記RAM63の他のエリアに一時記憶する。
(S5)…(S4)で読み出した印字位置情報に基づき、印字開始位置が合わされる。尚、前記印字位置情報には、印字開始データの他に、帯シートaに印字する項目毎に、印字位置の始点である幅方向(X)、長さ方向(Y)、その始点からのX方向の幅、Y方向の幅等のデータ、及びラベル貼付のフラグが設定されている(図9参照)。
(S4)で読み出した印字開始データが40mmでない場合、つまり40mm以上(本実施例では40mmが最小値)と判断された場合は、(S4)で一時記憶された印字位置情報の、印字開始データと初期位置である40mmとの差分データと、更にプラテン/フィードローラ開閉駆動モータ33を駆動させプラテンローラをサーマルヘッドから離反させる信号とを、通信INFを介してCPU61(印字制御部)からCPU57(帯掛制御部)へ送信する。つまり40mm以上(本実施例では40mmが最小値)と判断された場合は、印字部(印字手段)4のプラテンローラがサーマルヘッドから離反するよう上昇する。
印字部(印字手段)4のプラテンローラの上下動と、フィード手段5の上側のフィードローラ5aの上下動は相反する動きをするようリンク結合されているので、フィード部5の上側のフィードローラ5aは下降して下側のフィードローラ5bとで帯シートaを挟持し、(S4)でRAM59に一時記憶した印字開始データと40mmとの差分データ分だけ、フィード部5のフィードローラモータ5cを回転させる。例えば、印字開始データが60mmである場合は、フィードローラモータ5cの駆動で帯シートaの先端を初期位置から20mmだけ前方に繰り出し、印字部(印字手段)4の位置から帯シートaの先端までの長さを60mmに合わせる。
(S6)…(S4)でRAM63の他のエリアに一時記憶された印字位置情報に設定された各印字項目にラベル用紙(不透明物質)bを貼付するか否かを示すフラグ(1:貼付する、0:貼付しない)があるかをCPU61が判断する。YESの場合はS7に進む。
(S7)…RAM63からラベル貼付フラグに[1]が設定されている印字項目について、印字位置Yが読み出される。
(S8)…(S7)でRAM63に一時記憶された印字位置情報の印字位置Yのデータが70mm以上か否かをCPU61が判断する。ここで、70mmとは、サーマルヘッド23とラベル貼付部との間隔で、装置の機構的な理由によって決定される。70mmより小さい数値の場合は、ラベル貼付部よりも印字部(印字手段)4寄りになる為、ラベル用紙を貼付することは物理的に不可能である。YESの場合は(S9)に進む。
(S9)…(S7)でRAM63から読み出された印字項目の印字位置Yの座標ドットから70mmに該当する560ドット分を減算し、その減算したデータと、プラテン/フィードローラ開閉駆動モータを駆動させプラテンローラをサーマルヘッドから離反させる信号とを、通信INFを介してCPU61からCPU57へ送信する。
(S10)…(S5)で既に印字開始位置が合っているので、(S4)で一時記憶された印字位置情報にて印字を開始する。
(S11)…(S9)にて、帯掛制御部側で受信したデータはRAM59の一時記憶エリアに記憶される。そして、CPU57の制御により、(S9)で算出された距離分、ステッピングモータが回転してラベル用紙bを帯シートa上に貼付する。
(S12)…(S6)のラベル貼付フラグ[1]が設定されている印字項目の印字データが設定されている場合には、所定時間経過後にラベル用紙が貼付された帯シート部分が印字部(印字手段)4を通過するので、CPU61の制御により所定の情報、例えばバーコードがラベル用紙b上に印字される。
尚、(S6)でNOの場合は、(S13)に進み、ラベル用紙bは貼付されず、(S14)で帯シートa上に、CPU61の制御により、RAM63に記憶された印字フォーマットファイルと商品ファイルとに基づき印字部(印字手段)4で所定項目の印字が行われる。(S8)の判断がNOの場合も同様である。
上記構成により、搬送される帯シートa上にラベル用紙が貼付され、貼付されたラベル用紙b上に所定事項が印字される。
(S15)…印字が終了したら、CPU57の制御により印字部4のプラテンローラをサーマルヘッドから離反させるモータを駆動させ、これによりプラテンローラがサーマルヘッドから離反し、フィード手段5にて帯シートを挟持する。
そして、フィード手段5により帯シートが所定量繰り出され、ガイド1内の商品載置部に置かれた商品Wに帯シートを帯掛けし、帯シートを商品外周に沿うように縮径させて商品Wへの帯掛け包装が完了する。
以上のようにすることで、帯シートに不透明物質であるラベルを貼付することができ、該ラベル上に例えばバーコード等の所定事項を印字することができ、該ラベルが貼付された帯ラベルによって商品を帯掛け包装することができる。
上記の説明では、各商品に印字位置情報の識別子である印字フォーマット番号が設定されており、商品が特定されることで、当該商品の品名や値段等の印字位置情報が読み出されるような一例を示したがこれに限定されるものではない。例えば、商品が収納されるトレイのサイズ毎にトレイ番号を識別子として定まっているようなトレイファイルを有し、各トレイ番号毎に帯掛け包装の際の帯シートを縮径する絞り量が割振られており、該トレイ番号が各商品(各品番)に設定されているようにしてもよい。これにより、商品が特定されることでトレイ番号も特定され、使用するトレイの大きさに合った帯シートの絞り量にて帯掛け包装をすることができる。
また、前記トレイファイルの各トレイ番号に前記印字フォーマット番号を設定するようにし、該トレイ番号を各商品(各品番)に設定するようにしてもよい。これにより、商品だけを特定することで、当該商品の品名等の商品情報、トレイ番号から特定される使用するトレイに合った絞り量、更には印字フォーマット番号にて特定される印字位置情報が読み出される。
また、例えば透明の帯シートaにバーコードを印字する場合、バーコードが印字されている基材(帯シート)が透明なので、バーコードは光学的に読み取り不能になる場合がある。
このような場合に、透明な帯シートの上に不透明物質のラベル用紙bを貼付し、その後、帯シートに貼付されたラベル用紙上にバーコードを印字することで、バーコードは確実に読み取り可能になる。但し、ラベル用紙に印字する内容は特定されず、イメージデータ等でもよい。
また、帯シート(包装材)に貼付するラベル用紙は、無印字のラベル用紙に限らず、予め所定事項が印字されたラベルを用い、帯シートa上の所定位置に貼付するようにしてもよい。例えば、POPラベル等に利用できる。この場合は、上記読み出された印字フォーマットにラベル貼付フラグが設定されており、該当する印字項目の印字内容が設定されていない場合は、帯シートの所定の場所にラベル用紙だけが貼付される。例えば、予めカラー印字された“お買い得”や“おすすめ”等が印字された広告ラベル等は、上記のようにすることで所定の位置に自動的に貼付することが出来る。
上記したフローチャートは、手動モードによる動作であるが、商品載置部近傍に商品センサ54を設け、その商品センサ54により商品Wが検知された時、起動するような自動モードを備えてもよいものである。
その自動モードの場合は、複数の同じ商品を帯掛け包装する場合に、包装する商品毎にスタートキーを操作しなくてよいという利点がある。
以上は透明な帯シートの表裏二面のうち、帯シートへの印字がされる面にラベル用紙を貼付し、該ラベル用紙への印字を行う例を説明したが、これに限らず、透明な帯シートへの印字がされる面とは反対の面にラベル用紙を貼付し、帯シートのラベル用紙が貼付されているエリアの対向する反対の面の帯シート上に印字するようにしてもよい。
これにより、帯シートの反対の面にラベル用紙が貼付されているので、帯シートに印字された事項は、前記ラベル用紙に印字した場合同様、例えば、バーコードは光学的に読み取り可能になる。また、バーコード以外の情報の場合は、印字された帯シートの下面にラベル用紙が貼付されているので、印字された情報が商品の色と混同することがなく、該情報が読み易くなる。
本発明は上記した実施の形態に限定されるものではなく、本発明の要旨を変更しない範囲で変更可能である。
(1)本実施例では帯シートでループを形成する為に環状のガイドを用いたが、ガイドを用いない帯掛け装置でもよいものである。叉、帯掛け装置の包装部の機構は問わない。
(2)包装材の機械読みする印字項目の印字位置エリアの裏側に印刷(例えば白色塗料による)を施し、その印刷した位置の包装材表面にバーコードを印字するようにしてもよい。
(3)本装置の商品載置部に計量装置を配置し、或いは計量装置を接続して、商品の重量を計測し、その計測した重量データを帯シートに印字するようにしてもよい。
(4)印字内容は問わない。被帯掛け商品の産地、添加物名、賞味期限、商品の原体を示す個体識別番号、商品に関する広告データやイメージデータ等を印字してもよい。
(5)電源をONすると同時にリセット動作をするようにしているが、リセット動作のみを実行するスイッチを別途設けてもよい。
本発明に係る帯掛け装置の実施の一例を示す概略正面図。 同機構部の概略を示す平面図。 同機構部の概略を示す側面図。 (a)は帯シートにラベル用紙(不透明物質)を付着し印字する部分を示す拡大図、(b)は帯シートにラベル用紙を付着する部分が平板からなる押圧ガイドである例、(c)は帯シートにラベル用紙を付着する部分が押圧ローラである例を示す。 帯掛制御部と印字制御部の電気的構成を示すブロック図。 帯シートが初期位置にセットされ、印字を開始する状態の同説明図。 帯シートに対する印字位置を示す説明図 商品ファイルの一例を示す説明図。 (a)〜(c)は印字フォーマットファイルの一例を示す説明図。 帯掛け動作を説明するフローチャートである。 (a)は帯掛けを完成した商品の斜視図、(b)は(a)図の(X)−(X)線に沿える断面図。
符号の説明
A…帯掛け装置 a…帯シート
b…ラベル用紙 1…ガイド
3…ラベル貼付部(付着手段) 4…印字部(印字手段)
5…フィード部(フィードローラ) 6…溶着部
7…カッタ 8…熱溶着部/カッタの上下駆動部
9…表示部 10…操作部
W…商品

Claims (5)

  1. 帯シートを包装部に供給して商品を包装する包装装置において、
    透明部材からなる帯シートを包装部に供給するフィード手段と、
    帯シートが繰り出される搬送路近傍に、帯シートに不透明物質を付着させる付着手段と、
    前記包装部と前記付着手段との間に配置され、前記帯シート直接的或いは間接的に印字を行う印字手段と、
    商品毎に、品名、値段等の商品情報が設定されている商品ファイルと、
    該商品ファイルの商品を特定する特定手段と、
    前記商品情報を帯シートに対して印字するための印字位置情報が設定されている印字フォーマットファイルと、
    該印字フォーマットファイルから印字位置情報を読み出す読み出し手段と、
    を備え、読み出された印字位置情報に基づき、前記付着手段により帯シートに不透明物質を付着させ、前記印字手段にて不透明物質が付着されたエリアと対向する反対面の帯シートのエリア叉は不透明物質上に前記特定手段により特定された商品の商品情報を印字することを特徴とする包装装置。
  2. 商品載置部を囲むように包装材の帯シートをループ状に繰り出し、その帯シートの先端部を固定し、反対側を引き戻して初期ループを商品外周に沿うループに絞り、帯シートの先端部と重合する部分を接着し切断して帯掛け包装をする包装部を有する包装装置において、
    透明部材からなる帯シートを包装部に供給するフィード手段と、
    帯シートが繰り出される搬送路近傍に、帯シートに不透明物質を付着させる付着手段と、
    前記包装部と前記付着手段との間に配置され、前記帯シートに直接的或いは間接的に印字を行う印字手段と、
    商品毎に、品名、値段等の商品情報が設定されている商品ファイルと、
    該商品ファイルの商品を特定する特定手段と、
    前記商品情報を帯シートに対して印字するための印字位置情報が設定されている印字フォーマットファイルと、
    該印字フォーマットファイルから印字位置情報を読み出す読み出し手段と、
    を備え、読み出された印字位置情報に基づき、前記付着手段により帯シートに不透明物質を付着させ、前記印字手段にて不透明物質が付着されたエリアと対向する反対面の帯シートのエリア叉は不透明物質上に前記特定手段により特定された商品の商品情報を印字することを特徴とする包装装置。
  3. 前記付着手段は、不透明物質上に印字される特定の印字項目の印字位置情報に基づき起動されることを特徴とする請求項1又は2記載の包装装置。
  4. 前記不透明物質はラベル用紙であることを特徴とする請求項1乃至3の何れか1項記載の包装装置。
  5. 記帯シートに付着される不透明物質上にはバーコードが印字されることを特徴とする請求項1乃至4の何れか1項記載の包装装置。
JP2004364537A 2004-12-16 2004-12-16 包装装置 Expired - Fee Related JP4635596B2 (ja)

Priority Applications (1)

Application Number Priority Date Filing Date Title
JP2004364537A JP4635596B2 (ja) 2004-12-16 2004-12-16 包装装置

Applications Claiming Priority (1)

Application Number Priority Date Filing Date Title
JP2004364537A JP4635596B2 (ja) 2004-12-16 2004-12-16 包装装置

Publications (2)

Publication Number Publication Date
JP2006168793A JP2006168793A (ja) 2006-06-29
JP4635596B2 true JP4635596B2 (ja) 2011-02-23

Family

ID=36669958

Family Applications (1)

Application Number Title Priority Date Filing Date
JP2004364537A Expired - Fee Related JP4635596B2 (ja) 2004-12-16 2004-12-16 包装装置

Country Status (1)

Country Link
JP (1) JP4635596B2 (ja)

Families Citing this family (4)

* Cited by examiner, † Cited by third party
Publication number Priority date Publication date Assignee Title
JP2008207846A (ja) * 2007-02-27 2008-09-11 Teraoka Seiko Co Ltd 帯掛け装置
JP4965281B2 (ja) * 2007-02-27 2012-07-04 株式会社イシダ 帯巻装置
JP6408652B1 (ja) * 2017-05-30 2018-10-17 トキワ工業株式会社 包装フィルム加工装置、包装機、および、包装フィルム加工方法
JP7456769B2 (ja) * 2019-12-26 2024-03-27 エフピコダイヤフーズ株式会社 卵包装体の製造方法

Family Cites Families (2)

* Cited by examiner, † Cited by third party
Publication number Priority date Publication date Assignee Title
JPS59174419A (ja) * 1983-03-17 1984-10-02 日魯工業株式会社 梱包バンド式捺印梱包機械
JP3589534B2 (ja) * 1996-09-26 2004-11-17 株式会社ユポ・コーポレーション 結束紐

Also Published As

Publication number Publication date
JP2006168793A (ja) 2006-06-29

Similar Documents

Publication Publication Date Title
CN106457850B (zh) 打印机
NZ294717A (en) Thermal label printer; printer components have adhesive face engaging surfaces plasma coated so that adhesive will not stick to them
WO2009107534A1 (ja) テープカセット、テープ作成装置及びテープ作成システム
JP4600026B2 (ja) 帯掛け装置
JP5407302B2 (ja) 帯掛け装置
JP2008207846A (ja) 帯掛け装置
JP4635596B2 (ja) 包装装置
JPH092441A (ja) ラベルプリンタ
JP4929838B2 (ja) 帯掛け方法及びその帯掛け装置
JPH06199332A (ja) 見出しラベル貼着装置
JP4650031B2 (ja) 帯掛け装置
JP2009083911A (ja) 帯巻装置
JP4965281B2 (ja) 帯巻装置
JP5999575B2 (ja) テープ印字装置
JP4581657B2 (ja) 帯掛け装置
JP6380275B2 (ja) プリンタ、包装装置
JP5549075B2 (ja) 帯掛け装置
JP7301353B2 (ja) 印刷装置
JP2009000973A (ja) プリンタ
JP3932718B2 (ja) ラベルライター用テープ、ラベルライター用テープカセット及びラベルライター
JP3941106B2 (ja) 印字用テープ及びテープ印字装置
JP7330479B2 (ja) 帯巻き包装装置、包装方法
JP2019119493A (ja) 帯掛け装置
JP2006290370A (ja) 帯掛け装置
JP7229577B2 (ja) ラベルプリンタ及びラベル発行方法

Legal Events

Date Code Title Description
A621 Written request for application examination

Free format text: JAPANESE INTERMEDIATE CODE: A621

Effective date: 20070830

RD02 Notification of acceptance of power of attorney

Free format text: JAPANESE INTERMEDIATE CODE: A7422

Effective date: 20080327

A977 Report on retrieval

Free format text: JAPANESE INTERMEDIATE CODE: A971007

Effective date: 20100517

A131 Notification of reasons for refusal

Free format text: JAPANESE INTERMEDIATE CODE: A131

Effective date: 20100622

A521 Request for written amendment filed

Free format text: JAPANESE INTERMEDIATE CODE: A523

Effective date: 20100810

TRDD Decision of grant or rejection written
A01 Written decision to grant a patent or to grant a registration (utility model)

Free format text: JAPANESE INTERMEDIATE CODE: A01

Effective date: 20101026

A01 Written decision to grant a patent or to grant a registration (utility model)

Free format text: JAPANESE INTERMEDIATE CODE: A01

A61 First payment of annual fees (during grant procedure)

Free format text: JAPANESE INTERMEDIATE CODE: A61

Effective date: 20101108

FPAY Renewal fee payment (event date is renewal date of database)

Free format text: PAYMENT UNTIL: 20131203

Year of fee payment: 3

R150 Certificate of patent or registration of utility model

Ref document number: 4635596

Country of ref document: JP

Free format text: JAPANESE INTERMEDIATE CODE: R150

Free format text: JAPANESE INTERMEDIATE CODE: R150

FPAY Renewal fee payment (event date is renewal date of database)

Free format text: PAYMENT UNTIL: 20131203

Year of fee payment: 3

R250 Receipt of annual fees

Free format text: JAPANESE INTERMEDIATE CODE: R250

R250 Receipt of annual fees

Free format text: JAPANESE INTERMEDIATE CODE: R250

R250 Receipt of annual fees

Free format text: JAPANESE INTERMEDIATE CODE: R250

R250 Receipt of annual fees

Free format text: JAPANESE INTERMEDIATE CODE: R250

R250 Receipt of annual fees

Free format text: JAPANESE INTERMEDIATE CODE: R250

R250 Receipt of annual fees

Free format text: JAPANESE INTERMEDIATE CODE: R250

R250 Receipt of annual fees

Free format text: JAPANESE INTERMEDIATE CODE: R250

R250 Receipt of annual fees

Free format text: JAPANESE INTERMEDIATE CODE: R250

R250 Receipt of annual fees

Free format text: JAPANESE INTERMEDIATE CODE: R250

R250 Receipt of annual fees

Free format text: JAPANESE INTERMEDIATE CODE: R250

R250 Receipt of annual fees

Free format text: JAPANESE INTERMEDIATE CODE: R250

LAPS Cancellation because of no payment of annual fees