JP4635238B2 - 分電盤 - Google Patents

分電盤 Download PDF

Info

Publication number
JP4635238B2
JP4635238B2 JP2004195788A JP2004195788A JP4635238B2 JP 4635238 B2 JP4635238 B2 JP 4635238B2 JP 2004195788 A JP2004195788 A JP 2004195788A JP 2004195788 A JP2004195788 A JP 2004195788A JP 4635238 B2 JP4635238 B2 JP 4635238B2
Authority
JP
Japan
Prior art keywords
blade portion
blade
distribution board
hinge
attached
Prior art date
Legal status (The legal status is an assumption and is not a legal conclusion. Google has not performed a legal analysis and makes no representation as to the accuracy of the status listed.)
Expired - Fee Related
Application number
JP2004195788A
Other languages
English (en)
Other versions
JP2006020422A (ja
Inventor
龍二郎 和田
Original Assignee
千葉電機株式会社
Priority date (The priority date is an assumption and is not a legal conclusion. Google has not performed a legal analysis and makes no representation as to the accuracy of the date listed.)
Filing date
Publication date
Application filed by 千葉電機株式会社 filed Critical 千葉電機株式会社
Priority to JP2004195788A priority Critical patent/JP4635238B2/ja
Publication of JP2006020422A publication Critical patent/JP2006020422A/ja
Application granted granted Critical
Publication of JP4635238B2 publication Critical patent/JP4635238B2/ja
Anticipated expiration legal-status Critical
Expired - Fee Related legal-status Critical Current

Links

Images

Classifications

    • EFIXED CONSTRUCTIONS
    • E05LOCKS; KEYS; WINDOW OR DOOR FITTINGS; SAFES
    • E05DHINGES OR SUSPENSION DEVICES FOR DOORS, WINDOWS OR WINGS
    • E05D3/00Hinges with pins
    • E05D3/06Hinges with pins with two or more pins
    • E05D3/12Hinges with pins with two or more pins with two parallel pins and one arm
    • EFIXED CONSTRUCTIONS
    • E05LOCKS; KEYS; WINDOW OR DOOR FITTINGS; SAFES
    • E05YINDEXING SCHEME ASSOCIATED WITH SUBCLASSES E05D AND E05F, RELATING TO CONSTRUCTION ELEMENTS, ELECTRIC CONTROL, POWER SUPPLY, POWER SIGNAL OR TRANSMISSION, USER INTERFACES, MOUNTING OR COUPLING, DETAILS, ACCESSORIES, AUXILIARY OPERATIONS NOT OTHERWISE PROVIDED FOR, APPLICATION THEREOF
    • E05Y2900/00Application of doors, windows, wings or fittings thereof
    • E05Y2900/20Application of doors, windows, wings or fittings thereof for furniture, e.g. cabinets
    • E05Y2900/208Application of doors, windows, wings or fittings thereof for furniture, e.g. cabinets for metal cabinets

Landscapes

  • Engineering & Computer Science (AREA)
  • Mechanical Engineering (AREA)
  • Hinges (AREA)
  • Patch Boards (AREA)
  • Distribution Board (AREA)

Description

本発明は、分電盤に関するものである。
従来の分電盤Bは、例えば、図11(A)に示すように、箱体1と取付具2と基板(中板)3と支柱4と中扉(中皿)5と化粧枠6と中皿取付枠7と外扉8とを備えてなっている。
当該基板3は、分岐開閉器などの複数の電気機器を固定させるもので、図示のように、取付馬と称される取付具2により箱体1に取り付けられている。
当該基板3には、中扉取付用支柱4を立設して中扉5を取付けている。当該中扉5は、分岐開閉器などの複数の電気機器の操作部を露出させるもので、従来例では、上記のように、当該中扉5を基板3に取付る為に、中扉取付用支柱4を立設している。
当該基板3には、例えば、主幹ブレーカ(開閉器)9と分岐ブレーカ(開閉器)10が取り付けられ、当該中扉5には、当該主幹ブレーカ9と分岐ブレーカ10のそれぞれの操作部(ハンドル)11を突出しさせる複数の窓孔が開けられている。
図11(B)は、当該中扉5において当該主幹ブレーカ9と分岐ブレーカ10のそれぞれのハンドル11が窓孔から突出しさせる様子を例示している。
当該中扉5は、上記のように、主幹ブレーカ9及び分岐ブレーカ10のそれぞれのハンドル11を突出しさせて、当該箱体内部の主幹ブレーカ9及び分岐ブレーカ10の導電部及びその間の接続導電部12への接触(感電)を回避するために、箱体の開口部を塞ぐ形で当該箱体1に取付けられている。
主幹ブレーカ9と分岐ブレーカ10のそれぞれのハンドル11の操作は、外扉8を開けることにより可能で、当該外扉8を開けると、当該分電盤Bは、その箱体1の一面が開口される。
上記のように、主幹ブレーカ9及び分岐ブレーカ10の導電部及びその間の接続導電部12への接触(感電)を回避するために中扉5が設けられ、又、化粧枠6により、外部との接触を断っている。
又、当該中扉(中皿)5の取付には、中皿取付枠7も設けられている。
従って、従来例の分電盤では、中扉5を基板3に取付る為の中扉取付用の支柱4を必要とし、又、中扉5と外部との接触を断つ為の化粧枠6を必要とし、更には、中扉(中皿)5の取付の枠(枠体)として中皿取付枠7を必要としていた。
上記を更に図12及び特開2000−152433号公報に記載された分電盤の図5を共通させて説明するに、分電盤の箱体1の取付具2(当該公報の図5では両側片8)に基板3(当該公報の図5では基板14)を取付け、当該基板3(基板14)に中扉取付用支柱4(当該公報の図5では中蓋取付支柱17)を設けて中扉5(当該公報の図5では中蓋18)を取付け、当該該中扉5と基板3との間に分岐開閉器9,10(当該公報の図5では分岐開閉器16、16、当該公報では、上下に開閉器が位置している。)が設置され、そのハンドル11(当該公報の図5ではハンドル16a)が当該中扉5の窓から突き出しし、中扉取付用支柱4を介して中扉5が取付けられている。
その為、中扉取付用の支柱4の存在により基板3と中扉5との間(ガータスペース)がそれにより規制(固定)され、狭く、開閉器9等の電気機器の設置のスペースを狭くして、製造工程や点検などで問題を生じ、当該支柱4が邪魔をして有効利用を図ることができず、例えば、電線の固定を難しいものにしていた。
又、化粧枠6や中皿取付枠7の存在により、製造工程が複雑化したり、中扉5の取り外しがやっかいで時間が掛かりすぎたりする等の問題を生じ、更には、中扉取付用支柱4や化粧枠6や中皿取付枠7の存在は、分電盤を重くし、又、コストを高いものにもしていた。
特開2000−152433号公報、特開2003−244806号公報、特開2001−186610号公報
本発明は、前記のような問題点を解消することができる新規の技術を提供することを目的としたものである。
本発明の他の目的や新規な特徴については本件明細書及び図面の記載からも明らかになるであろう。
本発明の特許請求の範囲は、次の通りである。
(請求項1)分岐開閉器などの電気機器を固定させる基板を取付具により箱体に取付け、開閉により前記分岐開閉器などの電気機器の操作部を覆い露出させることのできる中扉を当該箱体に取付けてなると共に、当該中扉を、第1の羽根部、第2の羽根部及び第3の羽根部よりなる3枚の羽根部と、前記第1の羽根部と第2の羽根部との間に介在した第1の軸部と前記第2の羽根部と第3の羽根部との間に介在した第2の軸部とよりなる2個の軸部とを備えてなり、前記第2の羽根部は前記第1の羽根部に設けられた孔との間の固着孔を有し、前記第1の羽根部は当該第1の羽根部を分電盤の前記箱体に固定することができる支持体固定孔を有していると共に、前記第2の羽根部に設けられた固着孔との間の固着孔を有し、前記第3の羽根部は分電盤の前記中扉を取付けることができる取付孔を有してなり、且つ、当該第2の羽根部及び第3の羽根部との間に介在した前記第2の軸部は抜き差しが可能に構成され、当該第3の羽根部と第2の羽根部との間で脱着が可能に構成されてなる蝶番にて取付けてなることを特徴とする分電盤。
本発明によれば、その分電盤は、従来例の中扉取付用支柱や化粧枠や中皿取付枠を不要としたので、部品点数が軽減され、簡単な組立にて短時間に分電盤を組立でき、又、重量のある中扉取付用支柱などが無くなるので、分電盤が軽量化され、分電盤の輸送が楽になる。従来例のような中扉取付用支柱を設けないので、基板と当該中扉との間のスペースを拡大させることができ、点検が楽になり、ブレーカ等の内機の脱着も容易になり、又、配線における電線が結束し易くなった。
又、本発明による特殊の蝶番を使用することにより、中蓋の開閉が容易になったので、分電盤の点検などが容易になり、ブレーカ等の内機の脱着も容易になり、特に、分電盤における中蓋のような分電盤箱体の内部に比較的に深く引き込まれていて、当該内部ではその中蓋が箱体の天井壁に当接して開閉しづらいような場合でも、本発明による蝶番を使用することにより、中蓋の開閉が容易になった。
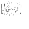
図1及び図2(A)に示すように、分電盤Bは、箱体1と基板3と中扉5と外扉8とを備えてなっている。
図1及び図2(A)に示すように、分電盤Bは、箱体1に取付具13にて基板3を取り付けている。
図4(A)に示すように、当該取付具13は、支持金物130とボルト131と座金132とナット133とを備えてなっている。尚、図示例では、ボルト131と座金132とナット133との組み合わせを例示しているが、他の締結具を用いてもよい。
図4(C)及び(D)に示すように、当該取付具13における支持金物130は、ひ字状断面を有し、中央部に前記ボルト131等のスライド孔1300が設けられている、
図4(E)に示すように、当該支持金物130のスライド孔1300に前記ボルト131等をスライドさせて装着する。
図4(A)及び(B)に示すように、基板3の両側に座金132を介在させて、ボルト131とナット133とで支持金物130に基板3を締め付け固定する。当該図では省略されているが、当該支持金物130を箱体1に取り付ける。
図3に示すように、基板3をその断面がひ字状になるように構成し、当該基板3の両側端部300を前記のように取付具13にて箱体1に取り付ける。
従来例では、特開2000−152433号公報に記載のように、何段にも渡った取付馬と称される両側片8により基板を取り付けていたが、本発明では、基板3の形態を上記のように工夫し、又、当該取付具13にも上記のように工夫を施し、当該取付具13による基板3の取付も当該基板3の折り曲げられた両側端部300の例えば4ヶ所を取り付ければよいように簡略化し、又、従来例の取付馬よりも軽量化することができた。
図1に示すように、分電盤Bにおいて、中扉5を箱体1に取り付けるが、同図に示すように、当該中扉5の一方の端部は、ローレット部14にて取付け、他方の端部は、本発明者らにより考案された新規の蝶番15を用いて取り付ける。
図6(A)及び(B)に示すように、蝶番15は、第1の羽根部151、第2の羽根部152及び第3の羽根部153よりなる3枚の羽根部と、前記第1の羽根部151と第2の羽根部152との間に介在した第1の軸部154と前記第2の羽根部152と第3の羽根部153との間に介在した第2の軸部155とよりなる2個の軸部とを備えてなる。
当該第2の軸部155は抜き差しが可能に構成されており、図6(C)に示すように、第3の羽根部153を第2の羽根部152から上方向に脱すことができるようになっている。
図6(D)及び(E)に示すように、蝶番15は、図示右側の第1の羽根部151、第2の羽根部152、第1の軸部154及び第2の軸部155のヒンジ1550の下半分とヒンジピン(ヒンジ軸)1551よりなる部分と、図示左側の第3の羽根部153と第2の軸部155のヒンジ1550の上半分とよりなる部分とに、分離される。
尚、第1の軸部154は、図示のように、ヒンジ1540とヒンジピン(ヒンジ軸)1541とよりなる
図6(A)及び(B)に示すように、当該蝶番15における第1の羽根部151には、上下方向に3つの孔157,156,157が開けられている。当該第1の羽根部151
におけるその中央の孔156は、第2の羽根部152の中央に設けられた固着孔158との間の固着孔である。当該第1の羽根部151における当該中央の固着孔156の上下に離隔して設けられた2つの孔157、157は、当該蝶番15の第1の羽根部151を箱体1に固定することができる支持体固定孔である。
上記のように第2の羽根部152には、当該第1の羽根部151に設けられた固着孔156との間の固着孔158が設けられている。
当該第2の羽根部152は、後述のように、通常、中扉5を閉めておくときには、第1の羽根部151側に折曲げられ、当該第1の羽根部151と当接され、これら第1の羽根部151の固着孔156と第2の羽根部152の固着孔158との間に、例えば、皿ビスとビス又はボルト及びナットの組合わせからなる締結具の皿ビス、ボルトを挿通し、ビス、ナットを例えば分電盤の箱体に止着して、当該第1の羽根部151を備えた蝶番15を介して中扉5を分電盤Bの箱体1に固定することができる。
前記第3の羽根部153には、図示のように、上下方向に2つの蓋又は扉などの物を取付けることができる取付孔159,159が設けられており、例えば、分電盤の中蓋5が、例えば皿ビスにより当該取付孔159、159を利用して取付られる。
図7(A)に示すように、前記の図6(D)及び(E)に示す分離された蝶番15の図示右側の第1の羽根部151、第2の羽根部152、第1の軸部154及び第2の軸部155のヒンジ1550の下半分とヒンジピン(ヒンジ軸)1551よりなる部分を、その図示が省略されているが当該分離蝶番15の第1の羽根部151における2つの支持体固定孔157に、例えば皿ビスEを挿通させて、当該分離蝶番の第1の羽根部151を分電盤の箱体1に固定する。
一方、図7(A)に示すように、中蓋5に、前記した第3の羽根部153と第2の軸部155のヒンジ1550の上半分とよりなる蝶番15の左側部分を、その図示が省略されているが、第3の羽根部153の取付孔159に、例えば皿ビスGを用いて取付けておく。
前記のように、第2の軸部155は抜き差しが可能に構成されているので、図7(A)の矢標で示すように、中蓋5を取付けた第3の羽根部153に隣接するヒンジ1550を、第2の羽根部152に隣接するヒンジ1550に、第2の軸部155の露出したヒンジピン(ヒンジ軸)1551を位置決めとして、装着する。
図7(B)は、第3の羽根部153を第2の羽根部152に装着した例を図示してある。
図7(C)に示すように、当該第2の羽根部152を、第1の羽根部151側に折曲げ、図7(D)に示すように、当該第1の羽根部151と当接し、第1の羽根部151の固着孔156と第2の羽根部152の固着孔158との間に、例えば皿ビスEに加えてビスFを止着し、更に、図7(D)に矢標で示すように第3の羽根部153を回転させ、図7(E)に示すように、当該第1の羽根部151及び第2の羽根部152の上部に第3の羽根部153を展開して、当該蝶番15を介して中蓋5にて分電盤の箱体1の開口面を閉鎖する。
当該中蓋5により閉鎖された分電盤の箱体1において、図7(E)に示す状態から、必要に応じて当該箱体1内部の中蓋5を開く際には、上記した第1の羽根部151に設けられた固着孔156と第2の羽根部152に設けられた固着孔158とに挿通された締結具Fを外す。
当該締結具Fを外すと、第1の羽根部151と第2の羽根部152との固着が解かれ、第2の羽根部152が第1の羽根部151から下落し、又、第3の羽根部153も下落し、元の図7(A)に示す状態に戻る。
図7(E)のXで示すラインでは、抜き差しが可能に構成された第2の軸部155であっても、第3の羽根部153を第2の羽根部152から脱すことが出来ないが、図7(E)のYで示すラインに展開することにより、当該第2の軸部155は、その抜き差しが可能になり、当該箱体1の外部のYラインにて、第3の羽根部153を第2の羽根部152から脱すことが出来、それにより、当該第3の羽根部153に取り付けられた中蓋5を取り外し開くことができる。
図8には、当該中蓋5を取り外し開いた状態の図を示す。図8に示すように、箱体1の前記外扉8を外し、前記ローレット部14を外し、蝶番15における第3の羽根部153を第2の羽根部12から脱すと、当該中蓋5を取り外し容易に開くことができる。
図5に示すように、ローレット部14は、ローレット140とフローティングナット141とを有してなる。
当該フローティングナット141を使用することにより、中蓋5の少々のズレに対してもローレット140をスムーズに挿着できる利点がある。
従来例では、前記のように、中蓋5を基板3に取付けるのに、中扉取付用支柱4を立設して中扉5を取付けていたが、本発明では、上記のように、中蓋5に工夫を施し、当該中蓋5を蝶番15とローレット部14とで取り付けるようにして、中扉取付用支柱4を立設せずに中扉5を取付け、又、基板3と中扉5とは各々別個に箱体1に取付るようにしたので、従来例の中扉取付用支柱4が不要となり、又、中扉5の取付にローレット部14及び本発明者らにより考案された新規の蝶番15を用いて行うことにより、分電盤外部との接触を断つ為の従来例の化粧枠6は必要が無くなり、更には、従来例の中扉5の取付に必要な中皿取付枠7をも不要とすることができた。
従って、従来例の分電盤における中扉(中皿)取付用支柱、化粧枠及び中皿取付枠7が不要となるので、部品点数が軽減され、簡単な組立にて短時間に分電盤を組立でき、又、重量のある中扉取付用支柱4や取付馬8などが無くなるので、分電盤が軽量化され、分電盤の輸送が楽になる。
従来例のような中扉取付用支柱4を設けないので、基板3と中扉5との間のスペースを拡大させることができ、スペースを有効利用することができるようになった。更に又、配線における電線が結束し易くなった。
又、本発明による蝶番15を使用することにより、中蓋5の開閉が容易になったので、分電盤の点検などが容易になり、ブレーカ9.10等の内機の脱着も容易になった。
本発明による特殊の蝶番を使用することにより、中蓋の開閉が容易になったので、分電盤の点検などが容易になり、ブレーカ9,10等の内機の脱着も容易になり、特に、分電盤における中蓋5のような分電盤箱体の内部に比較的に深く引き込まれていて、当該内部ではその中蓋5が箱体の天井壁に当接して開閉しづらいような場合でも、本発明による蝶番を使用することにより、中蓋5の開閉が容易になった。
前記のように、本発明では、基板3と中扉5との間のスペースを拡大させることができ、その間のスペースを有効利用することができるので、図2(B)に示すように、当該基板3と中扉5との間のスペースに電線留16を設置することにより、図示のように、当該電線留16を用いて配線における電線Dを結束し易くなった。
図9に示すように、本発明では、当該基板3を止着している取付具13のボルトを伸長させることができるので、当該基板3と中扉5との間の当該スペースを更に広げることが出来る。
図10は、本発明の他の実施例を示し、当該実施例は、中扉5の取付にローレットや蝶番を使用しない例を示す。
本発明では、前記実施例に限定されず、適宜変更が可能である。
本発明の分電盤は、上記では、積算電力計などを設置した全ゆる種類の分電盤に適用できる。
本発明の実施例を示す分電盤の断面図である。 (A)本発明の実施例を示す分電盤の一部断面構成図である。 (B)同分電盤に使用される電線留の説明図である。 本発明の実施例を示す分電盤における基板の外観図である。 (A)本発明の実施例を示す基板とその取付具との締結状態を示す平面図である。 (B)本発明の実施例を示す基板とその取付具との締結状態を示す側面図である。 (C)図4(D)のI−I線断面図で、取付具における支持金物の断面図である。 (D)本発明の実施例を示す取付具における支持金物の平面図である。 (E)本発明の実施例を示す取付具の説明図である。 本発明の実施例を示す分電盤における中扉の外観図である。 (A)本発明の実施例を示す蝶番の組立て平面図である。 (B)本発明の実施例を示す蝶番の組立て正面図である。 (C)本発明の実施例を示す蝶番の第3の羽根部の取脱正面図である。 (D)本発明の実施例を示す蝶番の分離平面図である。 (E)本発明の実施例を示す蝶番の分離正面図である。 (A)本発明の実施例を示す蝶番の組立て前の説明図である。 (B)本発明の実施例を示す蝶番の組立て後の説明図である。 (C)本発明の実施例を示す蝶番の第2の羽根部を第1の羽根部に止着説明図で ある。 (D)本発明の実施例を示す蝶番の開き状態の平面図である。 (E)本発明の実施例を示す蝶番の取付状態の平面図である。 本発明の実施例を示す分電盤の外扉及び中蓋の開き状態の実施例を示す構成図である。 本発明の他の実施例を示す基板の拡張状態を示す断面図である。 本発明の他の実施例を示す分電盤の断面図である。 従来例を示す分電盤の構成図である。 従来例を示す分電盤の説明図である。
符号の説明
1 箱体
3 基板
5 中蓋
9 主幹ブレーカ
10 分岐ブレーカ
15 蝶番
151 第1の羽根部
152 第2の羽根部
153 第3の羽根部
154 第1の軸部
155 第2の軸部
156 固着孔
157 支持体固着孔
158 固着孔
159 取付孔
B 分電盤

Claims (1)

  1. 分岐開閉器などの電気機器を固定させる基板を取付具により箱体に取付け、開閉により前記分岐開閉器などの電気機器の操作部を覆い露出させることのできる中扉を当該箱体に取付けてなると共に、当該中扉を、第1の羽根部、第2の羽根部及び第3の羽根部よりなる3枚の羽根部と、前記第1の羽根部と第2の羽根部との間に介在した第1の軸部と前記第2の羽根部と第3の羽根部との間に介在した第2の軸部とよりなる2個の軸部とを備えてなり、前記第2の羽根部は前記第1の羽根部に設けられた孔との間の固着孔を有し、前記第1の羽根部は当該第1の羽根部を分電盤の前記箱体に固定することができる支持体固定孔を有していると共に、前記第2の羽根部に設けられた固着孔との間の固着孔を有し、前記第3の羽根部は分電盤の前記中扉を取付けることができる取付孔を有してなり、且つ、当該第2の羽根部及び第3の羽根部との間に介在した前記第2の軸部は抜き差しが可能に構成され、当該第3の羽根部と第2の羽根部との間で脱着が可能に構成されてなる蝶番にて取付けてなることを特徴とする分電盤。
JP2004195788A 2004-07-01 2004-07-01 分電盤 Expired - Fee Related JP4635238B2 (ja)

Priority Applications (1)

Application Number Priority Date Filing Date Title
JP2004195788A JP4635238B2 (ja) 2004-07-01 2004-07-01 分電盤

Applications Claiming Priority (1)

Application Number Priority Date Filing Date Title
JP2004195788A JP4635238B2 (ja) 2004-07-01 2004-07-01 分電盤

Publications (2)

Publication Number Publication Date
JP2006020422A JP2006020422A (ja) 2006-01-19
JP4635238B2 true JP4635238B2 (ja) 2011-02-23

Family

ID=35794148

Family Applications (1)

Application Number Title Priority Date Filing Date
JP2004195788A Expired - Fee Related JP4635238B2 (ja) 2004-07-01 2004-07-01 分電盤

Country Status (1)

Country Link
JP (1) JP4635238B2 (ja)

Families Citing this family (2)

* Cited by examiner, † Cited by third party
Publication number Priority date Publication date Assignee Title
JP6946061B2 (ja) * 2017-06-02 2021-10-06 河村電器産業株式会社 電気機器収納用箱体
US11598132B2 (en) 2019-04-09 2023-03-07 Quanta Computer Inc. Double shaft 180 degrees rotation sheet metal mechanism

Family Cites Families (11)

* Cited by examiner, † Cited by third party
Publication number Priority date Publication date Assignee Title
JPS58136901U (ja) * 1982-03-08 1983-09-14 株式会社東芝 閉鎖配電盤
JPH0190204U (ja) * 1987-12-07 1989-06-14
JPH0344786U (ja) * 1989-09-11 1991-04-25
JPH0578113U (ja) * 1992-03-24 1993-10-22 河村電器産業株式会社 分電盤内扉の固定構造
JP3425614B2 (ja) * 1994-02-18 2003-07-14 新関西ベアリング株式会社 ドアヒンジ
JP2628143B2 (ja) * 1994-04-22 1997-07-09 タキゲン製造株式会社 二軸型蝶番
JP3082909B2 (ja) * 1996-09-10 2000-09-04 アトムリビンテック株式会社 折戸用二軸蝶番
JP2978129B2 (ja) * 1997-02-21 1999-11-15 タキゲン製造株式会社 2軸型裏蝶番
JP3567746B2 (ja) * 1998-07-24 2004-09-22 松下電工株式会社 分電盤
JP2000192716A (ja) * 1998-12-24 2000-07-11 Zenji Tsuchikawa 2軸蝶番
JP4197082B2 (ja) * 1999-12-20 2008-12-17 河村電器産業株式会社 分電盤用ボックス

Also Published As

Publication number Publication date
JP2006020422A (ja) 2006-01-19

Similar Documents

Publication Publication Date Title
US9325158B2 (en) Electrical enclosure including an integrated dead front and door
EP1237245A1 (en) Remote distribution cabinet
US10466284B2 (en) Window for bottom access to an electrical meter center
JP2004185965A (ja) バッテリ接続部材
JP4635238B2 (ja) 分電盤
JP5070898B2 (ja) 空気調和機
JP2008208637A (ja) 建具及びその建具の配線方法
US7586037B2 (en) Electrical apparatus cubicle with removable internal side panels
JP2010074962A (ja) ティルト式ケーブルダクト
JP4385181B2 (ja) 蝶番
JP4089248B2 (ja) エレベータかご室天井の改修方法
KR100817887B1 (ko) 부스바 케이스
CN102438415B (zh) 用于将命令及信号仪器固定到面板上的安装单元
JP2000208176A (ja) 盤用コンセント
JPH0628887Y2 (ja) 分電盤の内器固定装置
JP2004229470A (ja) 屋外型キャビネット
JP7073757B2 (ja) 盤構造
JP2002171636A (ja) 電気接続箱の取付構造
EP1648066B1 (de) Aufputzmontagevorrichtung
KR200322678Y1 (ko) 주택용 분전함의 분리형 단자 커버
JP2012017982A (ja) 空気調和機
JP2002233027A (ja) ケーブルダクト
CN112829692B (zh) 电气元件通过板构造
JP2001292510A (ja) 分電盤の接続導体装置
KR0141411B1 (ko) 자동차용 abs의 ecu장착구조

Legal Events

Date Code Title Description
A621 Written request for application examination

Free format text: JAPANESE INTERMEDIATE CODE: A621

Effective date: 20070628

A977 Report on retrieval

Free format text: JAPANESE INTERMEDIATE CODE: A971007

Effective date: 20100210

A131 Notification of reasons for refusal

Free format text: JAPANESE INTERMEDIATE CODE: A131

Effective date: 20100309

A521 Request for written amendment filed

Free format text: JAPANESE INTERMEDIATE CODE: A523

Effective date: 20100506

A01 Written decision to grant a patent or to grant a registration (utility model)

Free format text: JAPANESE INTERMEDIATE CODE: A01

Effective date: 20100720

A61 First payment of annual fees (during grant procedure)

Free format text: JAPANESE INTERMEDIATE CODE: A61

Effective date: 20100817

A61 First payment of annual fees (during grant procedure)

Free format text: JAPANESE INTERMEDIATE CODE: A61

Effective date: 20101102

FPAY Renewal fee payment (event date is renewal date of database)

Free format text: PAYMENT UNTIL: 20131203

Year of fee payment: 3

R150 Certificate of patent or registration of utility model

Free format text: JAPANESE INTERMEDIATE CODE: R150

FPAY Renewal fee payment (event date is renewal date of database)

Free format text: PAYMENT UNTIL: 20131203

Year of fee payment: 3

FPAY Renewal fee payment (event date is renewal date of database)

Free format text: PAYMENT UNTIL: 20131203

Year of fee payment: 3

LAPS Cancellation because of no payment of annual fees