JP4604358B2 - 内燃機関及びその制御システム - Google Patents

内燃機関及びその制御システム Download PDF

Info

Publication number
JP4604358B2
JP4604358B2 JP2001017718A JP2001017718A JP4604358B2 JP 4604358 B2 JP4604358 B2 JP 4604358B2 JP 2001017718 A JP2001017718 A JP 2001017718A JP 2001017718 A JP2001017718 A JP 2001017718A JP 4604358 B2 JP4604358 B2 JP 4604358B2
Authority
JP
Japan
Prior art keywords
valve
internal combustion
combustion engine
lift
cam
Prior art date
Legal status (The legal status is an assumption and is not a legal conclusion. Google has not performed a legal analysis and makes no representation as to the accuracy of the status listed.)
Expired - Fee Related
Application number
JP2001017718A
Other languages
English (en)
Other versions
JP2002221014A (ja
Inventor
俊一 青山
信一 竹村
孝伸 杉山
Current Assignee (The listed assignees may be inaccurate. Google has not performed a legal analysis and makes no representation or warranty as to the accuracy of the list.)
Nissan Motor Co Ltd
Original Assignee
Nissan Motor Co Ltd
Priority date (The priority date is an assumption and is not a legal conclusion. Google has not performed a legal analysis and makes no representation as to the accuracy of the date listed.)
Filing date
Publication date
Application filed by Nissan Motor Co Ltd filed Critical Nissan Motor Co Ltd
Priority to JP2001017718A priority Critical patent/JP4604358B2/ja
Publication of JP2002221014A publication Critical patent/JP2002221014A/ja
Application granted granted Critical
Publication of JP4604358B2 publication Critical patent/JP4604358B2/ja
Anticipated expiration legal-status Critical
Expired - Fee Related legal-status Critical Current

Links

Images

Classifications

    • FMECHANICAL ENGINEERING; LIGHTING; HEATING; WEAPONS; BLASTING
    • F01MACHINES OR ENGINES IN GENERAL; ENGINE PLANTS IN GENERAL; STEAM ENGINES
    • F01LCYCLICALLY OPERATING VALVES FOR MACHINES OR ENGINES
    • F01L13/00Modifications of valve-gear to facilitate reversing, braking, starting, changing compression ratio, or other specific operations
    • F01L13/0015Modifications of valve-gear to facilitate reversing, braking, starting, changing compression ratio, or other specific operations for optimising engine performances by modifying valve lift according to various working parameters, e.g. rotational speed, load, torque
    • F01L13/0021Modifications of valve-gear to facilitate reversing, braking, starting, changing compression ratio, or other specific operations for optimising engine performances by modifying valve lift according to various working parameters, e.g. rotational speed, load, torque by modification of rocker arm ratio
    • F01L13/0026Modifications of valve-gear to facilitate reversing, braking, starting, changing compression ratio, or other specific operations for optimising engine performances by modifying valve lift according to various working parameters, e.g. rotational speed, load, torque by modification of rocker arm ratio by means of an eccentric
    • FMECHANICAL ENGINEERING; LIGHTING; HEATING; WEAPONS; BLASTING
    • F02COMBUSTION ENGINES; HOT-GAS OR COMBUSTION-PRODUCT ENGINE PLANTS
    • F02BINTERNAL-COMBUSTION PISTON ENGINES; COMBUSTION ENGINES IN GENERAL
    • F02B75/00Other engines
    • F02B75/04Engines with variable distances between pistons at top dead-centre positions and cylinder heads
    • F02B75/045Engines with variable distances between pistons at top dead-centre positions and cylinder heads by means of a variable connecting rod length
    • FMECHANICAL ENGINEERING; LIGHTING; HEATING; WEAPONS; BLASTING
    • F01MACHINES OR ENGINES IN GENERAL; ENGINE PLANTS IN GENERAL; STEAM ENGINES
    • F01LCYCLICALLY OPERATING VALVES FOR MACHINES OR ENGINES
    • F01L13/00Modifications of valve-gear to facilitate reversing, braking, starting, changing compression ratio, or other specific operations
    • F01L13/0015Modifications of valve-gear to facilitate reversing, braking, starting, changing compression ratio, or other specific operations for optimising engine performances by modifying valve lift according to various working parameters, e.g. rotational speed, load, torque
    • F01L13/0063Modifications of valve-gear to facilitate reversing, braking, starting, changing compression ratio, or other specific operations for optimising engine performances by modifying valve lift according to various working parameters, e.g. rotational speed, load, torque by modification of cam contact point by displacing an intermediate lever or wedge-shaped intermediate element, e.g. Tourtelot
    • F01L2013/0073Modifications of valve-gear to facilitate reversing, braking, starting, changing compression ratio, or other specific operations for optimising engine performances by modifying valve lift according to various working parameters, e.g. rotational speed, load, torque by modification of cam contact point by displacing an intermediate lever or wedge-shaped intermediate element, e.g. Tourtelot with an oscillating cam acting on the valve of the "Delphi" type

Landscapes

  • Engineering & Computer Science (AREA)
  • Mechanical Engineering (AREA)
  • General Engineering & Computer Science (AREA)
  • Chemical & Material Sciences (AREA)
  • Combustion & Propulsion (AREA)
  • Valve-Gear Or Valve Arrangements (AREA)
  • Valve Device For Special Equipments (AREA)
  • Output Control And Ontrol Of Special Type Engine (AREA)
  • Electrical Control Of Air Or Fuel Supplied To Internal-Combustion Engine (AREA)
  • Combined Controls Of Internal Combustion Engines (AREA)

Description

【0001】
【発明の属する技術分野】
本発明は、内燃機関及びその制御システムに関する。
【0002】
【従来の技術】
ピストンが下死点にあるときの燃焼室側の容積であるシリンダ容積と、ピストンが上死点にあるときの燃焼室側の容積である隙間容積と、の比は圧縮比εと呼ばれている。一方、作動ガス容積の最大値である有効シリンダ容積と作動ガス容積の最小値である有効隙間容積と、の比は有効圧縮比ε′と呼ばれ、両者は熱力学的取り扱い上では区別されている。
【0003】
ピストン上死点位置を変化させることにより、圧縮比εを可変制御する複リンク式ピストンストローク可変機構が、本出願人により、本願に先行して出願されている。
【0004】
このようなピストンストローク可変機構が採用されたいわゆる可変圧縮比エンジンにおいては、圧縮比εは、基本的に従来の固定圧縮比エンジンより概略高い側で使うことになる。
【0005】
また、可変圧縮比エンジンの場合、過給機と組み合わせて比出力の向上を図る考え方があるが、この場合は図14に示すように、過給時では圧縮比εを固定圧縮比エンジンの固定圧縮比よりも相対的に減少させる。
【0006】
【発明が解決しようとする課題】
しかしながら、ピストンストロークによって決定される圧縮比ε大きくした場合、図14に示すように、上死点位置での燃焼室のS/V比(燃焼室表面積/燃焼室体積)が増大するため、燃焼時の冷却損失が大きくなるという問題がある。
【0007】
また、上死点位置での燃焼室のS/V比が大きく、かつ有効圧縮比ε′が高くない場合には、燃焼室での火炎伝播が遅くなり、圧縮比εを機関運転条件に応じて制御することで得られる燃費性能向上の効果が減殺される傾向が生じるという問題がある。
【0008】
一方、上死点位置での燃焼室のS/V比は、図15に示すように、吸排気弁のバルブ挟角を減少させると減少するが、バルブ挟角を小さくすると、これまでのエンジンでは、吸排気弁の弁径も小さくなり、高速での吸気量が減少して出力が低下する他に、吸排気弁を駆動するカムシャフト間の距離が小さくなるため、通常のようなスプロケットによるチェーンレイアウトが難しくなるなど、トレードオフの発生が避けられないという問題がある。
【0009】
そこで、本発明は、上死点位置での燃焼室のS/V比を増大させずに、かつ出力性能悪化等のトレードオフを招かないエンジン構成を提供することを目的とする。
【0010】
【課題を解決するための手段】
そこで、請求項1に記載の発明は、駆動軸に回転可能かつ揺動可能に装着された揺動カムの揺動によって、吸気弁及び排気弁の双方をリフトする内燃機関において、前記揺動カムの揺動中心に対して、吸気弁及び排気弁の双方のバルブステムの中心線が、燃焼室中心を通る軸線側に位置することを特徴としている。これによって、駆動軸及び揺動カムのレイアウトを変更することなくバルブ挟角を小さくでき、相対的に上死点位置でのS/V比が小さくなる。
【0011】
また、前記揺動カムは、前記吸気弁もしくは前記排気弁のリフト・作動角を同時にかつ連続的に拡大,縮小制御可能なリフト・作動角可変機構の構成部材である
【0012】
記リフト・作動角可変機構は、前記駆動軸により回転駆動される偏心カムと、この偏心カムの外周に相対回転可能に嵌合したリンクアームと、前記駆動軸と平行に設けられ、かつ偏心カム部を備えた回動可能な制御軸と、この制御軸の偏心カム部に回転可能に装着され、かつ前記リンクアームにより揺動されるロッカアームと、前記駆動軸に回転可能に支持されるとともに、前記ロッカアームにリンクを介して連結され、該ロッカアームに伴って揺動することにより前記吸気弁もしくは前記排気弁のバルブリフタを押圧する前記揺動カムと、を備えており、前記制御軸の偏心カム部の回動位置を変化させることにより前記吸気弁もしくは前記排気弁のリフト・作動角が同時に増減変化するように構成されている。
【0013】
請求項に記載の発明は、請求項に記載の発明において、ピストン上死点位置を変化させるピストンストローク可変機構と、内燃機関の回転数及び負荷を検出する手段とを有し、内燃機関の回転数及び負荷に応じて、前記ピストンストローク可変機構と前記リフト・作動角可変機構とを制御することを特徴としている。ピストン上死点位置を変化させることで、圧縮比εを可変制御可能となる。
【0014】
請求項に記載の発明は、請求項に記載の発明において、内燃機関の負荷が小さい状態においては、内燃機関の圧縮比εが高くなるよう前記ピストンストローク可変機構を制御すると共に、前記吸気弁の閉時期を下死点から遠ざけることによって、内燃機関の有効圧縮比ε′を低下させていることを特徴としている。圧縮比εを高くすることで良好な燃焼を維持しつつ、有効圧縮比ε′を下げることでポンプ損失の低減が可能になると共に、圧縮比εの増加によるS/V比の増加が抑制される。
【0015】
請求項に記載の発明は、請求項またはに記載の発明において、前記ピストンストローク可変機構は、ピストンのピストンピンに一端が連結されるアッパーリンクと、このアッパーリンクとクランクシャフトのクランクピンとに連結されるロアーリンクと、クランクシャフトに対して略平行に延びるコントロールシャフトと、一端が前記コントロールシャフトに揺動可能に連結されると共に、他端が前記ロアーリンクに連結され、前記コントロールシャフトに対する揺動中心が、前記コントロールシャフトの回転中心に対して偏心した制御リンクと、を有し、前記コントロールシャフトを回動させることによって、ピストン上死点位置を変化させることを特徴としている。
【0016】
請求項に記載の発明は、請求項のいずれかに記載の発明において、前記ピストンストローク可変機構により、前記ピストンのクランク回転に関するストローク特性を、略単振動としたことを特徴としている。ピストンストローク可変機構は、アッパーリンク、ロアーリンク及び制御リンクを有する複リンク式の機構であるためピストンのクランク回転に関するストローク特性を、略単振動にすることが可能となる。
【0017】
請求項に記載の発明は、請求項のいずれかに記載の発明において、内燃機関の回転数が高い状態においては、前記吸気弁及び前記排気弁あるいはその一方のリフト・作動角を拡大制御することを特徴としている。バルブ挟角が小さくなると、吸排気弁の弁径は相対的に減少するが、内燃機関の負荷が大きいときには、弁径の減少量に応じてリフト・作動角を拡大することで、出力の低下を補うことができる。
【0018】
請求項に記載の発明は、請求項のいずれかに記載の発明において、前記内燃機関の負荷の検出手段として、吸入負圧、吸入空気量、スロットル開度もしくは燃料噴射量のいずれかを用いていることを特徴としている。
【0019】
請求項に記載の発明は、請求項のいずれかに記載の発明において、前記バルブリフタの中心に対して、前記揺動カムの揺動中心を燃焼室中心を通る前記軸線に関して外側に配置し、かつ前記吸気弁及び排気弁、あるいはその一方が最大リフトされたときに、前記バルブリフタに対する前記揺動カムの接触位置が、燃焼室中心を通る前記軸線から最も遠ざかるように前記バルブリフタを駆動させることを特徴としている。
【0020】
請求項に記載の発明は、請求項1〜のいずれかに記載の発明において、前記吸気弁のリフト中心角の位相を遅進させる位相可変機構を有していることを特徴としている。
【0021】
【発明の効果】
本発明によれば、駆動軸及び揺動カムのレイアウトを変更することなく吸排気弁のバルブ挟角を小さくすることができる。また、吸排気弁のバルブ挟角を小さくすることで、圧縮比εを高くすることによって増加する上死点位置でのS/V比を相対的に小さくでき、冷却損失が低減することができる。
【0022】
そして、請求項のように、ピストンストローク可変機構により圧縮比εを運転条件に応じて可変制御する場合においても、圧縮比εを高くすることによって増加する上死点位置でのS/V比を相対的に小さくすることができ、出力性能を悪化させることなく冷却損失を低減することができる。
【0023】
請求項では、圧縮比εを高くすることで良好な燃焼を維持しつつ、有効圧縮比ε′を下げることでポンプ損失の低減が可能になると共に、圧縮比εの増加による上死点位置でのS/V比の増加が抑制される。すなわち、出力性能を悪化させることなく冷却損失を低減することができる。
【0024】
請求項のようにすれば、2次振動を低減することができる。
【0025】
また、請求項では、内燃機関の負荷が大きい条件では、バルブ挟角を小さくすることで減少した吸気弁の弁径に応じてリフト・作動角を拡大することで、出力の低下を補うことができる。
【0026】
そして、請求項のようにすれば、吸排気弁のバルブ挟角の設定範囲を大きくすることができる。
【0027】
【発明の実施の形態】
以下、本発明の一実施例を図面に基づいて詳細に説明する。
【0028】
図1は、内燃機関の吸気弁側可変動弁機構の構成を示す構成説明図であり、この可変動弁機構は、吸気弁4のリフト・作動角を変化させるリフト・作動角可変機構1と、そのリフトの中心角の位相(図示せぬクランクシャフトに対する位相)を進角もしくは遅角させる位相可変機構2と、が組み合わされて構成されている。
【0029】
図2は、リフト・作動角可変機構1のみを示しており、図1および図2に基づいて、このリフト・作動角可変機構1を説明する。
【0030】
リフト・作動角可変機構1は、シリンダヘッド3に図示せぬバルブガイドを介して摺動自在に設けられた吸気弁と、シリンダヘッド3上部のカムブラケット5に回転自在に支持された中空状の駆動軸6と、この駆動軸6に、圧入等により固定された偏心カム7と、駆動軸6の上方位置に同じカムブラケット5に回転自在に支持されるとともに駆動軸6と平行に配置された制御軸8と、この制御軸8の偏心カム部9に揺動自在に支持されたロッカアーム10と、各吸気弁の上端部、すなわちバルブステム4の上端部に配置されたバルブリフタ11に当接する揺動カム12と、を備えている。偏心カム7とロッカアーム10とはリンクアーム13によって連係されており、ロッカアーム10と揺動カム12とは、リンク部材14によって連係されている。
【0031】
駆動軸6は、後述するように、タイミングチェーンないしはタイミングベルトを介して機関のクランクシャフトによって駆動されるものである。
【0032】
偏心カム7は、円形外周面を有し、該外周面の中心が駆動軸6の軸心から所定量だけオフセットしているとともに、この外周面に、リンクアーム13の環状部13aが回転可能に嵌合している。
【0033】
ロッカアーム10は、略中央部が偏心カム部9によって支持されており、その一端部に、リンクアーム13の延長部13bが連係しているとともに、他端部に、リンク部材14の上端部が連係している。偏心カム部9は、制御軸8の軸心から偏心しており、従って、制御軸8の角度位置に応じてロッカアーム10の揺動中心は変化する。
【0034】
揺動カム12は、駆動軸6の外周に嵌合して回転自在に支持されており、側方へ延びたカムノーズ部12aに、リンク部材14の下端部が連係している。この揺動カム12の下面には、駆動軸6と同心状の円弧をなす基円面15aと、該基円面15aから端部12aへと所定の曲線を描いて延びるカム面15bと、が形成されており、これらの基円面15aならびにカム面15bが、揺動カム12の揺動位置に応じてバルブリフタ11の上面に当接するようになっている。
【0035】
すなわち、基円面15aはベースサークル区間として、リフト量が0となる区間であり、揺動カム12が揺動してカム面15bがバルブリフタ11に接触すると、徐々にリフトしていくことになる。なお、ベースサークル区間とリフト区間との間には若干のランプ区間が設けられている。
【0036】
そして、揺動カム12の揺動中心Q、すなわち駆動軸6の軸心Qに対して、吸気弁のバルブステム4中心軸の延長線Lが、図2における右側、すなわち燃焼室中心を通る軸線R(詳細は後述、図2中には図示せず)側に位置するよう構成されている。
【0037】
制御軸8は、図1に示すように、一端部に設けられたリフト・作動角制御用油圧アクチュエータ16によって所定回転角度範囲内で回転するように構成されている。このリフト・作動角制御用油圧アクチュエータ16への油圧供給は、エンジンコントロールユニット17からの制御信号に基づき、第1油圧制御部18によって制御されている。尚、アクチュエータ16は、このアクチュエータ16の駆動油圧がOFFの条件において、吸気弁を小リフト・小作動角側に付勢するよう構成されている。
【0038】
このリフト・作動角可変機構1の作用を説明すると、駆動軸6が回転すると、偏心カム7のカム作用によってリンクアーム13が上下動し、これに伴ってロッカアーム10が揺動する。このロッカアーム10の揺動は、リンク部材14を介して揺動カム12へ伝達され、該揺動カム12が揺動する。この揺動カム12のカム作用によって、バルブリフタ11が押圧され、吸気弁がリフトする。
【0039】
ここで、リフト・作動角制御用油圧アクチュエータ16を介して制御軸8の角度が変化すると、ロッカアーム10の初期位置が変化し、ひいては揺動カム12の初期揺動位置が変化する。
【0040】
例えば偏心カム部9が図の上方へ位置しているとすると、ロッカアーム10は全体として上方へ位置し、揺動カム12のカムノーズ部12aが相対的に上方へ引き上げられた状態となる。つまり、揺動カム12の初期位置は、そのカム面15bがバルブリフタ11から離れる方向に傾く。従って、駆動軸6の回転に伴って揺動カム12が揺動した際に、基円面15aが長くバルブリフタ11に接触し続け、カム面15bがバルブリフタ11に接触する期間は短い。従って、リフト量が全体として小さくなり、かつその開時期から閉時期までの角度範囲つまり作動角も縮小する。
【0041】
逆に、偏心カム部9が図の下方へ位置しているとすると、ロッカアーム10は全体として下方へ位置し、揺動カム12の端部12aが相対的に下方へ押し下げられた状態となる。つまり、揺動カム12の初期位置は、そのカム面15bがバルブリフタ11に近付く方向に傾く。従って、駆動軸6の回転に伴って揺動カム12が揺動した際に、バルブリフタ11と接触する部位が基円面15aからカム面15bへと直ちに移行する。従って、リフト量が全体として大きくなり、かつその作動角も拡大する。
【0042】
偏心カム部9の位置は連続的に変化させ得るので、これに伴って、バルブリフト特性は、図3に示すように、連続的に変化する。つまり、リフトならびに作動角を、両者同時に、連続的に拡大,縮小させることができる。特に、このものでは、リフト・作動角の大小変化に伴い、吸気弁の開時期と閉時期とがほぼ対称に変化する。
【0043】
次に、位相可変機構2は、図1に示すように、駆動軸6の前端部に設けられたスプロケット19と、このスプロケット19と駆動軸6とを、所定の角度範囲内において相対的に回転させる位相制御用油圧アクチュエータ20と、から構成されている。スプロケット19は、図示せぬタイミングチェーンもしくはタイミングベルトを介して、クランクシャフトに連動している。位相制御用油圧アクチュエータ20への油圧供給は、エンジンコントロールユニット17からの制御信号に基づき、第2油圧制御部21によって制御されている。この位相制御用油圧アクチュエータ20への油圧制御によって、スプロケット19と駆動軸6とが相対的に回転し、図4に示すように、リフト中心角が遅進する。つまり、リフト特性の曲線自体は変わらずに、全体が進角もしくは遅角する。また、この変化も、連続的に得ることができる。位相可変機構2としては、油圧式のものに限られず、電磁式アクチュエータを利用したものなど、種々の構成が可能である。
【0044】
尚、リフト・作動角可変機構1ならびに位相可変機構2の制御としては、実際のリフト・作動角あるいは位相を検出するセンサを設けて、クローズドループ制御するようにしても良く、あるいは運転条件に応じて単にオープンループ制御するようにしても良い。
【0045】
図5は、本願と同一出願人によって提案された複リンク式ピストンストローク可変機構24を示している。
【0046】
このピストンストローク可変機構24は、各気筒のピストン25にピストンピン26を介して一端が連結されたアッパーリンク27と、このアッパーリンク27の他端にアッパーリンクピン28を介して揺動可能に連結されると共に、クランクシャフト29のクランクピン30に連結されるロアーリンク31と、クランクシャフト29と略平行に延びるコントロールシャフト32と、一端がコントロールシャフト32に揺動可能に連結されると共に、他端が制御リンクピン33を介してロアーリンク31に揺動可能に連結される制御リンク34と、を有している。
【0047】
コントロールシャフト32には、制御リンク34の一端に設けられたベアリング(図示せず)に回転可能に支持されるピンジャーナル(図示せず)が、クランクシャフト29の軸方向に間欠的に形成されている。
【0048】
このピンジャーナルの回転中心P1は、コントロールシャフト32の回転中心P2に対して所定量偏心しており、この回転中心P1を揺動支点として、制御リンク34がコントロールシャフト32に対して揺動する。
【0049】
従って、コントロールシャフト32が回動すると、制御リンク34の揺動支点P1の位置が変化し、これに伴って、ピストン上死点位置が変化する。すなわち、ピストン上死点位置での燃焼室側の容積とピストン下死点位置での燃焼室側の容積の比によって定義される内燃機関の圧縮比εを増減させることができる。
【0050】
尚、コントロールシャフト32は、ウォーム35及びウォームホイール36を介して接続されたアクチュエータ37を駆動源として回転駆動され、このアクチュエータ37は、エンジンコントロールユニット17により機関運転状態に応じて駆動制御される。
【0051】
また、ピストンストローク可変機構の制御としては、実際のピストンストロークを検出するセンサを設けて、クローズドループ制御するようにしても良く、あるいは運転条件に応じて単にオープンループ制御するようにしても良い。
【0052】
図6は、本願発明の燃焼制御システムの全体構成を示す説明図であって、上述した図1に示す内燃機関の吸気弁側可変動弁機構と上述した図5の示すピストンストローク可変機構とを組み合わせたものである。
【0053】
ここで、38はノッキングの強度を検出するノック検出手段としてのノックセンサであり、このノックセンサ38の検出値はコントロールユニット17に入力される。また、ピストンストローク可変機構のコントロールシャフト32の駆動源であるアクチュエータ37は、コントロールユニット17からの指令に基づいて駆動制御される。
【0054】
また、本実施例においては、クランク角センサによって内燃機関の回転数を、スロットル弁の開度によって内燃機関の負荷を、それぞれ検出し、これらの各検出値は、エンジンコントロールユニット17へ入力される。そして、39は、エンジンコントロールユニット17からの指令に基づいて、点火時期を調整する点火時期調整手段である点火進角装置である。
【0055】
尚、内燃機関の負荷の検出手段としては、スロットル弁の開度ではなく、吸入負圧、吸入空気量もしくは燃料噴射量のいずれかを用いることも可能である。
【0056】
図7は、リフト・作動角可変機構1、位相可変機構2及びピストンストローク可変機構とが組み合わされた内燃機関において、ピストンストロークによる燃焼室の容積変化のみで決まる圧縮比εの制御特性を示している。
【0057】
一方、有効圧縮比ε′は、機関運転状態に応じて最適制御される図8に示すような吸気弁閉時期(IVC)によって決まることになる。
【0058】
アイドル及び部分負荷(R/L等)の運転条件▲1▼、▲2▼(図8を参照)では、吸気弁のリフト・作動角は比較的小さく、IVCも下死点より相当早く閉じる特性となる。これにより、大幅なポンプ損失の低減が図れるが、圧縮比εが従来機関並だと有効圧縮比ε′が低下して燃焼が悪化するため、図7に示すように、このような低負荷領域では圧縮比εを高めている。
【0059】
加速領域での運転条件▲3▼(図8を参照)では、吸気充填効率を高める必要から、IVCが下死点に近づく方向に制御するため、有効圧縮比ε′を低下させることが、ノッキングの発生を事前に防止する上からも必要となる。
【0060】
全開出力での運転条件では、最大限に吸気量を確保するため、有効圧縮比ε′も高くなる。そのためピストンストロークによって決定される圧縮比εを低下させ、全開の低速条件▲4▼(図8を参照)では、従来機関並に近づけることが必要となる。全開の高速条件▲5▼(図8を参照)では、ノッキングの発生要因となる過酸化物等の化学反応が進行する前に燃焼が終わるため、ピストンストロークによって決定される圧縮比εは低速条件のときよりも高くすることができる。これにより、膨張比も高くなるため、排気温度が低下し、排気系に配置された触媒の劣化を緩和できるメリットもある。
【0061】
尚、このように運転状態に応じて決定される吸気弁のリフト・作動角、中心角Φ及びピストンストロークによって決定される圧縮比εは、予め用意された制御マップに基づいて制御され、通常のスロットル開度、もしくはアクセル開度による点火進角制御も合わせて行われる。
【0062】
図9に示すリフト・作動角可変機構は、上述した本願発明のリフト・作動角可変機構1とは異なり、揺動カム12′の揺動中心Q′(駆動軸の軸心)が、バルブステム4′中心線の延長線L′上に位置している。これは、従来のカム機構と同じ配置になっている。
【0063】
従来のカム機構の場合、バルブリフタの当接するカムはフル回転するため、バルブリフタの中心線上にカム軸の中心があるのが最も合理的であるが、バルブリフタに当接するカムが揺動カム方式の場合、カムはフル回転しないため、バルブリフタと組み合わせて使用する場合ある程度自由度が得られる。
【0064】
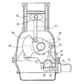
図10は、本願発明の要部を示す断面図であって、バルブステム4中心線の傾きを立て、バルブ挟角を小さくした場合のレイアウトである。
【0065】
バルブリフタ11は、その中心が燃焼室中心を通る軸線R側、すなわち図10における左側に配置されているが、揺動カム11の配置はそのままである。
【0066】
詳述すれば、燃焼室を基準として、揺動カム12の揺動中心Qがバルブリフタ11の中心よりも外側(図10における右側)に配置されており、吸気弁が最大リフトした時に、バルブリフタ11に対する揺動カム12の接触位置が上記軸線Rから最も遠ざかるように、バルブリフタ11は駆動される。換言すれば、揺動カム12は、カムノーズ部12aが上記軸線R側(図10における左側)を向いた姿勢で、バルブリフタ11を駆動する構成となっている。
【0067】
揺動カム12のカムノーズ部12aが上記軸線R側に向いていれば、このようなバルブリフタ11との位置関係の変更に問題はなく、むしろ揺動カム12とバルブリフタ11との接点が、バルブリフタ11中心付近になるため、バルブリフタ11に作用するモーメントが軽減するという効果がある。
【0068】
すなわち、比較的広い範囲で、吸排気弁のバルブ挟角を変えられるメリットが揺動カム12とバルブリフタ11との組み合わせにおいて得ることができる。
【0069】
従来のエンジンのカム駆動の場合、このようにバルブ挟角を変えるには、大きな設計変更となる。例えば、カムシャフトの位置が変わるので、エンジンフロント側の駆動レイアウトは全面変更となる。また、スプロケット間の距離が近い場合は、他の駆動方式に移行しなければならない。カムシャフトの配置変更に伴うシリンダヘッド上面のレイアウトも全面変更となり、全く新規のシリンダヘッドとなる。
【0070】
これに対し、図9から図10への変更の場合、シリンダヘッド内部のポート形状及びウォータジャケット形状などの鋳型変更と、バルブリフタ及びバルブステムの加工変更、バルブ及びバルブシートなどの部品変更だけで済むため、多くのバリエーションの設定も可能である。
【0071】
図11は、吸排気弁に適用した実施例である。揺動カム12のカムノーズ部12aを対向させるように配置することで、吸排気弁の挟角θの許容範囲を大きくとることができ、吸排気弁のバルブ挟角を小さくすることが可能となる。
【0072】
図12に、吸気弁のリフト・作動角を拡大した場合の比出力の向上効果を示す。吸気の平均流速が増大しないようにバルブ挟角を小さくすることにより吸気弁の弁径が減少した分、高速時、すなわち内燃機関の回転数が高い時の吸気弁のリフト・作動角を拡大することができれば、出力の低下を補うことができる。これは、吸気弁のリフト・作動角を連続的に拡大,縮小制御可能なリフト・作動角可変機構を備えたエンジンに適用した場合の大きな利点メリットである。
【0073】
図13は、上述したピストンストローク可変機構24で得られるピストンストローク特性を示している。従来からある一般的な単リンク式のクランク機構に比べ、アッパーリンク、ロアーリンク及び制御リンクを備えた複リンク式のピストンストローク可変機構24では単振動に近いピストンストローク特性を得ることが可能となる。
【0074】
このように単振動に近いピストンストローク特性の場合、2次振動が低減できるため振動特性を大幅に改良することができる。
【0075】
また、上死点付近でのピストン速度が遅くなるために冷却損失の点では不利ではあるが、燃焼室内の混合気は燃えやすく、そして、ピストンがすぐに下がり、すぐトルク変換される訳ではないので静粛性が向上する。
【図面の簡単な説明】
【図1】可変動弁機構を示す構成説明図。
【図2】リフト・作動角可変機構の要部断面図。
【図3】リフト・作動角可変機構によるリフト・作動角の特性変化を示す特性図。
【図4】位相可変機構によるバルブリフト特性の位相変化を示す特性図。
【図5】内燃機関の断面図にして、ピストンストローク可変機構を示す説明図。
【図6】内燃機関の燃焼制御システムの全体構成を示す説明図。
【図7】ピストンストローク可変機構によって決定される圧縮比εのエンジン運転条件に対応した制御特性を示す特性線図。
【図8】エンジンの運転条件の変化に伴う吸気弁の開閉時期の変化を示す説明図。
【図9】バルブリフタ中心の延長線上に駆動軸の軸線が配設された内燃機関の上部の断面図。
【図10】本発明の要部を示す断面図にして、バルブリフタ中心の延長線上の外側に駆動軸の軸線が配設された内燃機関の上部の断面図。
【図11】本発明に係る内燃機関のバルブ制御システムを吸気弁と排気弁に適用した場合を示す、内燃機関の上部の断面図。
【図12】吸気弁のリフト・作動角と比出力との相関関係を示す特性線図。
【図13】単リンク式クランク機構のピストンストローク特性と複リンク式ピストンストローク可変機構のピストンストローク特性とを比較した特性線図。
【図14】高膨張比システムの圧縮比使用範囲と上死点位置でのS/V比の関係を示す特性線図。
【図15】吸排気弁のバルブ挟角と上死点位置でのS/V比の関係を示す特性線図。
【符号の説明】
1…リフト・作動角可変機構
2…位相可変機構
24…ピストンストローク可変機構
4…バルブステム
6…駆動軸
11…バルブリフタ
12…揺動カム

Claims (9)

  1. 駆動軸に回転可能かつ揺動可能に装着された揺動カムの揺動によって、吸気弁及び排気弁の双方をリフトする内燃機関であって、
    前記揺動カムは、前記吸気弁もしくは前記排気弁のリフト・作動角を同時にかつ連続的に拡大,縮小制御可能なリフト・作動角可変機構の構成部材であり、
    前記リフト・作動角可変機構は、前記駆動軸により回転駆動される偏心カムと、この偏心カムの外周に相対回転可能に嵌合したリンクアームと、前記駆動軸と平行に設けられ、かつ偏心カム部を備えた回動可能な制御軸と、この制御軸の偏心カム部に回転可能に装着され、かつ前記リンクアームにより揺動されるロッカアームと、前記駆動軸に回転可能に支持されるとともに、前記ロッカアームにリンクを介して連結され、該ロッカアームに伴って揺動することにより前記吸気弁もしくは前記排気弁のバルブリフタを押圧する前記揺動カムと、を備えており、前記制御軸の偏心カム部の回動位置を変化させることにより前記吸気弁もしくは前記排気弁のリフト・作動角が同時に増減変化すると共に、当該駆動軸の回転運動を当該揺動カムの揺動運動に変換するよう構成され、
    前記駆動軸は、その軸方向で見たときに対応するバルブステムの上端に配置されたバルブリフタの上方に位置すると共に、その端部に設けられたスプロケットを介してクランクシャフトに連動し、
    前記揺動カムは、その揺動中心が、前記駆動軸の軸方向で見たときに、バルブリフタ上方の駆動軸回転中心と一致すると共に、機関運転中は、バルブリフトが無いゼロリフトのときも揺動運動を行うよう構成されている内燃機関において、
    前記揺動カムの揺動中心に対して、吸気弁及び排気弁の双方のバルブステムの中心線が、燃焼室中心を通る軸線側に位置することを特徴とする内燃機関。
  2. ピストン上死点位置を変化させるピストンストローク可変機構と、内燃機関の回転数及び負荷を検出する手段とを有し、内燃機関の回転数及び負荷に応じて、前記ピストンストローク可変機構と前記リフト・作動角可変機構とを制御することを特徴とする請求項に記載の内燃機関の制御システム。
  3. 内燃機関の負荷が小さい状態においては、内燃機関の圧縮比εが高くなるよう前記ピストンストローク可変機構を制御すると共に、前記吸気弁の閉時期を下死点から遠ざけることによって、内燃機関の有効圧縮比ε′を低下させていることを特徴とする請求項に記載の内燃機関の制御システム。
  4. 前記ピストンストローク可変機構は、ピストンのピストンピンに一端が連結されるアッパーリンクと、このアッパーリンクとクランクシャフトのクランクピンとに連結されるロアーリンクと、クランクシャフトに対して略平行に延びるコントロールシャフトと、一端が前記コントロールシャフトに揺動可能に連結されると共に、他端が前記ロアーリンクに連結され、前記コントロールシャフトに対する揺動中心が、前記コントロールシャフトの回転中心に対して偏心した制御リンクと、を有し、前記コントロールシャフトを回動させることによって、ピストン上死点位置を変化させることを特徴とする請求項またはに記載の内燃機関の制御システム。
  5. 前記ピストンストローク可変機構により、前記ピストンのクランク回転に関するストローク特性を、略単振動としたことを特徴とする請求項のいずれかに記載の内燃機関。
  6. 内燃機関の回転数が高い状態においては、前記吸気弁及び前記排気弁、あるいはその一方のリフト・作動角を拡大制御することを特徴とする請求項のいずれかに記載の内燃機関の制御システム。
  7. 前記内燃機関の負荷の検出手段として、吸入負圧、吸入空気量、スロットル開度もしくは燃料噴射量のいずれかを用いていることを特徴とする請求項のいずれかに記載の内燃機関の制御システム。
  8. 前記バルブリフタの中心に対して、前記揺動カムの揺動中心を燃焼室中心を通る前記軸線に関して外側に配置し、かつ前記吸気弁及び排気弁、あるいはその一方が最大リフトされたときに、前記バルブリフタに対する前記揺動カムの接触位置が、燃焼室中心を通る前記軸線から最も遠ざかるように前記バルブリフタを駆動させることを特徴とする請求項のいずれかに記載の内燃機関。
  9. 前記吸気弁のリフト中心角の位相を遅進させる位相可変機構を有していることを特徴とする請求項1〜のいずれかに記載の内燃機関。
JP2001017718A 2001-01-26 2001-01-26 内燃機関及びその制御システム Expired - Fee Related JP4604358B2 (ja)

Priority Applications (1)

Application Number Priority Date Filing Date Title
JP2001017718A JP4604358B2 (ja) 2001-01-26 2001-01-26 内燃機関及びその制御システム

Applications Claiming Priority (1)

Application Number Priority Date Filing Date Title
JP2001017718A JP4604358B2 (ja) 2001-01-26 2001-01-26 内燃機関及びその制御システム

Publications (2)

Publication Number Publication Date
JP2002221014A JP2002221014A (ja) 2002-08-09
JP4604358B2 true JP4604358B2 (ja) 2011-01-05

Family

ID=18883862

Family Applications (1)

Application Number Title Priority Date Filing Date
JP2001017718A Expired - Fee Related JP4604358B2 (ja) 2001-01-26 2001-01-26 内燃機関及びその制御システム

Country Status (1)

Country Link
JP (1) JP4604358B2 (ja)

Families Citing this family (5)

* Cited by examiner, † Cited by third party
Publication number Priority date Publication date Assignee Title
JP3606237B2 (ja) * 2001-07-25 2005-01-05 日産自動車株式会社 内燃機関
JP4254582B2 (ja) * 2004-03-12 2009-04-15 日産自動車株式会社 内燃機関のバルブリフト量調整機構および調整方法
JP2006183481A (ja) * 2004-12-27 2006-07-13 Nissan Motor Co Ltd ユニフロー2ストローク内燃機関
JP4367439B2 (ja) 2006-05-30 2009-11-18 トヨタ自動車株式会社 火花点火式内燃機関
JP2008128020A (ja) * 2006-11-17 2008-06-05 Nissan Motor Co Ltd 内燃機関の可変動弁機構

Family Cites Families (7)

* Cited by examiner, † Cited by third party
Publication number Priority date Publication date Assignee Title
JPH04166624A (ja) * 1990-10-31 1992-06-12 Mitsubishi Motors Corp 自動車用エンジンの吸気制御装置
JPH10141032A (ja) * 1996-11-11 1998-05-26 Takashi Hikita 可変バルブタイミング・リフト機構
JPH10252428A (ja) * 1997-03-12 1998-09-22 Toyota Motor Corp 内燃機関のバルブ特性制御装置
JP3917755B2 (ja) * 1998-05-27 2007-05-23 株式会社日立製作所 内燃機関の可変動弁装置
JP2000073804A (ja) * 1998-09-01 2000-03-07 Toyota Autom Loom Works Ltd 内燃機関及びその制御装置
JP3953668B2 (ja) * 1999-01-20 2007-08-08 株式会社日立製作所 内燃機関の可変動弁装置
JP4157649B2 (ja) * 1999-06-23 2008-10-01 株式会社日立製作所 内燃機関の可変動弁装置

Also Published As

Publication number Publication date
JP2002221014A (ja) 2002-08-09

Similar Documents

Publication Publication Date Title
JP3979081B2 (ja) 内燃機関の燃焼制御システム
JP4416377B2 (ja) 内燃機関の制御装置
US6397800B2 (en) Valve control device of internal combustion engine
JP4035963B2 (ja) 内燃機関の制御装置
JP3783589B2 (ja) 内燃機関の可変動弁装置
JP2003232233A (ja) 内燃機関の制御装置
JPH0849576A (ja) 内燃機関の吸排気弁駆動制御装置
JP4168756B2 (ja) 内燃機関の制御装置
JP4135394B2 (ja) 内燃機関の制御装置
JP2002089341A (ja) 車両用内燃機関の制御装置
JP4024121B2 (ja) 内燃機関の動弁装置
JP4366850B2 (ja) 内燃機関のバルブ制御装置
JP3829629B2 (ja) 内燃機関の燃焼制御装置
JP3977374B2 (ja) 内燃機関用弁機構
JP4345197B2 (ja) 内燃機関のノッキング制御装置
JP2007239555A (ja) 内燃機関
JP4604358B2 (ja) 内燃機関及びその制御システム
JP2006329022A (ja) エンジンの吸気制御装置
JP4003567B2 (ja) 内燃機関の吸気制御装置
JP2006097647A (ja) エンジンの可変動弁装置
JP5206565B2 (ja) 内燃機関の制御システム
JP4968031B2 (ja) エンジン
JP2009036144A (ja) 2サイクル内燃機関
JP4238710B2 (ja) 内燃機関の吸気制御装置
JP5310207B2 (ja) 内燃機関の動弁システム

Legal Events

Date Code Title Description
A621 Written request for application examination

Free format text: JAPANESE INTERMEDIATE CODE: A621

Effective date: 20071221

A977 Report on retrieval

Free format text: JAPANESE INTERMEDIATE CODE: A971007

Effective date: 20091119

A131 Notification of reasons for refusal

Free format text: JAPANESE INTERMEDIATE CODE: A131

Effective date: 20091124

A521 Request for written amendment filed

Free format text: JAPANESE INTERMEDIATE CODE: A523

Effective date: 20100125

A131 Notification of reasons for refusal

Free format text: JAPANESE INTERMEDIATE CODE: A131

Effective date: 20100316

A521 Request for written amendment filed

Free format text: JAPANESE INTERMEDIATE CODE: A523

Effective date: 20100517

TRDD Decision of grant or rejection written
A01 Written decision to grant a patent or to grant a registration (utility model)

Free format text: JAPANESE INTERMEDIATE CODE: A01

Effective date: 20100907

A01 Written decision to grant a patent or to grant a registration (utility model)

Free format text: JAPANESE INTERMEDIATE CODE: A01

A61 First payment of annual fees (during grant procedure)

Free format text: JAPANESE INTERMEDIATE CODE: A61

Effective date: 20100920

R150 Certificate of patent or registration of utility model

Free format text: JAPANESE INTERMEDIATE CODE: R150

FPAY Renewal fee payment (event date is renewal date of database)

Free format text: PAYMENT UNTIL: 20131015

Year of fee payment: 3

LAPS Cancellation because of no payment of annual fees