JP4558007B2 - 静電誘導型発電装置 - Google Patents

静電誘導型発電装置 Download PDF

Info

Publication number
JP4558007B2
JP4558007B2 JP2007159475A JP2007159475A JP4558007B2 JP 4558007 B2 JP4558007 B2 JP 4558007B2 JP 2007159475 A JP2007159475 A JP 2007159475A JP 2007159475 A JP2007159475 A JP 2007159475A JP 4558007 B2 JP4558007 B2 JP 4558007B2
Authority
JP
Japan
Prior art keywords
electrode
vibration
collector
electrostatic induction
layer
Prior art date
Legal status (The legal status is an assumption and is not a legal conclusion. Google has not performed a legal analysis and makes no representation as to the accuracy of the status listed.)
Expired - Fee Related
Application number
JP2007159475A
Other languages
English (en)
Other versions
JP2008043187A (ja
Inventor
直輝 松原
誠 泉
佳謙 宍田
Current Assignee (The listed assignees may be inaccurate. Google has not performed a legal analysis and makes no representation or warranty as to the accuracy of the list.)
Sanyo Electric Co Ltd
Original Assignee
Sanyo Electric Co Ltd
Priority date (The priority date is an assumption and is not a legal conclusion. Google has not performed a legal analysis and makes no representation as to the accuracy of the date listed.)
Filing date
Publication date
Application filed by Sanyo Electric Co Ltd filed Critical Sanyo Electric Co Ltd
Priority to JP2007159475A priority Critical patent/JP4558007B2/ja
Priority to US11/777,668 priority patent/US7851967B2/en
Publication of JP2008043187A publication Critical patent/JP2008043187A/ja
Application granted granted Critical
Publication of JP4558007B2 publication Critical patent/JP4558007B2/ja
Expired - Fee Related legal-status Critical Current
Anticipated expiration legal-status Critical

Links

Images

Classifications

    • HELECTRICITY
    • H02GENERATION; CONVERSION OR DISTRIBUTION OF ELECTRIC POWER
    • H02NELECTRIC MACHINES NOT OTHERWISE PROVIDED FOR
    • H02N1/00Electrostatic generators or motors using a solid moving electrostatic charge carrier
    • HELECTRICITY
    • H02GENERATION; CONVERSION OR DISTRIBUTION OF ELECTRIC POWER
    • H02NELECTRIC MACHINES NOT OTHERWISE PROVIDED FOR
    • H02N1/00Electrostatic generators or motors using a solid moving electrostatic charge carrier
    • H02N1/06Influence generators
    • H02N1/08Influence generators with conductive charge carrier, i.e. capacitor machines

Landscapes

  • Engineering & Computer Science (AREA)
  • Power Engineering (AREA)
  • Micromachines (AREA)

Description

本発明は、静電誘導型発電装置に関する。
従来、可変容量の電極に電荷を与え、その電荷により対向電極間にクーロン引力が働かせ、このクーロン引力に抗して振動子が振動することにより仕事をしたエネルギーを電気エネルギーに変換することによって、振動エネルギーにより発電を行う小型の静電誘導型発電装置が知られている。このような、従来の静電誘導型発電装置では、電極間に電圧差を与えることにより強制的に電荷を保持させる方法が最も簡易であるが、その場合には、発電装置に電力供給装置が必要となる。電力供給装置を必要とせずに電極に電荷を与えるための方法としては、電荷を半永久的に保持することのできるエレクトレット膜を用いた静電誘導型発電装置が知られている(たとえば、特許文献1参照)。特許文献1に開示された静電誘導型発電装置は、振動電極と、固定電極と、固定電極に形成されたテフロン(登録商標)などの樹脂材料からなる電荷保持材料であるエレクトレット膜とによって構成されている。この静電誘導型発電装置では、振動電極を振動すること、または、回転することを繰り返すことによって、振動電極に誘導される電荷が変化し、その変化分が電流として出力される。
特表2005−529574号公報
しかしながら、上記したエレクトレット膜を用いた静電誘導型発電装置では、樹脂材料からなるエレクトレット膜の耐熱性が低いため、プリント基板に実装するために必要な250℃程度のリフロー半田温度に耐えることができない場合があるという不都合がある。その場合には、プリント基板上に静電誘導型発電装置を実装することができないという問題点がある。
この発明は、上記のような課題を解決するためになされたものであり、この発明の1つの目的は、電力供給装置を不要とし、かつ、プリント基板に実装することが可能な静電誘導型発電装置を提供することである。
この発明の第1の局面による静電誘導型発電装置は、互いに所定の間隔を隔てて形成され、電荷を蓄積可能な一対の第1の電極と、第1の電極と所定の距離を隔てて対向するように設けられ、第1の方向と、第1の方向とは異なる第2の方向とに振動可能で、第1の電極に蓄積された電荷により逆の電荷を帯びる一対の振動電極と、第1の電極から所定の間隔を隔てて一対の振動電極に対向するように設けられ、一対の振動電極が所定の位置にある場合に、一対の振動電極を互いに電気的に接続するための第2の電極とを備える。
上記第1の局面による静電誘導型発電装置において、好ましくは、一対の振動電極に対向するように設けられ、一対の振動電極が第2の方向に振動する際に接触するとともに、一対の第1の電極とそれぞれ電気的に接続される一対の第3の電極をさらに備える。
この場合、好ましくは、振動電極は、第1の方向への振動によって電荷を帯びるとともに、第2の方向への振動によって第3の電極に接続することにより電荷が第3の電極に運ばれる。
上記第1の局面による静電誘導型発電装置において、好ましくは、第1の電極の振動電極の対向する表面上には、振動電極が第1の電極に電気的に接続するのを抑制するための接触抑制部材が設けられている。
上記第1の局面による静電誘導型発電装置において、好ましくは、振動電極の第1の電極が設けられる側とは反対側に、振動電極と所定の距離を隔てて対向するように設けられるとともに、互いに所定の間隔を隔てて形成される、電荷を蓄積可能な一対の第4の電極と、一対の第4の電極から所定の間隔を隔てて一対の振動電極に対向するように設けられ、一対の振動電極が所定の位置にある場合に、一対の振動電極を互いに電気的に接続するための第5の電極とをさらに備える。
以下、本発明の実施形態を図面に基づいて説明する。なお、各実施形態において同一符号は、同一の構成を表す。
(第1実施形態)
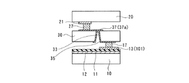
図1は、本発明の第1実施形態による静電誘導型発電装置の図3〜図6における200−200線に沿った断面図である。図2は、本発明の第1実施形態による静電誘導型発電装置の図3〜図6における300−300線に沿った断面図である。図3は、本発明の第1実施形態による静電誘導型発電装置の固定基板の上面図である。図4は、本発明の第1実施形態による静電誘導型発電装置のコレクタ基板の下面図である。図5および図6は、それぞれ、本発明の第1実施形態による静電誘導型発電装置の振動基板の上面図および下面図である。図1〜図6を参照して、第1実施形態による静電誘導型発電装置1の構造について説明する。
第1実施形態による静電誘導型発電装置1は、図1に示すように、ガラスからなる固定基板10と、ガラスからなるコレクタ基板20と、固定基板10とコレクタ基板20との間に配置されたシリコンからなる振動基板30との3層の基板によって構成されている。以下、詳細に説明する。
図1に示すように、約500μmの厚みを有する固定基板10の上面上には、約2μmの厚みを有するAu(上層)/Cr(下層)からなる浮遊電極11が形成されている。浮遊電極11は、後述する一方コレクタ電極21および他方コレクタ電極22に対応する形状に形成されている。ただし、電気的に接続されていない一方コレクタ電極21と他方コレクタ電極22とは異なり、浮遊電極11の一方コレクタ電極21に対応する部分と他方コレクタ電極22に対応する部分とは電気的に接続されている。浮遊電極11の表面上には、約2μmの厚みを有するSiOからなる絶縁膜12が形成されている。また、絶縁膜12の表面上には、約2μmの厚みを有するAu(上層)/Cr(下層)からなる一方下部接触電極13および他方下部接触電極14と、約2μmの厚みを有するAu(上層)/Cr(下層)からなる接着層15とが設けられている。なお、一方下部接触電極13および他方下部接触電極14は、本発明の「第3の電極」の一例である。また、接着層15上には、固定基板10と振動基板30とを一定の間隔を保つための約30μmの厚みを有するCuからなるスペーサ16が形成されている。このスペーサ16は、接着層15により固定基板10に接着されている。また、図2に示すように、一方下部接触電極13の上には、約30μmの厚みを有するCuからなる接続電極17が設けられている。また、図3に示すように、他方下部接触電極14の上には、約30μmの厚みを有するCuからなる接続電極18が設けられている。
また、図3に示すように、一方下部接触電極13および他方下部接触電極14は、L字状の形状を有し、それぞれ、接続電極17および接続電極18と電気的に接続されている。また、接着層15およびスペーサ16は、固定基板10の4辺に沿って周状に形成されている。
ここで、第1実施形態では、図1に示すように、約500μmの厚みを有するコレクタ基板20の下面上には、約2μmの厚みを有するAu(上層)/Cr(下層)からなる一方コレクタ電極21、および、約2μmの厚みを有するAu(上層)/Cr(下層)からなる他方コレクタ電極22が、それぞれ、後述する一方振動電極部31および他方振動電極部32に対向するように、所定の間隔を隔てて形成されている。なお、一方コレクタ電極21および他方コレクタ電極22は、本発明の「第1の電極」の一例である。また、第1実施形態では、コレクタ基板20の下面上の一方振動電極部31と他方振動電極部32との間には、一方振動電極部31および他方振動電極部32から所定の間隔を隔てて、約2μmの厚みを有するAu(上層)/Cr(下層)からなる上部接触電極23が形成されている。なお、上部接触電極23は、本発明の「第2の電極」の一例である。また、第1実施形態では、一方コレクタ電極21、他方コレクタ電極22および上部接触電極23の下面上には、それぞれ、約1μmの厚みを有するSiNからなるストッパ24が2つずつ後述する一方振動電極部31および他方振動電極部32に対向するように形成されている。なお、ストッパ24は、本発明の「接触抑制部材」の一例である。また、コレクタ基板20の下面の一方振動電極部31および他方振動電極部32の外側に所定の間隔を隔てて約2μmの厚みを有するAu(上層)/Cr(下層)からなる接着層25が形成されている。また、接着層25の下面上には、コレクタ基板20と振動基板30とを一定の間隔を保つための約30μmの厚みを有するCuからなるスペーサ26が形成されている。このスペーサ26は、接着層25によりコレクタ基板20に接着されている。
また、図2に示すように、一方コレクタ電極21の表面上には、約30μmの厚みを有するCuからなる接続電極27が形成されている。また、図4に示すように、他方コレクタ電極22の表面上には、約30μmの厚みを有するCuからなる接続電極28が形成されている。また、接着層25およびスペーサ26は、コレクタ基板20の4辺に沿って周状に形成されている。
ここで、第1実施形態では、図1に示すように、約500μmの厚みを有する振動基板30には、片もちばり構造を有する一方振動電極部31および他方振動電極部32が形成されている。なお、一方振動電極部31および他方振動電極部32は、本発明の「振動電極」の一例である。また、図3に示すように、一方振動電極部31および他方振動電極部32は、それぞれ、一方コレクタ電極21および他方コレクタ電極22と対向するように配置されている。また、図3に示すように、一方振動電極部31および他方振動電極部32は、それぞれ、他方下部接触電極14および一方下部接触電極13に対向するように配置されている。
また、一方振動電極部31および他方振動電極部32には、それぞれ、約5μmの厚みを有するばね部31aおよび32aと、約2μmの厚みを有するCuからなる突起電極31bおよび32bと、一方コレクタ電極21および他方コレクタ電極22に蓄積された電荷よって静電誘導を引き起こすための約1μmの厚みを有するAu(上層)/Cr(下層)からなる振動電極層31cおよび32cと、約500μmの厚みを有するおもり部31dおよび32dと、約1μmの厚みを有するCuからなる貫通電極層31eおよび32eとが形成されている。振動電極層31cは、一方振動電極部31のばね部31aおよびおもり部31dの上面を覆うように形成されており、振動電極層32cは、他方振動電極部32のばね部32aおよびおもり部32dの上面を覆うように形成されている。突起電極31bは、振動電極層31cの上面上に上部接触電極23に対向するように形成されているとともに、振動電極層31cが上方に振動した際に、突起電極31bが上部接触電極23に接触可能なように構成されている。突起電極32bは、振動電極層32cの上面上に上部接触電極23に対向するように形成されているとともに、振動電極層32cが上方に振動した際に、突起電極32bが上部接触電極23に接触可能なように構成されている。また、図1および図5に示すように、一方振動電極部31および他方振動電極部32には、それぞれ、貫通孔31fおよび32fが形成されている。また、図1に示すように、貫通電極層31eおよび32eは、それぞれ、貫通孔31fおよび32fを覆うとともに貫通孔31fおよび32fを介して、振動電極層31cおよび32cに接触するように形成されている。また、図2および図6に示すように、振動基板30には、貫通孔33および34が形成されている。また、貫通孔33の内面と振動基板30の下面の一部とを覆うように、約1μmの厚みを有するCuからなる貫通電極層35が形成されている。また、図6に示すように、貫通孔34の内面と振動基板30の下面の一部とを覆うように、約1μmの厚みを有するCuからなる貫通電極層36が形成されている。また、図6に示すように、貫通電極層35および36は、それぞれ、振動基板30と固定基板10とを重ね合わせたときに、固定基板10の上面上に形成された接続電極17および18と当接するように形成されている。
また、図2および図5に示すように、貫通孔33の周囲には、接続電極27と貫通電極層35とを接続するための約1μmの厚みを有するAu(上層)/Cr(下層)からなる配線層37が形成されている。また、図2に示すように、振動基板30の上面上に形成された配線層37は、コレクタ基板20と振動基板30とを重ね合わせたときに、コレクタ基板20の下面上に形成された接続電極27と当接するように形成されている。また、図5に示すように、貫通孔34の周囲には、接続電極28と貫通電極層36とを接続するための約1μmの厚みを有するAu(上層)/Cr(下層)からなる配線層38が形成されている。また、振動基板30の上面上に形成された配線層38は、コレクタ基板20と振動基板30とを重ね合わせたときに、コレクタ基板20の下面上に形成された接続電極28(図4参照)と当接するように形成されている。また、振動基板30の上面上には、スペーサ26と振動基板30とを接着するための約1μmの厚みを有するAu(上層)/Cr(下層)からなる接着層39が振動基板30の4辺に沿って周状に形成されている。また、振動基板30の下面上には、スペーサ16と振動基板30とを接着するための約1μmの厚みを有するAu(上層)/Cr(下層)からなる接着層40が振動基板30の4辺に沿って周状に形成されている。
また、一方振動電極部31および他方振動電極部32は、図5および図6に示すように、一方振動電極部31および他方振動電極部32の上面から下面に向かってテーパ状に細くなる形状を有している。
また、図2に示すように、一方コレクタ電極21と一方下部接触電極13とは、接続電極27、配線層37、貫通電極層35および接続電極17を介して電気的に接続されている。同様に、他方コレクタ電極22と他方下部接触電極14とは、接続電極28、配線層38、貫通電極層36および接続電極18を介して電気的に接続されている。
図7および図8は、本発明の第1実施形態による静電誘導型発電装置1の発電動作を説明するための断面図である。次に、図1、図7および図8を参照して、静電誘導型発電装置1の発電動作について説明する。
静電誘導型発電装置1に振動が加わると、図7および図8に示す状態が繰り返される。図7には、一方振動電極部31および他方振動電極部32がそれぞれ一方コレクタ電極21および他方コレクタ電極22に近づく方向に振動したときの電荷の誘導の状態が示されている。この状態では、一方振動電極部31の突起電極31bと、他方振動電極部32の突起電極32cとが、共に、コレクタ基板20の下面上に形成された上部接触電極23に接触することにより、一方振動電極部31と他方振動電極部32とが電気的に接続される。このとき、一方振動電極部31の上面の振動電極層31cおよび他方振動電極部32の上面の振動電極層32cには、一方コレクタ電極21と、他方コレクタ電極22とに蓄積している電荷と逆の電荷が静電誘導により誘導される。たとえば、図7に示すように、一方コレクタ電極21に正電荷が蓄積されているとともに、他方コレクタ電極22に負電荷が蓄積されている場合には、振動電極層31cには負電荷が蓄積されるとともに、振動電極層32cには正電荷が蓄積される。
図8には、一方振動電極部31および他方振動電極部32が一方コレクタ電極21および他方コレクタ電極22から離間する方向に振動したときの電荷の輸送の状態が示されている。この状態では、一方振動電極部31に設けられた貫通電極層31eおよび他方振動電極部32に設けられた貫通電極層32eは、それぞれ、固定基板10の上面上に形成された他方下部接触電極14および一方下部接触電極13に接触される。このとき、他方振動電極部32の上面の振動電極層32cに誘導された正電荷は、一方下部接触電極13、接続電極17、貫通電極層35、配線層37および接続電極27を介して一方コレクタ電極21に集められる。また、一方振動電極部31の上面の振動電極層31cに誘導された負電荷は、同様に、他方下部接触電極14、接続電極18、貫通電極層36、配線層38および接続電極28を介して他方コレクタ電極22に集められる。このように、一方振動電極部31および他方振動電極部32が振動を繰り返すことにより、電荷の誘導と電荷の輸送が交互に繰り返されるので、一方コレクタ電極21には、他方振動電極部32において誘導された正電荷が蓄積されていくとともに、他方コレクタ電極22には、一方振動電極部31において誘導された負電荷が蓄積されていく。
この発電機の一つの特徴は、他に電力供給装置を持たずに自力で発電できることである。初期状態において、一方コレクタ電極21または他方コレクタ電極22のどちらかの電極にほんの少しでも帯電していたとすれば、その電荷から誘導され、振動を繰り返すたびに、コレクタ間に電荷が蓄積され、電位差を大きくすることが可能となる。この電位差を取り出すことにより発電が可能となる。
次に、図1、図7および図8を参照して、第1実施形態による静電誘導型発電装置1において、下向きの加速度が加えられたときの、一方振動電極部31および他方振動電極部32の可動条件について説明する。下記式(1)は、図7に示す突起電極31bおよび32bが上部接触電極23に接触した状態から、それぞれ、上部接触電極23から離れることのできる条件を示す。また、下記式(2)は、図8に示す貫通電極層31eおよび32eが、それぞれ、他方下部接触電極14および一方下部接触電極13に接触することのできる条件を示す。
m・a+k・x−q/2C>0 ・・・・・(1)
m・a−k・x−q/2C>0 ・・・・・(2)
ここで、mは、一方振動電極部31および他方振動電極部32の質量、aは、一方振動電極部31および他方振動電極部32の加速度、kは、一方振動電極部31のばね部31aおよび他方振動電極部32のばね部32aのばね定数である。また、xは、図1に示す一方振動電極部31の位置を基準にした一方振動電極部31の位置である。また、xは、図1に示す他方振動電極部32の位置を基準にした他方振動電極部32の位置である。qは、一方振動電極部31および他方振動電極部32に誘導されている電荷の量である。Cは、一方振動電極部31と一方コレクタ電極21との間のコンデンサ容量、および、他方振動電極部32と他方コレクタ電極22との間のコンデンサ容量を表す。Cは、一方振動電極部31と他方下部接触電極14との間のコンデンサ容量、および、他方振動電極部32と一方下部接触電極13との間のコンデンサ容量を表す上記式(1)および(2)を満足する状態において、第1実施形態による静電誘導型発電装置1の発電が可能となる。
第1実施形態では、上記のように、一方コレクタ電極21および他方コレクタ電極22と、一方振動電極部31および他方振動電極部32とが所定の間隔を隔てて対向するように設けられるとともに、一方振動電極部31および他方振動電極部32が一方コレクタ電極21および他方コレクタ電極22に近づく方向に振動した際に一方振動電極部31および他方振動電極部32を電気的に接続する上部接続電極23を設けることによって、一方振動電極部31および他方振動電極部32が一方振動電極部31および他方振動電極部32に近づく方向に振動した際に、一方コレクタ電極21および他方コレクタ電極22に蓄積された電荷によって振動電極層31cおよび振動電極層32cに静電誘導が引き起こされるので、振動電極層31cおよび振動電極層32cに逆の電荷を帯びることができる。これにより、振動電極層31cおよび振動電極層32cに誘導された電荷を取り出すことによって、発電を行うことができる。また、第1実施形態による静電誘導型発電装置1では、樹脂材料からなるエレクトレット膜に代えて電極材料からなる一方コレクタ電極21および他方コレクタ電極22を用いることによって、一般的に電極材料は樹脂材料に比べて耐熱性が高いので、容易にプリント基板に実装することができる。
また、第1実施形態では、上記のように、一方振動電極部31および他方振動電極部32に対向するように、一方コレクタ電極21および他方コレクタ電極22に電気的にそれぞれ接触された一方下部接触電極13と他方下部接触電極14とを設けることによって、一方振動電極部31および他方振動電極部32は、一方コレクタ電極21および他方コレクタ電極22から離間する方向に振動した際に、一方下部接触電極13および他方下部接触電極14に電気的にそれぞれ接触されるので、振動電極層31cおよび振動電極層32cに静電誘導によって誘導された電荷(正電荷または負電荷)を、それぞれ、他方コレクタ電極22および一方コレクタ電極21に輸送することができる。
また、第1実施形態では、上記のように、一方振動電極部31および他方振動電極部32は、一方コレクタ電極21および他方コレクタ電極22に近づく方向への振動によって電荷を帯びるとともに、一方コレクタ電極21および他方コレクタ電極22から離間する方向への振動によって一方下部接触電極13および他方下部接触電極14に接続することにより電荷が一方下部接触電極13および他方下部接触電極14に運ばれるように構成することによって、一方振動電極部31および他方振動電極部32が一方コレクタ電極21および他方コレクタ電極22に近づく方向に振動する際に一方振動電極部31および他方振動電極部32において起こる静電誘導によって電荷が誘導されることと、一方振動電極部31および他方振動電極部32が一方コレクタ電極21および他方コレクタ電極22から離間する方向に振動する際に一方振動電極部31および他方振動電極部32に誘導された電荷を他方コレクタ電極22および一方コレクタ電極21へ輸送することとが振動により繰り返し行われるので、一方コレクタ電極21および他方コレクタ電極22に蓄積される電荷を一方振動電極部31および他方振動電極部32の振動毎に大きくすることができる。この場合、静電誘導によって一方振動電極部31および他方振動電極部32に誘導される電荷の量は、一方コレクタ電極21および他方コレクタ電極22に蓄積される電荷の量に依存するので、一方振動電極部31および他方振動電極部32が振動を繰り返すたびに振動電極層31cおよび32cに誘導される電荷の量を大きくすることができる。
また、第1実施形態では、上記のように、一方コレクタ電極21および他方コレクタ電極22の一方振動電極部31および他方振動電極部32にそれぞれ対向する表面上に、一方振動電極部31および他方振動電極部32が一方コレクタ電極21および他方コレクタ電極22に電気的に接続するのを抑制するためのストッパ24を設けることによって、一方振動電極部31および他方振動電極部32が一方コレクタ電極21および他方コレクタ電極22に近づく方向に振動する際、一方振動電極部31および他方振動電極部32が一方コレクタ電極21および他方コレクタ電極22にそれぞれ電気的に接続することがストッパ24によって抑制されるため、一方振動電極部31および他方振動電極部32が一方コレクタ電極21および他方コレクタ電極22にそれぞれ電気的に接続して一方振動電極部31および他方振動電極部32に誘導されている電荷が小さくなるのを抑制することができる。
また、第1実施形態では、上記のように、一方振動電極部31および他方振動電極部32は、片持ちばり構造を有し、かつ、一方振動電極部31および他方振動電極部32の先端には、おもり部31dおよび32dがそれぞれ設けられている。おもり部31dおよび32dとは、一方振動電極部31および他方振動電極部32の振動可能な部分のうち、断面積の最も小さい部分以外の一方振動電極部31および他方振動電極部32をいう。小さな加速度を与えて一方振動電極部31および他方振動電極部32を大きく振動させるためには、おもり部31dおよび32dの重量を大きくする必要がある。本構造のように、おもり部31dおよび32dを含む片持ちばり構造の一方振動電極部31および他方振動電極部32が同一部材で一体に形成されている場合、おもり部31dおよび32dの体積を増大することによってその重量を増大させることができるように構成することによって、小さな加速度でも容易に一方振動電極部31および他方振動電極部32を大きく振動させることができるので、小さな加速度を一方振動電極部31および他方振動電極部32に与えることでも安定して発電を行うことができる。
図9〜図26は、それぞれ、第1実施形態による静電誘導型発電装置の製造プロセスを説明するための断面図である。次に、図1および図9〜図26を参照して、第1実施形態による静電誘導型発電装置1の製造プロセスについて説明する。
まず、図9〜図14を参照して、コレクタ基板20の製造プロセスについて説明する。まず、図9に示すように、スパッタリング法を用いて、約500μmの厚みを有するガラスからなるコレクタ基板20の上面上に、約2μmの厚みを有するAu(上層)/Cr(下層)からなる金属層50を形成する。さらに、プラズマCVD(Chemical Vapor Deposition)法を用いて、金属層50の上に、約1μmの厚みを有するSiN膜24aを形成する。そして、SiN膜24aの所定領域にリソグラフィ法を用いて、レジスト膜51を形成した後、レジスト膜51をマスクとしてSiN膜24aをドライエッチングする。これにより、図10に示すように、SiN膜からなるストッパ24が形成される。この後、レジスト膜51を除去する。
次に、図11に示すように、フォトリソグラフィ法を用いて、金属層50の所定領域上にレジスト膜52を形成した後、そのレジスト膜52をマスクとして金属層50をドライエッチングすることにより金属層50をパターニングする。これにより、図12に示すように、一方コレクタ電極21、他方コレクタ電極22、上部接触電極23および接着層25を形成する。この後、レジスト膜52を除去する。
次に、図13に示すように、めっき法によりCu層26aをコレクタ基板20の全面に形成した後、フォトリソグラフィ法を用いてCu層26a上の所定領域にレジスト膜53を形成する。そして、レジスト膜53マスクとして、FeClおよびHClの混合液を用いてCu層26aをウエットエッチングすることにより、図14に示すようなCuからなるスペーサ26が形成される。この後、レジスト膜53を除去することにより、コレクタ基板20が完成される。
次に、図15〜図18を参照して、固定基板10の製造プロセスについて説明する。まず図15に示すように、スパッタリング法を用いて、約500μmの厚みを有するガラスからなる固定基板10の上面上に、約2μmの厚みを有するAu(上層)/Cr(下層)からなる浮遊電極11を形成する。なお、この浮遊電極11は、一方コレクタ電極21および他方コレクタ電極22に対向するような形状に形成する。そして、プラズマCVD法を用いて、浮遊電極11の上に、約2μmの厚みを有するSiO膜からなる絶縁膜12を形成する。さらに、スパッタリング法を用いて、絶縁膜12の上面上に、約2μmの厚みを有するAu(上層)/Cr(下層)からなる金属層60を形成する。そして、金属層60上に、リソグラフィ法を用いて、レジスト膜61を形成した後、レジスト膜61をマスクとして金属層60をドライエッチングすることによりパターニングする。これにより、図16に示すような、一方下部接触電極13、他方下部接触電極14および接着層15を形成する。この後、レジスト膜61を除去する。
次に、図17に示すように、めっき法によりCu層16aを固定基板10の全面に形成した後、フォトリソグラフィ法を用いて、Cu層16a上の所定の領域に、レジスト膜62を形成する。最後に、図18に示すように、FeClおよびHClの混合液を用いてウエットエッチングすることにより、図18に示すようなCuからなるスペーサ16が形成される。この後、レジスト膜62を除去することにより、固定基板10が完成される。
次に、図19〜図26を参照して、シリコンからなる振動基板30の製造プロセスについて説明する。図19に示すように、約500μmの厚みを有する振動基板30の上面にリソグラフィ法を用いて、レジスト膜80を形成した後、振動基板30の上面上からボロンイオンを注入することにより、ばね部31aおよび32aが形成される領域30aにはボロンイオンが注入される。このボロンを注入した領域は、後述するばね部31aおよび32aを形成する際のウエットエッチングの時のエッチングストッパとして機能する。この後、レジスト膜80を除去する。また、振動基板30の上面および下面上にSiOからなる熱酸化膜70および71を形成する。
次に、スパッタリング法を用いて、振動基板30の上面上に、約1μmの厚みを有するAu(上層)/Cr(下層)からなる金属層(図示せず)を形成した後、リソグラフィ法とドライエッチング法とを用いてその金属層をパターニングすることによって、図20に示すような、振動電極層31c、振動電極層32cおよび接着層39を形成する。
次に、めっき法により振動基板30の全面上に約2μmの厚みを有するCuからなる金属層(図示せず)を形成した後、ウエットエッチング法を用いて、その金属層をパターニングすることによって、図21に示すように、突起電極31b、突起電極32bおよび金属層72を形成する。
次に、図22に示すように、プラズマCVD法を用いて、振動基板30の全面上に、SiO膜からなる保護膜73を形成する。この後、図23に示すように、振動基板30の下面上の所定領域に、リソグラフィ法を用いてレジスト膜74を形成した後、そのレジスト膜74をマスクとして熱酸化膜71をドライエッチングすることによりパターニングする。この後、レジスト膜74を除去する。そして、図24に示すように、パターニングされた熱酸化膜71をマスクとして、薬液にKOH水溶液および水酸化テトラメチルアンモニウム(TMAH)水溶液を用いた等方性ウエットエッチング法により、振動基板30を下面側からエッチングすることによって、ばね部31a、ばね部32a、おもり部31dおよびおもり部32dを形成する。この際、熱酸化膜70を形成した領域、および、ボロンイオンを注入した領域においてエッチングはストップする。この後、振動基板30の下面よりエッチバックを行うことによって、熱酸化膜71および露出された熱酸化膜70を除去する。
次に、図25に示すように、めっき法により振動基板30の下面の全面上に約1μmの厚みを有するCuからなる金属層(図示せず)を形成した後、フォトリソグラフィ技術とウエットエッチング法とを用いてその金属層をパターニングすることによって、貫通電極層31e、貫通電極層32eおよび接着層40を形成する。この後、図26に示すように、HF溶液により、保護膜73を除去し、振動基板30が完成される。
最後に、図1に示したように、ウエハボンディング法により、コレクタ基板20と振動基板30とを貼り合わせるとともに、固定基板10と振動基板30とを貼り合わせる。ウエハボンディング法とは、ウエハアライナーを用いて基板同士を合わせて、熱または圧力によって接着させる方法である。また、ウエハアライナーとは、ウエハ同士の位置決めを顕微鏡によって行う装置である。第1実施形態では、Cuからなるスペーサ26とAu(上層)/Cr(下層)からなる接着層39上に形成されたCuからなる金属層72とを400℃程度の熱によって接着する。同様に、Cuからなるスペーサ16とCuからなる接着層40とを400℃程度の熱によって接着する。
(第2実施形態)
図27は、本発明の第2実施形態による静電誘導型発電装置の断面図である。図28は、本発明の第2実施形態による静電誘導型発電装置の固定基板の上面図である。図29は、本発明の第2実施形態による静電誘導型発電装置の振動基板の上面図である。図30は、本発明の第2実施形態による静電誘導型発電装置の振動電極部の端部を拡大した図である。図27〜図30を参照して、この第2実施形態では、上記第1実施形態と異なり、固定基板10側にも一方コレクタ電極101および他方コレクタ電極102が形成されている静電誘導型発電装置1bについて説明する。
第2実施形態による静電誘導型発電装置1bは、図27に示すように、固定基板10と、コレクタ基板20と、固定基板10とコレクタ基板20との間に配置されたシリコンからなる振動基板110との3層の基板によって構成されている。以下、詳細に説明する。
図27に示すように、固定基板10の上面上には、浮遊電極11が形成されている。また、浮遊電極11の上面上には、絶縁膜12が形成されている。ここで第2実施形態では、絶縁膜12の上面上には、約2μmの厚みを有するAu(上層)/Cr(下層)からなる一方コレクタ電極101、および、約2μmの厚みを有するAu(上層)/Cr(下層)からなる他方コレクタ電極102が、それぞれ、後述する一方振動電極部111および他方振動電極部112に対向するように、所定の間隔を隔てて形成されている。なお、一方コレクタ電極101および他方コレクタ電極102は、本発明の「第4の電極」の一例である。また、第2実施形態では、固定基板10の上面上の一方コレクタ電極101と他方コレクタ電極102との間には、一方コレクタ電極101および他方コレクタ電極102から所定の間隔を隔てて、約2μmの厚みを有するAu(上層)/Cr(下層)からなる下部接触電極103が形成されている。なお、下部接触電極103は、本発明の「第5の電極」の一例である。また、一方コレクタ電極101、他方コレクタ電極102および下部接触電極103の上面上には、それぞれ、約1μmの厚みを有するSiNからなるストッパ104が2つずつ後述する一方振動電極部111および他方振動電極部112に対向するように形成されている。
なお、コレクタ基板20の構成は、上記第1実施形態と同様である。
また、図27に示すように、約500μmの厚みを有する振動基板110には、片もちばり構造を有する一方振動電極部111および他方振動電極部112が形成されている。なお、一方振動電極部111および他方振動電極部112は、本発明の「振動電極」の一例である。また、一方振動電極部111および他方振動電極部112は、それぞれ、一方コレクタ電極21および101と、他方コレクタ電極22および102と対向するように配置されている。また、一方振動電極部111および他方振動電極部112は、それぞれ、上部接触電極23および下部接触電極103に対向するように配置されている。
また、一方振動電極部111(他方振動電極部112)には、約5μmの厚みを有するばね部111a(112a)と、約2μmの厚みを有するCuからなる突起電極111b(112b)と、一方コレクタ電極21(他方コレクタ電極22)に蓄積された電荷よって静電誘導を引き起こすための約1μmの厚みを有するAu(上層)/Cr(下層)からなる振動電極層111c(112c)と、約500μmの厚みを有するおもり部111d(112d)と、約1μmの厚みを有するCuからなる貫通電極層111e(112e)とが形成されている。振動電極層111c(112c)は、一方振動電極部111(他方振動電極部112)のばね部111a(112a)およびおもり部111d(112d)の上面を覆うように形成されている。突起電極111b(112b)は、振動電極層111c(112c)の上面上に上部接触電極23に対向するように形成されているとともに、振動電極層111c(112c)が上方(Z1方向)に振動した際に、突起電極111b(112b)が上部接触電極23に接触可能なように構成されている。
また、図27に示すように、一方振動電極部111(他方振動電極部112)には、貫通孔111f(112f)が形成されている。また、貫通電極層111e(112e)は、一方振動電極部111(他方振動電極部112)の下面上と、貫通孔111f(112f)とを覆うとともに、貫通孔111f(112f)を介して、振動電極層111c(112c)に接触するように形成されている。また、貫通電極層111e(112e)の下面上には、約2μmの厚みを有するCuからなる突起電極111g(112g)が形成されている。突起電極111g(112g)は、貫通電極層111e(112e)の下面上に下部接触電極103に対向するように形成されているとともに、貫通電極層111e(112e)が下方(Z2方向)に振動した際に、突起電極111g(112g)が下部接触電極103に接触可能なように構成されている。
また、図29に示すように、振動基板110には、振動基板110に振動が加わらない状態において、一方振動電極部111(他方振動電極部112)に形成される振動電極層111c(112c)と電気的に接続される板ばね状の部材からなるばね電極113a(113b)が設けられている。なお、図30に示すように、振動電極層111c(112c)には、おもり部111d(112d)の側面上の所定領域を覆うようにL字形状に形成され、ばね電極113a(113b)と接触する接触部111h(112h)が設けられている。なお、ばね電極113a(113b)は、平面的に見て、一方振動電極部111(他方振動電極部112)のおもり部111d(112d)と振動基板110との間に設けられている。また、一方振動電極部111(他方振動電極部112)とばね電極113a(113b)とは、一方振動電極部111(他方振動電極部112)が振動により一方コレクタ電極21(他方コレクタ電極22)または一方コレクタ電極101(他方コレクタ電極102)に近づいた状態では、電気的に接続しないように構成されている。
また、図2、図4、図28および図29に示すように、一方コレクタ電極21(他方コレクタ電極22)と、一方コレクタ電極101(他方コレクタ電極102)と、ばね電極113b(113a)とは、接続電極27(28)、配線層37a(37b)、貫通電極層35(36)および接続電極17(18)とを介して電気的に接続されている。
次に、図27を参照して、静電誘導型発電装置1bの発電動作について説明する。
静電誘導型発電装置1bにZ1方向の振動が加わることにより、一方振動電極部111および他方振動電極部112が一方コレクタ電極21および他方コレクタ電極22に近づくとともに、一方振動電極部111および他方振動電極部112は、突起電極111bと、上部接触電極23と、突起電極112bとを介して電気的に接続される。なお、一方コレクタ電極21および他方コレクタ電極22には、それぞれ、互いに異なる電荷が蓄積されており、振動電極層111cおよび112cには、静電誘導により互いに異なる電荷が誘導される。
次に、Z2方向に振動することにより、一方振動電極部111と他方振動電極部112との間の電気的な接続が無くなる。この後、図29に示すように、一方振動電極部111(他方振動電極部112)は、ばね電極113a(113b)に電気的に接続される。これにより、振動電極層111c(112c)に蓄積された電荷が、一方コレクタ電極21(他方コレクタ電極22)および一方コレクタ電極101(他方コレクタ電極102)に運ばれる。
さらに、Z2方向に振動することにより、一方振動電極部111および他方振動電極部112が一方コレクタ電極101および他方コレクタ電極102に近づくとともに、一方振動電極部111および他方振動電極部112は、突起電極111gと、下部接触電極103と、突起電極112gとを介して電気的に接続される。なお、一方コレクタ電極101および他方コレクタ電極102には、それぞれ、互いに異なる電荷が蓄積されており、貫通電極層111eおよび112eには、静電誘導により互いに異なる電荷が誘導される。
次に、Z1方向に振動することにより、一方振動電極部111と他方振動電極部112との間の電気的な接続が無くなる。この後、図29に示すように、一方振動電極部111(他方振動電極部112)は、ばね電極113a(113b)に電気的に接続される。これにより、振動電極層111c(112c)に蓄積された電荷が、一方コレクタ電極21(他方コレクタ電極22)および一方コレクタ電極101(他方コレクタ電極102)に運ばれる。
上記の振動を繰り返すたびに、一方コレクタ電極21(101)および他方コレクタ電極22(102)の間に電荷が蓄積され、電位差を大きくすることが可能となる。この電位差を取り出すことにより発電が可能となる。なお、第2実施形態では、上記第1実施形態と異なり、一方コレクタ電極101および他方コレクタ電極102が、固定基板10の上面上にも形成されているため、上記第1実施形態に比べてより多く発電することが可能となる。
(第3実施形態)
図31は、本発明の第3実施形態による静電誘導型発電装置の断面図である。図32は、本発明の第3実施形態による静電誘導型発電装置の振動基板の上面図である。図31および図32を参照して、この第3実施形態では、上記第1実施形態と異なり、一方振動電極部133および他方振動電極部134が水平方向に振動する静電誘導型発電装置1cについて説明する。
第3実施形態による静電誘導型発電装置1cは、図31に示すように、固定基板10と、コレクタ基板20と、固定基板10とコレクタ基板20との間に配置されたシリコンからなる振動基板130との3層の基板によって構成されている。以下、詳細に説明する。
図31に示すように、固定基板10の上面上には、浮遊電極11が形成されている。浮遊電極11は、後述する一方コレクタ電極122および他方コレクタ電極123に対応する形状に形成されている。ただし、電気的に接続されていない一方コレクタ電極122と他方コレクタ電極123とは異なり、浮遊電極11の一方コレクタ電極122に対応する部分と他方コレクタ電極123に対応する部分とは電気的に接続されている。浮遊電極11の表面上には、約2μmの厚みを有するSiOからなる絶縁膜12が形成されている。
なお、固定基板10のその他の構成は、上記第1実施形態と同様である。
また、図31に示すように、コレクタ基板20の下面上の所定領域には、絶縁膜121が形成されている。また、絶縁膜121の下面上には、約2μmの厚みを有するAu(上層)/Cr(下層)からなる一方コレクタ電極122、および、約2μmの厚みを有するAu(上層)/Cr(下層)からなる他方コレクタ電極123が、それぞれ、後述する一方振動電極部133および他方振動電極部134に対向するように、所定の間隔を隔てて形成されている。なお、一方コレクタ電極122および他方コレクタ電極123は、本発明の「第1の電極」の一例である。また、絶縁膜121の所定領域上には、絶縁膜124が形成されている。また、絶縁膜124の下面上の一方振動電極部133と他方振動電極部134との間には、約2μmの厚みを有するAu(上層)/Cr(下層)からなる上部接触電極125が形成されている。なお、上部接触電極125は、本発明の「第2の電極」の一例である。また、一方コレクタ電極122および他方コレクタ電極123の下面上には、それぞれ、約1μmの厚みを有するSiNからなるストッパ126が2つずつ後述する一方振動電極部133および他方振動電極部134に対向するように形成されている。なお、ストッパ126は、本発明の「接触抑制部材」の一例である。
なお、コレクタ基板20のその他の構成は、上記第1実施形態と同様である。
また、図31に示すように、約500μmの厚みを有するシリコンからなる振動基板130には、ばね部131および132を介して、一方振動電極部133および他方振動電極部134が接続されている。なお、一方振動電極部133および他方振動電極部134は、本発明の「振動電極」の一例である。また、一方振動電極部133および他方振動電極部134は、それぞれ、一方コレクタ電極122および他方コレクタ電極123と対向するように配置されている。また、一方コレクタ電極122と他方コレクタ電極123とが振動しない状態では、一方コレクタ電極122と他方コレクタ電極123とは、上部接触電極125を介して電気的に接続されるように構成されている。
また、一方振動電極部133および他方振動電極部134の表面上には、それぞれ、一方コレクタ電極122および他方コレクタ電極123に蓄積された電荷よって静電誘導を引き起こすための約1μmの厚みを有するAu(上層)/Cr(下層)からなる振動電極層133aおよび134aが形成されている。なお、振動電極層133aおよび134aは、一方振動電極部133および他方振動電極部134の表面上から振動基板130側にはみ出すように形成されている。
また、図31および図32に示すように、配線層37cは、他方コレクタ電極123に電気的に接続されるとともに、配線層37dは、一方コレクタ電極122に電気的に接続されている。なお、一方振動電極部133(他方振動電極部134)の表面上に形成される振動電極層133a(134a)と、配線層37c(37d)とは、一方振動電極部133(他方振動電極部134)が図31に示すX1(X2)方向に振動する際に、電気的に接続されるように構成されている。
次に、図31を参照して、静電誘導型発電装置1cの発電動作について説明する。
図31に示す、静電誘導型発電装置1cに振動が加わらない状態において、振動電極層133aと134aとは、上部接触電極125を介して電気的に接続されており、振動電極層133aと134aとには、静電誘導により互いに異なる電荷が誘導される。なお、一方コレクタ電極122および他方コレクタ電極123には、それぞれ、互いに異なる電荷が蓄積されている。
次に、静電誘導型発電装置1cにX1方向の振動が加わることにより、一方振動電極部133および他方振動電極部134がX1方向に移動する。これにより、一方振動電極部133の表面上に形成される振動電極層133aと配線層37cとが電気的に接続される。その結果、振動電極層133aに蓄積されていた電荷が他方コレクタ電極123に運ばれる。
次に、静電誘導型発電装置1cにX2方向の振動が加わることにより、図31に示す、振動電極層133aと134aとが上部接触電極125を介して電気的に接続される状態となり、振動電極層133aと134aとには、静電誘導により互いに異なる電荷が誘導される。
さらに、静電誘導型発電装置1cにX2方向の振動が加わることにより、一方振動電極部133および他方振動電極部134がX2方向に移動する。これにより、他方振動電極部134の表面上に形成される振動電極層134aと配線層37dとが電気的に接続される。その結果、振動電極層134aに蓄積されていた電荷が一方コレクタ電極122に運ばれる。
上記の振動を繰り返すたびに、一方コレクタ電極122および他方コレクタ電極123の間に電荷が蓄積され、電位差を大きくすることが可能となる。この電位差を取り出すことにより発電が可能となる。
(第4実施形態)
図33は、本発明の第4実施形態による静電誘導型発電装置の断面図である。図33を参照して、この第4実施形態では、上記第1実施形態と異なり、一方振動電極部141および他方振動電極部142が、それぞれ、ばね部143および144を介して固定電極20に接続されている静電誘導型発電装置1dについて説明する。
第4実施形態による静電誘導型発電装置1dは、図33に示すように、固定基板10と、コレクタ基板20と、固定基板10とコレクタ基板20との間に配置されたシリコンからなる振動基板140との3層の基板によって構成されている。以下、詳細に説明する。
図33に示すように、一方振動電極部141および他方振動電極部142が、それぞれ、ばね部143および144を介して固定電極20に接続されている。なお、一方振動電極部143および他方振動電極部144は、本発明の「振動電極」の一例である。また、一方振動電極部141(他方振動電極部142)に形成される、ばね部141a、突起電極141b(142b)、振動電極層141c(142c)、おもり部141d(142d)、貫通電極層141e(142e)および貫通孔141f(142f)の構成は、上記第1実施形態と同様である。
また、第4実施形態のその他の構成は、上記第1実施形態と同様である。
また、第4実施形態の動作は、上記第1実施形態と同様である。
(第5実施形態)
図34は、本発明の第5実施形態による静電誘導型発電装置のブロック図である。図34を参照して、この第5実施形態では、上記第1〜第4実施形態と異なり、複数の静電誘導型発電装置から構成される静電誘導型発電装置1eについて説明する。
第5実施形態による静電誘導型発電装置1eは、図34に示すように、コンデンサ150と、コンデンサ150にスイッチ151a〜151cを介して電気的に接続される複数の静電誘導型発電装置152a〜152cとから構成されている。なお、静電誘導型発電装置152a〜152cは、上記第1〜第4実施形態に示される静電誘導型発電装置1および1b〜1dのうちのいずれかにより構成されている。また、静電誘導型発電装置152a〜152cには、X1およびX2方向(図31参照)に振動することにより発電する静電誘導型発電装置と、Z1およびZ2方向(図27および図33参照)に振動することにより発電する静電誘導型発電装置とが混在するように構成されている。これにより、静電誘導型発電装置1eは、複数の振動方向に対して発電することが可能となる。なお、複数の静電誘導型発電装置152a〜152cによって発電された電力は、コンデンサ150に蓄積されるように構成されている。
なお、今回開示された実施形態は、すべての点で例示であって制限的なものではないと考えられるべきである。本発明の範囲は、上記した実施形態の説明ではなく特許請求の範囲によって示され、さらに特許請求の範囲と均等の意味および範囲内でのすべての変更が含まれる。
たとえば、上記第1〜第4実施形態では、ストッパとしてSiN膜からなるストッパを用いたが、本発明はこれに限らず、ストッパとしてSiO膜を用いてもよい。
また、上記第1〜第4実施形態では、コレクタ基板および固定基板としてガラスからなる基板を用いたが、本発明はこれに限らず、シリコンからなる基板を用いてもよい。
また、上記第5実施形態では、静電誘導型発電装置1eが3つの静電誘導型発電装置152a〜152cから構成される例を示したが、本発明はこれに限らず、異なる振動方向によって発電をすることが可能な複数の静電誘導型発電装置から静電誘導型発電装置1eを構成してもよい。
本発明の第1実施形態による静電誘導型発電装置の図3〜図6における200−200線に沿った断面図である。 本発明の第1実施形態による静電誘導型発電装置の図3〜図6における300−300線に沿った断面図である。 本発明の第1実施形態による静電誘導型発電装置の固定基板の上面図である。 本発明の第1実施形態による静電誘導型発電装置のコレクタ基板の下面図である。 本発明の第1実施形態による静電誘導型発電装置の振動基板の上面図である。 本発明の第1実施形態による静電誘導型発電装置の振動基板の下面図である。 本発明の第1実施形態による静電誘導型発電装置の発電動作を説明するための断面図である。 本発明の第1実施形態による静電誘導型発電装置の発電動作を説明するための断面図である。 本発明の第1実施形態による静電誘導型発電装置の製造プロセスを説明するための断面図である。 本発明の第1実施形態による静電誘導型発電装置の製造プロセスを説明するための断面図である。 本発明の第1実施形態による静電誘導型発電装置の製造プロセスを説明するための断面図である。 本発明の第1実施形態による静電誘導型発電装置の製造プロセスを説明するための断面図である。 本発明の第1実施形態による静電誘導型発電装置の製造プロセスを説明するための断面図である。 本発明の第1実施形態による静電誘導型発電装置の製造プロセスを説明するための断面図である。 本発明の第1実施形態による静電誘導型発電装置の製造プロセスを説明するための断面図である。 本発明の第1実施形態による静電誘導型発電装置の製造プロセスを説明するための断面図である。 本発明の第1実施形態による静電誘導型発電装置の製造プロセスを説明するための断面図である。 本発明の第1実施形態による静電誘導型発電装置の製造プロセスを説明するための断面図である。 本発明の第1実施形態による静電誘導型発電装置の製造プロセスを説明するための断面図である。 本発明の第1実施形態による静電誘導型発電装置の製造プロセスを説明するための断面図である。 本発明の第1実施形態による静電誘導型発電装置の製造プロセスを説明するための断面図である。 本発明の第1実施形態による静電誘導型発電装置の製造プロセスを説明するための断面図である。 本発明の第1実施形態による静電誘導型発電装置の製造プロセスを説明するための断面図である。 本発明の第1実施形態による静電誘導型発電装置の製造プロセスを説明するための断面図である。 本発明の第1実施形態による静電誘導型発電装置の製造プロセスを説明するための断面図である。 本発明の第1実施形態による静電誘導型発電装置の製造プロセスを説明するための断面図である。 本発明の第2実施形態による静電誘導型発電装置の断面図である。 本発明の第2実施形態による静電誘導型発電装置の固定基板の上面図である。 本発明の第2実施形態による静電誘導型発電装置の振動基板の上面図である。 本発明の第2実施形態による静電誘導型発電装置の振動電極部の端部を拡大した図である。 本発明の第3実施形態による静電誘導型発電装置の断面図である。 本発明の第3実施形態による静電誘導型発電装置の振動基板の上面図である。 本発明の第4実施形態による静電誘導型発電装置の断面図である。 本発明の第5実施形態による静電誘導型発電装置のブロック図である。
符号の説明
21、122 一方コレクタ電極(第1の電極)
22、123 他方コレクタ電極(第1の電極)
23、125 上部接触電極(第2の電極)
24、126 ストッパ(接触抑制部材)
13 一方下部接触電極(第3の電極)
14 他方下部接触電極(第3の電極)
31、111、133、141 一方振動電極部(振動電極)
32、112、134、142 他方振動電極部(振動電極)
101 一方コレクタ電極(第4の電極)
102 他方コレクタ電極(第4の電極)
103 下部接触電極(第5の電極)

Claims (5)

  1. 互いに所定の間隔を隔てて形成され、互いに異なる電荷を蓄積する一対の第1の電極と、
    前記第1の電極と所定の距離を隔てて対向するように設けられ、第1の方向と、前記第1の方向とは異なる第2の方向とに振動可能で、前記第1の電極に蓄積された電荷により逆の電荷を帯びる一対の振動電極と、
    前記第1の電極から所定の間隔を隔てて前記一対の振動電極に対向するように設けられ、前記一対の振動電極が所定の位置にある場合に、前記一対の振動電極を互いに電気的に接続するための第2の電極とを備えた、静電誘導型発電装置。
  2. 前記一対の振動電極に対向するように設けられ、前記一対の振動電極が前記第2の方向に振動する際に接触するとともに、前記一対の第1の電極とそれぞれ電気的に接続される一対の第3の電極をさらに備える、請求項1に記載の静電誘導型発電装置。
  3. 前記振動電極は、前記第1の方向への振動によって電荷を帯びるとともに、前記第2の方向への振動によって前記第3の電極に接続することにより前記電荷が前記第3の電極に運ばれる、請求項2に記載の静電誘導型発電装置。
  4. 前記第1の電極の前記振動電極の対向する表面上には、前記振動電極が前記第1の電極に電気的に接続するのを抑制するための接触抑制部材が設けられている、請求項1〜3のいずれか1項に記載の静電誘導型発電装置。
  5. 前記振動電極の前記第1の電極が設けられる側とは反対側に、前記振動電極と所定の距離を隔てて対向するように設けられるとともに、互いに所定の間隔を隔てて形成され、互いに異なる電荷を蓄積する一対の第4の電極と、
    前記一対の第4の電極から所定の間隔を隔てて前記一対の振動電極に対向するように設けられ、前記一対の振動電極が所定の位置にある場合に、前記一対の振動電極を互いに電気的に接続するための第5の電極とをさらに備えた、請求項1に記載の静電誘導型発電装置。
JP2007159475A 2006-07-14 2007-06-15 静電誘導型発電装置 Expired - Fee Related JP4558007B2 (ja)

Priority Applications (2)

Application Number Priority Date Filing Date Title
JP2007159475A JP4558007B2 (ja) 2006-07-14 2007-06-15 静電誘導型発電装置
US11/777,668 US7851967B2 (en) 2006-07-14 2007-07-13 Electrostatic induction generator

Applications Claiming Priority (2)

Application Number Priority Date Filing Date Title
JP2006194473 2006-07-14
JP2007159475A JP4558007B2 (ja) 2006-07-14 2007-06-15 静電誘導型発電装置

Publications (2)

Publication Number Publication Date
JP2008043187A JP2008043187A (ja) 2008-02-21
JP4558007B2 true JP4558007B2 (ja) 2010-10-06

Family

ID=38948528

Family Applications (1)

Application Number Title Priority Date Filing Date
JP2007159475A Expired - Fee Related JP4558007B2 (ja) 2006-07-14 2007-06-15 静電誘導型発電装置

Country Status (2)

Country Link
US (1) US7851967B2 (ja)
JP (1) JP4558007B2 (ja)

Families Citing this family (13)

* Cited by examiner, † Cited by third party
Publication number Priority date Publication date Assignee Title
JP4558007B2 (ja) * 2006-07-14 2010-10-06 三洋電機株式会社 静電誘導型発電装置
JP2009081966A (ja) * 2007-09-27 2009-04-16 Sanyo Electric Co Ltd 電子機器
JP2009112069A (ja) * 2007-10-26 2009-05-21 Sanyo Electric Co Ltd 電子機器
CN101946295B (zh) * 2008-02-22 2012-11-28 旭硝子株式会社 驻极体及静电感应型转换元件
WO2009123022A1 (ja) * 2008-03-31 2009-10-08 旭硝子株式会社 加速度センサ装置及びセンサネットワークシステム
JP5205193B2 (ja) * 2008-09-25 2013-06-05 三洋電機株式会社 静電誘導型発電装置
CN101834545B (zh) * 2009-03-10 2012-08-08 冯连阶 三相震动式陶瓷发电机
JP5633055B2 (ja) * 2009-11-27 2014-12-03 学校法人東北学院 昇圧装置
US20120126756A1 (en) * 2010-11-19 2012-05-24 Vranish John M Charge-driven electrostatic inductance
JP5831970B2 (ja) * 2011-09-07 2015-12-16 セイコーインスツル株式会社 発電装置、電気機器および携帯型時計
US9184676B2 (en) 2011-10-31 2015-11-10 Wisconsin Alumni Research Foundation Varying capacitance rotating electrical machine
US9479085B1 (en) 2012-09-15 2016-10-25 C-Motive Technologies Inc. Self-conforming plates for capacitive machines such as electrostatic motors and generators
JP5969427B2 (ja) * 2013-05-28 2016-08-17 日本電信電話株式会社 静電変換装置およびその製造方法

Family Cites Families (12)

* Cited by examiner, † Cited by third party
Publication number Priority date Publication date Assignee Title
US2588513A (en) * 1949-06-10 1952-03-11 Rca Corp Electrostatic high-voltage generator
US2567373A (en) * 1949-06-10 1951-09-11 Rca Corp Electrostatic generator
US3405334A (en) * 1967-03-06 1968-10-08 Homer H. Jewett Electrostatic power generator driven by pneumatic power means
US4127804A (en) * 1976-05-24 1978-11-28 The United States Of America As Represented By The Secretary Of The Air Force Electrostatic energy conversion system
JPS6181790U (ja) * 1984-11-02 1986-05-30
FR2585899A1 (fr) * 1985-07-31 1987-02-06 Centre Nat Rech Scient Dispositif de transport de charges electrostatiques, en particulier pour generateur electrostatique a tres haute tension.
JPH1198868A (ja) * 1997-09-12 1999-04-09 Terumo Corp 静電型発電装置
EP1512216A2 (en) 2002-06-07 2005-03-09 California Institute Of Technology Electret generator apparatus and method
US7449811B2 (en) * 2004-11-26 2008-11-11 The University Of Tokyo Electrostatic induction conversion device
JP4558007B2 (ja) * 2006-07-14 2010-10-06 三洋電機株式会社 静電誘導型発電装置
US7525205B2 (en) * 2006-07-28 2009-04-28 Sanyo Electric Co., Ltd. Electric power generator
US7956497B2 (en) * 2006-09-29 2011-06-07 Sanyo Electric Co., Ltd. Electret device and electrostatic induction conversion apparatus comprising the same

Also Published As

Publication number Publication date
JP2008043187A (ja) 2008-02-21
US7851967B2 (en) 2010-12-14
US20080012343A1 (en) 2008-01-17

Similar Documents

Publication Publication Date Title
JP4558007B2 (ja) 静電誘導型発電装置
JP5460872B2 (ja) 微小電気機械発電器およびそれを用いた電気機器
JP5237705B2 (ja) 発電デバイス
WO2011106266A1 (en) High-efficiency mems micro-vibrational energy harvester and process for manufacturing same
JP4390796B2 (ja) エレクトレット素子および静電動作装置
JP6338070B2 (ja) 振動発電デバイス
CN109478876A (zh) 谐振器和谐振装置
CN110050409B (zh) 振动发电装置
JP2013172523A (ja) 振動発電素子およびそれを用いた振動発電装置
JP6985702B2 (ja) 振動発電装置および振動発電素子
CN113302834B (zh) 振动发电元件
JP2011024278A (ja) 振動発電素子の製造方法および振動発電素子
JP7767898B2 (ja) 振動デバイスの製造方法および振動デバイス
JP7767899B2 (ja) 振動デバイスの製造方法
KR101308908B1 (ko) 미세 압전 진동자로 구성되는 발전 소자를 이용한 적층형 에너지 하베스팅 장치 및 발전 소자의 제조 방법
JP5307955B1 (ja) 微小電気機械発電器およびそれを用いた電気機器
JP2019033631A (ja) Mems振動素子、mems振動素子の製造方法および振動発電素子
CN111049416B (zh) 振动发电元件
JP2025038607A (ja) 振動発電デバイスの製造方法
JP2010145122A (ja) 圧電振動子および振動ジャイロ装置
JP2025038608A (ja) 振動発電デバイスの製造方法
JP3801182B2 (ja) 静電振動型デバイス
JP2024017551A (ja) 振動デバイス
CN121124763A (zh) 一种压电驱动硅基mems谐振器
JP2012109772A (ja) Mems共振器

Legal Events

Date Code Title Description
A977 Report on retrieval

Free format text: JAPANESE INTERMEDIATE CODE: A971007

Effective date: 20100420

A131 Notification of reasons for refusal

Free format text: JAPANESE INTERMEDIATE CODE: A131

Effective date: 20100427

A521 Request for written amendment filed

Free format text: JAPANESE INTERMEDIATE CODE: A523

Effective date: 20100528

TRDD Decision of grant or rejection written
A01 Written decision to grant a patent or to grant a registration (utility model)

Free format text: JAPANESE INTERMEDIATE CODE: A01

Effective date: 20100622

A01 Written decision to grant a patent or to grant a registration (utility model)

Free format text: JAPANESE INTERMEDIATE CODE: A01

A61 First payment of annual fees (during grant procedure)

Free format text: JAPANESE INTERMEDIATE CODE: A61

Effective date: 20100720

FPAY Renewal fee payment (event date is renewal date of database)

Free format text: PAYMENT UNTIL: 20130730

Year of fee payment: 3

LAPS Cancellation because of no payment of annual fees