JP4551663B2 - 杭頭接合部の構造及びその施工方法 - Google Patents

杭頭接合部の構造及びその施工方法 Download PDF

Info

Publication number
JP4551663B2
JP4551663B2 JP2004014181A JP2004014181A JP4551663B2 JP 4551663 B2 JP4551663 B2 JP 4551663B2 JP 2004014181 A JP2004014181 A JP 2004014181A JP 2004014181 A JP2004014181 A JP 2004014181A JP 4551663 B2 JP4551663 B2 JP 4551663B2
Authority
JP
Japan
Prior art keywords
pile
pile head
prefabricated
plate
hole
Prior art date
Legal status (The legal status is an assumption and is not a legal conclusion. Google has not performed a legal analysis and makes no representation as to the accuracy of the status listed.)
Expired - Lifetime
Application number
JP2004014181A
Other languages
English (en)
Other versions
JP2005207096A (ja
Inventor
山根隆志
稲冨芳寿
小川潤一郎
籠田彰
Current Assignee (The listed assignees may be inaccurate. Google has not performed a legal analysis and makes no representation or warranty as to the accuracy of the list.)
IHI Infrastructure Systems Co Ltd
Kyokuto Kowa Corp
Original Assignee
IHI Infrastructure Systems Co Ltd
Kyokuto Kowa Corp
Priority date (The priority date is an assumption and is not a legal conclusion. Google has not performed a legal analysis and makes no representation as to the accuracy of the date listed.)
Filing date
Publication date
Application filed by IHI Infrastructure Systems Co Ltd, Kyokuto Kowa Corp filed Critical IHI Infrastructure Systems Co Ltd
Priority to JP2004014181A priority Critical patent/JP4551663B2/ja
Publication of JP2005207096A publication Critical patent/JP2005207096A/ja
Application granted granted Critical
Publication of JP4551663B2 publication Critical patent/JP4551663B2/ja
Anticipated expiration legal-status Critical
Expired - Lifetime legal-status Critical Current

Links

Images

Landscapes

  • Foundations (AREA)

Description

本発明は、杭頭と上部構造物とを接合する杭頭接合部の構造及びその施工方法に関するものである。
杭と上部構造物を接合する場合は、杭頭を上部構造物内に杭径程度埋め込んで接合する方法や10cm程度埋め込んで接合する方法など多様である。一般に、杭と上部構造物の接合部を剛結合構造とする場合には、杭径程度の埋め込みと補強鉄筋などによる補強の併用がなされる。剛結合構造を採用する場合は、上部構造物の地震時水平変位に杭が追随して変位することにより杭頭部に曲げモーメントが発生し、かかる曲げモーメント及び水平力に抗し得る杭耐力が要求される。一方、杭と上部構造物の接合部をピン結合構造とする場合は、上部構造物の地震時変位に杭は追随することなく、すなわち杭頭部は回転することによりかかる杭頭部に曲げモーメントは発生せず、杭頭部よりも下方に曲げモーメント(剛結合構造に比して一般的に小さな曲げモーメント)が発生する。ピン結合構造の場合は、杭に生じる曲げモーメント等が剛結合構造に比べて小さくなるものの、上部構造物の水平変位の拘束力が低下するためにかかる水平変位が大きなものとなり得る。
ここで、上部構造物とは、橋脚や建屋等の構造物全体の他に、かかる構造物を支持する底版やフーチングなどをも示すものである。
ところで、杭と底版との接合に際しては、杭を施工後、かかる底版を現場打ちコンクリートにて施工し両者を一体化するのが一般的である。
ここで、上部構造物として橋脚を施工する場合、該橋脚が鋼製橋脚であれば、予めアンカーフレームを埋め込んだ状態で底版を現場施工し、かかるアンカーフレームと鋼製橋脚をボルト接合するとともに橋脚下部(根元)は根巻きコンクリートなどで補強等することにより施工されている。
一方、橋脚が鉄筋コンクリート橋脚の場合は、現場にて底版を構築し、かかる底版上に突出させた橋脚用柱筋に更に柱筋を継ぎ足しながら現場打ちにて橋脚の施工がおこなわれている。
前記した従来の杭頭接合部の構造及びその施工方法にあっては、次のような問題点がある。
<1>杭施工後、現場にて底版やフーチングなどの鉄筋、型枠の組み立て、コンクリート打設、養生をおこなった後にその上部工の施工をおこなうこととなり、工期の短縮が困難である。
<2>底版やフーチングなどをプレハブ化した場合に、複数の杭夫々の平面配置及び高さ方向の施工誤差をかかるプレハブ部材が吸収しきれないため、工期が長期化し得る現場打ち施工を余儀なくされていた。
上記のような問題を解決するために、本発明の杭頭接合部の構造は、杭頭と上部構造物とを接合する杭頭接合部の構造において、杭が貫通可能な貫通孔を備えた、上部構造物を支持するプレハブ版又はプレハブ桁と、外周をネジ溝状に成形した杭頭と、杭を前記貫通孔に貫通させた際に前記プレハブ版又は前記プレハブ桁が係止可能であり、前記杭頭に螺合可能に成形して杭が貫通可能な貫通孔を備えた係止具と、前記プレハブ版又は前記プレハブ桁から突出した前記杭頭の上部に備えて該杭頭と該プレハブ版又は該プレハブ桁を固定可能であり、前記杭頭に螺合可能に成形して杭が貫通可能な貫通孔を備えた固定具と、からなることを特徴とする、杭頭接合部の構造である。
また、本発明の杭頭接合部の構造は、前記杭頭接合部の構造において、前記プレハブ版又は前記プレハブ桁に斜杭を接合する際に、前記係止具の上面及び前記固定具の下面に杭が貫通可能な貫通孔を備えたテーパープレートを夫々備えたことを特徴とする、杭頭接合部の構造である。
また、本発明の杭頭接合部の構造は、前記杭頭接合部の構造において、前記プレハブ版又は前記プレハブ桁に備えた前記貫通孔と杭頭の間を充填材で一体化したことを特徴とする、杭頭接合部の構造である。
さらに、本発明の杭頭接合部の構造の施工方法は、杭頭接合部の構造を施工する施工方法であって、既施工の杭に前記係止具を設置し、前記プレハブ版又は前記プレハブ桁の前記貫通孔を杭に貫通設置し、前記プレハブ版又は前記プレハブ桁から突出した前記杭頭の上部に固定具を設置し、前記貫通孔と前記杭頭の間に前記充填材を充填して、杭と前記プレハブ版又は前記プレハブ桁を一体化することを特徴とする、杭頭接合部の構造の施工方法である。
また、本発明の杭頭接合部の構造の施工方法は、杭頭接合部の構造を施工する施工方法であって、所要本数のうちの一部である既施工の前施工杭に、前記係止具を設置し、前記プレハブ版又は前記プレハブ桁の前記貫通孔を前記前施工杭に貫通設置し、前記プレハブ版又は前記プレハブ桁から突出した前記前施工杭の杭頭の上部に前記固定具を設置し、前記貫通孔と前記杭頭の間に前記充填材を充填し、所要本数のうちの残りの後施工杭と上部構造物との施工を並行しておこない、前記プレハブ版又は前記プレハブ桁及び前記前施工杭の前記杭頭と、前記後施工杭の杭頭をコンクリートにて一体化することを特徴とする、杭頭接合部の構造の施工方法である。
本発明の杭頭接合部の構造及びその施工方法は、上記した課題を解決するための手段により、次のような効果の少なくとも一つを得ることができる。
<1>プレハブ化した底版やフーチングと杭を接合するため、工期の大幅な短縮が可能となる。
<2>杭頭部に備えた係止具のレベルを調整可能とすることで複数の杭の高さ方向の誤差を吸収(調整)可能とし、プレハブ部材に備えた貫通孔の孔径または孔の大きさに施工誤差を考慮した余裕をもたせて複数の杭の平面的な誤差を吸収(調整)可能とすることで、底版やフーチングをプレハブ化する場合の杭施工誤差の問題を解消することができる。
<3>プレハブ版又はプレハブ桁を係止具及び固定具で締め付け固定することで杭と底版又はフーチングを容易かつ強固に一体化することができる。この場合、杭頭と係止具及び固定具の貫通孔が螺合可能となるようにネジ溝状に成形するのがよい。さらに、底版又はフーチングの貫通孔と杭との間に充填材を充填固化させることで、より一層強固な接合構造を形成することができる。
<1>杭頭接合部
杭頭接合部1は、上部構造物(底版やフーチングなど)と杭3の杭頭31の接合部のことである。本発明では、特に底版やフーチングとして後述するプレハブ版21やプレハブ桁などの工場製作された版と杭頭31との接合部を対象とするものである。以下、上部構造物としてプレハブ版21を例に杭頭接合部1の構造を説明する。
杭頭接合部1の構造は、杭3(杭頭31)が貫通可能な貫通孔23を備えたプレハブ版21と、該貫通孔23に貫通させた杭頭31、杭頭31に設けてプレハブ版21を係止させる係止具4と、プレハブ版21から突出した杭頭31の上部を固定する固定具5とから構成される(図1参照)。ここで、固定具5による固定とは、係止具4と固定具5によってプレハブ版21を上下から挟み込んで締め付けながら固定することである。
プレハブ版21と杭3の結合をより強固にするために、プレハブ版21に備えた貫通孔23と杭頭31の間に充填材7を充填固化させるのが好ましい。ここで、充填材7としては、セメントグラウト材や無収縮グラウト材、膨張性高強度グラウト材、樹脂系グラウト材などを使用することができる。
本発明における杭3としては、鋼管杭やPHC杭などの既製杭のほか、マイクロパイルなどの小口径杭などを使用するのがよい。工事工程の短縮を本発明の目的の一つとしているため、かかる杭3を使用することでより工程の短縮を図ることが可能となるからである。
ここで、マイクロパイルとは、30cm以下の小口径の場所打ち杭や埋め込み杭をいう。マイクロパイルを構築するマイクロパイル工法は、ボーリングマシンによって地盤を削孔しながら鋼管(ケーシング)を支持地盤まで貫入させ、鋼管内に補強用ネジ鉄筋などを挿入した後、セメントミルクやモルタルなどのグラウト材を充填することでマイクロパイルを構築する工法である。
また、杭頭31をネジ溝状に成形して製作し、係止具4に備えた貫通孔及び固定具5に備えた貫通孔の各内空面も杭頭31と螺合可能にネジ溝状に成形することもできる(図1参照)。
杭3は直杭のほか、直杭と斜杭の組合せなどがあり、各設計仕様に応じた杭頭接合部1の構造を選定できる。
斜杭とプレハブ版21を接合する場合は、後述するテーパープレート6を係止具4の上面及び固定具5の下面とプレハブ版21との間に楔のように備えて斜杭の傾斜に適合させるのがよい(図2参照)。
<2>プレハブ版及びプレハブ桁
プレハブ版21やプレハブ桁は、上部構造物である橋脚(柱体)や壁体などを支持する版(底版など)やフーチング、桁(格子桁など)などをプレハブ化したものである。
プレハブ版21の形状は、平面視が矩形、正方形、円形など設計仕様に応じて多様に選定でき、また、その材質はコンクリート製材料や鋼製材料などが考えられる。
プレハブ版21は、複数の杭3が貫通可能な貫通孔23を備えて製作する。ここで、貫通孔23の孔径または孔の断面寸法(孔の延伸方向に垂直な断面寸法)は、杭の施工誤差を勘案して、使用する杭の杭径よりも所定の余裕幅をもって決定するのが好ましい。杭3と貫通孔23の内空面に間隙があっても、充填材7を充填固化させることによってかかる隙間を密実にでき、杭3とプレハブ版21との結合力を確保することができる。
<3>係止具及び固定具
係止具4は、平面板材からなりその中央に杭3が貫通可能な貫通孔を備えた係止プレート41と、係止プレート41の片面に取り付けて杭が貫通可能な筒体43、及び係止プレート41と筒体43側面に取り付けて係止プレート41のうち筒体43の外径から張り出した部分を支持する支持プレート42とから構成できる(図1参照)。使用する杭3の杭頭31がネジ溝状に成形されている場合は、筒体43の内空面も杭3と螺合可能にネジ溝状に成形するのがよい。
固定具5は、係止具4とその構成は同じであり、プレハブ版21から突出した杭頭31の上部に平らな係止プレートを下方にして杭頭31に設置するものである。
杭頭31に設置した係止具4及び固定具5でプレハブ版21を挟むように締め付けて杭3(杭頭31)とプレハブ版21を一体化する。
係止具4及び固定具5は、例えば鋼製材料にて製作することができる。
上記するように、ネジ溝状に製作した杭頭31に適合するように筒体43の内空面もネジ溝状に製作した場合、複数の杭3の打設誤差(高さ方向)等が生じても、係止具4のレベルを杭頭部3で調整することにより、すべての係止具4の支持プレート41上面のレベルを容易に一定にすることができる。また、杭頭31及び筒体43の内空面を互いに螺合可能にネジ溝状に成形することで、杭頭31と係止具4及び固定具5との取り付け強度が向上するとともに締め付け施工等も容易となる。
なお、図1に示すように、係止具4の下方、固定具5の上方には係止具4や固定具5のネジ回りによる締め付け力の低下を防止すべく、カプラー8を備えることもできる。図1では、筒体43とほぼ同外径のカプラー8を使用している実施例を示している。
<4>テーパープレート
プレハブ版21と斜杭を接合する場合、係止具4の係止プレート41の上面とプレハブ版21の底面、及び固定具5の係止プレートの下面とプレハブ版21の上面との間には、斜杭の傾斜角だけ隙間が生じ得る。そこで、かかる隙間を埋めるために、例えば傾斜角分のテーパーを備えたプレート状のテーパープレート6を使用するのがよい(図2参照)。
テーパープレート6は、その中央(中央付近)に杭3が貫通可能な貫通孔を備えて成形される。
テーパープレート6は、係止具4や固定具5と同材質(例えば鋼製材料)にて製作することもできるし、ゴム製材料にて製作することもできる。ゴム製材料等、伸縮性のある材料にて製作する場合は、予め伸縮性能に応じてテーパー角度を杭の傾斜角よりも大きく設計しておくのが好ましい。
以下、図3〜図6を参照して、本発明の杭頭接合部の構造の施工方法について説明する。
まず、杭3として例えば杭頭31をネジ溝状に成形した複数のマイクロパイルを施工する。
次に、杭頭31にカプラー8を螺合するとともに係止具4も螺合させる(図3参照)。
ここで、各杭3の高さレベルに誤差がある場合は、カプラー8や係止具4のレベルを調整しながら杭頭31と螺合させ、少なくとも係止具4の係止プレート41の上面レベルが各杭3でほぼ同一レベルとなるように調整する。
次に、プレハブ版21を図4のように吊り下ろし(又はジャッキダウンさせ)、各杭3を貫通孔23に貫通させながらプレハブ版21を複数の係止具4上に係止させる。
プレハブ版21を各係止具4上に係止させた後、プレハブ版21の上面から突出した杭頭31に固定具5及びカプラー8を螺合させる(図5参照)。ここで、固定具8を強固に締め付けて、杭3とプレハブ版21の接合部の接合強度を確保するのがよい。
固定具5を締め付けた後、杭頭31と貫通孔23の内空面との間の間隙に充填材7を充填する。ここで、充填材7の充填は、例えばプレハブ版21の上面から上記内空面に備えた充填口に連通する充填パイプを介して充填することができる(図示せず)。
かかる充填材7が固化することにより、杭3(杭頭31)とプレハブ版21がより強固に一体化される。
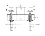
図7及び図8に、本発明の杭頭接合部の構造を備えた橋脚の実施例を示す。図7は、すべての杭3(直杭、斜杭のすべて)の数だけの貫通孔23を備えたプレハブ版21を各杭頭31に設置した実施例である。なお、本実施例では、プレハブ版21及び橋脚の根元を根巻きコンクリート9にて被覆している。
一方、図8は、施工する杭3の一部とプレハブ版21を連結した構造の実施例を示している。かかる構造を使用する利点は、上部構造物を支持し得る必要最小限の杭3を施工後、プレハブ版21を既施工の杭3と連結させ、その他の杭3の施工と上部構造物の付帯工事などを並行させることにより、全体工程の短縮を図ることができる点である。
この場合、プレハブ版21及びプレハブ版21と直接連結していない杭3とは所要の配筋を備えた根巻きコンクリート9(又は本設底版)にて一体化させるのがよい。
直杭の場合の杭頭接合部の構造を示した断面図。 斜杭の場合の杭頭接合部の構造を示した断面図。 杭頭接合部の構造の施工方法を示した施工フロー図。 図3につづく施工フロー図。 図4につづく施工フロー図。 図5につづく施工フロー図。 杭頭接合部の構造の実施例を示した全体断面図。 杭頭接合部の構造の実施例を示した全体断面図。
符号の説明
1・・・・杭頭接合部
21・・・プレハブ版
23・・・貫通孔
3・・・・杭
31・・・杭頭
4・・・・係止具
5・・・・固定具
6・・・・テーパープレート
7・・・・充填材

Claims (5)

  1. 杭頭と上部構造物とを接合する杭頭接合部の構造において、
    杭が貫通可能な貫通孔を備えた、上部構造物を支持するプレハブ版又はプレハブ桁と、
    外周をネジ溝状に成形した杭頭と、
    杭を前記貫通孔に貫通させた際に前記プレハブ版又は前記プレハブ桁が係止可能であり、前記杭頭に螺合可能に成形して杭が貫通可能な貫通孔を備えた係止具と、
    前記プレハブ版又は前記プレハブ桁から突出した前記杭頭の上部に備えて該杭頭と該プレハブ版又は該プレハブ桁を固定可能であり、前記杭頭に螺合可能に成形して杭が貫通可能な貫通孔を備えた固定具と、からなることを特徴とする、
    杭頭接合部の構造。
  2. 請求項1に記載の杭頭接合部の構造において、
    前記プレハブ版又は前記プレハブ桁に斜杭を接合する際に、前記係止具の上面及び前記固定具の下面に斜杭が貫通可能な貫通孔を備えたテーパープレートを夫々備えたことを特徴とする、
    杭頭接合部の構造。
  3. 請求項1又は請求項2に記載の杭頭接合部の構造において、
    前記プレハブ版又は前記プレハブ桁に備えた前記貫通孔と杭頭の間を充填材で一体化したことを特徴とする、
    杭頭接合部の構造。
  4. 請求項3記載の杭頭接合部の構造を施工する施工方法であって、
    既施工の杭に、前記係止具を設置し、
    前記プレハブ版又は前記プレハブ桁の前記貫通孔を杭に貫通設置し、
    前記プレハブ版又は前記プレハブ桁から突出した前記杭頭の上部に固定具を設置し、
    前記貫通孔と前記杭頭の間に前記充填材を充填して、杭と前記プレハブ版又は前記プレハブ桁を一体化することを特徴とする、
    杭頭接合部の構造の施工方法。
  5. 請求項3記載の杭頭接合部の構造を施工する施工方法であって、
    所要本数のうちの一部である既施工の前施工杭に、前記係止具を設置し、
    前記プレハブ版又は前記プレハブ桁の前記貫通孔を前記前施工杭に貫通設置し、
    前記プレハブ版又は前記プレハブ桁から突出した前記前施工杭の杭頭の上部に前記固定具を設置し、
    前記貫通孔と前記杭頭の間に前記充填材を充填し
    所要本数のうちの残りの後施工杭と上部構造物との施工を並行しておこない、
    前記プレハブ版又は前記プレハブ桁及び前記前施工杭の前記杭頭と、前記後施工杭の杭頭をコンクリートにて一体化することを特徴とする、
    杭頭接合部の構造の施工方法。
JP2004014181A 2004-01-22 2004-01-22 杭頭接合部の構造及びその施工方法 Expired - Lifetime JP4551663B2 (ja)

Priority Applications (1)

Application Number Priority Date Filing Date Title
JP2004014181A JP4551663B2 (ja) 2004-01-22 2004-01-22 杭頭接合部の構造及びその施工方法

Applications Claiming Priority (1)

Application Number Priority Date Filing Date Title
JP2004014181A JP4551663B2 (ja) 2004-01-22 2004-01-22 杭頭接合部の構造及びその施工方法

Publications (2)

Publication Number Publication Date
JP2005207096A JP2005207096A (ja) 2005-08-04
JP4551663B2 true JP4551663B2 (ja) 2010-09-29

Family

ID=34900046

Family Applications (1)

Application Number Title Priority Date Filing Date
JP2004014181A Expired - Lifetime JP4551663B2 (ja) 2004-01-22 2004-01-22 杭頭接合部の構造及びその施工方法

Country Status (1)

Country Link
JP (1) JP4551663B2 (ja)

Families Citing this family (3)

* Cited by examiner, † Cited by third party
Publication number Priority date Publication date Assignee Title
JP5467983B2 (ja) * 2009-10-02 2014-04-09 新日鉄住金エンジニアリング株式会社 杭頭接合構造
JP5956214B2 (ja) * 2012-03-28 2016-07-27 日鐵住金建材株式会社 太陽電池モジュールを支持する架台の基礎構造
CN113618875B (zh) * 2021-09-14 2022-07-08 连云港市连大管桩工程有限公司 带有加强型连接结构的预制混凝土方桩及其生产方法

Family Cites Families (7)

* Cited by examiner, † Cited by third party
Publication number Priority date Publication date Assignee Title
JPS52154208A (en) * 1976-06-18 1977-12-21 Shinkouzou Gijiyutsu Kk Preecast concrete construction
JPS62169022U (ja) * 1986-04-15 1987-10-27
JPH0414525A (ja) * 1990-05-07 1992-01-20 Shigeaki Sugiyama 傘杭工法
JPH0446123U (ja) * 1990-08-13 1992-04-20
JP3270915B2 (ja) * 1994-03-07 2002-04-02 イビデングリーンテック株式会社 グランドアンカー用支圧板装置
JPH08100432A (ja) * 1994-09-30 1996-04-16 Giken Seisakusho Co Ltd フーチング装置
JPH08109641A (ja) * 1994-10-12 1996-04-30 Shimizu Corp 鋼製柱脚の基礎杭への定着方法

Also Published As

Publication number Publication date
JP2005207096A (ja) 2005-08-04

Similar Documents

Publication Publication Date Title
CN101939492B (zh) 预浇制临时设施结构及其建造方法
KR20110058359A (ko) 매입형 베이스 플레이트와 철골기둥의 이음 방법
JP7103962B2 (ja) 土留め構造及び土留め方法
KR101870309B1 (ko) 내진보강용 철골 접합구조 및 이를 이용한 내진공법
JP4693299B2 (ja) 柱脚連結構造
KR20100099495A (ko) 격자형으로 설치된 강관파일과 결합설치된 중앙연결장치와 이를 이용한 조립식슬래브교 시공방법
KR101908356B1 (ko) 내진보강용 이중 철골프레임 및 이를 이용한 내진공법
KR20180128245A (ko) 임시교량을 사용한 교량 및 이의 시공방법
JP2006104747A (ja) 脚柱の接合部構造および接合方法
JP7339865B2 (ja) 壁パネルの建て込み方法
JP5456627B2 (ja) 杭と鉄骨柱との接合構造および接合方法
JP4551663B2 (ja) 杭頭接合部の構造及びその施工方法
JP3671344B2 (ja) 基礎杭と柱脚部との接合構造およびその構築方法
JP2009185487A (ja) 浄化槽基礎構造体及びその構築法
US8627623B2 (en) Modular foundation system and method
JP2004011203A (ja) プレキャストsrc柱接合部構造
JP2004263507A (ja) 建物の基礎工法及び建築用基礎構造物
CN216765554U (zh) 桥塔与承台的连接构造
KR20200123654A (ko) Cft기둥과 pc보의 모멘트 접합 구조
JP3851563B2 (ja) 架構補強構造及びその施工方法
JPH02164930A (ja) 建築物の基礎構造
JP2002115324A (ja) 柱脚ユニット並びにこの柱脚ユニットを用いた柱一体型柱脚固定基礎構造並びにその施工方法。
JP2003020658A (ja) 構造体
KR102630179B1 (ko) 모듈러 건축용 조인트 부재 및 이를 이용한 시공 방법
JP6476483B2 (ja) 盛土用抵抗体と盛土構造物の構築方法

Legal Events

Date Code Title Description
A621 Written request for application examination

Free format text: JAPANESE INTERMEDIATE CODE: A621

Effective date: 20060801

A977 Report on retrieval

Free format text: JAPANESE INTERMEDIATE CODE: A971007

Effective date: 20081017

A131 Notification of reasons for refusal

Free format text: JAPANESE INTERMEDIATE CODE: A131

Effective date: 20081028

A521 Request for written amendment filed

Free format text: JAPANESE INTERMEDIATE CODE: A523

Effective date: 20081225

A711 Notification of change in applicant

Free format text: JAPANESE INTERMEDIATE CODE: A712

Effective date: 20091218

A131 Notification of reasons for refusal

Free format text: JAPANESE INTERMEDIATE CODE: A131

Effective date: 20100316

A521 Request for written amendment filed

Free format text: JAPANESE INTERMEDIATE CODE: A523

Effective date: 20100428

A521 Request for written amendment filed

Free format text: JAPANESE INTERMEDIATE CODE: A523

Effective date: 20100528

RD02 Notification of acceptance of power of attorney

Free format text: JAPANESE INTERMEDIATE CODE: A7422

Effective date: 20100528

TRDD Decision of grant or rejection written
A01 Written decision to grant a patent or to grant a registration (utility model)

Free format text: JAPANESE INTERMEDIATE CODE: A01

Effective date: 20100629

A01 Written decision to grant a patent or to grant a registration (utility model)

Free format text: JAPANESE INTERMEDIATE CODE: A01

A61 First payment of annual fees (during grant procedure)

Free format text: JAPANESE INTERMEDIATE CODE: A61

Effective date: 20100712

R150 Certificate of patent or registration of utility model

Ref document number: 4551663

Country of ref document: JP

Free format text: JAPANESE INTERMEDIATE CODE: R150

Free format text: JAPANESE INTERMEDIATE CODE: R150

FPAY Renewal fee payment (event date is renewal date of database)

Free format text: PAYMENT UNTIL: 20130716

Year of fee payment: 3

R250 Receipt of annual fees

Free format text: JAPANESE INTERMEDIATE CODE: R250

R250 Receipt of annual fees

Free format text: JAPANESE INTERMEDIATE CODE: R250

R250 Receipt of annual fees

Free format text: JAPANESE INTERMEDIATE CODE: R250

R250 Receipt of annual fees

Free format text: JAPANESE INTERMEDIATE CODE: R250

R250 Receipt of annual fees

Free format text: JAPANESE INTERMEDIATE CODE: R250

R250 Receipt of annual fees

Free format text: JAPANESE INTERMEDIATE CODE: R250

R250 Receipt of annual fees

Free format text: JAPANESE INTERMEDIATE CODE: R250

R250 Receipt of annual fees

Free format text: JAPANESE INTERMEDIATE CODE: R250

R250 Receipt of annual fees

Free format text: JAPANESE INTERMEDIATE CODE: R250

R250 Receipt of annual fees

Free format text: JAPANESE INTERMEDIATE CODE: R250

R250 Receipt of annual fees

Free format text: JAPANESE INTERMEDIATE CODE: R250

EXPY Cancellation because of completion of term