JP4508552B2 - 歯車 - Google Patents

歯車 Download PDF

Info

Publication number
JP4508552B2
JP4508552B2 JP2003142893A JP2003142893A JP4508552B2 JP 4508552 B2 JP4508552 B2 JP 4508552B2 JP 2003142893 A JP2003142893 A JP 2003142893A JP 2003142893 A JP2003142893 A JP 2003142893A JP 4508552 B2 JP4508552 B2 JP 4508552B2
Authority
JP
Japan
Prior art keywords
tooth
gear
teeth
tooth row
groove
Prior art date
Legal status (The legal status is an assumption and is not a legal conclusion. Google has not performed a legal analysis and makes no representation as to the accuracy of the status listed.)
Expired - Fee Related
Application number
JP2003142893A
Other languages
English (en)
Other versions
JP2004346989A (ja
Inventor
英樹 千葉
貞助 武士俣
Original Assignee
株式会社チバダイス
Priority date (The priority date is an assumption and is not a legal conclusion. Google has not performed a legal analysis and makes no representation as to the accuracy of the date listed.)
Filing date
Publication date
Application filed by 株式会社チバダイス filed Critical 株式会社チバダイス
Priority to JP2003142893A priority Critical patent/JP4508552B2/ja
Publication of JP2004346989A publication Critical patent/JP2004346989A/ja
Application granted granted Critical
Publication of JP4508552B2 publication Critical patent/JP4508552B2/ja
Anticipated expiration legal-status Critical
Expired - Fee Related legal-status Critical Current

Links

Images

Landscapes

  • Gears, Cams (AREA)

Description

【0001】
【発明の属する技術分野】
本発明は、位相した複数の歯列を備えた歯車に係る技術分野に属する。
【0002】
【従来の技術】
最近、精密機器類の駆動伝達機構では、噛合い率を大きくし各歯に掛かる荷重を分散して耐久性を高めるために、位相した複数の歯列を備えた歯車が多用されるようになってきている。
【0003】
従来、位相した複数の歯列を備えた歯車としては、例えば、以下に記載のものが知られている。
【特許文献1】
特許第2710861号公報
特許文献1には、一体成形によって単一の歯車基板の外周面に円周ピッチが同一の歯列が複数形成され、各歯列が隣合う歯列に対して円周方向へ1/2ピッチずらされ、各歯列各歯の歯元部分が隣合う歯列の前後の歯元部分の一部に対して均等な交差面をもって一体化された歯車が記載されている。
【特許文献2】
特開平7−83313号公報
特許文献2には、各歯の歯元径を異ならせ、各歯の間に小さい歯元径歯底よりも小さな径の面を底とする環状の溝(隙間)が設けられた歯車が記載されている。
【0004】
特許文献1に係る歯車は、各歯交差面で歯元を補強することができるという利点を有している。特許文献2に係る歯車は、溝で各歯の互いの干渉を遮断して騒音を低減するとともに、溝を潤滑油の油溜として機能させることができる利点を有している。
【0005】
【発明が解決しようとする課題】
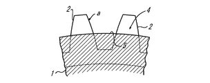
特許文献1では、前述の特許文献2に係る歯車の利点を得るために溝4を構成しようとすると、図12に示すように、溝4の底5がジクザクになってしまい、歯列a,bが溝4を介して離間する格好になってしまうにもかかわらず、各歯列a,bの歯2が狭小な交差面3のみで一体化されているため、歯元の補強機能が低下して、特に合成樹脂材で形成されている場合に噛合いの際に歯2が弾性で曲がる倒れ変形が生じやすくなるという問題点がある。
【0006】
本発明は、このような問題点を考慮してなされたもので、歯の倒れ変形を引起こすことなく歯列の間に溝を設けた歯車を提供することを課題とする。
【0007】
【課題を解決するための手段】
前述の課題を解決するため、本発明に係る歯車は、次のような手段を採用する。
【0008】
即ち、請求項1では、一体成形によって単一の歯車基板の外周面に円周ピッチが同一の歯列が複数形成され、各歯列が隣合う歯列に対して円周方向へ1/2ピッチずらされた歯車において、一の歯列と他の歯列とが離間して形成され、かつ歯列間にピッチ円径の外周面を有する均一幅の連結部が設けられていることを特徴とする。
【0009】
この手段では、特許文献1で予想された溝のジクザグの底を連続させることで、歯の交差面に溝の底の連続による容積拡張部分を追加して歯元の補強機能の低下を防止することができ、歯の倒れ変形を引起こすことなく歯列の間に溝を設けることができる。また、この手段では、歯の厚さを規定するピッチ円まで溝の深さが確保され歯車基板の中心から溝の底までが円板形となる。さらに、この手段では、歯車基板の軸方向へ2分割構造の金型の開閉方向を設定して成形することができ、多分割構造の金型を使用しなくても成形することが可能である。さらにまた、歯車基板の径方向へ開閉されるサイドプレート等からなる金型を使用しなくてすむため、溝を無用に摩擦,擦過することがなく、溝を精密に成形することができる。
【0010】
また、請求項2では、請求項1の歯車において、前記連結部に界面を有するように、前記一の歯列と前記他の歯列とが合成樹脂により二色成形されていることを特徴とする。
【0011】
この手段では、歯車基板が一方の歯列と他方の歯列とで非同一材質で形成でき、何等不都合なく請求項1の構成から生ずる作用,効果と同様の作用,効果が奏される。
【0012】
また、請求項3では、請求項1の歯車において、前記連結部に界面を有するように、前記一の歯列と前記他の歯列とが金属材のアモルファス結合で一体成形されていることを特徴とする。
【0013】
この手段では、歯車基板1が一方の歯列a側と他方の歯列b側とで同一金属材で形成でき、何等不都合なく請求項1の構成から生ずる作用,効果と同様の作用,効果が奏される。
【0014】
【発明の実施の形態】
以下、本発明に係る歯車の実施の形態を図1〜図11に基づいて説明する。
【0015】
図1〜図9は、本発明に係る歯車の実施の形態(1)を示すものである。
【0016】
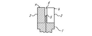
この実施の形態では、同一の歯幅Waの2列の歯列a,bを備えた平歯車からなるものを示してある。
【0017】
この実施の形態は、図1に示すように、中心に駆動軸,従動軸等を挿通可能な軸孔6が貫通形成された歯車基板1に構成されている。
【0018】
合成樹脂材等の一体成形によって形成された単一の歯車基板1の外周面には、円周ピッチが同一の歯列a,bが2列形成されている。そして、一方の歯列aは、図3に示すように、他方の歯列bに対して円周方向へ1/2ピッチhpずらされている。各歯列a,bの各歯2は、歯元部分が他方(一方)の歯列a,bの前後の歯2の歯元部分の一部に対してほぼ三角状の交差面3をもって一体化されている。
【0019】
さらに、歯車基板1の外周面には、両歯列a,bの中間から中心に向けて環状の溝4が設けられている。溝4の底5は、前述の交差面3の頂部Pを結ぶ円周面からなる面に連続されている。即ち、図2(図12との対比で)に示すように、歯2の間において溝4の底5を歯幅方向へ拡幅し、拡幅による容積拡張部分Qを交差面3に追加した格好になっている。この結果、歯車基板1は、中心から溝4の底5までが円板形(リング形)となっている。従って、全体では、円板を介して2つの位相した歯車が積層一体化されたような構造になっている。
【0020】
交差面3の頂部P(溝4の底5)については、歯2の厚さを規定することになるピッチ円R付近に位置させるのが好ましい。
【0021】
この実施の形態によると、特許文献2と同様に、溝4で歯列a,bの互いの干渉を遮断して騒音を低減するとともに、溝4を潤滑油の油溜として機能させることができる。
【0022】
さらに、この実施の形態によると、特許文献1で三角状であった交差面3に容積拡張部分Qが追加されて、両歯列a,bの一体性が強化されているため、歯列a,bが溝4を介して離間する格好になっても、歯元の補強機能が低下することがない。このため、噛合い(正逆両回転の)の際に歯2が倒れ変形することがない。特に、交差面3,容積拡張部分Qが歯車基板1の全周に連続し、歯2の歯幅Waが歯元側で溝4の幅分を追加した歯幅Wa’に拡大されていることも、両歯列a,bの一体性の強化に寄与する。また、溝4の底5が交差面3の頂部Pを結ぶ円周面からなる面に連続されて、溝4周りに無用の凹凸構造が形成されていないため、噛合いの際の荷重の応力が一部に集中するようなことはない。
【0023】
なお、溝4の底5が歯2の厚さを規定することになるピッチ円R付近に位置されているため、溝の底5が噛合いの障害になる等の不都合を生ずるおそれはない。
【0024】
さらに、この実施の形態によると、図8,図9に示すように、歯車基板1の軸方向へ2分割構造の金型10,20の開閉方向を設定して成形することができる。即ち、溝4の底が交差面3の頂部Pを結ぶ面に連続して、歯車基板1の軸方向にアンダカット部分が形成されないため、多分割構造の金型を使用しなくても成形することが可能である。また、歯車基板1の径方向へ開閉されるサイドプレート等(溝3の部分に侵入される)からなる金型を使用しなくてすむため、溝4を無用に摩擦,擦過することがなく、溝4を精密に成形することができる。
【0025】
図10は、本発明に係る歯車の実施の形態(2)を示すものである。
【0026】
この実施の形態では、一方の歯列aの歯2の歯幅Waと他方の歯列bの歯2の歯幅Wbとを異ならせている。
【0027】
この実施の形態でも、何等不都合なく前述の実施の形態(1)と同様の作用,効果が奏される。
【0028】
図11は、本発明に係る歯車の実施の形態(3)を示すものである。
【0029】
この実施の形態では、歯車基板1が一方の歯列a側と他方の歯列b側とで非同一材質で形成されている。
【0030】
この実施の形態でも、例えば、合成樹脂材の2色成形で両材質の界面が完全に融着されたり、金属材でアモルファス結合で両材質の界面が完全に結合されている状態の一体成形であれば、何等不都合なく前述の実施の形態(1)と同様の作用,効果が奏される。
【0031】
以上、図示した実施の形態の外に、歯列a,bを3列以上設けることも可能である。
【0032】
【発明の効果】
以上のように、本発明に係る歯車は、特許文献1で予想される溝のジクザグの底を連続させることで、歯の交差面に溝の底の連続による容積拡張部分を追加して歯元の補強機能の低下を防止するため、歯の倒れ変形を引起こすことなく歯列の間に溝を設けることができる効果がある。
【図面の簡単な説明】
【図1】 本発明に係る歯車の実施の形態(1)を示す斜視図である。
【図2】 従来例との相違点を説明する図1の要部の拡大図である。
【図3】 図1の一部の拡大正面図である。
【図4】 図3のA−A線断面図である。
【図5】 図4のB−B線断面図である。
【図6】 図4のC−C線断面図である。
【図7】 図4のD−D線断面図である。
【図8】 図1の製造例を示す要部の斜視図である。
【図9】 図7の動作図である。
【図10】 本発明に係る歯車の実施の形態(2)を示す要部の断面である。
【図11】 本発明に係る歯車の実施の形態(3)を示す要部の断面図である。
【図12】 特許文献1をベースに発明者が工夫した未公知の歯車の一部を示す斜視図である。
【符号の説明】
1 歯車基板
2 歯
3 交差面
4 溝
5 底
a,b 歯列

Claims (3)

  1. 一体成形によって単一の歯車基板の外周面に円周ピッチが同一の歯列が複数形成され、各歯列が隣合う歯列に対して円周方向へ1/2ピッチずらされた歯車において、
    一の歯列と他の歯列とが離間して形成され、かつ歯列間にピッチ円径の外周面を有する均一幅の連結部が設けられていることを特徴とする歯車。
  2. 請求項1の歯車において、前記連結部に界面を有するように、前記一の歯列と前記他の歯列とが合成樹脂により二色成形されていることを特徴とする歯車。
  3. 請求項1の歯車において、前記連結部に界面を有するように、前記一の歯列と前記他の歯列とが金属材のアモルファス結合で一体成形されていることを特徴とする歯車。
JP2003142893A 2003-05-21 2003-05-21 歯車 Expired - Fee Related JP4508552B2 (ja)

Priority Applications (1)

Application Number Priority Date Filing Date Title
JP2003142893A JP4508552B2 (ja) 2003-05-21 2003-05-21 歯車

Applications Claiming Priority (1)

Application Number Priority Date Filing Date Title
JP2003142893A JP4508552B2 (ja) 2003-05-21 2003-05-21 歯車

Publications (2)

Publication Number Publication Date
JP2004346989A JP2004346989A (ja) 2004-12-09
JP4508552B2 true JP4508552B2 (ja) 2010-07-21

Family

ID=33530823

Family Applications (1)

Application Number Title Priority Date Filing Date
JP2003142893A Expired - Fee Related JP4508552B2 (ja) 2003-05-21 2003-05-21 歯車

Country Status (1)

Country Link
JP (1) JP4508552B2 (ja)

Families Citing this family (1)

* Cited by examiner, † Cited by third party
Publication number Priority date Publication date Assignee Title
JP7301281B2 (ja) * 2019-11-25 2023-07-03 株式会社リコー 歯車、駆動伝達装置及び画像形成装置

Family Cites Families (5)

* Cited by examiner, † Cited by third party
Publication number Priority date Publication date Assignee Title
JPS54142775U (ja) * 1978-03-28 1979-10-03
JP2710861B2 (ja) * 1990-09-20 1998-02-10 株式会社チバダイス 歯 車
JPH074474A (ja) * 1993-06-16 1995-01-10 Canon Inc 歯車及び該歯車を有する動力伝達装置
JPH0783313A (ja) * 1993-07-19 1995-03-28 Mitsubishi Materials Corp ウェブ付傘歯車
JPH0783314A (ja) * 1993-09-20 1995-03-28 Canon Inc 駆動歯車

Also Published As

Publication number Publication date
JP2004346989A (ja) 2004-12-09

Similar Documents

Publication Publication Date Title
US20080022799A1 (en) Gear
US8794096B2 (en) Gearwheel and method for manufacturing a gearwheel
CN100453846C (zh) 具有宽范围啮合齿形的波动齿轮驱动装置
MX2009000242A (es) Rueda helicoidal.
JP4918618B2 (ja) 内歯と外歯とを有する部品、及び、当該部品を製造するための方法
US6993993B2 (en) Sheet metal outsert-molded gear
US11754164B2 (en) Gear, gearwheel pair, and method for producing a gear
US3733921A (en) Reinforced plastic gear
JP4946205B2 (ja) ウォームホイール及びウォームギア
JP4508552B2 (ja) 歯車
JP7517921B2 (ja) ギヤ
JP3910022B2 (ja) 環状樹脂成形品
JP2710861B2 (ja) 歯 車
JP5890690B2 (ja) ステアリングシャフト
JP2008232432A (ja) 射出成形樹脂フェースギヤ
JP2009040013A (ja) 回転伝達手段及び回転伝達手段の射出成形金型
JP3552108B2 (ja) ウエハ研磨装置
US3461737A (en) Composite gears
JPH0596564A (ja) 無機材質歯車
JPS6170269A (ja) 芯金入りナイロン歯車
JP3596131B2 (ja) 射出成形歯車
KR20100042583A (ko) 톱니 부착 벨트용 풀리
JPH0272259A (ja) 合成樹脂製歯車
DE112006003878B4 (de) Waschmaschine
JP2787741B2 (ja) 遊星歯車式伝導装置

Legal Events

Date Code Title Description
A621 Written request for application examination

Free format text: JAPANESE INTERMEDIATE CODE: A621

Effective date: 20060216

A131 Notification of reasons for refusal

Free format text: JAPANESE INTERMEDIATE CODE: A131

Effective date: 20090116

A977 Report on retrieval

Free format text: JAPANESE INTERMEDIATE CODE: A971007

Effective date: 20090122

A521 Request for written amendment filed

Free format text: JAPANESE INTERMEDIATE CODE: A523

Effective date: 20090317

A131 Notification of reasons for refusal

Free format text: JAPANESE INTERMEDIATE CODE: A131

Effective date: 20090901

A521 Request for written amendment filed

Free format text: JAPANESE INTERMEDIATE CODE: A523

Effective date: 20090904

TRDD Decision of grant or rejection written
A01 Written decision to grant a patent or to grant a registration (utility model)

Free format text: JAPANESE INTERMEDIATE CODE: A01

Effective date: 20100330

A01 Written decision to grant a patent or to grant a registration (utility model)

Free format text: JAPANESE INTERMEDIATE CODE: A01

A61 First payment of annual fees (during grant procedure)

Free format text: JAPANESE INTERMEDIATE CODE: A61

Effective date: 20100427

FPAY Renewal fee payment (event date is renewal date of database)

Free format text: PAYMENT UNTIL: 20130514

Year of fee payment: 3

R150 Certificate of patent or registration of utility model

Ref document number: 4508552

Country of ref document: JP

Free format text: JAPANESE INTERMEDIATE CODE: R150

Free format text: JAPANESE INTERMEDIATE CODE: R150

R250 Receipt of annual fees

Free format text: JAPANESE INTERMEDIATE CODE: R250

LAPS Cancellation because of no payment of annual fees