JP4495489B2 - サムターン、並びに、錠前 - Google Patents

サムターン、並びに、錠前 Download PDF

Info

Publication number
JP4495489B2
JP4495489B2 JP2004071360A JP2004071360A JP4495489B2 JP 4495489 B2 JP4495489 B2 JP 4495489B2 JP 2004071360 A JP2004071360 A JP 2004071360A JP 2004071360 A JP2004071360 A JP 2004071360A JP 4495489 B2 JP4495489 B2 JP 4495489B2
Authority
JP
Japan
Prior art keywords
rotation
thumb turn
knob
knob member
lock
Prior art date
Legal status (The legal status is an assumption and is not a legal conclusion. Google has not performed a legal analysis and makes no representation as to the accuracy of the status listed.)
Expired - Fee Related
Application number
JP2004071360A
Other languages
English (en)
Other versions
JP2005256491A (ja
Inventor
康雄 西
Current Assignee (The listed assignees may be inaccurate. Google has not performed a legal analysis and makes no representation or warranty as to the accuracy of the list.)
West Inx Ltd
Original Assignee
West Inx Ltd
Priority date (The priority date is an assumption and is not a legal conclusion. Google has not performed a legal analysis and makes no representation as to the accuracy of the date listed.)
Filing date
Publication date
Application filed by West Inx Ltd filed Critical West Inx Ltd
Priority to JP2004071360A priority Critical patent/JP4495489B2/ja
Publication of JP2005256491A publication Critical patent/JP2005256491A/ja
Application granted granted Critical
Publication of JP4495489B2 publication Critical patent/JP4495489B2/ja
Anticipated expiration legal-status Critical
Expired - Fee Related legal-status Critical Current

Links

Images

Landscapes

  • Lock And Its Accessories (AREA)

Description

本発明は錠前および錠前に採用されるサムターンに関するものであり、特にサムターン回しと称される不正開錠を阻止可能なものに関する。
従来より、摘み部材を回動させることによりロックボルトを出入りさせ、これにより施錠あるいは開錠を行う錠前が玄関の扉等に採用されている。錠前は、本体部分が扉内に埋め込まれ、扉の側面からデッドボルトを突出・退入可能なように固定されている。錠前を玄関先の扉の施錠に採用する場合は、扉の屋外側に錠前の施錠・開錠を行うためのシリンダー錠を設けると共に、屋内側に摘み部材が取り付けられている。
デッドボルトは、シリンダー錠あるいは摘み部材を回動させることにより扉の側面から出入りするようになっている。扉が固定されている扉枠には、扉の側面から突出したデッドボルトを収納可能な収納部が設けられている。扉は、シリンダー錠や摘み部材を回動させ、デッドボルトを収納部に出入りさせることにより施錠状態あるいは開錠状態になる。
一方、近年ドリル等で扉に穴を空けたり、扉と扉の取り付け枠との隙間から工具等を差し込み、摘み部材を回して不正開錠する、いわゆるサムターン回しという手口で家屋に侵入する犯罪が横行しており、社会的問題となっている。かかる問題を解決すべく、例えば下記特許文献1に示すように扉の摘み部材を囲む位置にサムターンカバーを設けることにより、いわゆるサムターン回しによる不正開錠を防止する方策が提案されている。
また、上記したサムターン回しによる不正開錠を防止すべく、下記特許文献2に示すような摘み部材を具備した錠前がある。特許文献2に開示されている摘み部材は、摘み部分が着脱可能であり、摘み部分を抜いておくことで不正開錠を防止するものである。
特開2003−056218号公報 特開平11−200678号公報
上記特許文献1に開示されているように、摘み部材の周囲にサムターンカバーを設ければ、扉に穴を空けたりして工具等を差し込んでも、その工具が摘み部材に到達し難い。そのため、摘み部材を特許文献1に開示されているようなサムターンカバーで保護すれば、扉の不正開錠を防止することができる。
しかし、上記したようにサムターンカバーを設ける場合、摘み部材の回動操作を行う度にサムターンカバーの蓋体を開ける必要がある。また、サムターンカバーで摘み部材を囲む場合、サムターンカバーで囲まれた領域内に指を入れて摘み部材の操作を行わねばならず、サムターンの操作が少なからず不自由になってしまう。さらに、サムターンカバーを設ける場合は、蓋体を閉じ忘れてしまうとサムターン回しに対する防犯効果が半減してしまうという問題点を有する。また、上記特許文献2のように摘み部材の摘み部分が着脱可能な構成とした場合も、摘み部分を抜き忘れてしまうとサムターン回しによる不正開錠に対する効果が全く発揮できないという問題がある。
かかる問題に鑑み、本発明は、通常時の施錠、開錠操作の操作性を維持しつつ、いわゆるサムターン回しに対処可能な防犯特性の高いサムターンおよび錠前の提供を目的とする。
一般的にサムターン回しと称されるような不正開錠は、扉のサムターンが装着されている近傍の隙間や扉に開けた孔から工具等を差し込み、摘みに工具を引っ掛ける等して外力を作用させてサムターンの操作を行う手法で行われる。そのため、上記したような不正開錠が行われると、摘みを指で摘んでサムターンを通常に操作する場合とは異なり、摘み部材が移動する方向に大きな外力が作用する。
そこで、かかる知見に基づいて提供される請求項1に記載の発明は、摘みと回転軸とを有し、所定方向に移動可能に支持された摘み部材と、当該摘み部材と一体的に回転する回転阻止手段と、当該回転阻止手段に対して近接離反可能な制動手段とを有し、回転阻止手段は、周壁部を有し、当該周壁部に係合部が設けられたものであり、制動手段は、回転阻止手段の係合部と係合可能な被係合部を有し、所定の制動回転軸を中心として回動するものであり、常時は、回転阻止手段の係合部と制動手段の被係合部とが係合不可能な位置にあり、回転軸の移動に伴って回転阻止手段の係合部が前記被係合部の回動領域に移動すると共に制動手段の被係合部が回転阻止手段に近接し、係合部と制動手段の被係合部とが係合して回転軸が回転不能に支持されることを特徴とするサムターンである。
本発明のサムターンは、常時は回転阻止手段の係合部が制動手段の被係合部が移動する軌跡から外れた位置にある。そのため、本発明のサムターンは、通常に操作する限りは回転阻止手段が自由に回動可能な状態にあり、摘み部材を自由に操作できる。
一方、本発明のサムターンは、サムターン回しのような不正開錠を試みようとして摘み部材に作用する外力により回転軸が移動すると、回転阻止手段が移動し、回転阻止手段の係合部が制動手段の被係合部と係合し、回転軸が回転不能となる。そのため、本発明によれば、摘み部材を不正操作するサムターン回しのような不正開錠に対する防犯特性に優れたサムターンを提供できる。
請求項2に記載の発明は、摘みと回転軸とを有し、所定方向に移動可能に支持された摘み部材と、当該摘み部材と一体的に回転する回転阻止手段と、当該回転阻止手段に対して近接離反可能な制動手段と、当該制動手段を回転阻止手段から離反させて離反構造を形成する離反手段とを有し、回転軸の移動に伴って前記離反構造が解除され、制動手段が、回転阻止手段に近接して回転阻止手段と係合し、回転軸が回転不能に支持されることを特徴とするサムターンである。
本発明のサムターンは、回転軸が通常位置にある場合は、制動手段が回転阻止手段から離れた位置にあり、回転阻止手段が自由に回動可能な状態にある。そのため、本発明のサムターンは、摘みを摘んで通常の操作を行う限りは自由に操作することができる。
一方、本発明のサムターンは、回転軸が移動すると開錠防止手段と制動手段の離反構造が解除されて制動手段が回転阻止手段に近接し、制動手段と回転阻止手段とが係合した状態となり、回転軸が回転不能となる。そのため、本発明のサムターンは、サムターン回しのような不正開錠を試みようとしても、摘み部材の回転軸が移動して回転不能となる。
請求項3に記載の発明は、摘みと回転軸とを有し、所定方向に移動可能に支持された摘み部材と、当該摘み部材と一体的に回転する回転阻止手段と、当該回転阻止手段に対して近接離反可能な制動手段と、当該制動手段を回転阻止手段から離反した状態に支持して支持構造を形成する離反手段とを有し、回転阻止手段は、摘み部材の移動に伴って所定の軌跡に沿って移動するものであり、離反手段は、所定の位置にある回阻止手段の外周部に当接し前記軌跡を横切ることにより前記支持構造を形成し、当該支持構造は、回阻止手段の移動に伴って解除され、制動手段は、前記支持構造が解除されることを条件として回阻止手段に近接して係合し、摘み部材の回動を阻止することを特徴とするサムターンである。
一般的に、摘みを摘んで回転操作を行う限り、摘み部材の回転軸やこれと一体的に回転する回転阻止手段は移動せず、所定の位置で回転するものと想定される。本発明のサムターンは、摘み部材の回転軸が所定の位置にある場合、本発明のサムターンは、離反手段によって制動手段を回阻止手段から離された状態にあり、摘み部材を自由に回動させることが可能である。そのため、本発明のサムターンは、通常の行う限りは特別な操作を行わなくてもよく、操作性にすぐれている。
一方、不正開錠を試みようとして摘みを突き動かそうとすると、摘みには突き動かそうとする方向への外力が作用する。上記したように、本発明のサムターンは、摘み部材が所定方向に移動可能に支持されているため、この方向に外力が作用すると摘み部材やこれと一体的に回転する回転阻止手段が移動する。本発明のサムターンは回転阻止手段が移動すると支持構造が解除され、制動手段と回阻止手段とが係合状態になり、摘み部材が回転不可能となる。従って、本発明によればサムターン回しのような摘み部材に外力を作用させる手口の不正開錠を未然に防止できる。
請求項4に記載の発明は、離反手段は、先端が制動手段に当接し、所定の回転中心を中心として回動自在な支持部を有し、当該支持部の中間部位において摘み部材の移動に伴って回転阻止手段が移動して形成される軌跡が交差することを特徴とする請求項3に記載のサムターンである。
本発明のサムターンにおいて、離反手段は、支持部が回動可能な状態で片持ち状に支持されており、その中間部分と回転阻止手段が移動して形成される軌跡とが交差するように配されている。そのため、本発明のサムターンでは、回阻止手段が僅かに移動するだけで制動手段に当接している先端が大きく移動する。従って、本発明のサムターンは、摘み部材を無理に押し回そうとして摘み部材が移動すると、離反手段が鋭敏に反応して支持構造が解除され、摘み部材が回動不可能となる。従って、本発明によれば、防犯特性が極めて優れたサムターンを提供できる。
請求項5に記載の発明は、制動手段および離反手段は、それぞれ回転阻止手段に近接する方向に所定の付勢力で付勢されており、制動手段に作用する付勢力は、離反手段に作用する付勢力よりも小さいことを特徴とする請求項2乃至4のいずれかに記載のサムターンである。
本発明のサムターンは、制動手段と離反手段の双方が付勢されており、回転阻止手段が所定の位置にある場合に制動手段を離反させるための離反手段を付勢する付勢力が、制動手段に対して作用する付勢力よりも大きい。そのため、本発明のサムターンは、回転阻止手段が所定の位置にある限りは制動手段と回転阻止手段が離反した状態を維持する。従って、本発明のサムターンは、不正開錠等により摘み部材が移動しない限り制動手段と回転阻止手段とが係合し、摘み部材が操作不能となるといったような誤作動が起こらない。
請求項に記載の発明は、回転阻止手段は、所定の回転中心を中心として回転可能であり、回転阻止手段の移動に伴って突出部が侵入し、突出部の周方向への移動を阻止されることを特徴とする請求項1乃至のいずれかに記載のサムターンである。
本発明のサムターンは、不正開錠等に伴い摘み部材に対して外力が作用し、回転阻止手段が移動すると、突出部が侵入し、回転阻止手段の回動が不可能になる。そのため、本発明によれば、サムターン回しのような不正開錠に対する防犯特性に優れたサムターンを提供できる。
ここで、上記請求項1乃至に記載のサムターンは、いずれもデッドボルト等の施錠片を動かす動作機構に接続されて使用されるものであり、錠前が施錠状態にある時に摘み部材に外力が作用して回転軸が移動することを利用して制動手段と回転阻止手段とを係合させ、摘み部材の回動を阻止するものである。そのため、上記請求項1乃至に記載のサムターンは、施工時に錠前が施錠状態にある時に回転阻止手段が所定の姿勢となり、摘み部が移動可能な方向に対して逆方向に外力を作用させても回転軸が回転しないように施工されないと防犯特性を十分に発揮できないおそれがある。
そこで、かかる知見に基づいて提供される1つの発明では、回転阻止手段が、外周部と、当該外周部から径方向外側に突出した突出部とを有し、所定の回転領域内の回転中心を中心として回転可能なように配置されており、前記回転領域内に、前記突出部の周方向への移動を阻止する移動阻止部が設けられている
このサムターンは、回転領域内に移動阻止部が突出しており、回転阻止手段の回転が規制される。そのため、このサムターンは、摘み部材を所定の姿勢で取り付けない限り摘み部材の操作ができない構成とし、施工者に対して摘み部材の取り付け姿勢が間違っていることを認識させることができる。従って、このサムターンによれば、摘み部材の取り付け間違いを防止し、防犯特性を確実に発揮可能なサムターンを提供できる。
また、同様の知見に基づいて提供される請求項7に記載の発明は、回転阻止手段は、外周部と、当該外周部から径方向外側に突出した突出部とを有し、所定の回転領域内の回転中心を中心として回転可能に配置されており、前記回転領域内には、摘み部材が移動可能な方向とは逆方向の成分を有する外力が摘み部材に作用した場合に突出部に当接し、回転阻止部材の回を阻止する移動阻止部が設けられていることを特徴とする請求項1乃至6のいずれかに記載のサムターンである。
本発明のサムターンは、摘み部材に対して所定の方向に外力が作用した場合に摘み部材と回転阻止手段とが所定方向に移動するが、これとは逆方向に外力が作用した場合は回転阻止手段の突出部が回転領域内に設けられた移動阻止部に当接し、摘み部材を回転させることができない。即ち、本発明のサムターンは、摘み部材を所定姿勢から一定方向(正方向)に回すことができるが、逆方向に回すことができない。そのため、本発明のサムターンは、万一取り付け施工時に摘み部材の取り付け姿勢を誤っても、施工後の動作確認時に摘み部材の取り付け姿勢の間違いに気が付く。従って、本発明によれば、摘み部材の取り付け姿勢を誤ることによる防犯特性の低下を未然に防止できる。
上記請求項1乃至7に記載のサムターンは、摘み部材が、回転軸と摘みとが偏心した位置関係にあるものであってもよい。(請求項8)
請求項9に記載の発明は、制動手段は、回阻止手段に近接する方向に付勢されていることを特徴とする請求項1乃至8のいずれかに記載のサムターンである。
かかる構成によれば、不正開錠により摘み部材が外力を受け、回転阻止手段が移動した際に直ちに回転阻止手段と付勢手段とを係合させ、摘み部材の回動を阻止することができる。
請求項10に記載の発明は、施錠片を錠箱から出入りさせるための動作機構を有し、当該動作機構に請求項1乃至のいずれかに記載のサムターンが接続されていることを特徴とする錠前である。
上記請求項1乃至に記載のサムターンは、いずれもサムターン回しのような手口で摘み部材を不正に操作しようとしても摘み部材がロック状態になり、回動操作が不能となる。そのため、本発明の錠前は、サムターン回しのような不正開錠に対する防犯性能が高い。
本発明によれば、常時は通常の操作で施錠および開錠を行えると共に、サムターン回しと称されるような不正開錠を試みても開錠できない防犯特性に優れたサムターンおよび錠前を提供できる。
続いて、本発明の一実施形態であるサムターンについて図面を参照しながら詳細に説明する。図1は、本実施形態のサムターンを示す斜視図である。また、図2は、図1に示すサムターンの分解斜視図である。図3は、図1に示すサムターンの断面図である。図4〜図10は、それぞれ図1に示すサムターンの構成部品を示す図である。また、図11は、図1に示すサムターンの内部構造および動作を示す概念図である。図12は、図1に示すサムターンを備えた錠前の設置状態を示す斜視図である。図13は、図12に示す錠前において採用されている錠本体を示す斜視図である。図14は、図1に示すサムターンの変形例を示す概念図である。なお、以下の説明において上下の位置関係は、特に断りのない限りサムターンを図1等に示す姿勢で配置した状態を基準とする。
図1〜3において、1は本実施形態のサムターンである。サムターン1は、キャップ部材2の貫通孔3に挿通された摘み部材5を有する。貫通孔3は、図2や図4等に示すように略中央部から径方向外側(図2の状態において下方)に向けて僅かに偏心した位置まで延伸した形状を有する。そのため、摘み部材5は、貫通孔3の延伸方向、即ち図2に示す状態において上下方向に僅かに傾くことができる。また、貫通孔3の上方には、サムターン1のネジ止め用のネジ挿通孔4が設けられている。
摘み部材5は、金属製であり、摘み6と、回転軸8とが一体化された構成を有する。摘み6は、図2や図5のように扁平形状での摘み部7と接続軸10とを有する。摘み部7は、サムターン1の操作を行うために操作者が指で摘むための部分である。接続軸10は、図2のように摘み部7の中心位置から一端側に偏心した位置から突出しており、回転軸8が接続される部分である。接続軸10は、付け根部分にストッパー係合部11を有し、先端部分にピン孔12を有する。ストッパー係合部11は、円筒形の軸体の3面を面取りしたものであり、断面視が略「U」字形とされている。
回転軸8は、図6に示すように一端側に摘み部材5の接続軸10の先端部分を挿通するための凹部13が形成されている。回転軸8には、凹部13を横断するように貫通したピン孔15が設けられている。回転軸8は、凹部13内に摘み部材5の接続軸10を挿通し、ピンをピン孔12,15に渡って挿通することによって摘み6と一体化される。回転軸8の先端部分には、周方向に等間隔に4つの溝16が形成され、正面視が略十文字となるように成形されている。
キャップ部材2の内部には、ベース部材20が収納されている。また、ベース部材20には、それぞれベース部材20に対して独立的に回動可能にロックピース30、解除ピース40およびストッパー部材50が内蔵されている。
ベース部材20は、図2に示すように外径がキャップ部材2の内径と略同一であり、円盤型の形状を有する。ベース部材20は、図7のように裏面側が平坦であるが、表面側はロックピース30や解除ピース40、ストッパー部材50が回動可能な空間を確保するために複雑な形状とされている。
ベース部材20の中心位置から僅かに径方向外側(図2に示す状態では下方)に偏心した位置には、略円形で回転軸8を挿通可能な軸挿通孔21と、二つの係止部22,22とが設けられている。軸挿通孔21は、キャップ部材2にベース部材20を納めた際に貫通孔3の下端側に相当する位置に形成されている。係止部22は、軸挿通孔21に連続した切り欠きであり、軸挿通孔21の上方に二つ並んでいる。係止部22は、軸挿通孔21の周部の上方から略垂直上方に切り込まれて形成されている。
軸挿通孔21の上方であって二つの係止部22,22の間には、膨出部25が設けられている。膨出部25は、ベース部材20の表面側に突出している。膨出部25には、キャップ部材2に収納した状態でキャップ部材2のネジ挿通孔4に連通するネジ挿通孔26aと、キャップ部材2に装着される裏板29をネジ止めするためのネジ孔26bとが設けられている。また、ベース部材20の下方、即ち係止部22,22や膨出部25とは反対側の位置には、ベース部材20の外周および軸挿通孔21の外周に沿う形状の周壁27が形成されている。また、周壁27の略中央部であって、膨出部25に対向する位置には、回転阻止片23が形成されている。回転阻止片23は、膨出部25と同様にベース部材20の表面側に突出すると共に、周壁27の内周面からベース部材20の径方向中央側(軸挿通孔21の内側)に突出している。
周壁27の上方であって、軸挿通孔21の径方向外側の部位は、図7のように周壁27や膨出部25に相当する部位よりも肉薄に製作されており、ベース部材20をキャップ部材2に収納した際に、ロックピース30や解除ピース40を収容するためのピース収容空間Vとして機能する部分である。ピース収容空間Vのうち、回転阻止片23とベース部材20の中心とを結ぶ仮想線Lを境界として区画される一方側(図2では左側)の領域V1にはロックピース30を装着するための突起28aが設けられており、他方側(図2では右側)の領域V2には解除ピース40を装着するための突起28bが設けられている。突起28aは、ベース部材20の上方側であって、膨出部25に隣接する位置にある。また、突起28bは、軸挿通孔21の右方に隣接する位置に設けられている。
ロックピース30は、図2や図8のようにキャップ部材2の内周やベース部材20の外周に沿う形状に湾曲した外湾曲面31と、内湾曲面32とを有する部材である。ロックピース30の一端側には、突起28aを挿通するための軸孔33が形成されており、その先端側には先細り形状に突出した突出片35が形成されている。ロックピース30は、軸孔33に挿通された突起28aを中心としてベース部材20に対して回動自在に支持されている。
一方、ロックピース30の他端側には、内湾曲面32に対して交差する方向に突出したロック片36が形成されている。また、ロックピース30には、外湾曲面31に開口し、バネ37を装着するためのバネ装着穴38が形成されている。ロックピース30は、バネ装着穴38に装着されたバネ37によって外湾曲面31がキャップ部材2の内周面から離反する方向に付勢されている。
解除ピース40は、ロックピース30の動作のトリガーとして機能するものであり、図2や図9のように本体部41と、本体部41の中腹部分から本体部41に対して交差する方向に延伸した解除片43(支持部)とを有する。本体部41は、キャップ部材2の内周やベース部材20の外周に沿うように湾曲した外湾曲面45を有する。本体部41の一端側には、軸孔46が形成されている。解除ピース40は、軸孔46に突起28bを挿通することにより、突起28bを中心として回動自在に支持されている。
本体部41の他端側には、外湾曲面45に開口し、バネ47を装着するためのバネ装着穴48が形成されている。解除ピース40は、バネ装着穴48に装着されたバネ47によって本体部41の他端側がキャップ部材2の内周面から離反する方向に付勢されている。
ベース部材20の突起28bに解除ピース40を装着した状態において、解除片43は、ピース収容空間V内の領域V1,V2を横断し、先端が突起28aに装着されたロックピース30の内湾曲面32に届く長さとされている。上記したように、本体部41の下端側が突起28bを中心として回動可能なように支持されていると共に、上端側がバネ47によって付勢されているため、解除片43は、下方に付勢されている。そのため、解除片43は、軸挿通孔21に挿通された回転軸8に装着されているストッパー部材50の外周面に面接触している。
ここで、解除ピース40を付勢しているバネ47は、ロックピース30を付勢しているバネ37よりも弾性力が強い。そのため、解除ピース40は、常時はロックピース30の内湾曲面32に当接してロックピース30をキャップ部材2の内壁面側に押しのけている。
ストッパー部材50は、金属製で、略小判型の形状を有する部材であり、摘み6のストッパー係合部11に装着される部材である。ストッパー部材50は、ストッパー本体51と、このストッパー本体51の外周部分から上下方向に突出した突片部52,52とを有する。
ストッパー本体51は、図2のように厚み方向に2段形状の形状を有し、外接円の径の大きな大径部51aと、外接円の径が小さな小径部51bとを有する。ストッパー本体51の略中央部には、大径部51aおよび小径部51bを貫通する軸係合孔54が形成されている。軸係合孔54は、平面視が略「U」字形の貫通孔であり、摘み6のストッパー係合部11の外径に沿う形状とされている。
大径部51aは、円弧状の周壁部53,53が対向すると共に、周壁部53,53の中間部分に周壁部53の外接円の中心方向に向けて窪んだ凹部55,55が設けられている。突片部52,52は、周壁部53,53の一端側(図10(a)において右側)、即ち凹部55,55の一方側から周壁部53の外接円の径方向に対して平行に突出している。大径部51aは、突片部52,52の外接円の半径rcが軸挿通孔21の内径riと略同一とされている。
小径部51bは、円弧状の周壁部56,56と、この周壁部56の外接円の径方向に対して水平な平坦部57,57とによって外形が形成された略小判状の部位である。周壁部56の外接円の半径rcは、軸挿通孔21の中心と回転阻止片23の内周面との距離rdと略同一である。
サムターン1は、キャップ部材2内に上記したベース部材20、ロックピース30、解除ピース40およびストッパー部材50を備えた不正開錠防止機構が納められており、この動作機構に摘み部材5が接続された構成を有する。即ち、サムターン1は、摘み部材5の動作に連動して不正開錠防止機構が動作する。
さらに具体的に説明すると、ベース部材20は、表面がキャップ部材2の開放端側に向き、軸挿通孔21の位置がキャップ部材2の貫通孔3に合致する姿勢として収納されている。キャップ部材2内に収納されたベース部材20の突起28aには、外湾曲面31がキャップ部材2の内周面側を向く姿勢でロックピース30が装着されている。ロックピース30のバネ装着穴38には、バネ37が装着されている。ロックピース30は、バネ37によりロック片36がキャップ部材2の中央側(軸挿通孔21側)に近接する方向に付勢されている。
解除ピース40は、本体部41の外湾曲面45がキャップ部材2の内周面側を向き、解除片43がロックピース30側を向く姿勢としてベース部材20に装着されている。外湾曲面45に開口したバネ装着穴48には、バネ47が装着されている。解除ピース40は、バネ47の作用により本体部41の上端側がキャップ部材2の中心側に付勢され、解除片43が下方に付勢される。この状態において、解除片43は、先端部分43aがロックピース30の内湾曲面32に当接し、中間部分43bがストッパー部材50の周壁部56に外接した状態となっている。即ち、解除片43は、中間部分43bにおいて摘み部材5の偏心(移動)に伴って移動するストッパー部材50の軌跡と交差している。
上記したようにしてベース部材20に対してロックピース30と解除ピース40を装着した状態において、キャップ部材2の外側から摘み6が貫通孔3および軸挿通孔21に挿通され、装着されている。この状態において、摘み6の接続軸10およびストッパー係合部11は、ピース収容空間V内に露出する。摘み6のストッパー係合部11には、キャップ部材2の開放端側からストッパー部材50が大径部51aを内側(ベース部材20側)に向けた姿勢で装着されている。摘み6に対してストッパー部材50が装着された状態において、大径部51aは軸挿通孔21内に納まっており、小径部51bの周壁部56が回転阻止片23の内周面に面接触した状態となっている。この状態において、摘み6は、ベース部材20に対して回動自在に支持された状態となっている。
摘み6は、キャップ部材2の内部空間に突出した接続軸10が回転軸8の凹部13に差し込まれ、回転軸8に接続されている。摘み6は、ピン孔12,15にわたって打ち込まれたピンによって一体化されている。
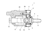
サムターン1は、図12のように扉62内に取り付けられた錠本体61内の動作機構に回転軸8を介して接続され、錠前60を形成している。錠前60は、従来公知の錠前と同様に、錠本体61内にデッドボルト63(施錠片)およびラッチ65を出入りさせるための動作機構(図示せず)を内蔵している。錠前60は、扉62に取り付けられたサムターン1あるいはシリンダー錠66に接続されている。シリンダー錠66は、従来公知のものと同様の構成を有し、鍵穴に鍵を差し込んで回転させると、これに連動して背面側に突出した舌片69が回転するものである。錠前60は、サムターン1を操作して回転軸8を回転させるか、シリンダー錠66に差し込まれた鍵の操作により舌片69を回転させることにより施錠開錠操作することができる。
錠本体61は、図13に示すように、正面67および背面68に2つの開口部70,71を有する。開口部70には、上記した動作機構の一部であり、サムターン1の回転軸8およびシリンダー錠66の舌片69と係合する係合部74が露出している。デッドボルト63は、回転軸8や舌片69の回動に連動して錠本体61の側面72から出入りする。また、開口部71には、上記した動作機構の一部を構成する角穴73が露出している。角穴73は、ドアハンドル75の支軸となる角芯76が挿通されるものである。
錠前60は、図12に示すように錠本体61を扉62内に埋設して使用される。錠本体61は、側面72が扉62の側面77側を向き、デッドボルト63およびラッチ65が側面72,77から突出可能なように設置される。また、扉62の正面78および背面80には、それぞれ錠本体61の開口部70,71に相当する位置に取り付け孔81,82が窄孔されている。
扉62には、取り付け孔82および開口部71を貫通するように角芯76が挿通され、この角芯76の両端にドアハンドル75が固定されている。ドアハンドル75を回動させると、これに連動して錠前60のラッチ65が扉62の側面77から出入りする。
扉62の背面80側に設けられた取り付け孔81には、図12のようにシリンダー錠66が装着されている。シリンダー錠66は、鍵穴(図示せず)のある正面側を外側に向け、背面側の舌片69を係合部74に係合させて固定されている。そのため、シリンダー錠66に鍵を挿入して回動させると、これに連動して錠本体61内の動作機構が作動し、扉62の側面77からデッドボルト63が出入りする。
一方、扉62の正面78側に設けられた取り付け孔81には、図3や図12のように台座85にキャップ部材2をネジ止めすることによりサムターン1が固定されている。サムターン1は、通常の施錠時は図11,12のように、扁平形状の摘み部7が水平に倒れた状態が施錠状態となるように施工されている。即ち、サムターン1は、施錠状態とした時に摘み部7の延伸方向と、摘み部材5およびこれに装着されたストッパー部材50の摺動方向(偏心方向、移動方向)とが交差するように摘み部材5が装着されている。
続いて、本実施形態のサムターン1および錠前60の動作について図面を参照しながら詳細に説明する。錠前60が施錠状態にあるとき、サムターン1は、摘み部材5に装着されたストッパー部材50の大径部51aが軸挿通孔21内に収納されると共に、小径部51bが軸挿通孔21側に突出した係止部22の内周面と解除ピース40の解除片43とに面接触し、挟まれた状態となっている。また、この状態では、ストッパー部材50は、凹部55,55のうちのいずれか一方がロックピース30側を向く姿勢とされている。
図11(a)のように摘み部7が水平な状態(施錠状態)で摘み部7を摘んで矢印A方向に回動させると、これに連動してストッパー部材50がキャップ部材2内で回動する。この時、解除ピース40の解除片43は、ストッパー部材50の小径部51bの周囲に面接触した状態であり、ロックピース30をキャップ部材2の内周壁側に押しつけたままである。そのため、サムターン1は、摘み部7を摘んで回す限りは特別な操作を行わずに開錠状態にすることができる。
一方、サムターン回しと称するような不正開錠を試みるべく摘み部7を突き上げるような外力F1が作用すると、この外力F1によって摘み部材5は摘み部7側が上方に持ち上がって傾き、軸心位置が偏心(移動)する。これにより、摘み部7に近い位置に装着されているストッパー部材50は、図11(b)に示すように上方に持ち上がる。
ストッパー部材50が上方に移動すると、これに連動して小径部51bの周部に面接触している解除ピース40の解除片43が突起28bを中心として回動し、上方に傾く。解除片43が傾くと、この解除片43が図11(a)に矢印rで示すように上方に持ち上がる。これにより、ロックピース30は、解除片43がロックピース30の内湾曲面32に当接して構成されていた支持構造が解除される。バネ37による付勢力が作用して軸孔33に挿通された突起28aを中心として回動し始め、ロック片36がキャップ部材2の中央側に移動すると共に、図11(a)のように解除片43の先端がロックピース30の突出片35に突き当たり、カム的な作用によりロックピース30のロック片36がさらにストッパー部材50側に近づく。
摘み部材5が外力の影響を受けて移動すると、施錠状態においてストッパー部材50の大径部51aの上方から突出している突片部52がベース部材20の軸挿通孔21に連続する係止部22内に侵入する。この状態になると、ストッパー部材50の凹部55が、ロックピース30のロック片36が侵入可能な位置にある。そのため、ロックピース30のロック片36は、バネ37による付勢力の影響と、上記したカム的な作用によって回動し、凹部55内に侵入する。これにより、ストッパー部材50および摘み部材5が回動不可能な状態となる。
摘み部7の移動した位置に作用している外力が解除されると、解除ピース40を上方に持ち上げる力がなくなる。また、ロックピース30を付勢しているバネ37の弾性力は、解除ピース40を付勢しているバネ47の弾性力よりも小さい。そのため、外力の作用が無くなると、バネ47の作用によって解除ピース40の解除片43が下方に移動し、ロックピース30の内湾曲面32を突き動かす。これにより、ロックピース30は、突起28aを中心として回動し、ロック片36がストッパー部材50の凹部55から抜ける。その後、ストッパー部材50およびこれに接続されている摘み部材5は、姿勢が水平に戻り、回動自在な状態に戻る。
上記したサムターン1は、摘み部材5を無理に上方に持ち上げようとする力を受けてロックピース30、解除ピース40およびストッパー部材50を有する動作機構が作動し、摘み部材5の回動を阻止するものである。そのため、サムターン1は、万一誤った取り付け姿勢で取り付けられ、摘み部7を下方(図11(a)においてB方向)に回すことにより開錠状態となるように取り付けられてしまうと動作機構が働かず、防犯特性を発揮できない。そこで、かかる施工間違いを防止すべく、本実施形態のサムターン1は、ストッパー部材50の大径部51aの外周部に突片部52,52を設けると共に、大径部51aが軸挿通孔21内に納まった状態で回動させ摘み部7を水平な姿勢とした際に突片部52に突き当たる位置に回転阻止片23を設けた構成としている。そのため、本実施形態のサムターン1は、回転軸8を中心とする水平位置よりも下方に回転させることができない。従って、万一施工間違いにより摘み部7が水平位置にある時に開錠状態となるように取り付けられても、摘み部7が操作不能であり、施工間違いに気が付く。
上記したように、サムターン1は、不正開錠を試みようとして摘みに無理な外力F1を作用させると、回転軸8が傾き、これに装着されたストッパー部材50が外力の作用する方向に移動する。これにより、ストッパー部材50が、小径部51bの周壁部56に当接していた解除ピース40の解除片43を押しのけ、解除ピース40がロックピース30の内湾曲面32に当接して構成されていた支持構造が解除されると共に、ロックピース30のロック片36とストッパー部材50の凹部55とが係合して摘み部材5が回転不能となる。
さらに、サムターン1は、外力F1が作用すると、ストッパー部材50の突片部52が軸挿通孔21に連通した係止部22内に侵入して係止構造を形成し、ストッパー部材50がベース部材20に対して回動不能となる。そのため、サムターン1は、サムターン回しのような不正開錠を試みると、ロック片36と凹部55とによって構成される係合構造と、突片部52と係止部22とによって構成される係止構造とが形成され、摘み部材5が完全に回動不能となる。従って、本実施形態のサムターン1は、サムターン回し等の不正開錠に対する防犯特性に優れている。
その一方で、サムターン1は、解除ピース40の解除片43によってストッパー部材50が下方に付勢されているため、通常通り摘み部7を摘んで操作する限り、回転軸8やストッパー部材50が移動しない。そのため、サムターン1は、従来より一般的に使用されているサムターンと同様の操作で施錠開錠を行える。
本実施形態のサムターン1は、ストッパー部材50が納まっている軸挿通孔21に径方向内側に向けて突出し、突片部52の周方向への移動を規制する回転阻止片23が設けられている。そのため、サムターン1は、図11に示す姿勢よりも下方(矢印B方向)に摘み部7を回動させることができない。即ち、サムターン1は、摘み部7の先端部分7aが施錠状態となった場合の水平位置よりも下方に回転できない。そのため、サムターン回しを試みようとして図11の矢印B方向や、下方に向かう外力F2が作用しても、摘み部材5は回動せず、錠前60は開錠されない。
サムターン1は、摘み部材5を水平姿勢から矢印A方向(正方向)に回すことができるが、矢印B方向(逆方向)に回すことができない。そのため、サムターン1は、万一取り付け施工時に摘み部材5の取り付け姿勢を誤っても、施工後の動作確認時に摘み部材5の操作が不可能であり、取り付け姿勢の間違いに気が付く。従って、サムターン1は、摘み部材5の取り付け間違いによる防犯特性の低下が起こらない。
サムターン1は、摘み部材5の摘み部7が回転軸8に対して偏心した位置にある。そのため、サムターン1は、摘み部7を上方に引き上げる方向に作用する外力F1に対応可能な不正開錠防止機構を備えておればよく、反対側に作用する外力F2に対する不正開錠防止機構を必要としない。そのため、サムターン1は、不正開錠防止機構の構成がシンプルであり、製造に要する部品点数や製造コストが低い。
上記したサムターン1は、ロックピース30がバネ37によってストッパー部材50側に付勢されているため、不正開錠により外力F1が作用してストッパー部材50が上方に移動すると直ちにロックピース30とストッパー部材50とが係合する。従って、本実施形態のサムターン1によれば、不正開錠に対して即座に反応して摘み部材5の回動を阻止することができる。
サムターン1は、ロックピース30を付勢しているバネ37よりも解除ピース40を付勢しているバネ47の方が付勢力が大きい。そのため、サムターン1は、摘み部材5を上方に突き上げようとする外力F1が作用しない限りロックピース30が解除ピース40から離反した状態を維持し、摘み部材5を自由に操作できる。
また、サムターン1は、解除ピース40によって摘み部材5と一体化されたストッパー部材50の小径部51bに当接し、摘み部材5を下方に付勢した状態とされている。そのため、サムターン1は、通常の操作を行う限りは摘み部材5が殆ど傾かず、不正開錠防止機構が誤作動しない。
サムターン1は、図11(c)のようにストッパー部材50が解除ピース40の解除片43の中間部分43bに当接しているため、摘み部材5に対して上方に持ち上げる方向の外力F1が作用し、ストッパー部材50が移動すると、その移動量xに対してストッパー部材50が矢印yで示すように大きく移動する。そのため、サムターン1は、外力F1が作用すると解除ピース40およびロックピース30が鋭敏に反応し、摘み部材5の操作が不可能となる。従って、サムターン1は、防犯特性が極めて優れている。
サムターン1は、図11に示すようにキャップ部材2の開放端側(摘み部7とは反対側)から観察した際に施錠状態において摘み部7の先端7aが左方を向くように摘み部材5を装着した場合を例示したが、本発明はこれに限定されるものではなく、図14に示すように右方を向くように摘み部材5が装着されても良い。この場合、サムターン1は、ストッパー部材50が図11に示す状態に対して180ー反転した状態となるが、上記したサムターン1と同様に摘み部7を上方に突き上げる方向の外力F1に反応して不正開錠防止機構が作動し、摘み部材5の回動が阻止される。
サムターン1は、バネ37,47によってロックピース30や解除ピース40が付勢された構成を有するが、本発明はこれに限定されるものではなく、いずれか一方や双方がない構成や、解除ピース40の解除片43を突出片35に突き当ててロックピース30を回動させるカム的な機構だけでロックピース30や解除ピース40を動作させる構成としてもよい。かかる構成によれば、サムターン1の構成をより一層単純化し、部品点数を削減すると共に、製造工程を簡略化することができる。
本発明の一実施形態のサムターンを示す斜視図である。 図1に示すサムターンの分解斜視図である。 図1に示すサムターンの断面図である。 (a)は図1に示すサムターンにおいて採用されているキャップ部材を示す正面図であり、(b)は同(a)のA−A断面図である。 (a)は図1に示すサムターンにおいて採用されている摘み部材を示す正面図であり、(b)は(a)のA方向矢視図、(c)は(a)のB方向矢視図、(d)は(a)のC方向矢視図である。 (a)は図1に示すサムターンにおいて採用されている回転軸を示す一部破断正面図であり、(b),(c)はそれぞれ(a)のA,B方向矢視図である。 (a)は図1に示すサムターンに採用されているベース部材を裏面図であり、(b)は(a)のA−A断面図、(c)は(a)に示すベース部材の表面図、(d)は(a)のB方向矢視図、(e)は(a)のC−C断面図である。 (a)は図1に示すサムターンに採用されているロックピースを示す一部破断正面図であり、(b),(c)はそれぞれ(a)のA,B方向矢視図、(d)は(a)の背面図である。 (a)は図1に示すサムターンに採用されている解除ピースを示す一部破断正面図であり、(b),(c)はそれぞれ(a)のA,B方向矢視図、(d)は(a)の背面図である。 (a)は図1に示すサムターンに採用されているストッパー部材を示す一部破断正面図であり、(b),(c)はそれぞれ(a)のA,B方向矢視図、(d)は(a)の背面図である。 図1に示すサムターンの内部構造および動作を示す概念図である。 図1に示すサムターンを備えた錠前の設置状態を示す斜視図である。 図12に示す錠前において採用されている錠本体を示す斜視図である。 図1に示すサムターンの変形例を示す概念図である。
1 サムターン
5 摘み部材
6 摘み
7 摘み部
8 回転軸
20 ベース部材
21 軸挿通孔
22 係止部
23 回転阻止片
30 ロックピース
36 ロック片
37,47 バネ
40 解除ピース
43 解除片
50 ストッパー部材
52 突片部
55 凹部
60 錠前

Claims (10)

  1. 摘みと回転軸とを有し、所定方向に移動可能に支持された摘み部材と、当該摘み部材と一体的に回転する回転阻止手段と、当該回転阻止手段に対して近接離反可能な制動手段とを有し、回転阻止手段は、周壁部を有し、当該周壁部に係合部が設けられたものであり、制動手段は、回転阻止手段の係合部と係合可能な被係合部を有し、所定の制動回転軸を中心として回動するものであり、常時は、回転阻止手段の係合部と制動手段の被係合部とが係合不可能な位置にあり、回転軸の移動に伴って回転阻止手段の係合部が前記被係合部の回動領域に移動すると共に制動手段の被係合部が回転阻止手段に近接し、係合部と制動手段の被係合部とが係合して回転軸が回転不能に支持されることを特徴とするサムターン。
  2. 摘みと回転軸とを有し、所定方向に移動可能に支持された摘み部材と、当該摘み部材と一体的に回転する回転阻止手段と、当該回転阻止手段に対して近接離反可能な制動手段と、当該制動手段を回転阻止手段から離反させて離反構造を形成する離反手段とを有し、回転軸の移動に伴って前記離反構造が解除され、制動手段が、回転阻止手段に近接して回転阻止手段と係合し、回転軸が回転不能に支持されることを特徴とするサムターン。
  3. 摘みと回転軸とを有し、所定方向に移動可能に支持された摘み部材と、当該摘み部材と一体的に回転する回転阻止手段と、当該回転阻止手段に対して近接離反可能な制動手段と、当該制動手段を回転阻止手段から離反した状態に支持して支持構造を形成する離反手段とを有し、回転阻止手段は、摘み部材の移動に伴って所定の軌跡に沿って移動するものであり、離反手段は、所定の位置にある回阻止手段の外周部に当接し前記軌跡を横切ることにより前記支持構造を形成し、当該支持構造は、回阻止手段の移動に伴って解除され、制動手段は、前記支持構造が解除されることを条件として回阻止手段に近接して係合し、摘み部材の回動を阻止することを特徴とするサムターン。
  4. 離反手段は、先端が制動手段に当接し、所定の回転中心を中心として回動自在な支持部を有し、当該支持部の中間部位において摘み部材の移動に伴って回転阻止手段が移動して形成される軌跡が交差することを特徴とする請求項3に記載のサムターン。
  5. 制動手段および離反手段は、それぞれ回阻止手段に近接する方向に所定の付勢力で付勢されており、制動手段に作用する付勢力は、離反手段に作用する付勢力よりも小さいことを特徴とする請求項乃至のいずれかに記載のサムターン。
  6. 回転阻止手段は、所定の回転中心を中心として回転可能であり、回転阻止手段の移動に伴って突出部が侵入し、突出部の周方向への移動を阻止されることを特徴とする請求項1乃至のいずれかに記載のサムターン。
  7. 回転阻止手段は、外周部と、当該外周部から径方向外側に突出した突出部とを有し、所定の回転領域内の回転中心を中心として回転可能に配置されており、前記回転領域内には、摘み部材が移動可能な方向とは逆方向の成分を有する外力が摘み部材に作用した場合に突出部に当接し、回転阻止部材の回を阻止する移動阻止部が設けられていることを特徴とする請求項1乃至6のいずれかに記載のサムターン。
  8. 摘み部材は、回転軸と摘みとが偏心した位置関係にあることを特徴とする請求項1乃至7のいずれかに記載のサムターン。
  9. 制動手段は、回阻止手段に近接する方向に付勢されていることを特徴とする請求項1乃至8のいずれかに記載のサムターン。
  10. 施錠片を錠箱から出入りさせるための動作機構を有し、当該動作機構に請求項1乃至のいずれかに記載のサムターンが接続されていることを特徴とする錠前。
JP2004071360A 2004-03-12 2004-03-12 サムターン、並びに、錠前 Expired - Fee Related JP4495489B2 (ja)

Priority Applications (1)

Application Number Priority Date Filing Date Title
JP2004071360A JP4495489B2 (ja) 2004-03-12 2004-03-12 サムターン、並びに、錠前

Applications Claiming Priority (1)

Application Number Priority Date Filing Date Title
JP2004071360A JP4495489B2 (ja) 2004-03-12 2004-03-12 サムターン、並びに、錠前

Publications (2)

Publication Number Publication Date
JP2005256491A JP2005256491A (ja) 2005-09-22
JP4495489B2 true JP4495489B2 (ja) 2010-07-07

Family

ID=35082491

Family Applications (1)

Application Number Title Priority Date Filing Date
JP2004071360A Expired - Fee Related JP4495489B2 (ja) 2004-03-12 2004-03-12 サムターン、並びに、錠前

Country Status (1)

Country Link
JP (1) JP4495489B2 (ja)

Families Citing this family (1)

* Cited by examiner, † Cited by third party
Publication number Priority date Publication date Assignee Title
CN107890185B (zh) * 2017-11-20 2024-06-04 东莞市怡丰锁业有限公司 一种简单易用的锁扣

Family Cites Families (3)

* Cited by examiner, † Cited by third party
Publication number Priority date Publication date Assignee Title
JP2001193326A (ja) * 2000-01-06 2001-07-17 Nippon Kaba Kk サムターン錠装置
JP4338452B2 (ja) * 2002-08-26 2009-10-07 株式会社ゴール 扉錠とそのサムターン装置
JP4359454B2 (ja) * 2003-06-30 2009-11-04 美和ロック株式会社 防犯サムターン

Also Published As

Publication number Publication date
JP2005256491A (ja) 2005-09-22

Similar Documents

Publication Publication Date Title
CN102971469B (zh) 锁具机构
US20040011098A1 (en) Compound locking device
US8485006B2 (en) Disc tumbler cylinder lock and key combination
US20100319420A1 (en) Wafer cylinder having blockable wafer tumblers
US6446475B1 (en) Switchlock assembly with snap-in cam
CN1210572A (zh) 钥匙控制的弹簧锁
JP4495489B2 (ja) サムターン、並びに、錠前
JP2001040918A (ja) シリンダ錠
JP5139352B2 (ja) 錠前装置
JP4445211B2 (ja) サムターン
JP4405903B2 (ja) ステアリングロック装置
JP2542160B2 (ja) 施錠装置
JP4147331B2 (ja) カム送り防止機構
JP4388325B2 (ja) 錠装置
JP4514204B2 (ja) 錠前
JP3090356B2 (ja) シリンダ錠
JP4820203B2 (ja) 扉錠
JP2006316503A (ja) シリンダ錠
JP3992675B2 (ja) 錠前、並びに、サムターン
JP3142446B2 (ja) シリンダ錠
JP2005232940A (ja) 鍵回動カバー
JP2002303066A (ja) シリンダ錠
JPH0454281Y2 (ja)
JP4832216B2 (ja) サムターン
JP4328665B2 (ja) 錠装置

Legal Events

Date Code Title Description
A621 Written request for application examination

Free format text: JAPANESE INTERMEDIATE CODE: A621

Effective date: 20070306

A977 Report on retrieval

Free format text: JAPANESE INTERMEDIATE CODE: A971007

Effective date: 20090723

A131 Notification of reasons for refusal

Free format text: JAPANESE INTERMEDIATE CODE: A131

Effective date: 20090917

RD13 Notification of appointment of power of sub attorney

Free format text: JAPANESE INTERMEDIATE CODE: A7433

Effective date: 20091013

A521 Request for written amendment filed

Free format text: JAPANESE INTERMEDIATE CODE: A523

Effective date: 20091111

TRDD Decision of grant or rejection written
A01 Written decision to grant a patent or to grant a registration (utility model)

Free format text: JAPANESE INTERMEDIATE CODE: A01

Effective date: 20100330

A01 Written decision to grant a patent or to grant a registration (utility model)

Free format text: JAPANESE INTERMEDIATE CODE: A01

A61 First payment of annual fees (during grant procedure)

Free format text: JAPANESE INTERMEDIATE CODE: A61

Effective date: 20100409

R150 Certificate of patent or registration of utility model

Free format text: JAPANESE INTERMEDIATE CODE: R150

FPAY Renewal fee payment (event date is renewal date of database)

Free format text: PAYMENT UNTIL: 20130416

Year of fee payment: 3

S533 Written request for registration of change of name

Free format text: JAPANESE INTERMEDIATE CODE: R313533

FPAY Renewal fee payment (event date is renewal date of database)

Free format text: PAYMENT UNTIL: 20130416

Year of fee payment: 3

R350 Written notification of registration of transfer

Free format text: JAPANESE INTERMEDIATE CODE: R350

FPAY Renewal fee payment (event date is renewal date of database)

Free format text: PAYMENT UNTIL: 20140416

Year of fee payment: 4

LAPS Cancellation because of no payment of annual fees