JP4492602B2 - 車両用静電霧化装置 - Google Patents

車両用静電霧化装置 Download PDF

Info

Publication number
JP4492602B2
JP4492602B2 JP2006291760A JP2006291760A JP4492602B2 JP 4492602 B2 JP4492602 B2 JP 4492602B2 JP 2006291760 A JP2006291760 A JP 2006291760A JP 2006291760 A JP2006291760 A JP 2006291760A JP 4492602 B2 JP4492602 B2 JP 4492602B2
Authority
JP
Japan
Prior art keywords
air
discharge electrode
vehicle
passage
wind
Prior art date
Legal status (The legal status is an assumption and is not a legal conclusion. Google has not performed a legal analysis and makes no representation as to the accuracy of the status listed.)
Expired - Fee Related
Application number
JP2006291760A
Other languages
English (en)
Other versions
JP2008105613A5 (ja
JP2008105613A (ja
Inventor
武志 矢野
篤 井坂
晃秀 須川
昭輔 秋定
Current Assignee (The listed assignees may be inaccurate. Google has not performed a legal analysis and makes no representation or warranty as to the accuracy of the list.)
Panasonic Corp
Panasonic Electric Works Co Ltd
Original Assignee
Panasonic Corp
Matsushita Electric Works Ltd
Priority date (The priority date is an assumption and is not a legal conclusion. Google has not performed a legal analysis and makes no representation as to the accuracy of the date listed.)
Filing date
Publication date
Application filed by Panasonic Corp, Matsushita Electric Works Ltd filed Critical Panasonic Corp
Priority to JP2006291760A priority Critical patent/JP4492602B2/ja
Priority to PCT/JP2007/070964 priority patent/WO2008050878A1/en
Publication of JP2008105613A publication Critical patent/JP2008105613A/ja
Publication of JP2008105613A5 publication Critical patent/JP2008105613A5/ja
Application granted granted Critical
Publication of JP4492602B2 publication Critical patent/JP4492602B2/ja
Expired - Fee Related legal-status Critical Current
Anticipated expiration legal-status Critical

Links

Images

Classifications

    • BPERFORMING OPERATIONS; TRANSPORTING
    • B60VEHICLES IN GENERAL
    • B60HARRANGEMENTS OF HEATING, COOLING, VENTILATING OR OTHER AIR-TREATING DEVICES SPECIALLY ADAPTED FOR PASSENGER OR GOODS SPACES OF VEHICLES
    • B60H3/00Other air-treating devices
    • B60H3/02Moistening ; Devices influencing humidity levels, i.e. humidity control
    • B60H3/022Moistening ; Devices influencing humidity levels, i.e. humidity control for only humidifying the air
    • BPERFORMING OPERATIONS; TRANSPORTING
    • B60VEHICLES IN GENERAL
    • B60HARRANGEMENTS OF HEATING, COOLING, VENTILATING OR OTHER AIR-TREATING DEVICES SPECIALLY ADAPTED FOR PASSENGER OR GOODS SPACES OF VEHICLES
    • B60H3/00Other air-treating devices
    • B60H3/02Moistening ; Devices influencing humidity levels, i.e. humidity control
    • B60H3/024Moistening ; Devices influencing humidity levels, i.e. humidity control for only dehumidifying the air

Landscapes

  • Engineering & Computer Science (AREA)
  • Mechanical Engineering (AREA)
  • Air-Conditioning For Vehicles (AREA)
  • Electrostatic Spraying Apparatus (AREA)

Description

本発明は、車両用の静電霧化装置に関するものである。
乗用車等の車両にあっては車室内が密閉空間となっているため車室内に煙草等の臭いがこもるという問題がある。このために濾過式の空気浄化装置が各種提供されているが、車室内の壁面等に付着した臭い成分を除去することはできない。
ここにおいて、水を霧化させてナノメータサイズの帯電微粒子水(ナノサイズミスト)を発生させる静電霧化装置(特許文献1参照)が注目されている。この静電霧化装置が発生するナノサイズミストはスーパーオキサイドラジカルやヒドロキシラジカルといったラジカルが含まれていて、脱臭効果や、ウイルス・カビ菌の抑制効果、アレル物質不活化効果等があることから近年注目されている。このために上記ナノサイズミストを車室内に送り出すことで、車室内の空気中の臭い成分だけでなく、車室内の壁面やシート等に付着した臭い成分の脱臭も行うことができるとともに、人の衣服に付着して車室内に持ち込まれた花粉等のアレル源も抑制することができる。
この場合、車室内にナノサイズミストを行き渡らせるという点からは、車両が備える空調装置が出力する風にナノサイズミストを乗せることが一番好ましいことになるが、静電霧化装置として、高電圧が印加される放電電極への水の供給を放電電極を冷却して空気中の水分を結露させることで行うものを用いると、空調装置のエバポレータやヒータ以降の送風路中に静電霧化装置を配置したのでは、空調装置において高温度あるいは低湿度の空気を送風する時、ナノサイズミストが発生するまでに非常に時間がかかることになる。また、エバポレータより前の送風路中に置いた場合には、空調装置において外気導入を選択した時、零度以下の環境条件に置かれる場合があり、この時には放電電極を冷却してもその表面に結露を生じさせることができないために、ナノサイズミストを発生させることができない。
特許第3260150号公報
本発明は上記の従来の問題点に鑑みて発明したもので、ナノサイズミストを有効に発生させることと車載の空調装置の送風を利用することとを両立させることができる車両用静電霧化装置を提供することを課題とするものである。
上記課題を解決するために本発明に係る静電霧化装置は、高電圧が印加される放電電極と、上記放電電極を冷却して放電電極部分に空気中の水分を基に静電霧化させるための水を生成させる冷却手段とを備えて、車載用空調装置の吹出口から吐出される風に静電霧化で発生させたミストを乗せて車室内に導く静電霧化装置であって、エバポレータやヒータやブロアファンを備える車載用空調装置の吹出口に至る送風路外に設置されて、上記送風路に上記ミストを導く導入管と、車室内に開口する吸引口から車室内空気を放電電極付近に導く通気路と、上記ミストを送り出す風を発生させる送風手段と、上記ブロアファンの回転数と上記送風路内を流れる風の速度を検知する検知手段の検出結果との一方により上記送風手段を制御する制御部とを備え、該通気路を通じて取り込んだ車室内空気から上記水分を発生させ、上記制御部により上記送風手段を制御して上記送風路内を流れる風の速度に応じて上記導入管内を流れる風の速度を調整するものであることに特徴を有している。
送風路を流れる調整された空気の影響を受けることなく車室内の空気から結露水を生成してナノサイズミストを発生させることができるものであり、また送風路を流れて吹出口から車室内に吹き出す風にナノサイズミストを効率良く乗せることができる。
上記吸引口は車両の運転席前方に位置していることが、運転者の呼気のために湿度が高くなっている空気が得やすい。
上記通気路にエアフィルターを設けておけば、車室内のゴミや埃が原因で静電霧化動作に支障が生じることを防ぐことをできる。
ミストを送風路に導く上記導入管内に、送風路内を流れる風の速度とほぼ同じ速度の風を流す送風手段を備えていると、送風路を流れる風にナノサイズミストを乗せる部分で乱流が生じにくく、効率よく室内にナノサイズミストを散布することができる。
上記放電電極に対向して放電電極との間に高電圧が印加される対向電極を備えているものであることが好ましい。
本発明は、放電電極を冷却して放電電極部分に空気中の水分を基に静電霧化させるための水を生成してこの水を静電霧化するために、水の補給の必要がないものであり、しかも送風路を流れる調整された空気の影響を受けることなく結露水の生成とナノサイズミストの発生とを行うことができる。特に比較的温度が安定した車室内の空気を取り込んで結露させるために、結露による水分供給を安定的に行うことができる。また発生させたナノサイズミストは送風路を流れる風に確実に乗せて吹出口から車室内に行き渡らせることができる。
以下、本発明を添付図面に示す実施形態に基いて説明すると、図3において、図中2は車両内に設置される空調装置であり、空調ダクトからなる送風路20を備えているとともに、一端が吸込口となっている上記送風路20の他端は複数に分岐して夫々吹出口22となっている。上記吸込口は、切換手段(図示せず)によって車外又は車室内のいずれかに選択的に連通する。
また、上記送風路20内には、ブロアファン23とエアフィルタ24,エバポレータ25、ヒータ26が配設されている。上記ブロアファン23の作動により、吸込口からエアフィルタ24を介して車外の空気又は車室内の空気が吸い込まれて送風路20に送り出され、吹出口22から車室内に向けて風が吹き出す。上記エバポレータ25はコンプレッサ及びコンデンサ(図示せず)を備える冷房用冷媒循環路中にあって冷凍サイクルを形成するものであり、液状の冷媒がエバポレータ25において送風路20内の空気と熱交換する時、車室内に送り出される空気が冷やされるとともに除湿される。また前記ヒータ26は電動ポンプを備えてエンジンの冷却水が流れる熱媒循環路中にあり、上記電動ポンプによってエンジンにて加熱された熱媒(冷却水)が送風路20内の空気と熱交換する時、車室内に送り出される空気が温められる。
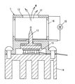
一方、ナノメータサイズの帯電微粒子水(ナノサイズミストM)を発生させる静電霧化装置1は、図2に示すように、放電電極11と、この放電電極11を囲む絶縁材からなる筒体16の先端開口部に配設されて上記放電電極11に対向するリング状の対向電極12と、上記放電電極11を冷却することで空気中の水分を放電電極11上に結露させる冷却手段13と、放電電極11と対向電極12との間に高電圧を印加する高圧電源部15とからなるもので、ペルチェ素子で構成されているとともに冷却側に上記放電電極11が熱的に接続されている上記冷却手段13は、その放熱側に放熱フィン14を備えている。
この静電霧化装置1では、冷却手段13で放電電極11を冷却することで空気中の水分を結露させて放電電極11上に結露水を生成するとともに、上記電極11,12間に高電圧を印加すれば、上記結露水は放電電極11の先端に集まるとともに対向電極12との間の放電によってレイリ一分裂を繰り返してナノサイズミストMとなり、送風手段であるモータファン19による風に乗って前記放出口17から外部に吐出される。
ここにおいて、上記静電霧化装置1は、図1に示すように、前記空調装置2における送風路20外に設置されているとともに、上記放出口17に接続された導入管18が送風路20における吹出口22の近傍において送風路20内に入り込んで、導入管18の先端開口が送風路20内における風の流れの方向に向けられている。
また、上記静電霧化装置1は、車室内に開口する吸引口30を一端に備えた通気路3が接続されており、この通気路3内には放熱フィン14に冷却風を送るモータファン19と、エアフィルター31とが設置されており、上記冷却手段13で冷却される空気は、モータファン19の作動によって上記通気路3を通じて取り込まれた車室内の空気となっている。そしてモータファン19から静電霧化装置1に送られる風の一部は上記筒体16の側面開口から前記筒体16内に入り、筒体16の先端開口である放出口17から上記導入管18を通じて上記送風路20内に送り込まれる。
上記吸引口30は、図4及び図5に示すように、車室の前方側に配されたインパネ部分に位置すること、殊に運転席の前方に位置することが好ましく、またフロアマット等のゴミが入り込まない高さにあることが望ましい。更には空調装置2の吹出口22から吐出される風の影響を避けるために、吹出口22からは少なくとも10cm、好ましくは15cm以上離れたところに位置させておくことが望ましい。
このものにおいては、静電霧化装置1が送風路20外にあるために、送風路20を流れる調整された空気の影響を受けることなく結露水を生成してナノサイズミストMを発生させることができるものであり、特に運転者が存在する運転席付近の湿度が高い空気を吸引口30から取り込んでこれを冷却することで結露させるために、水分供給を確実に行えるものであり、ナノサイズミストMが発生するまでに時間がかかることはない。
そして放出口17から導入管18を経て送風路20内に入ったナノサイズミストMは、送風路20内を流れる風に乗って吹出口22から車室内に拡散される。この時、導入管18の先端開口が送風路20内の風の流れにおける吹出口22の方向に向けられているために、上記風の流れが導入管18の先端開口からのナノサイズミストMの吐出を妨げてしまうようなことがない。
上記導入管18としては、帯電しにくい材質からなるとともに、車両への設置並びに気流の都合上、軟質材からなる可撓性を有するとともに内面が滑らかなもの、たとえばPVC管からなるものを用いてナノサイズミストMの流れに乱流が生じることを防ぎ、導入管18の先端開口から吐出されるナノサイズミストMの量が大きく減少してしまわないようにしている。
通気路3内に配した前記エアフィルター31は、静電霧化に影響するサイズが大きい埃を遮断するためのもので、たとえば0.5〜1.0mm間隔の格子状のものを好適に用いることができる。もちろん、これより細かい格子のものであってもよいが、この場合、目詰まりしやすくなる。
モータファン19としては、その送風量が可変となっているものを用いるとともに、送風路20内を流れる風の速度の検知手段の出力、もしくは前記ブロアファン23の回転数に合わせてモータファン19の送風量を制御する制御部を設けることで、送風路20内の風速とほぼ等しい速度の風を上記導入管18内において得られるようにすることが好ましい。導入管18から吐出するナノサイズミストMが送風路20を流れる風に乗りやすくなり、車室内への散布効率が高くなる。
本発明の実施の形態の一例の概略断面図である。 同上の静電霧化ユニット部分の断面図である。 同上の空調装置の全体構成を示す概略断面図である。 同上の車室内の斜視図である。 同上の概略断面図である。
符号の説明
1 静電霧化装置
2 空調装置
3 通気路
18 導入管
20 送風路
30 吸引口

Claims (5)

  1. 高電圧が印加される放電電極と、上記放電電極を冷却して放電電極部分に空気中の水分を基に静電霧化させるための水を生成させる冷却手段とを備えて、車載用空調装置の吹出口から吐出される風に静電霧化で発生させたミストを乗せて車室内に導く静電霧化装置であって、エバポレータやヒータやブロアファンを備える車載用空調装置の吹出口に至る送風路外に設置されて、上記送風路に上記ミストを導く導入管と、車室内に開口する吸引口から車室内空気を放電電極付近に導く通気路と、上記ミストを送り出す風を発生させる送風手段と、上記ブロアファンの回転数と上記送風路内を流れる風の速度を検知する検知手段の検出結果との一方により上記送風手段を制御する制御部とを備え、該通気路を通じて取り込んだ車室内空気から上記水分を発生させ、上記制御部により上記送風手段を制御して上記送風路内を流れる風の速度に応じて上記導入管内を流れる風の速度を調整するものであることを特徴とする車両用静電霧化装置。
  2. 上記吸引口は車両の運転席前方に位置していることを特徴とする請求項1記載の車両用静電霧化装置。
  3. 上記通気路にエアフィルターが設けられていることを特徴とする請求項1または2記載の車両用静電霧化装置。
  4. 上記制御部により上記送風手段を制御して送風路内を流れる風の速度とほぼ同じ速度の風を上記導入管内に流すものであることを特徴とする請求項1〜3のいずれか1項に記載の車両用静電霧化装置。
  5. 上記放電電極に対向して放電電極との間に高電圧が印加される対向電極を備えていることを特徴とする請求項1〜4のいずれか1項に記載の車両用静電霧化装置。
JP2006291760A 2006-10-26 2006-10-26 車両用静電霧化装置 Expired - Fee Related JP4492602B2 (ja)

Priority Applications (2)

Application Number Priority Date Filing Date Title
JP2006291760A JP4492602B2 (ja) 2006-10-26 2006-10-26 車両用静電霧化装置
PCT/JP2007/070964 WO2008050878A1 (en) 2006-10-26 2007-10-22 Electrostatically atomizing kit for use in a vehicle

Applications Claiming Priority (1)

Application Number Priority Date Filing Date Title
JP2006291760A JP4492602B2 (ja) 2006-10-26 2006-10-26 車両用静電霧化装置

Publications (3)

Publication Number Publication Date
JP2008105613A JP2008105613A (ja) 2008-05-08
JP2008105613A5 JP2008105613A5 (ja) 2008-07-10
JP4492602B2 true JP4492602B2 (ja) 2010-06-30

Family

ID=38983506

Family Applications (1)

Application Number Title Priority Date Filing Date
JP2006291760A Expired - Fee Related JP4492602B2 (ja) 2006-10-26 2006-10-26 車両用静電霧化装置

Country Status (2)

Country Link
JP (1) JP4492602B2 (ja)
WO (1) WO2008050878A1 (ja)

Families Citing this family (12)

* Cited by examiner, † Cited by third party
Publication number Priority date Publication date Assignee Title
JP4864753B2 (ja) * 2007-02-07 2012-02-01 カルソニックカンセイ株式会社 車両用空調装置
JP5120168B2 (ja) * 2008-09-12 2013-01-16 パナソニック株式会社 空気調和機
JP2010100220A (ja) * 2008-10-24 2010-05-06 Panasonic Electric Works Co Ltd 車室内用静電霧化装置
JP5513787B2 (ja) * 2009-06-26 2014-06-04 パナソニック株式会社 放電装置
JP2011038747A (ja) * 2009-08-18 2011-02-24 Panasonic Electric Works Co Ltd 放電装置を備えた送風装置
JP5603187B2 (ja) * 2010-09-24 2014-10-08 パナソニック株式会社 車両用静電霧化システム
FR2966225B1 (fr) 2010-10-15 2012-11-16 Peugeot Citroen Automobiles Sa Dispositif de rafraichissement de l'air d'une enceinte
JP2013052784A (ja) * 2011-09-05 2013-03-21 Denso Corp 運転支援装置
FR2995800B1 (fr) * 2012-09-24 2015-03-20 Peugeot Citroen Automobiles Sa Dispositif de nebulisation compact pour un dispositif de traitement d’air
CN103776142A (zh) * 2013-12-19 2014-05-07 柳州正菱集团有限公司 一种长头汽车空调进气装置
GB2547474B (en) * 2016-02-22 2019-01-23 Jaguar Land Rover Ltd Ionized air delivery system
CN107894028B (zh) * 2017-11-14 2020-03-13 青岛海信日立空调系统有限公司 空调器及其控制方法、多联机空调系统

Family Cites Families (12)

* Cited by examiner, † Cited by third party
Publication number Priority date Publication date Assignee Title
JPS5625012A (en) * 1979-08-02 1981-03-10 Nippon Denso Co Ltd Air conditioning device for automobile
JPS56161814U (ja) * 1980-05-06 1981-12-02
JPS5873415A (ja) * 1981-07-03 1983-05-02 Nippon Denso Co Ltd 自動車用空調装置
JPS63110112U (ja) * 1987-01-12 1988-07-15
JPH06115347A (ja) * 1992-10-02 1994-04-26 Nippondenso Co Ltd 空気調和装置
JPH06143997A (ja) * 1992-11-04 1994-05-24 Matsushita Electric Ind Co Ltd 車両用加湿装置
JPH06328937A (ja) * 1993-05-24 1994-11-29 Nec Home Electron Ltd 車 両
JP3669994B2 (ja) * 2003-09-22 2005-07-13 シャープ株式会社 車載用空気浄化装置
JP4016934B2 (ja) * 2003-10-30 2007-12-05 松下電工株式会社 静電霧化装置
GB0328003D0 (en) * 2003-12-03 2004-01-07 Quill Internat Ind Plc A mist-spraying apparatus
JP4625267B2 (ja) * 2004-04-08 2011-02-02 パナソニック電工株式会社 静電霧化装置
JP2007163109A (ja) * 2005-12-16 2007-06-28 Matsushita Electric Works Ltd 静電霧化装置を備えた空調装置

Also Published As

Publication number Publication date
WO2008050878A1 (en) 2008-05-02
JP2008105613A (ja) 2008-05-08

Similar Documents

Publication Publication Date Title
JP4396672B2 (ja) 車両用静電霧化装置
JP4470710B2 (ja) 車両用空気調和装置
JP4333779B2 (ja) 送風装置
JP4864753B2 (ja) 車両用空調装置
JP4492602B2 (ja) 車両用静電霧化装置
JP5368844B2 (ja) 静電霧化装置を備えた空調装置
WO2010150770A1 (ja) 送風装置
JP2007163109A (ja) 静電霧化装置を備えた空調装置
JP5060445B2 (ja) 車両用静電霧化システム
JP4966169B2 (ja) 送風装置
JP2008105613A5 (ja)
JP5603187B2 (ja) 車両用静電霧化システム
US20110146816A1 (en) Device for disinfecting a motor vehicle air-conditioning system
JP4948108B2 (ja) 車両用空調装置
JP5065157B2 (ja) 空気調和装置
JP2009051387A (ja) イオン発生器付き車両用空調装置
JP4492531B2 (ja) 静電霧化装置を備えた空調装置
JP4824520B2 (ja) 静電霧化装置
JP5411881B2 (ja) 静電霧化装置を備えた空調装置
JP5130148B2 (ja) 車両用空調装置
JP2008174142A (ja) 車両室内浄化装置
HK1128663B (en) Electrostatic atomizing apparatus for use in vehicle
HK1124652B (en) Blower apparatus
HK1141494B (en) Electrostatically atomizing kit for use in a vehicle

Legal Events

Date Code Title Description
A621 Written request for application examination

Free format text: JAPANESE INTERMEDIATE CODE: A621

Effective date: 20080415

A521 Request for written amendment filed

Free format text: JAPANESE INTERMEDIATE CODE: A523

Effective date: 20080507

A521 Request for written amendment filed

Free format text: JAPANESE INTERMEDIATE CODE: A523

Effective date: 20080526

A131 Notification of reasons for refusal

Free format text: JAPANESE INTERMEDIATE CODE: A131

Effective date: 20090512

A521 Request for written amendment filed

Free format text: JAPANESE INTERMEDIATE CODE: A523

Effective date: 20090713

A02 Decision of refusal

Free format text: JAPANESE INTERMEDIATE CODE: A02

Effective date: 20091006

A521 Request for written amendment filed

Free format text: JAPANESE INTERMEDIATE CODE: A523

Effective date: 20100106

A911 Transfer to examiner for re-examination before appeal (zenchi)

Free format text: JAPANESE INTERMEDIATE CODE: A911

Effective date: 20100114

TRDD Decision of grant or rejection written
A01 Written decision to grant a patent or to grant a registration (utility model)

Free format text: JAPANESE INTERMEDIATE CODE: A01

Effective date: 20100316

A01 Written decision to grant a patent or to grant a registration (utility model)

Free format text: JAPANESE INTERMEDIATE CODE: A01

A61 First payment of annual fees (during grant procedure)

Free format text: JAPANESE INTERMEDIATE CODE: A61

Effective date: 20100329

FPAY Renewal fee payment (event date is renewal date of database)

Free format text: PAYMENT UNTIL: 20130416

Year of fee payment: 3

FPAY Renewal fee payment (event date is renewal date of database)

Free format text: PAYMENT UNTIL: 20130416

Year of fee payment: 3

FPAY Renewal fee payment (event date is renewal date of database)

Free format text: PAYMENT UNTIL: 20140416

Year of fee payment: 4

LAPS Cancellation because of no payment of annual fees