JP4482765B2 - スイッチング電源装置 - Google Patents

スイッチング電源装置 Download PDF

Info

Publication number
JP4482765B2
JP4482765B2 JP2005289019A JP2005289019A JP4482765B2 JP 4482765 B2 JP4482765 B2 JP 4482765B2 JP 2005289019 A JP2005289019 A JP 2005289019A JP 2005289019 A JP2005289019 A JP 2005289019A JP 4482765 B2 JP4482765 B2 JP 4482765B2
Authority
JP
Japan
Prior art keywords
winding group
winding
secondary side
primary side
sub
Prior art date
Legal status (The legal status is an assumption and is not a legal conclusion. Google has not performed a legal analysis and makes no representation as to the accuracy of the status listed.)
Expired - Fee Related
Application number
JP2005289019A
Other languages
English (en)
Other versions
JP2007104766A (ja
Inventor
渉 中堀
Current Assignee (The listed assignees may be inaccurate. Google has not performed a legal analysis and makes no representation or warranty as to the accuracy of the list.)
TDK Corp
Original Assignee
TDK Corp
Priority date (The priority date is an assumption and is not a legal conclusion. Google has not performed a legal analysis and makes no representation as to the accuracy of the date listed.)
Filing date
Publication date
Application filed by TDK Corp filed Critical TDK Corp
Priority to JP2005289019A priority Critical patent/JP4482765B2/ja
Priority to EP06020616.6A priority patent/EP1770849A3/en
Priority to US11/540,671 priority patent/US7199569B1/en
Publication of JP2007104766A publication Critical patent/JP2007104766A/ja
Application granted granted Critical
Publication of JP4482765B2 publication Critical patent/JP4482765B2/ja
Anticipated expiration legal-status Critical
Expired - Fee Related legal-status Critical Current

Links

Images

Classifications

    • HELECTRICITY
    • H02GENERATION; CONVERSION OR DISTRIBUTION OF ELECTRIC POWER
    • H02MAPPARATUS FOR CONVERSION BETWEEN AC AND AC, BETWEEN AC AND DC, OR BETWEEN DC AND DC, AND FOR USE WITH MAINS OR SIMILAR POWER SUPPLY SYSTEMS; CONVERSION OF DC OR AC INPUT POWER INTO SURGE OUTPUT POWER; CONTROL OR REGULATION THEREOF
    • H02M3/00Conversion of DC power input into DC power output
    • H02M3/22Conversion of DC power input into DC power output with intermediate conversion into AC
    • H02M3/24Conversion of DC power input into DC power output with intermediate conversion into AC by static converters
    • H02M3/28Conversion of DC power input into DC power output with intermediate conversion into AC by static converters using discharge tubes with control electrode or semiconductor devices with control electrode to produce the intermediate AC
    • H02M3/325Conversion of DC power input into DC power output with intermediate conversion into AC by static converters using discharge tubes with control electrode or semiconductor devices with control electrode to produce the intermediate AC using devices of a triode or a transistor type requiring continuous application of a control signal
    • H02M3/335Conversion of DC power input into DC power output with intermediate conversion into AC by static converters using discharge tubes with control electrode or semiconductor devices with control electrode to produce the intermediate AC using devices of a triode or a transistor type requiring continuous application of a control signal using semiconductor devices only
    • HELECTRICITY
    • H01ELECTRIC ELEMENTS
    • H01FMAGNETS; INDUCTANCES; TRANSFORMERS; SELECTION OF MATERIALS FOR THEIR MAGNETIC PROPERTIES
    • H01F30/00Fixed transformers not covered by group H01F19/00
    • H01F30/06Fixed transformers not covered by group H01F19/00 characterised by the structure
    • H01F30/10Single-phase transformers
    • HELECTRICITY
    • H02GENERATION; CONVERSION OR DISTRIBUTION OF ELECTRIC POWER
    • H02MAPPARATUS FOR CONVERSION BETWEEN AC AND AC, BETWEEN AC AND DC, OR BETWEEN DC AND DC, AND FOR USE WITH MAINS OR SIMILAR POWER SUPPLY SYSTEMS; CONVERSION OF DC OR AC INPUT POWER INTO SURGE OUTPUT POWER; CONTROL OR REGULATION THEREOF
    • H02M7/00Conversion of AC power input into DC power output; Conversion of DC power input into AC power output
    • H02M7/003Constructional details, e.g. physical layout, assembly, wiring or busbar connections
    • HELECTRICITY
    • H01ELECTRIC ELEMENTS
    • H01FMAGNETS; INDUCTANCES; TRANSFORMERS; SELECTION OF MATERIALS FOR THEIR MAGNETIC PROPERTIES
    • H01F27/00Details of transformers or inductances, in general
    • H01F27/34Special means for preventing or reducing unwanted electric or magnetic effects, e.g. no-load losses, reactive currents, harmonics, oscillations, leakage fields
    • H01F2027/348Preventing eddy currents

Landscapes

  • Engineering & Computer Science (AREA)
  • Power Engineering (AREA)
  • Dc-Dc Converters (AREA)
  • Circuit Arrangements For Discharge Lamps (AREA)

Description

本発明は、入力直流電圧をスイッチングして得られる入力交流電圧をトランスで変圧し、変圧した出力交流電圧を整流し平滑することにより出力直流電圧を出力するスイッチング電源装置に係り、特にスイッチング周波数の高いものに好適に適用可能なスイッチング電源装置に関する。
従来より、スイッチング電源装置として種々のタイプのものが提案され、実用に供されている。その1つとして、特許文献1および特許文献2に記載されているように、トランスの入力巻線に接続されたスイッチング回路のスイッチング動作により、高圧バッテリからの入力直流電圧をスイッチングし、スイッチングにより得られた入力交流電圧をトランスの入力巻線に入力し、トランスにより変換された出力交流電圧をトランスの出力巻線から取り出す方式がある。スイッチング回路のスイッチング動作に伴い、出力巻線に現れる電圧は、整流回路によって整流された後、平滑回路によって出力直流電圧に変換されて出力されるようになっている。
この種のスイッチング電源装置では、小型化するためにMOS−FET(Metal-Oxide Semiconductor Field-Effect Transistor)などのスイッチング素子がスイッチング回路に用いられている。このようなスイッチング回路では、スイッチング素子が例えば100kHz以上の高周波でスイッチング動作しており、スイッチングにより得られる入力交流電圧が高周波となる。このような高周波の入力交流電圧がトランスに入力されると、表皮効果や近接効果によりトランスの交流抵抗が増加し、これにより発熱が生じ、効率が低下する問題があった。そこで、トランスの交流抵抗を低減するために、例えば、巻線の表面にだけ電流が集中しないように巻線の断面積を小さくしたり、同一方向に流れる巻線同士が互いに近接しないようにトランスの1次側巻線と2次側巻線とを交互に(サンドイッチ状に)積層する構造がトランスに適用されている(特許文献3参照)。
特開2002−369528号公報 特開2001−314080号公報 特開平6−38523号公報 実公平6−2365号公報
しかし、上記したようにトランスの巻線をサンドイッチ状に積層すると、1次側巻線と2次側巻線との対向面積が大きくなるので、1次側巻線と2次側巻線との線間容量が大きくなる。その結果、その線間容量とトランスの直列インダクタンス(励磁インダクタンスおよび漏洩インダクタンス)とによるLC共振により、トランスの出力交流電圧に振幅の大きなリンギングが発生する(特許文献4参照)。このように振幅の大きなリンギングが発生すると、トランスにおけるコアロスやトランスの交流抵抗による発熱量が増加し、効率が低下してしまうという問題があった。
本発明は、かかる問題点に鑑みてなされたもので、その目的は、トランスの出力交流電圧に発生するリンギングを低減することにより、トランスにおけるコアロスやトランスの交流抵抗による発熱量を低減することの可能なスイッチング電源装置を提供することにある。
本発明の第1のスイッチング電源装置は、1次側巻線グループおよび2次側巻線グループを有するトランスと、1次側巻線グループの電流方向を時分割的に変化させるようにスイッチング動作を行うスイッチング回路と、スイッチング回路の動作に応じて2次側巻線グループに現れる交流電圧を整流し平滑化する整流平滑回路とを備えたものである。1次側巻線グループは、1次側第1巻線グループおよび1次側第2巻線グループを互いに直列に接続して構成され、2次側巻線グループは、2次側第1巻線グループおよび2次側第2巻線グループを互いに接続して構成される。このとき、2次側第1巻線グループおよび2次側第2巻線グループがスイッチング回路の動作に応じて互いに逆位相に時分割駆動される。1次側第1巻線グループと2次側巻線グループとの磁気結合は、2次側第1巻線グループが駆動されているときにより密となる一方、2次側第2巻線グループが駆動されているときにより疎となる。一方、1次側第2巻線グループと2次側巻線グループとの磁気結合は、2次側第1巻線グループが駆動されているときにより疎となる一方、2次側第2巻線グループが駆動されているときにより密となる。なお、「グループ」なる文言は、巻線が1または複数あることを意味するものである(以下、同様)。
本発明の第1のスイッチング電源装置では、1次側第1巻線グループおよび1次側第2巻線グループの、2次側巻線グループに対する磁気結合の疎密が時分割的に互いに逆位相に変化する。このとき、1次側第1巻線グループおよび1次側第2巻線グループと、2次側巻線グループとでは、トランスの原理上、電流の流れる向きが互いに逆向きになる。これより、1次側巻線グループのうち2次側巻線グループとより密に磁気結合する巻線グループでは、電流の流れる向きが同一である巻線グループ同士を近接させた場合と比べて、近接効果の影響が低下するので交流抵抗が低くなる。一方、1次側巻線グループのうち2次側巻線グループとより疎に磁気結合する巻線グループでは、1次側巻線グループのうち2次側巻線グループとより密に磁気結合する巻線グループと比べて、近接効果により交流抵抗が高くなる。
このように、1次側第1巻線グループおよび1次側第2巻線グループは、互いに異なるインピーダンスを有するが、互いに直列に接続されているので、1次側巻線グループのうち交流抵抗の高い方の巻線グループにも、必ず、スイッチング回路から入力された交流電流が流れる。そのため、1次側巻線グループのうち交流抵抗の高い方の巻線グループの交流抵抗により、トランスの線間容量とトランスの直列インダクタンス(励磁インダクタンスおよび漏洩インダクタンス)とによるLC共振によってトランスの出力交流電圧に発生するリンギングが減衰される。
本発明の第2のスイッチング電源装置は、1次側巻線グループおよび2次側巻線グループを有するトランスと、1次側巻線グループの電流方向を時分割的に変化させるようにスイッチング動作を行うスイッチング回路と、スイッチング回路の動作に応じて2次側巻線グループに現れる交流電圧を整流し平滑化する整流平滑回路とを備えたものである。1次側巻線グループは、1次側第1巻線グループおよび1次側第2巻線グループを互いに直列に接続して構成され、2次側巻線グループは、2次側第1巻線グループおよび2次側第2巻線グループを互いに接続して構成される。1次側第1巻線グループは、2次側第2巻線グループよりも2次側第1巻線グループに近く配置され、1次側第2巻線グループは、2次側第1巻線グループよりも2次側第2巻線グループに近く配置されている。整流平滑回路は、2次側第1巻線グループおよび2次側第2巻線グループがスイッチング回路の動作に応じて互いに逆位相に時分割駆動されるように2次側巻線グループに接続された第1整流素子および第2整流素子を有する。
ここで、上記トランスが例えば中足の設けられた磁心を有するときは、2次側第1巻線グループ、2次側第2巻線グループ、1次側第1巻線グループおよび1次側第2巻線グループをそれぞれ、中足の延在方向に平行な円筒面内に巻回して構成してもよいし、中足の延在方向に垂直な面内に巻回して構成してもよい。また、1次側の巻線グループの各巻線と、2次側の巻線グループの各巻線とが交互に積層されていることが好ましく、積層方向に上下対称に積層されていることがより好ましい。例えば、2次側第1巻線グループ、1次側第1巻線グループ、2次側第2巻線グループおよび1次側第2巻線グループがこの順に積層されていることが好ましく、2次側第1巻線グループ、1次側第1巻線グループ、1次側第2巻線グループおよび2次側第2巻線グループがこの順に積層されていることがより好ましい。
本発明の第2のスイッチング電源装置では、整流平滑回路により、2次側第1巻線グループおよび2次側第2巻線グループがスイッチング回路の動作に応じて互いに逆位相に時分割駆動される。1次側第1巻線グループは、2次側第2巻線グループよりも2次側第1巻線グループに近く配置され、1次側第2巻線グループは、2次側第1巻線グループよりも2次側第2巻線グループに近く配置されている。このとき、1次側第1巻線グループは2次側第2巻線グループよりも2次側第1巻線グループに近く配置されているので、2次側第1巻線グループが駆動されているときは2次側巻線グループとより密に磁気結合し、2次側第2巻線グループが駆動されているときは2次側巻線グループとより疎に磁気結合する。一方、1次側第2巻線グループは2次側第1巻線グループよりも2次側第2巻線グループに近く配置されているので、2次側第2巻線グループが駆動されているときは2次側巻線グループとより密に磁気結合し、2次側第1巻線グループが駆動されているときは2次側巻線グループとより疎に磁気結合する。ここで、1次側第1巻線グループおよび1次側第2巻線グループと、2次側巻線グループとはトランスの原理上、電流の流れる向きが互いに逆向きになる。これより、1次側巻線グループのうち2次側巻線グループとより密に磁気結合する巻線グループでは、電流の流れる向きが同一である巻線グループ同士を近接させた場合と比べて、近接効果による影響が低下するので交流抵抗が低くなる。一方、1次側巻線グループのうち2次側巻線グループとより疎に磁気結合する巻線グループでは、1次側巻線グループのうち2次側巻線グループとより密に磁気結合する巻線グループと比べて、近接効果により交流抵抗が高くなる。
このように、1次側第1巻線グループおよび1次側第2巻線グループは、互いに異なるインピーダンスを有するが、互いに直列に接続されているので、1次側巻線グループのうち交流抵抗の高い方の巻線グループにも、必ず、スイッチング回路から入力された交流電流が流れる。そのため、1次側巻線グループのうち交流抵抗の高い方の巻線グループの交流抵抗により、トランスの線間容量とトランスの直列インダクタンス(励磁インダクタンスおよび漏洩インダクタンス)とによるLC共振によってトランスの出力交流電圧に発生するリンギングが減衰される。
本発明の第3のスイッチング電源装置は、1次側第1巻線グループおよび1次側第2巻線グループを互いに接続して構成された1次側巻線グループと、2次側第1巻線グループおよび2次側第2巻線グループを互いに接続して構成された2次側巻線グループとを有するトランスと、1次側第1巻線グループおよび1次側第2巻線グループが互いに逆位相に時分割駆動されるようにスイッチング動作を行うスイッチング回路と、スイッチング回路の動作に応じて2次側巻線グループに現れる交流電圧を整流し平滑化する整流平滑回路とを備えたものである。このとき、2次側第1巻線グループおよび2次側第2巻線グループがスイッチング回路の動作に応じて互いに逆位相に時分割駆動される。1次側第1巻線グループは、2次側第1巻線グループが駆動されているときに2次側巻線グループとの磁気結合がより密となる1次側第1サブ巻線グループと、より疎となる1次側第2サブ巻線グループとを互いに直列に接続して構成される。一方、1次側第2巻線グループは、2次側第2巻線グループが駆動されているときに2次側巻線グループとの磁気結合がより密となる1次側第3サブ巻線グループと、より疎となる1次側第4サブ巻線グループとを互いに直列に接続して構成される。
本発明の第3のスイッチング電源装置では、1次側第1巻線グループおよび1次側第2巻線グループは、スイッチング回路の動作に応じて時分割で互いに逆位相に駆動される。このとき、1次側第1巻線グループでは、2次側巻線グループに対する磁気結合が密となる部分(1次側第1サブ巻線グループ)と2次側巻線グループに対する磁気結合が疎となる部分(1次側第2サブ巻線グループ)とが形成される。一方、1次側第2巻線グループでは、2次側巻線グループに対する磁気結合が密となる部分(1次側第3サブ巻線グループ)と2次側巻線グループに対する磁気結合が疎となる部分(1次側第4サブ巻線グループ)とが形成される。
このとき、1次側第1サブ巻線グループおよび1次側第2サブ巻線グループと、2次側巻線グループとはトランスの原理上、電流の流れる向きが互いに逆向きになる。これより、1次側第1サブ巻線グループでは、電流の流れる向きが同一である巻線グループ同士を近接させた場合と比べて、近接効果による影響が低下するので交流抵抗が低くなる。一方、1次側第2サブ巻線グループでは、1次側第1サブ巻線グループと比べて、近接効果により交流抵抗が高くなる。同様に、1次側第3サブ巻線グループおよび1次側第4サブ巻線グループと、2次側巻線グループとはトランスの原理上、電流の流れる向きが互いに逆向きになる。これより、1次側第3サブ巻線グループでは、電流の流れる向きが同一である巻線グループ同士を近接させた場合と比べて、近接効果による影響が低下するので交流抵抗が低くなる。一方、1次側第4サブ巻線グループでは、1次側第3サブ巻線グループと比べて、近接効果により交流抵抗が高くなる。
このように、1次側第1サブ巻線グループおよび1次側第2サブ巻線グループ、ならびに1次側第3サブ巻線グループおよび1次側第4サブ巻線グループはそれぞれ、互いに異なるインピーダンスを有するが、互いに直列に接続されているので、1次側巻線グループのうち交流抵抗の高い方の巻線グループにも、必ず、スイッチング回路から入力された交流電流が流れる。そのため、1次側巻線グループのうち交流抵抗の高い方の巻線グループの交流抵抗により、トランスの線間容量とトランスの直列インダクタンス(励磁インダクタンスおよび漏洩インダクタンス)とによるLC共振によってトランスの出力交流電圧に発生するリンギングが減衰される。
本発明の第4のスイッチング電源装置は、1次側第1巻線グループおよび1次側第2巻線グループを互いに接続して構成された1次側巻線グループと、2次側第1巻線グループおよび2次側第2巻線グループを互いに接続して構成された2次側巻線グループとを有するトランスと、1次側第1巻線グループおよび1次側第2巻線グループが互いに逆位相に時分割駆動されるようにスイッチング動作を行うスイッチング回路と、スイッチング回路の動作に応じて2次側巻線グループに現れる交流電圧を整流し平滑化する整流平滑回路とを備えたものである。1次側第1巻線グループは、2次側第2巻線グループよりも2次側第1巻線グループに近く配置された1次側第1サブ巻線グループと、2次側第1巻線グループよりも2次側第2巻線グループに近く配置された1次側第2サブ巻線グループとを互いに直列に接続して構成される。一方、1次側第2巻線グループは、2次側第1巻線グループよりも2次側第2巻線グループに近く配置された1次側第3サブ巻線グループと、2次側第2巻線グループよりも2次側第1巻線グループに近く配置された1次側第4サブ巻線グループとを互いに直列に接続して構成される。整流平滑回路は、スイッチング回路の動作に応じて2次側第1巻線グループおよび2次側第2巻線グループが互いに逆位相に時分割駆動されるように2次側巻線グループに接続された第1整流素子および第2整流素子を有する。
ここで、上記トランスが例えば中足の設けられた磁心を有するときは、1次側第1サブ巻線グループ、1次側第2サブ巻線グループ、1次側第3サブ巻線グループ、1次側第4サブ巻線グループ、2次側第1巻線グループおよび2次側第2巻線グループをそれぞれ、中足の延在方向に平行な円筒面内に巻回して構成してもよいし、中足の延在方向に垂直な面内に巻回して構成してもよい。また、1次側の巻線グループの各巻線と、2次側の巻線グループの各巻線とが交互に積層されていることが好ましく、積層方向に上下対称に積層されていることがより好ましい。例えば、2次側第1巻線グループ、1次側第1巻線グループ、2次側第2巻線グループおよび1次側第2巻線グループがこの順に積層されていることが好ましく、2次側第1巻線グループ、1次側第1巻線グループ、1次側第2巻線グループおよび2次側第2巻線グループがこの順に積層されていることがより好ましい。
本発明の第4のスイッチング電源装置では、整流平滑回路により、2次側第1巻線グループおよび2次側第2巻線グループがスイッチング回路の動作に応じて互いに逆位相に時分割駆動される。このとき、1次側第1サブ巻線グループおよび1次側第4サブ巻線グループは2次側第2巻線グループよりも2次側第1巻線グループにより近く配置されているので、2次側第1巻線グループが駆動されているときは2次側巻線グループとより密に磁気結合するが、2次側第2巻線グループが駆動されているときは2次側巻線グループとより疎に磁気結合する。一方、1次側第2サブ巻線グループおよび1次側第3サブ巻線グループは2次側第1巻線グループよりも2次側第2巻線グループにより近く配置されているので、2次側第2巻線グループが駆動されているときは2次側巻線グループとより密に磁気結合するが、2次側第1巻線グループが駆動されているときは2次側巻線グループとより疎に磁気結合する。ここで、1次側巻線グループと2次側巻線グループとはトランスの原理上、電流の流れる向きが互いに逆向きになる。これより、1次側第1サブ巻線グループでは、電流の流れる向きが同一である巻線グループ同士を近接させた場合と比べて、近接効果による影響が低下するので交流抵抗が低くなる。一方、1次側第2サブ巻線グループでは、1次側第1サブ巻線グループと比べて、近接効果により交流抵抗が高くなる。また、1次側第3サブ巻線グループでは、電流の流れる向きが同一である巻線グループ同士を近接させた場合と比べて、近接効果による影響が低下するので交流抵抗が低くなる。一方、1次側第4サブ巻線グループでは、1次側第3サブ巻線グループと比べて、近接効果により交流抵抗が高くなる。
このように、1次側第1サブ巻線グループおよび1次側第サブ巻線グループ、ならびに1次側第3サブ巻線グループおよび1次側第4サブ巻線グループは、それぞれ、互いに異なるインピーダンスを有するが、互いに直列に接続されているので、1次側巻線グループのうち交流抵抗の高い方の巻線グループにも、必ず、スイッチング回路から入力された交流電流が流れる。そのため、1次側巻線グループのうち交流抵抗の高い方の巻線グループの交流抵抗により、トランスの線間容量とトランスの励磁インダクタンス(漏洩インダクタンスも含む)とによるLC共振によってトランスの出力交流電圧に発生するリンギングが減衰される。
本発明の第1および第2のスイッチング電源装置によれば、2次側巻線グループに対する磁気結合の疎密が互いに異なる1次側第1巻線グループおよび1次側第2巻線グループを互いに直列に接続するようにしたので、トランスの出力交流電圧に発生するリンギングが、1次側巻線グループのうち交流抵抗の高い巻線グループの交流抵抗により減衰される。これにより、トランスにおけるコアロスやトランスの交流抵抗による発熱量が低減し、効率が向上する。
本発明の第3および第4のスイッチング電源装置によれば、2次側巻線グループに対する磁気結合の疎密が互いに異なる1次側第1サブ巻線グループおよび1次側第2サブ巻線グループを互いに直列に接続すると共に、2次側巻線グループに対する磁気結合の疎密が互いに異なる1次側第3サブ巻線グループおよび1次側第4サブ巻線グループを互いに直列に接続するようにしたので、トランスの出力交流電圧に発生するリンギングが、1次側巻線グループのうち交流抵抗の高い巻線グループの交流抵抗により減衰される。これにより、トランスにおけるコアロスやトランスの交流抵抗による発熱量が低減し、効率が向上する。
以下、本発明の一実施の形態について、図面を参照して詳細に説明する。
[第1の実施の形態]
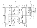
図1は本発明の第1の実施の形態に係るスイッチング電源装置の回路構成を表すものである。図2は図1のスイッチング電源装置のうちトランスの構造を展開して表すものである。このスイッチング電源装置は、高圧バッテリHBから供給される高圧の直流入力電圧Vinを、より低い直流出力電圧Voutに変換して、負荷Lに供給するDC−DCコンバータとして機能するものであり、後述するように2次側がセンタタップ型のスイッチング電源装置である。
このスイッチング電源装置は、一次側高圧ラインL1Hと1次側低圧ラインL1Lとの間に設けられたインバータ回路1(スイッチング回路)および平滑コンデンサ2と、互いに直列に接続された1次側巻線42および1次側巻線43からなる1次側巻線44ならびに互いに直列に接続された2次側巻線45および2次側巻線46からなる2次側巻線47を含んで構成されたトランス4と、インバータ回路1とトランス4との間に設けられた共振用インダクタ3とを備える。1次側高圧ラインL1Hに入力端子T1が、1次側低圧ラインL1Lに入力端子T2がそれぞれ設けられており、これら入力端子T1,T2が高圧バッテリの出力端子と接続されるようになっている。
このスイッチング電源装置はまた、トランス4の2次側に設けられた整流回路5と平滑回路6とを備える。平滑回路6の高圧側のラインである出力ラインL0に出力端子T3が、平滑回路6の低圧側のラインである接地ラインLGに出力端子T4がそれぞれ設けられており、これら出力端子T3,T4が負荷の入出力端子と接続されるようになっている。なお、整流回路5および平滑回路6からなる回路が本発明の「整流平滑回路」に対応する。
インバータ回路1は、高圧バッテリから出力される直流入力電圧Vinをほぼ矩形波状の単相交流電圧に変換する単相インバータ回路である。このインバータ回路1は、制御回路(図示せず)から供給されるスイッチング信号によってそれぞれ駆動される4つのスイッチング素子11,12,13,14をフルブリッジ接続してなるフルブリッジ型のスイッチング回路である。スイッチング素子としては、例えば、MOS−FET(Metal Oxide Semiconductor-Field Effect Transistor )やIGBT(Insulated Gate Bipolor Transistor )などの素子が用いられる。
スイッチング素子11は、共振用インダクタ3の一端と1次側高圧ラインL1Hとの間に設けられ、スイッチング素子12は共振用インダクタ3の一端と1次側低圧ラインL1Lとの間に設けられている。スイッチング素子13はトランス4の1次側巻線43の一端と1次側高圧ラインL1Hとの間に設けられ、スイッチング素子14は1次側巻線43の一端と1次側低圧ラインL1Lとの間に設けられている。
これより、インバータ回路1は、スイッチング素子11,14のオン動作により、1次側高圧ラインL1Hから順にスイッチング素子11、共振用インダクタ3、1次側巻線42およびスイッチング素子14を通って1次側低圧ラインL1Lに至る第1の電流経路に電流が流れる一方、スイッチング素子12,13のオン動作により、1次側高圧ラインL1Hから順にスイッチング素子13、1次側巻線42、共振用インダクタ3およびスイッチング素子12を通って1次側低圧ラインL1Lに至る第2の電流経路に電流が流れるようになっている。
共振用インダクタ3は、スイッチング素子11,12,13,14の寄生容量の少なくとも1つと共に共振回路を構成するようになっており、その共振特性を利用して、スイッチング素子のオン・オフによって生じる電力損失を低減するようになっている。なお、共振用インダクタ3は、コイル部品を実際に配置して構成されていてもよいが、これに代えて(これと共に)、トランス4の漏洩インダクタンスや配線などを含めた直列インダクタンスを利用して構成されていてもよい。
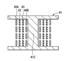
トランス4は、互いに直列に接続された1次側巻線42(1次側第1巻線グループ)および1次側巻線43(1次側第2巻線グループ)からなる1次側巻線44(1次側巻線グループ)と、互いに直列に接続された2次側巻線45(2次側第1巻線グループ)および2次側巻線46(2次側第2巻線グループ)からなる2次側巻線47(2次側巻線グループ)とが互いに同じ向きの極性を有するように磁芯41に巻回されることにより磁気結合された磁気素子である。このトランス4は、降圧型のトランスであり、2次側巻線45および2次側巻線46のそれぞれの巻き数が、1次側巻線44のそれよりも少なくなっている。なお、降圧の度合いは、1次側巻線44の巻き数と、2次側巻線45および2次側巻線46のそれぞれの巻き数との比によって定まる。
磁芯41は、8の字状の磁路を有し、例えば、それぞれE型形状の磁芯41Aおよび磁芯41Bからなり、磁芯41Aを導電性の支持基体(図示せず)上に載置すると共にその磁芯41A上に磁芯41Bを重ね合わせて構成されたものである。磁芯41A上に磁芯41Bを重ね合わせることにより磁心41の中心部分に円柱状の中足41Cが形成されるようになっている。この中足41Cは、トランス4の1次側巻線44、2次側巻線45および2次側巻線46を巻回するためのものである。
2次側巻線45は互いに並列に接続された2次側巻線45A(2次側第1サブ巻線グループ)および2次側巻線45B(2次側第2サブ巻線グループ)を、2次側巻線46は互いに並列に接続された2次側巻線46A(2次側第3サブ巻線グループ)および2次側巻線46B(2次側第4サブ巻線グループ)をそれぞれ有する。これら2次側巻線45A、2次側巻線45B、2次側巻線46Aおよび2次側巻線46Bは、中足41Cの延在方向に垂直な面内で中足41Cにそれぞれ1巻きされたものであり、上からこの順に積層配置されている。
2次側巻線45の一端は後述のダイオード51のアノードに、2次側巻線45の他端はセンタタップCにそれぞれ接続されている。一方、2次側巻線46の一端は後述のダイオード52のアノードに、2次側巻線46の他端はセンタタップCにそれぞれ接続されている。センタタップCは接地ラインLGを介して出力端子T4に接続されている。つまり、トランス4の2次側はセンタタップ型の接続となっている。2次側巻線45および2次側巻線46は、後述のように、整流回路5によって時分割で互いに逆位相に駆動されるようになっている。
1次側巻線42は、互いに直列に接続された1次側巻線42A(1次側第1サブ巻線グループ)および1次側巻線42B(1次側第2サブ巻線グループ)を有する。これら1次側巻線42Aおよび1次側巻線42Bは、中足41Cの延在方向に垂直な面内で中足41Cにそれぞれ3巻きされたものであり、上からこの順に積層配置されている。さらに、1次側巻線42は、2次側巻線45Aおよび2次側巻線45Bにサンドイッチされており、1次側巻線42Aが2次側巻線45Aに近接配置されると共に1次側巻線42Bが2次側巻線45Bに近接配置されている。これより、1次側巻線42は、2次側巻線46よりも2次側巻線45により近く配置されている。
1次側巻線43は、互いに直列に接続された1次側巻線43A(1次側第3サブ巻線グループ)および1次側巻線43B(1次側第4サブ巻線グループ)を有する。これら1次側巻線43Aおよび1次側巻線43Bは、中足41Cの延在方向に垂直な面内で中足41Cにそれぞれ3巻きされたものであり、上からこの順に積層配置されている。さらに、1次側巻線43は、2次側巻線46Aおよび2次側巻線46Bにサンドイッチされており、1次側巻線43Aが2次側巻線46Aに隣接配置されると共に1次側巻線43Bが2次側巻線46Bに隣接配置されている。これより、1次側巻線43は、2次側巻線45よりも2次側巻線46により近く配置されている。
これより、トランス4は、1次側の巻線(1次側巻線42,43)と、2次側の巻線(2次側巻線45,46)とを交互に(サンドイッチ状に)積層する構造を有しており、電流が同一方向に流れる1次側巻線42および1次側巻線43が互いに近接しないようになっている。また、トランス4の各巻線は、2次側巻線45A(2次側第1サブ巻線グループ)、1次側巻線42A(1次側第1サブ巻線グループ)、1次側巻線42B(1次側第2サブ巻線グループ)、2次側巻線45B(2次側第2サブ巻線グループ)、2次側巻線46A(2次側第3サブ巻線グループ)、1次側巻線43A(1次側第3サブ巻線グループ)、1次側巻線43B(1次側第4サブ巻線グループ)および2次側巻線46B(2次側第4サブ巻線グループ)を上からこの順に積層して配置されている。すなわち、トランス4の積層構造が上下対称となっている。
これら1次側巻線42および1次側巻線43は、インバータ回路1の動作に応じて自身に流れる電流の方向が変化するようにインバータ回路1に接続されている。具体的には、1次側巻線42の一端が共振用インダクタ3を介してスイッチング素子11とスイッチング素子12との接続点に接続され、1次側巻線42の他端が1次側巻線43の一端に接続され、1次側巻線43の他端がスイッチング素子13とスイッチング素子14との接続点に接続されている。
なお、上記した1次側巻線42A、1次側巻線42B、1次側巻線43A、1次側巻線43B、2次側巻線45、2次側巻線45B、2次側巻線46Aおよび2次側巻線46Bは、空気で互いに絶縁されていてもよいし、図示しない絶縁シートを挟むことにより互いに絶縁されていてもよい。
ここで、トランス4の1次側の巻線、すなわち、1次側巻線42および1次側巻線43からなる1次側巻線44は、図3に示したような等価回路で表すことができる。すなわち、この等価回路は、回路a1と、回路a2と、インダクタンスLe1とを互いに直列に接続した回路である。回路a1は、互いに直列に接続されたインダクタンスL1および抵抗R1と、互いに直列に接続されたインダクタンスL2および抵抗R2と、互いに直列に接続された線間容量C1および抵抗R3とを互いに並列に接続して構成されている。回路a2は、互いに直列に接続されたインダクタンスL3および抵抗R4と、互いに直列に接続されたインダクタンスL4および抵抗R5と、互いに直列に接続された線間容量C2および抵抗R6をと互いに並列に接続して構成されている。
上記において、インダクタンスL1はトランス4を理想トランスとしたときの1次側巻線42のインダクタンスであり、抵抗R1はトランス4を理想トランスとしたときの1次側巻線42の抵抗である。インダクタンスL2は1次側巻線42の励磁インダクタンスであり、抵抗R2は1次側巻線42の交流抵抗成分である。線間容量C1は1次側巻線42内の線間容量と、1次側巻線42および2次側巻線45,46の線間容量との合計容量であり、抵抗R3は1次側巻線42の交流抵抗成分である。インダクタンスL3はトランス4を理想トランスとしたときの1次側巻線43のインダクタンスであり、抵抗R4はトランス4を理想トランスとしたときの1次側巻線43の抵抗である。インダクタンスL4は1次側巻線43の励磁インダクタンスであり、抵抗R5は1次側巻線43の交流抵抗成分である。線間容量C2は1次側巻線43内の線間容量と、1次側巻線43および2次側巻線45,46の線間容量との合計容量であり、抵抗R6は1次側巻線43の交流抵抗成分である。インダクタンスLe1はトランス4の漏洩インダクタンスである。
整流回路5は、一対のダイオード51(第1整流素子)およびダイオード52(第2整流素子)からなる単相全波整流型のものである。ダイオード51のアノードは2次側巻線45の一端に、ダイオード51のカソードは接続点Dにそれぞれ接続されている。ダイオード52のアノードは2次側巻線46の一端に、ダイオード52のカソードは接続点Dにそれぞれ接続されている。接続点Dは平滑回路6を介して出力端子T3に接続されている。これにより、この整流回路5は、2次側巻線45と2次側巻線46とが時分割で互いに逆位相に駆動されるようになっている。
平滑回路6は、チョークコイル61と、平滑コンデンサ62とを含んで構成されており、整流回路5で整流された直流電圧を平滑化して直流出力電圧Voutを生成し、これを出力端子T3,T4から負荷Lに供給するようになっている。
次に、以上のような構成のスイッチング電源装置の作用を説明する。なお、以下では、一般的なスイッチング動作でインバータ回路1を駆動する場合について説明するが、例えば、ゼロボルトスイッチング(Zero Volto Switching)動作でインバータ回路1を駆動することも可能である。
インバータ回路1のスイッチング素子11,14がオンすると、スイッチング素子11からスイッチング素子14の方向に電流が流れ、トランス4の1次側巻線44に電圧Vin1が現れると共に、1次側巻線44を構成する1次側巻線42および1次側巻線43に電流Iin1が流れる。一方、トランス4の2次側巻線45,46に、ダイオード52に対して逆方向となり、ダイオード51に対して順方向となる電圧が現れる。このため、2次側巻線45、チョークコイル61および平滑コンデンサ62を通って出力ラインLOおよび接地ラインLGに電流Iout1が流れる。このとき、平滑コンデンサ62に並列に接続された出力端子T3およびT4には平滑回路6によって平滑化された電圧Voutが出力される。
次に、スイッチング素子11,14がオンからオフになると、トランス4の2次側巻線45,46に、ダイオード52に対して順方向となる電圧が現れる。このため、2次側巻線45、チョークコイル61および平滑コンデンサ62を通って出力ラインLOおよび接地ラインLGに電流が流れる。このとき、平滑コンデンサ62に並列に接続された出力端子T3およびT4には平滑回路6によって平滑化された電圧Voutが出力される。
次に、スイッチング素子12,13がオンすると、スイッチング素子13からスイッチング素子12の方向に電流が流れ、トランス4の1次側巻線44に電圧Vin2が現れると共に、1次側巻線44を構成する1次側巻線42および1次側巻線43に電流Iin2が流れる。一方、トランス4の2次側巻線45,46に、ダイオード52に対して順方向となり、ダイオード51に対して逆方向となる電圧が現れる。このため、2次側巻線45、チョークコイル61および平滑コンデンサ62を通って出力ラインLOおよび接地ラインLGに電流Iout2が流れる。このとき、平滑コンデンサ62に並列に接続された出力端子T3およびT4には平滑回路6によって平滑化された電圧Voutが出力される。
最後に、スイッチング素子12,13がオンからオフになると、トランス4の2次側巻線45,46に、ダイオード51に対して順方向となる電圧が現れる。このため、2次側巻線45、チョークコイル61および平滑コンデンサ62を通って出力ラインLOおよび接地ラインLGに電流が流れる。このとき、平滑コンデンサ62に並列に接続された出力端子T3およびT4には平滑回路6によって平滑化された電圧Voutが出力される。
このようにして、スイッチング電源装置は、高圧バッテリから供給された直流入力電圧Vinを直流出力電圧Voutに変圧(降圧)し、その変圧した直流出力電圧Voutを低圧バッテリに給電する。
次に、本実施の形態のスイッチング電源装置の効果を比較例と対比して説明する。
比較例では、図4および図5に示したように、トランス104の1次側巻線144は1次側巻線142と1次側巻線143とを互いに並列に接続して構成されており、この点で本実施の形態の1次側巻線44と相違する。
比較例の1次側巻線142は、本実施の形態の1次側巻線42と同様、互いに直列に接続された1次側巻線142Aおよび1次側巻線142Bを有する。これら1次側巻線142Aおよび1次側巻線142Bは、中足41Cの延在方向に垂直な面内で中足41Cにそれぞれ6巻きされたものであり、上からこの順に積層配置されている。なお、本実施の形態と比較例との間でトランスの降圧の度合いを揃える観点から、1次側巻線142の巻数を、1次側巻線42の巻数の2倍、すなわち12巻きとしている。さらに、1次側巻線142は、2次側巻線45Aおよび2次側巻線45Bにサンドイッチされており、1次側巻線142Aが2次側巻線45Aに近接配置されると共に1次側巻線142Bが2次側巻線45Bに近接配置されている。これより、1次側巻線142は、2次側巻線46よりも2次側巻線45により近く配置されている。
比較例の1次側巻線143は、互いに直列に接続された1次側巻線143Aおよび1次側巻線143Bを有する。これら1次側巻線143Aおよび1次側巻線143Bは、中足41Cの延在方向に垂直な面内で中足41Cにそれぞれ巻きされたものであり、上からこの順に積層配置されている。なお、本実施の形態と比較例との間でトランスの降圧の度合いを揃える観点から、1次側巻線143の巻数を、1次側巻線43の巻数の2倍、すなわち12巻きとしている。さらに、1次側巻線143は、2次側巻線46Aおよび2次側巻線46Bにサンドイッチされており、1次側巻線143Aが2次側巻線46Aに隣接配置されると共に1次側巻線143Bが2次側巻線46Bに隣接配置されている。これより、1次側巻線143は、2次側巻線45よりも2次側巻線46により近く配置されている。
ここで、比較例のトランス104の1次側の巻線、すなわち、1次側巻線142および1次側巻線143からなる1次側巻線144は、図6に示したような等価回路で表すことができる。すなわち、この等価回路は、回路a101および回路a102を互いに並列に接続してなる回路と、インダクタンスLe101とを互いに直列に接続した回路である。回路a101は、互いに直列に接続されたインダクタンスL101および抵抗R101と、互いに直列に接続されたインダクタンスL102および抵抗R102と、互いに直列に接続された線間容量C101および抵抗R103とを互いに並列に接続して構成されている。回路a102は、互いに直列に接続されたインダクタンスL103および抵抗R104と、互いに直列に接続されたインダクタンスL104および抵抗R105と、互いに直列に接続された線間容量C102および抵抗R106をと互いに並列に接続して構成されている。
上記において、インダクタンスL101はトランス104を理想トランスとしたときの1次側巻線142のインダクタンスであり、抵抗R101はトランス104を理想トランスとしたときの1次側巻線142の抵抗である。インダクタンスL102は1次側巻線142の励磁インダクタンスであり、抵抗R102は1次側巻線142の交流抵抗成分である。線間容量C101は1次側巻線142内の線間容量と、1次側巻線142および2次側巻線45,46の線間容量との合計容量であり、抵抗R103は1次側巻線142の交流抵抗成分である。インダクタンスL103はトランス104を理想トランスとしたときの1次側巻線143のインダクタンスであり、抵抗R104はトランス104を理想トランスとしたときの1次側巻線143の抵抗である。インダクタンスL104は1次側巻線143の励磁インダクタンスであり、抵抗R105は1次側巻線143の交流抵抗成分である。線間容量C102は1次側巻線143内の線間容量と、1次側巻線143および2次側巻線45,46の線間容量との合計容量であり、抵抗R106は1次側巻線143の交流抵抗成分である。インダクタンスLe101はトランス104の漏洩インダクタンスである。
比較例では、図7に示したように、1次側巻線144に電圧Vin1が入力されると、1次側巻線142に電流Iin11が、1次側巻線143に電流Iin12がそれぞれ流れる。ここで、1次側巻線142は電流の流れている2次側巻線45により近く配置されているので、2次側巻線45と密に磁気結合する。このとき、1次側巻線142と2次側巻線45とはトランスの原理上、電流の流れる向きが互いに逆向きになるので、1次側巻線142では、電流の流れる向きが同一である巻線グループ同士を近接させた場合と比べて、近接効果による影響が低下するので交流抵抗が低くなる。これより、1次側巻線142には相対的に大きな電流が流れる。一方、1次側巻線143は電流の流れている2次側巻線45により遠く配置されているので、2次側巻線45と疎に磁気結合する。このとき、電流が流れていない2次側巻線46に相対的に近く配置されているので、1次側巻線143では、1次側巻線142と比べて、近接効果により交流抵抗が高くなる。これより、1次側巻線143には相対的に小さな電流しか流れない。
また、図8に示したように、1次側巻線144に電圧Vin2が入力されると、1次側巻線142に電流Iin22が、1次側巻線143に電流Iin21がそれぞれ流れる。ここで、1次側巻線143は電流の流れている2次側巻線46により近く配置されているので、2次側巻線46と相対的に密に磁気結合する。このとき、1次側巻線143と2次側巻線46とはトランスの原理上、電流の流れる向きが互いに逆向きになるので、1次側巻線143では、電流の流れる向きが同一である巻線グループ同士を近接させた場合と比べて、近接効果による影響が低下するので交流抵抗が低くなる。これより、1次側巻線143には相対的に大きな電流が流れる。一方、1次側巻線142は電流の流れている2次側巻線46により遠く配置されているので、2次側巻線46と相対的に疎に磁気結合する。このとき、電流が流れていない2次側巻線45に相対的に近く配置されているので、1次側巻線142では、1次側巻線143と比べて、近接効果により交流抵抗が高くなる。これより、1次側巻線142には相対的に小さな電流しか流れない。
このように、比較例では、1次側巻線142および1次側巻線143が互いに並列に接続されているので、交流抵抗の低い側の巻線に電流のより多くが流れることとなる。そのため、トランス104の線間容量C1およびC2と、トランス104の励磁インダクタンスL2およびL4と、トランス104の漏洩インダクタンスLe1とによるLC共振によって生じる、トランス104の出力交流電圧(図4および図5中の端部Aおよび端部B間の電圧)に発生するリンギングを、低い交流抵抗によって減衰させることはほとんどできない(図9の点線で示された波形参照)。その結果、トランス104におけるコアロスやトランス104の交流抵抗による発熱量が増加し、効率が低下してしまう。
一方、本実施の形態では、図10に示したように、1次側巻線44に電圧Vin1が入力されると、1次側巻線44を構成する1次側巻線42および1次側巻線43に電流Iin1が流れる。ここで、1次側巻線42は電流の流れている2次側巻線45により近く配置されているので、2次側巻線45と相対的に密に磁気結合する。このとき、1次側巻線42と2次側巻線45とはトランスの原理上、電流の流れる向きが互いに逆向きになるので、1次側巻線42では、電流の流れる向きが同一である巻線グループ同士を近接させた場合と比べて、近接効果による影響が低下するので交流抵抗が低くなる。一方、1次側巻線43は電流の流れている2次側巻線45により遠く配置されているので、2次側巻線45と相対的に疎に磁気結合する。このとき、電流が流れていない2次側巻線46により近く配置されているので、1次側巻線43では、1次側巻線42と比べて、近接効果により交流抵抗が高くなるが、本実施の形態では、1次側巻線42および1次側巻線43は互いに直列に接続されているので、1次側巻線42および1次側巻線43には互いに等しい電.流が流れる。
また、図11に示したように、1次側巻線44に電圧Vin2が入力されると、1次側巻線44を構成する1次側巻線42および1次側巻線43に電流Iin2が流れる。ここで、1次側巻線43は電流の流れている2次側巻線46により近く配置されているので、2次側巻線46と相対的に密に磁気結合する。このとき、1次側巻線43と2次側巻線46とはトランスの原理上、電流の流れる向きが互いに逆向きになるので、1次側巻線43では、電流の流れる向きが同一である巻線グループ同士を近接させた場合と比べて、近接効果による影響が低下するので交流抵抗が低くなる。一方、1次側巻線42は電流の流れている2次側巻線46により遠く配置されているので、2次側巻線46と相対的に疎に磁気結合する。このとき、電流が流れていない2次側巻線45により近く配置されているので、1次側巻線42では、1次側巻線43と比べて、近接効果により交流抵抗が高くなるが、本実施の形態では、1次側巻線42および1次側巻線43は互いに直列に接続されているので、1次側巻線42および1次側巻線43には互いに等しい電流が流れる。
このように、本実施の形態では、1次側巻線42および1次側巻線43が互いに直列に接続されているので、交流抵抗の大きな巻線にも大きな電流が流れることとなる。そのため、トランス4の線間容量C1およびC2と、トランス4の励磁インダクタンスL2およびL4と、トランス4の漏洩インダクタンスLe1とによるLC共振によって生じる、トランス4の出力交流電圧(図1および図2中の端部Aおよび端部B間の電圧)に発生するリンギングを、高い交流抵抗によって減衰させることができる(図9の実線で示された波形参照)。その結果、トランス4におけるコアロスやトランス4の交流抵抗による発熱量が低下し、効率が向上する。
また、本実施の形態では、トランス4の各巻線(1次側巻線42A、1次側巻線42B、1次側巻線43A、1次側巻線43B、2次側巻線45A、2次側巻線45B、2次側巻線46Aおよび2次側巻線46B)の積層構造が上下対称となっているので、2次側巻線45が駆動されているときと、2次側巻線46が駆動されているときとで、トランス4の交流抵抗の大きさに実質的な差異はない。これより、2次側巻線45が駆動されているときの出力交流電圧と、2次側巻線46が駆動されているときの出力交流電圧とで、リンギングの減衰量に実質的な差異はないので、発熱量が周期的に増大することもなく、高効率を維持することができる。
[第1の実施の形態の変形例]
上記実施の形態では、トランス4の各巻線は、2次側巻線45A、1次側巻線42A、1次側巻線42B、2次側巻線45B、2次側巻線46A、1次側巻線43A、1次側巻線43Bおよび2次側巻線46Bを上からこの順に積層して配置されていたが、図12に示したように、上下対称を維持した状態で、2次側巻線45Bおよび2次側巻線46Aの間に、1次側第3巻線47Aおよび1次側第3巻線47Bを上からこの順に積層してなる1次側第3巻線47を挿入配置してもよい。また、上下対称を維持した状態で、図13に示したように、2次側巻線45Bおよび2次側巻線46Aを削除したり、図14に示したように、2次側巻線45Aおよび2次側巻線46Bを削除してもよい。なお、上下対称ではないが、図15に示したように、2次側巻線45Bおよび2次側巻線46Bを削除してもよい。いずれにおいても、大きな交流抵抗が1次側巻線44中に直列に配置されるようになっていればよい。
また、上記実施の形態では、トランス4の各巻線は、中足41Cの延在方向に垂直な面内で中足41Cに巻回されていたが、図16ないし図19に示したように、中足41Cの延在方向に平行な円筒面内で中足41Cに巻回されていてもよい。
[第2の実施の形態]
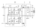
図20は本発明の第2の実施の形態に係るスイッチング電源装置の回路構成を表すものである。図21は図20のスイッチング電源装置のうちトランスの構造を展開して表すものである。このスイッチング電源装置は、上記第1の実施の形態と比較して、インバータ回路10の構成と、インバータ回路10およびトランス40の接続関係と、トランス40の構成とにおいて相違する。そこで、以下、上記第1の実施の形態との相違点について主に説明し、上記第1の実施の形態と共通する構成、作用、効果についての記載を適宜省略する。
インバータ回路10は、制御回路(図示せず)から供給されるスイッチング信号によってそれぞれ駆動される2つのスイッチング素子15,16を並列接続してなるプッシュプル型のスイッチング回路である。
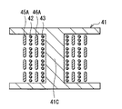
トランス40は、上記実施の形態のトランス4と異なる順番で各巻線を積層して構成したものである。具体的には、上記実施の形態のトランス4の積層構造において、2次側巻線45Bと2次側巻線46Aとが入れ換えられたものであり、2次側巻線45A(2次側第1サブ巻線グループ)、1次側巻線42A(1次側第1サブ巻線グループ)、1次側巻線42B(1次側第2サブ巻線グループ)、2次側巻線46A(2次側第3サブ巻線グループ)、2次側巻線45B(2次側第2サブ巻線グループ)、1次側巻線43A(1次側第4サブ巻線グループ)、1次側巻線43B(1次側第3サブ巻線グループ)および2次側巻線46B(2次側第4サブ巻線グループ)を上からこの順に積層して配置されている。すなわち、トランス40の積層構造は上下対称となっている。
スイッチング素子15はトランス40の1次側巻線42Aの一端と1次側低圧ラインL1Lとの間に設けられている。スイッチング素子16は1次側巻線43の一端と1次側高圧ラインL1Hとの間に設けられ、スイッチング素子14は1次側巻線43Bの一端と1次側低圧ラインL1Lとの間に設けられている。共振用インダクタ3は1次側巻線42Bおよび1次側巻線43Aの接続点と1次側高圧ラインL1Hとの間に設けられている。
ここで、トランス40の1次側の巻線、すなわち、1次側巻線42および1次側巻線43からなる1次側巻線44は、図22に示したような等価回路で表すことができる。まず、1次側巻線42の等価回路は、回路a11と、回路a12と、インダクタンスLe11とを互いに直列に接続した回路である。回路a11は、互いに直列に接続されたインダクタンスL11および抵抗R11と、互いに直列に接続されたインダクタンスL12および抵抗R12と、互いに直列に接続された線間容量C11および抵抗R13とを互いに並列に接続して構成されている。回路a12は、互いに直列に接続されたインダクタンスL13および抵抗R14と、互いに直列に接続されたインダクタンスL14および抵抗R15と、互いに直列に接続された線間容量C12および抵抗R16をと互いに並列に接続して構成されている。一方、1次側巻線43の等価回路は、回路a13と、回路a14と、インダクタンスLe21とを互いに直列に接続した回路である。回路a13は、互いに直列に接続されたインダクタンスL21および抵抗R21と、互いに直列に接続されたインダクタンスL22および抵抗R22と、互いに直列に接続された線間容量C21および抵抗R23とを互いに並列に接続して構成されている。回路a14は、互いに直列に接続されたインダクタンスL23および抵抗R24と、互いに直列に接続されたインダクタンスL24および抵抗R25と、互いに直列に接続された線間容量C22および抵抗R26をと互いに並列に接続して構成されている。
1次側巻線42の等価回路において、インダクタンスL11はトランス40を理想トランスとしたときの1次側巻線42Aのインダクタンスであり、抵抗R11はトランス40を理想トランスとしたときの1次側巻線42Aの抵抗である。インダクタンスL12は1次側巻線42Aの励磁インダクタンスであり、抵抗R12は1次側巻線42Aの交流抵抗成分である。線間容量C11は1次側巻線42A内の線間容量と、1次側巻線42Aおよび2次側巻線45,46の線間容量との合計容量であり、抵抗R13は1次側巻線42Aの交流抵抗成分である。インダクタンスL13はトランス40を理想トランスとしたときの1次側巻線42Bのインダクタンスであり、抵抗R14はトランス40を理想トランスとしたときの1次側巻線42Bの抵抗である。インダクタンスL14は1次側巻線42Bの励磁インダクタンスであり、抵抗R15は1次側巻線42Bの交流抵抗成分である。線間容量C12は1次側巻線42B内の線間容量と、1次側巻線42Bおよび2次側巻線45,46の線間容量との合計容量であり、抵抗R16は1次側巻線42Bの交流抵抗成分である。インダクタンスLe11は1次側巻線42と2次側巻線45,46とで構成されるトランスの漏洩インダクタンスである。
1次側巻線43の等価回路において、インダクタンスL21はトランス40を理想トランスとしたときの1次側巻線43Aのインダクタンスであり、抵抗R21はトランス40を理想トランスとしたときの1次側巻線43Aの抵抗である。インダクタンスL22は1次側巻線43Aの励磁インダクタンスであり、抵抗R22は1次側巻線43Aの交流抵抗成分である。線間容量C21は1次側巻線43A内の線間容量と、1次側巻線43Aおよび2次側巻線45,46の線間容量との合計容量であり、抵抗R23は1次側巻線43Aの交流抵抗成分である。インダクタンスL23はトランス40を理想トランスとしたときの1次側巻線43Bのインダクタンスであり、抵抗R24はトランス40を理想トランスとしたときの1次側巻線43Bの抵抗である。インダクタンスL24は1次側巻線43Bの励磁インダクタンスであり、抵抗R25は1次側巻線43Bの交流抵抗成分である。線間容量C22は1次側巻線43B内の線間容量と、1次側巻線43Bおよび2次側巻線45,46の線間容量との合計容量であり、抵抗R26は1次側巻線43Bの交流抵抗成分である。インダクタンスLe21は1次側巻線43と2次側巻線45,46とで構成されるトランスの漏洩インダクタンスである。
次に、以上のような構成のスイッチング電源装置の作用を説明する。インバータ回路1のスイッチング素子15がオンすると、共振用インダクタ3から1次側巻線42B、1次側巻線42A、スイッチング素子15の方向に電流Iin1が流れ、1次側巻線42に電圧Vin1が現れると共に、1次側巻線42を構成する1次側巻線42Aおよび1次側巻線42Bに電流Iin1が流れる。一方、トランス40の2次側巻線45,46に、ダイオード52に対して逆方向となり、ダイオード51に対して順方向となる電圧が現れる。このため、2次側巻線45、チョークコイル61および平滑コンデンサ62を通って出力ラインLOおよび接地ラインLGに電流Iout1が流れる。このとき、平滑コンデンサ62に並列に接続された出力端子T3およびT4には平滑回路6によって平滑化された電圧Voutが出力される。
次に、スイッチング素子15がオンからオフになると、トランス40の2次側巻線45,46に、ダイオード52に対して順方向となる電圧が現れる。このため、2次側巻線45、チョークコイル61および平滑コンデンサ62を通って出力ラインLOおよび接地ラインLGに電流が流れる。このとき、平滑コンデンサ62に並列に接続された出力端子T3およびT4には平滑回路6によって平滑化された電圧Voutが出力される。
次に、スイッチング素子16がオンすると、共振用インダクタ3から1次側巻線43A、1次側巻線43B、スイッチング素子16の方向に電流が流れ、1次側巻線43に電圧Vin2が現れると共に、1次側巻線43を構成する1次側巻線43Aおよび1次側巻線43Bに電流Iin2が流れる。一方、トランス40の2次側巻線45,46に、ダイオード52に対して順方向となり、ダイオード51に対して逆方向となる電圧が現れる。このため、2次側巻線45、チョークコイル61および平滑コンデンサ62を通って出力ラインLOおよび接地ラインLGに電流Iout2が流れる。このとき、平滑コンデンサ62に並列に接続された出力端子T3およびT4には平滑回路6によって平滑化された電圧Voutが出力される。
最後に、スイッチング素子16がオンからオフになると、トランス40の2次側巻線45,46に、ダイオード51に対して順方向となる電圧が現れる。このため、2次側巻線45、チョークコイル61および平滑コンデンサ62を通って出力ラインLOおよび接地ラインLGに電流が流れる。このとき、平滑コンデンサ62に並列に接続された出力端子T3およびT4には平滑回路6によって平滑化された電圧Voutが出力される。
このようにして、スイッチング電源装置は、高圧バッテリから供給された直流入力電圧Vinを直流出力電圧Voutに変圧(降圧)し、その変圧した直流出力電圧Voutを低圧バッテリに給電する。
次に、本実施の形態のスイッチング電源装置の効果を説明する。
本実施の形態では、図23に示したように、1次側巻線42に電圧Vin1が入力されると、1次側巻線42を構成する1次側巻線42Aおよび1次側巻線42Bに電流Iin1が流れる。ここで、1次側巻線42Aは電流の流れている2次側巻線45により近く配置されているので、2次側巻線45と相対的に密に磁気結合する。このとき、1次側巻線42Aと2次側巻線45とはトランスの原理上、電流の流れる向きが互いに逆向きになるので、1次側巻線42Aでは、電流の流れる向きが同一である巻線グループ同士を近接させた場合と比べて、近接効果による影響が低下するので交流抵抗が低くなる。一方、1次側巻線42Bは電流の流れている2次側巻線45により遠く配置されているので、2次側巻線45と相対的に疎に磁気結合する。このとき、電流が流れていない2次側巻線46により近く配置されているので、1次側巻線42Bでは、1次側巻線42Aと比べて、近接効果により交流抵抗が高くなるが、本実施の形態では、1次側巻線42Aおよび1次側巻線42Bは互いに直列に接続されているので、1次側巻線42Aおよび1次側巻線42Bには互いに等しい電流が流れる。
また、図24に示したように、1次側巻線43に電圧Vin2が入力されると、1次側巻線43を構成する1次側巻線43Aおよび1次側巻線43Bに電流Iin2が流れる。ここで、1次側巻線43Bは電流の流れている2次側巻線46により近く配置されているので、2次側巻線46と相対的に密に磁気結合する。このとき、1次側巻線43Bと2次側巻線46とはトランスの原理上、電流の流れる向きが互いに逆向きになるので、1次側巻線43Bでは、電流の流れる向きが同一である巻線グループ同士を近接させた場合と比べて、近接効果による影響が低下するので交流抵抗が低くなる。一方、1次側巻線43Aは電流の流れている2次側巻線46により遠く配置されているので、2次側巻線46と相対的に疎に磁気結合する。このとき、電流が流れていない2次側巻線45により近く配置されているので、1次側巻線43Aでは、1次側巻線43Bと比べて、近接効果により交流抵抗が高くなるが、本実施の形態では、1次側巻線43Aおよび1次側巻線43Bは互いに直列に接続されているので、1次側巻線43Aおよび1次側巻線43Bには互いに等しい電流が流れる。
このように、本実施の形態では、1次側巻線42Aおよび1次側巻線42B、ならびに1次側巻線43Aおよび1次側巻線43Bがそれぞれ、互いに直列に接続されているので、交流抵抗の大きな巻線にも大きな電流が流れることとなる。そのため、線間容量C21と、励磁インダクタンスL22と、漏洩インダクタンスLe11とによるLC共振や、線間容量C22と、励磁インダクタンスL24と、漏洩インダクタンスLe21とによるLC共振によって生じる、トランス40の出力交流電圧(図20および図21中の端部Aおよび端部B間の電圧)に発生するリンギングを、上記第1の実施の形態と同様に、高い交流抵抗によって減衰させることができる。その結果、トランス40におけるコアロスやトランス40の交流抵抗による発熱量が低下し、効率が向上する。
また、本実施の形態では、トランス40の各巻線(1次側巻線42A、1次側巻線42B、1次側巻線43A、1次側巻線43B、2次側巻線45A、2次側巻線45B、2次側巻線46Aおよび2次側巻線46B)の積層構造が上下対称となっているので、2次側巻線45が駆動されているときと、2次側巻線46が駆動されているときとで、トランス4の交流抵抗の大きさに実質的な差異はない。これより、2次側巻線45が駆動されているときの出力交流電圧と、2次側巻線46が駆動されているときの出力交流電圧とで、リンギングの減衰量に実質的な差異はないので、発熱量が周期的に増大することもなく、高効率を維持することができる。
[第2の実施の形態の変形例]
上記実施の形態では、トランス40の各巻線は、2次側巻線45A、1次側巻線42A、1次側巻線42B、2次側巻線46A、2次側巻線45B、1次側巻線43A、1次側巻線43Bおよび2次側巻線46Bを上からこの順に積層して配置されていたが、図25に示したように、上下対称を維持した状態で、2次側巻線45Bおよび2次側巻線46Aを削除してもよい。なお、図26に示したように、上下対称ではないが、2次側巻線45Bおよび2次側巻線46Bを削除してもよい。なお、この図26では、1次側巻線43Aが1次側第3サブ巻線グループに対応し、1次側巻線43Bが1次側第4サブ巻線グループに対応する。いずれにおいても、大きな交流抵抗が1次側巻線44中に直列に配置されるようになっていればよい。
また、上記実施の形態では、トランス40の各巻線は、中足41Cの延在方向に垂直な面内で中足41Cに巻回されていたが、図16、図18、図19に示したように、中足41Cの延在方向に平行な円筒面内で中足41Cに巻回されていてもよい。
以上、実施の形態を挙げて本発明を説明したが、本発明は、これらに限定されず、種々の変形が可能である。
例えば、上記実施の形態では、トランス4,40の2次側の等価回路がカソードコモン接続となるように構成していたが、アノードコモン接続となるように構成してもよい。
また、上記実施の形態では、インバータ回路1,10はフルブリッジ型またはプッシュプル型であったが、図27に例示したようなフォーワード型や、図28に例示したようなハーフブリッジ型などであってもよい。
本発明の第1の実施の形態に係るスイッチング電源装置の回路図である。 図1のスイッチング電源装置の構造図である。 図1のトランスの1次側巻線の等価回路図である。 比較例に係るスイッチング電源装置の回路図である。 図4のスイッチング電源装置の構造図である。 図4のトランスの1次側巻線の等価回路図である。 図4のスイッチング電源装置の動作を説明するための回路図である。 図4のスイッチング電源装置の動作を説明するための他の回路図である。 図1および図4のトランスの出力交流電圧の波形図の回路図である。 図1のスイッチング電源装置の動作を説明するための回路図である。 図1のスイッチング電源装置の動作を説明するための他の回路図である。 一変形例に係るスイッチング電源装置の回路図である。 他の変形例に係るスイッチング電源装置の回路図である。 他の変形例に係るスイッチング電源装置の回路図である。 他の変形例に係るスイッチング電源装置の回路図である。 他の変形例に係るスイッチング電源装置の回路図である。 他の変形例に係るスイッチング電源装置の回路図である。 他の変形例に係るスイッチング電源装置の回路図である。 他の変形例に係るスイッチング電源装置の回路図である。 本発明の第2の実施の形態に係るスイッチング電源装置の回路図である。 図20のスイッチング電源装置の構造図である。 図20のトランスの1次側巻線の等価回路図である。 図20のスイッチング電源装置の動作を説明するための回路図である。 図20のスイッチング電源装置の動作を説明するための他の回路図である。 一変形例に係るスイッチング電源装置の回路図である。 他の変形例に係るスイッチング電源装置の回路図である。 他の変形例に係るスイッチング電源装置の回路図である。 他の変形例に係るスイッチング電源装置の回路図である。
符号の説明
1,10…インバータ回路、2,62…平滑コンデンサ、3…共振用インダクタ、4,40,104…トランス、5…整流回路、6…平滑回路、11,12,13,14…スイッチング素子、41…磁心、42,42A,42B,43,43A,43B,44,47,47A,47B…1次側巻線、45,45A,45B,46,46A,46B…2次側巻線、51,52…ダイオード、61…チョークコイル、A,B…端部、C…センタタップ、D…接続点、L1H…1次側高圧ライン、L1L…1次側低圧ライン、LO…出力ライン、LG…接地ライン、T1,T2…入力端子、T3,T4…出力端子、Vin…入力直流電圧、Vout…出力直流電圧。

Claims (20)

  1. 1次側第1巻線グループおよび1次側第2巻線グループを互いに直列に接続して構成された1次側巻線グループと、2次側第1巻線グループおよび2次側第2巻線グループを互いに接続して構成された2次側巻線グループとを有するトランスと、
    前記1次側巻線グループの電流方向を時分割的に変化させるようにスイッチング動作を行うスイッチング回路と、
    前記スイッチング回路の動作に応じて前記2次側巻線グループに現れる交流電圧を整流し平滑化する整流平滑回路と
    を備え、
    前記2次側第1巻線グループおよび前記2次側第2巻線グループは、前記スイッチング回路の動作に応じて互いに逆位相に時分割駆動され、
    前記1次側第1巻線グループと前記2次側巻線グループとの磁気結合は、前記2次側第1巻線グループが駆動されているときにより密となる一方、前記2次側第2巻線グループが駆動されているときにより疎となり、
    前記1次側第2巻線グループと前記2次側巻線グループとの磁気結合は、前記2次側第1巻線グループが駆動されているときにより疎となる一方、前記2次側第2巻線グループが駆動されているときにより密となる
    ように構成されていることを特徴とするスイッチング電源装置。
  2. 1次側第1巻線グループおよび1次側第2巻線グループを互いに直列に接続して構成された1次側巻線グループと、2次側第1巻線グループおよび2次側第2巻線グループを互いに接続して構成された2次側巻線グループとを有するトランスと、
    前記1次側巻線グループの電流方向を時分割的に変化させるようにスイッチング動作を行うスイッチング回路と、
    前記スイッチング回路の動作に応じて前記2次側第1巻線グループおよび2次側第2巻線グループが互いに逆位相に時分割駆動されるように前記2次側巻線グループに接続された第1整流素子および第2整流素子を有し、前記スイッチング回路の動作に応じて前記2次側巻線グループに現れる交流電圧を整流し平滑化する整流平滑回路と、
    を備え、
    前記1次側第1巻線グループは、前記2次側第2巻線グループよりも前記2次側第1巻線グループに近く配置され、
    前記1次側第2巻線グループは、前記2次側第1巻線グループよりも前記2次側第2巻線グループに近く配置されている
    ことを特徴とするスイッチング電源装置。
  3. 前記トランスは、中足の設けられた磁心を有し、
    前記2次側第1巻線グループ、2次側第2巻線グループ、1次側第1巻線グループおよび1次側第2巻線グループはそれぞれ、前記中足の延在方向に垂直な面内に巻回されている
    ことを特徴とする請求項2記載のスイッチング電源装置。
  4. 前記2次側第1巻線グループ、1次側第1巻線グループ、1次側第2巻線グループおよび2次側第2巻線グループはこの順に積層されている
    ことを特徴とする請求項3記載のスイッチング電源装置。
  5. 前記2次側第1巻線グループ、1次側第1巻線グループ、2次側第2巻線グループおよび1次側第2巻線グループはこの順に積層されている
    ことを特徴とする請求項3記載のスイッチング電源装置。
  6. 前記2次側第1巻線グループは2次側第1サブ巻線グループおよび2次側第2サブ巻線グループを互いに並列に接続してなり、前記2次側第2巻線グループは2次側第3サブ巻線グループおよび2次側第4サブ巻線グループを互いに並列に接続してなり、
    前記2次側第1サブ巻線グループ、1次側第1巻線グループ、2次側第2サブ巻線グループ、2次側第3サブ巻線グループ、1次側第2巻線グループおよび2次側第4サブ巻線グループはこの順に積層されている
    ことを特徴とする請求項3記載のスイッチング電源装置。
  7. 前記トランスは、中足の設けられた磁心を有し、
    前記2次側第1巻線グループ、2次側第2巻線グループ、1次側第1巻線グループおよび1次側第2巻線グループはそれぞれ、前記中足の延在方向に平行な円筒面内に巻回されている
    ことを特徴とする請求項2記載のスイッチング電源装置。
  8. 前記2次側第1巻線グループ、1次側第1巻線グループ、1次側第2巻線グループおよび2次側第2巻線グループはこの順に積層されている
    ことを特徴とする請求項7記載のスイッチング電源装置。
  9. 前記2次側第1巻線グループ、1次側第1巻線グループ、2次側第2巻線グループおよび1次側第2巻線グループはこの順に積層されている
    ことを特徴とする請求項7記載のスイッチング電源装置。
  10. 前記2次側第1巻線グループは2次側第1サブ巻線グループおよび2次側第2サブ巻線グループを互いに並列に接続してなり、前記2次側第2巻線グループは2次側第3サブ巻線グループおよび2次側第4サブ巻線グループを互いに並列に接続してなり、
    前記2次側第1サブ巻線グループ、1次側第1巻線グループ、2次側第2サブ巻線グループ、2次側第3サブ巻線グループ、1次側第2巻線グループおよび2次側第4サブ巻線グループはこの順に積層されている
    ことを特徴とする請求項7記載のスイッチング電源装置。
  11. 1次側第1巻線グループおよび1次側第2巻線グループを互いに接続して構成された1次側巻線グループと、2次側第1巻線グループおよび2次側第2巻線グループを互いに接続して構成された2次側巻線グループとを有するトランスと、
    前記1次側第1巻線グループおよび前記1次側第2巻線グループが互いに逆位相に時分割駆動されるようにスイッチング動作を行うスイッチング回路と、
    前記スイッチング回路の動作に応じて前記2次側巻線グループに現れる交流電圧を整流し平滑化する整流平滑回路と
    を備え、
    前記2次側第1巻線グループおよび前記2次側第2巻線グループは、前記スイッチング回路の動作に応じて互いに逆位相に時分割駆動され、
    前記1次側第1巻線グループは、前記2次側第1巻線グループが駆動されているときに前記2次側巻線グループとの磁気結合がより密となる1次側第1サブ巻線グループと、より疎となる1次側第2サブ巻線グループとを互いに直列に接続して構成され、
    前記1次側第2巻線グループは、前記2次側第2巻線グループが駆動されているときに前記2次側巻線グループとの磁気結合がより密となる1次側第3サブ巻線グループと、より疎となる1次側第4サブ巻線グループとを互いに直列に接続して構成されている
    ことを特徴とするスイッチング電源装置。
  12. 1次側第1巻線グループおよび1次側第2巻線グループを互いに接続して構成された1次側巻線グループと、2次側第1巻線グループおよび2次側第2巻線グループを互いに接続して構成された2次側巻線グループとを有するトランスと、
    前記1次側第1巻線グループおよび前記1次側第2巻線グループが互いに逆位相に時分割駆動されるようにスイッチング動作を行うスイッチング回路と、
    前記スイッチング回路の動作に応じて前記2次側第1巻線グループおよび2次側第2巻線グループが互いに逆位相に時分割駆動されるように前記2次側巻線グループに接続された第1整流素子および第2整流素子を有し、前記スイッチング回路の動作に応じて前記2次側巻線グループに現れる交流電圧を整流し平滑化する整流平滑回路と、
    を備え、
    前記1次側第1巻線グループは、前記2次側第2巻線グループよりも前記2次側第1巻線グループに近く配置された1次側第1サブ巻線グループと、前記2次側第1巻線グループよりも前記2次側第2巻線グループに近く配置された1次側第2サブ巻線グループとを互いに直列に接続して構成され、
    前記1次側第2巻線グループは、前記2次側第1巻線グループよりも前記2次側第2巻線グループに近く配置された1次側第3サブ巻線グループと、前記2次側第2巻線グループよりも前記2次側第1巻線グループに近く配置された1次側第4サブ巻線グループとを互いに直列に接続して構成されている
    ことを特徴とするスイッチング電源装置。
  13. 前記トランスは、中足の設けられた磁心を有し、
    前記2次側第1巻線グループ、2次側第2巻線グループ、1次側第1サブ巻線グループ、1次側第2サブ巻線グループ、1次側第3サブ巻線グループおよび1次側第4サブ巻線グループはそれぞれ、前記中足の延在方向に垂直な面内に巻回されている
    ことを特徴とする請求項12記載のスイッチング電源装置。
  14. 前記2次側第1巻線グループ、1次側第1サブ巻線グループ、1次側第2サブ巻線グループ、2次側第2巻線グループ、1次側第3サブ巻線グループおよび1次側第4サブ巻線グループはこの順に積層されている
    ことを特徴とする請求項13記載のスイッチング電源装置。
  15. 前記2次側第1巻線グループ、1次側第1サブ巻線グループ、1次側第2サブ巻線グループ、1次側第4サブ巻線グループ、1次側第3サブ巻線グループおよび2次側第2巻線グループはこの順に積層されている
    ことを特徴とする請求項13記載のスイッチング電源装置。
  16. 前記2次側第1巻線グループは2次側第1サブ巻線グループおよび2次側第2サブ巻線グループを互いに並列に接続してなり、前記2次側第2巻線グループは2次側第3サブ巻線グループおよび2次側第4サブ巻線グループを互いに並列に接続してなり、
    前記2次側第1サブ巻線グループ、1次側第1サブ巻線グループ、1次側第2サブ巻線グループ、2次側第3サブ巻線グループ、2次側第2サブ巻線グループ、1次側第サブ巻線グループ、1次側第サブ巻線グループおよび2次側第4サブ巻線グループはこの順に積層されている
    ことを特徴とする請求項13記載のスイッチング電源装置。
  17. 前記トランスは、中足の設けられた磁心を有し、
    前記2次側第1巻線グループ、2次側第2巻線グループ、1次側第1サブ巻線グループ、1次側第2サブ巻線グループ、1次側第3サブ巻線グループおよび1次側第4サブ巻線グループはそれぞれ、前記中足の延在方向に平行な円筒面内に巻回されている
    ことを特徴とする請求項12記載のスイッチング電源装置。
  18. 前記2次側第1巻線グループ、1次側第1サブ巻線グループ、1次側第2サブ巻線グループ、2次側第2巻線グループ、1次側第3サブ巻線グループおよび1次側第4サブ巻線グループはこの順に積層されている
    ことを特徴とする請求項17記載のスイッチング電源装置。
  19. 前記2次側第1巻線グループ、1次側第1サブ巻線グループ、1次側第2サブ巻線グループ、1次側第4サブ巻線グループ、1次側第3サブ巻線グループおよび2次側第2巻線グループはこの順に積層されている
    ことを特徴とする請求項17記載のスイッチング電源装置。
  20. 前記2次側第1巻線グループは2次側第1サブ巻線グループおよび2次側第2サブ巻線グループを互いに並列に接続してなり、前記2次側第2巻線グループは2次側第3サブ巻線グループおよび2次側第4サブ巻線グループを互いに並列に接続してなり、
    前記2次側第1サブ巻線グループ、1次側第1サブ巻線グループ、1次側第2サブ巻線グループ、2次側第3サブ巻線グループ、2次側第2サブ巻線グループ、1次側第サブ巻線グループ、1次側第サブ巻線グループおよび2次側第4サブ巻線グループはこの順に積層されている
    ことを特徴とする請求項17記載のスイッチング電源装置。
JP2005289019A 2005-09-30 2005-09-30 スイッチング電源装置 Expired - Fee Related JP4482765B2 (ja)

Priority Applications (3)

Application Number Priority Date Filing Date Title
JP2005289019A JP4482765B2 (ja) 2005-09-30 2005-09-30 スイッチング電源装置
EP06020616.6A EP1770849A3 (en) 2005-09-30 2006-09-29 Switching power supply unit
US11/540,671 US7199569B1 (en) 2005-09-30 2006-10-02 Switching power supply unit

Applications Claiming Priority (1)

Application Number Priority Date Filing Date Title
JP2005289019A JP4482765B2 (ja) 2005-09-30 2005-09-30 スイッチング電源装置

Publications (2)

Publication Number Publication Date
JP2007104766A JP2007104766A (ja) 2007-04-19
JP4482765B2 true JP4482765B2 (ja) 2010-06-16

Family

ID=37697984

Family Applications (1)

Application Number Title Priority Date Filing Date
JP2005289019A Expired - Fee Related JP4482765B2 (ja) 2005-09-30 2005-09-30 スイッチング電源装置

Country Status (3)

Country Link
US (1) US7199569B1 (ja)
EP (1) EP1770849A3 (ja)
JP (1) JP4482765B2 (ja)

Families Citing this family (34)

* Cited by examiner, † Cited by third party
Publication number Priority date Publication date Assignee Title
US6995990B2 (en) * 2001-03-08 2006-02-07 Power Integrations, Inc. Method and apparatus for substantially reducing electrical earth displacement current flow generated by wound components
US6549431B2 (en) * 2001-03-08 2003-04-15 Power Integrations, Inc. Method and apparatus for substantially reducing electrical earth displacement current flow generated by wound components
US7616088B1 (en) * 2007-06-05 2009-11-10 Keithley Instruments, Inc. Low leakage inductance transformer
US8102161B2 (en) 2007-09-25 2012-01-24 Tdk Corporation Stable output in a switching power supply by smoothing the output of the secondary coil
US8081492B2 (en) 2007-10-29 2011-12-20 Tdk Corporation Switching power supply with smoothing circuitry for more stable output
US8928449B2 (en) * 2008-05-28 2015-01-06 Flextronics Ap, Llc AC/DC planar transformer
US8330434B2 (en) * 2008-07-25 2012-12-11 Cirrus Logic, Inc. Power supply that determines energy consumption and outputs a signal indicative of energy consumption
JP5257204B2 (ja) * 2009-03-31 2013-08-07 Tdk株式会社 スイッチング電源装置
US8779882B2 (en) * 2009-09-30 2014-07-15 Astec International Limited Center tapped transformers for isolated power converters
GB0922381D0 (en) * 2009-12-22 2010-02-03 Gigle Networks Ltd Current measuring apparatus
JP5785364B2 (ja) * 2010-02-26 2015-09-30 株式会社ケーヒン スイッチング電源
JP5413445B2 (ja) * 2011-03-29 2014-02-12 株式会社デンソー トランス
CN102226972B (zh) * 2011-03-31 2012-08-22 中国西电电气股份有限公司 一种换流变用网侧线圈两柱串联的接线结构
DE102011082046A1 (de) * 2011-09-02 2013-03-07 Schmidhauser Ag Transformator und zugehöriges Herstellungsverfahren
JP5546710B2 (ja) * 2012-04-27 2014-07-09 三菱電機株式会社 Dc/dcコンバータ、車載機器および充電装置
US8830693B2 (en) * 2012-06-15 2014-09-09 Medtronic, Inc. Planar transformer assemblies for implantable cardioverter defibrillators
US8779881B2 (en) * 2012-09-21 2014-07-15 Cambridge Silicon Radio Limited Varying inductance
JP5627725B2 (ja) * 2013-02-15 2014-11-19 三菱電機株式会社 Dc/dcコンバータ
JP2015233103A (ja) * 2014-06-10 2015-12-24 キヤノン株式会社 トランス及び電流共振電源、画像形成装置
TWI558277B (zh) 2014-08-19 2016-11-11 乾坤科技股份有限公司 電路板層間導電結構、磁性元件及其製作方法
US10199159B2 (en) * 2014-12-16 2019-02-05 Mitsubishi Electric Corporation Insulation type step-down coverter
US10832858B2 (en) 2015-03-30 2020-11-10 Murata Manufacturing Co., Ltd. High-frequency transformer design for DC/DC resonant converters
JP2017017063A (ja) * 2015-06-26 2017-01-19 Tdk株式会社 パルストランス
CN105099205B (zh) * 2015-08-12 2017-12-26 矽力杰半导体技术(杭州)有限公司 开关电源、反激式变换器及变压器
FR3050069B1 (fr) * 2016-04-08 2018-05-11 Valeo Siemens Eautomotive France Sas Composant magnetique, circuit electrique resonant, convertisseur electrique et systeme electrique
DE112017002095T5 (de) * 2016-04-21 2019-01-03 Mitsubishi Electric Corporation Aufwärtswandler vom Isoliertyp
JP2017220515A (ja) * 2016-06-06 2017-12-14 オムロンオートモーティブエレクトロニクス株式会社 トランス
EP3609063B1 (en) * 2017-04-06 2021-10-13 Mitsubishi Electric Corporation Power conversion device
EP3665767B1 (en) 2017-08-07 2024-11-06 Raytheon Company Heterogeneously integrated power converter assembly
EP3696961B1 (en) * 2017-10-12 2025-08-06 Mitsubishi Electric Corporation Power conversion device
US11694832B2 (en) * 2019-02-01 2023-07-04 Raytheon Company High voltage high frequency transformer
JP7314835B2 (ja) * 2020-02-28 2023-07-26 Tdk株式会社 トランス、電力変換装置、および電力変換システム
CN113938026B (zh) * 2021-12-17 2023-05-16 深圳市能效电气技术有限公司 一种双向dc-dc变换电路
US20250003622A1 (en) * 2023-06-29 2025-01-02 Haier Us Appliance Solutions, Inc. Method and system to reduce brownout conditions for wall thermostats

Family Cites Families (16)

* Cited by examiner, † Cited by third party
Publication number Priority date Publication date Assignee Title
US4518941A (en) * 1983-11-16 1985-05-21 Nihon Kohden Corporation Pulse transformer for switching power supplies
JPH062365Y2 (ja) 1986-12-04 1994-01-19 ティーディーケイ株式会社 高電圧発生回路
JP2722869B2 (ja) 1991-06-11 1998-03-09 ヤマハ株式会社 電源回路
JP3087434B2 (ja) 1992-04-20 2000-09-11 横河電機株式会社 スイッチング電源
JP3361835B2 (ja) 1992-06-17 2003-01-07 横河電機株式会社 スイッチング電源
JPH0638523A (ja) 1992-07-13 1994-02-10 Nippon Telegr & Teleph Corp <Ntt> 2石フォワードコンバータ
TW282594B (ja) * 1994-06-30 1996-08-01 Yokogawa Electric Corp
DE698896T1 (de) * 1994-08-24 1996-08-29 Yokogawa Electric Corp Gedruckte Spule
JPH0878252A (ja) 1994-09-08 1996-03-22 Otsuka Sci Kk 共振型空心変圧器
JP4365913B2 (ja) * 1998-12-03 2009-11-18 Fdk株式会社 スイッチング電源用のシートトランス
JP2000260639A (ja) * 1999-03-11 2000-09-22 Murata Mfg Co Ltd コイル装置およびこれを用いたスイッチング電源装置
WO2000079674A1 (en) 1999-06-22 2000-12-28 Tdk Corporation Switching power supply
JP2002369528A (ja) 2001-06-08 2002-12-20 Toyota Industries Corp Dc−dcコンバータ装置
US6859130B2 (en) * 2001-10-24 2005-02-22 Matsushita Electric Industrial Co., Ltd. Low-profile transformer and method of manufacturing the transformer
JP2003324017A (ja) * 2002-04-30 2003-11-14 Koito Mfg Co Ltd トランス
US6972656B2 (en) * 2002-08-29 2005-12-06 Matsushita Electric Industrial Co., Ltd. Switching power supply device

Also Published As

Publication number Publication date
JP2007104766A (ja) 2007-04-19
EP1770849A3 (en) 2013-07-10
US20070075700A1 (en) 2007-04-05
US7199569B1 (en) 2007-04-03
EP1770849A2 (en) 2007-04-04

Similar Documents

Publication Publication Date Title
JP4482765B2 (ja) スイッチング電源装置
JP4962105B2 (ja) Dc/dcコンバータ
JP5034613B2 (ja) Dc/dcコンバータ
US10790081B2 (en) Interleaved converters with integrated magnetics
JP6985578B2 (ja) 集積された磁気回路を備えるllc共振コンバータ
CN109390118B (zh) 磁性组件及其适用的电源转换装置
JP4735469B2 (ja) スイッチング電源装置
TWI675534B (zh) 電源轉換裝置
CN101326598B (zh) 复合变压器及绝缘型开关电源装置
US11404967B2 (en) Interleaved converters with integrated magnetics
JP6960354B2 (ja) スイッチング電源装置
CN100377485C (zh) 开关电源装置
TWI747508B (zh) 平板繞組變壓器
CN117424429A (zh) 一种应用于谐振变换器的集成式矩阵变压器
JP5240529B2 (ja) スイッチング電源装置
US12113454B2 (en) LLC resonant converter with windings fabricated on PCB
US10164542B2 (en) Electronic converter, and corresponding method for designing a magnetic component
JP4343891B2 (ja) コイル、トランスおよびスイッチング電源
JP6478434B2 (ja) スイッチング電源装置
JPH04285475A (ja) 電源装置
JP2004253540A (ja) 磁気結合素子

Legal Events

Date Code Title Description
A977 Report on retrieval

Free format text: JAPANESE INTERMEDIATE CODE: A971007

Effective date: 20090805

A01 Written decision to grant a patent or to grant a registration (utility model)

Free format text: JAPANESE INTERMEDIATE CODE: A01

Effective date: 20090825

AA91 Notification that invitation to amend document was cancelled

Free format text: JAPANESE INTERMEDIATE CODE: A971091

Effective date: 20091110

A131 Notification of reasons for refusal

Free format text: JAPANESE INTERMEDIATE CODE: A131

Effective date: 20091201

A521 Request for written amendment filed

Free format text: JAPANESE INTERMEDIATE CODE: A523

Effective date: 20100129

TRDD Decision of grant or rejection written
A01 Written decision to grant a patent or to grant a registration (utility model)

Free format text: JAPANESE INTERMEDIATE CODE: A01

Effective date: 20100224

A01 Written decision to grant a patent or to grant a registration (utility model)

Free format text: JAPANESE INTERMEDIATE CODE: A01

A61 First payment of annual fees (during grant procedure)

Free format text: JAPANESE INTERMEDIATE CODE: A61

Effective date: 20100309

R150 Certificate of patent or registration of utility model

Ref document number: 4482765

Country of ref document: JP

Free format text: JAPANESE INTERMEDIATE CODE: R150

Free format text: JAPANESE INTERMEDIATE CODE: R150

FPAY Renewal fee payment (event date is renewal date of database)

Free format text: PAYMENT UNTIL: 20130402

Year of fee payment: 3

FPAY Renewal fee payment (event date is renewal date of database)

Free format text: PAYMENT UNTIL: 20130402

Year of fee payment: 3

FPAY Renewal fee payment (event date is renewal date of database)

Free format text: PAYMENT UNTIL: 20140402

Year of fee payment: 4

LAPS Cancellation because of no payment of annual fees