JP4472958B2 - 順送りプレス加工装置 - Google Patents

順送りプレス加工装置 Download PDF

Info

Publication number
JP4472958B2
JP4472958B2 JP2003318114A JP2003318114A JP4472958B2 JP 4472958 B2 JP4472958 B2 JP 4472958B2 JP 2003318114 A JP2003318114 A JP 2003318114A JP 2003318114 A JP2003318114 A JP 2003318114A JP 4472958 B2 JP4472958 B2 JP 4472958B2
Authority
JP
Japan
Prior art keywords
support frame
press
pressing
progressive
rail
Prior art date
Legal status (The legal status is an assumption and is not a legal conclusion. Google has not performed a legal analysis and makes no representation as to the accuracy of the status listed.)
Expired - Fee Related
Application number
JP2003318114A
Other languages
English (en)
Other versions
JP2005081412A (ja
Inventor
則夫 小浦
雄一 小石
Current Assignee (The listed assignees may be inaccurate. Google has not performed a legal analysis and makes no representation or warranty as to the accuracy of the list.)
Aisin AW Co Ltd
Toyooki Kogyo Co Ltd
Original Assignee
Aisin AW Co Ltd
Toyooki Kogyo Co Ltd
Priority date (The priority date is an assumption and is not a legal conclusion. Google has not performed a legal analysis and makes no representation as to the accuracy of the date listed.)
Filing date
Publication date
Application filed by Aisin AW Co Ltd, Toyooki Kogyo Co Ltd filed Critical Aisin AW Co Ltd
Priority to JP2003318114A priority Critical patent/JP4472958B2/ja
Priority to DE102004043887A priority patent/DE102004043887A1/de
Priority to US10/937,506 priority patent/US7107813B2/en
Publication of JP2005081412A publication Critical patent/JP2005081412A/ja
Application granted granted Critical
Publication of JP4472958B2 publication Critical patent/JP4472958B2/ja
Anticipated expiration legal-status Critical
Expired - Fee Related legal-status Critical Current

Links

Images

Classifications

    • BPERFORMING OPERATIONS; TRANSPORTING
    • B21MECHANICAL METAL-WORKING WITHOUT ESSENTIALLY REMOVING MATERIAL; PUNCHING METAL
    • B21DWORKING OR PROCESSING OF SHEET METAL OR METAL TUBES, RODS OR PROFILES WITHOUT ESSENTIALLY REMOVING MATERIAL; PUNCHING METAL
    • B21D28/00Shaping by press-cutting; Perforating
    • B21D28/02Punching blanks or articles with or without obtaining scrap; Notching
    • B21D28/22Notching the peripheries of circular blanks, e.g. laminations for dynamo-electric machines

Landscapes

  • Engineering & Computer Science (AREA)
  • Mechanical Engineering (AREA)
  • Press Drives And Press Lines (AREA)
  • Presses And Accessory Devices Thereof (AREA)

Description

本発明は、順送りプレス加工装置に係り、詳しくは帯状の板材あるいはシート材に、複数のプレス装置により複数段階に分けてプレス加工を施す順送りプレス加工装置に関する。
モータに用いるロータ及びステータを製造する方法としては、順送り金型装置(順送りプレス加工装置)により帯状の鋼板から、先ずロータ部分の加工、打ち抜きを行い、次にステータ部分の加工、打ち抜きを行う方法が一般的である(例えば、特許文献1参照。)。順送り金型装置による帯状鋼板の加工は、順次プレス加工を施す各金型の中心位置が、所定の位置に位置決めされた状態で各ステージ(ステーション)での加工が行われる必要がある。そして、一般に、順送り金型装置は、各ステージに設けられたプレス装置が所定の位置に固定されている。
また、順送り加工装置として、複数の加工手段を有するカセット本体を着脱可能に設けた複数個の加工ユニットを、あり溝を有するベース上にあり溝に沿って移動調整可能に構成したものが提案されている(例えば、特許文献2参照。)。前記カセットは一対のパンチとダイの組であり、カセットの上方に設けられた油圧シリンダの作動桿がパンチに連結されている。
特開平8−214510号公報(明細書の段落[0017]〜[0019]、図1) 特開平5−329699号公報(明細書の段落[0005],[0006]、図1)
ところが、特許文献1に記載の順送り金型装置のように、各ステージに設けられたプレス装置の位置を変更できない順送り金型装置は、径が異なるロータやステータの製造を行う場合に、金型の交換だけで対応せざるをえない。そのため、小径のロータ及びステータを製造する際には、帯状鋼板から打ち抜きロスが多量に発生するという問題がある。帯状鋼板からの打ち抜きロスを減少させるには、ステータの径に対応したピッチでプレス装置が配置された順送り金型装置を準備する必要がある。
一方、特許文献2に記載の順送り加工装置では、複数設けられた各加工ユニットが、ベースに設けられたあり溝に沿って移動調整可能に構成されているため、ロータ及びステータの径の大小に対応して、各加工ユニットを適正位置に移動させることにより、打ち抜きロスが多量に発生するという問題を解消することはできる。しかし、この装置では各加工ユニットがベースに設けられたあり溝に沿って移動する構成のため、加工ユニットを移動させるのに大きな力が必要となる。あり溝に沿って移動させる構成に代えて、ベースにレールを敷設し、加工ユニットにレール上を転動する車輪やコロを装備して移動可能とすることが考えられる。しかし、加工ユニットは、プレスに必要な油圧シリンダ、作動油供給装置等の重量物が上部に配置された構成のため、加工ユニットの下部に小径のコロや車輪を設けた場合、移動が不安定になるという問題がある。
本発明は、前記の問題に鑑みてなされたものであって、その目的は複数の加工ステージに設けられたプレス金型にプレス力を付与するプレス力付与手段を加工素材の移動方向に沿って安定した状態で容易に移動させることができるとともに、所望の位置に容易に固定することができる順送りプレス加工装置を提供することにある。
前記の目的を達成するため、請求項1に記載の発明は、複数の加工ステージにそれぞれプレス金型を有する順送りプレス加工装置であって、前記各加工ステージにそれぞれ取り外し可能、かつ位置調整可能に固定されるプレス金型と、前記各加工ステージの上方に配設されたレールに沿って移動可能に設けられ、前記各加工ステージにおいて前記プレス金型にプレス力を付与するアクチュエータが装備された支持フレームと、前記支持フレームを所望の位置に固定する固定手段とを備える
そして、請求項1に記載の発明は、前記支持フレームは門型に形成され、その上部両側には、前記レールの上面に沿って転動可能な転動輪が設けられ、前記支持フレームを前記転動輪が前記レールから浮いた状態でベース部に固定する前記固定手段が設けられていることを特徴とした。
また、請求項2に記載の発明は、請求項1に記載の発明において、前記固定手段は、前記支持フレームの一対の各コラムの下端に固定され、前記ベース部に設けられたあり溝内に沿って移動可能な係止部と、前記各コラムの下部に設けられ、前記ベース部を上方から押圧して前記コラムを相対的に上側へ押圧することにより該ベース部を前記係止部と共同して挟持する締結位置と、ベース部への押圧力を解除する締結解除位置とに配置可能な押圧手段とを備えていることを特徴とした。
また、請求項3に記載の発明は、請求項2に記載の発明において、前記押圧手段は、前記コラムに突設されたブラケットを上下方向に貫通するように螺合されたボルトであることを特徴とした。
また、請求項4に記載の発明は、請求項1〜請求項3のいずれか一項に記載の発明において、前記アクチュエータは油圧シリンダであって、前記各支持フレームの上部には、前記油圧シリンダに作動油を供給するサーボポンプが搭載され、前記サーボポンプの最大幅は前記支持フレームの幅より広く形成され、前記各サーボポンプは隣接する支持フレーム上に搭載されたサーボポンプと干渉しない位置に搭載されていることを特徴とした。
本発明によれば、複数の加工ステージに設けられたプレス金型にプレス力を付与するプレス力付与手段を加工素材の移動方向に沿って安定した状態で容易に移動させることができるとともに、所望の位置に容易に固定することができる。
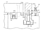
以下、本発明をモータのロータ及びステータの製造に使用する順送りプレス加工装置に具体化した一実施形態を図1〜図9に従って説明する。図1は順送りプレス加工装置の概略側面図であり、図2は同じく概略平面図、図3は同じく概略正面図である。図4は図1の部分拡大図である。
図2及び図3に示すように、順送りプレス加工装置11は、ベース12上に複数(この実施形態では4箇所)の加工ステージS1〜S4が設けられている。各加工ステージS1〜S4には、図1に示すように、プレス金型13が取り外し可能、かつ位置調整可能に固定されている。
ベース12は一対の支持プレート14と、両支持プレート14間に水平に架設されたベース部としてのベース本体15とを備え、ベース本体15上にプレス金型13が固定されるようになっている。図1及び図4に示すように、ベース本体15の上面には溝16及びあり溝17が、帯状の加工素材の送り方向(図1,4の紙面と垂直方向)と平行に延びるように形成されている。内側に形成された溝16内には、プレス金型13をベース本体15上での移動や位置決めを容易とするフリーベアリング18が所定間隔をおいて固定されている。フリーベアリング18は、回転自在に支承されたボール18aの一部が自由状態では溝16から突出するようにばねにより付勢されている。
プレス金型13は、図1及び図6(a),(b)に示すように、コモンプレート19上に各加工ステージS1〜S4用の4個のダイセット20a,20b,20c,20dが図示しないボルトによりそれぞれ、ダイホルダ13aにおいて取り外し可能に固定されている。各ダイセット20a〜20dは公知のプレス金型と同様に、パンチホルダ13bがガイドブッシュ13cを介してガイドポスト13dに沿って昇降されるように構成されている。そして、プレス金型13はコモンプレート19の下面がフリーベアリング18と当接する状態でベース本体15上にボルト19a,19bにより固定されるようになっている。
ベース本体15上には4本の支柱21と、支柱21を上部において連結する連結プレート21aとにより構成された支持枠22が設けられ、支持枠22の上部両側にはレール23が加工素材の送り方向と平行に延びるように固定されている。各加工ステージS1〜S4毎に設けられ、プレス金型13にプレス力を付与するアクチュエータとしての油圧シリンダ24が装備された支持フレーム25は、レール23に沿って移動可能に設けられている。
各支持フレーム25は、一対のコラム25aと、その上端間に架設された支持ブロック25bとで門型に形成され、支持ブロック25bの中央にナット体26が回転可能、かつ軸方向への移動不能に支持ブロック25bを貫通する状態で設けられている。ナット体26の雌ねじ部に螺合した状態でナット体26を貫通するように設けられたねじ軸27の下端には油圧シリンダ24のヘッド部が固定されている。支持ブロック25bには一対のガイドロッド28が上下方向に延びるように固定されている。ガイドロッド28は油圧シリンダ24のフランジ部24aを貫通するように設けられ、油圧シリンダ24は上下方向に延びる状態で、かつそのピストンロッド24bが下方に突出した状態で、昇降可能にガイドロッド28に支承されている。ピストンロッド24bの先端にはダイセット20a〜20dのパンチ29aに連結固定される連結ヘッド30が固定されている。
図7に示すように、連結ヘッド30とパンチ29aとの連結は、ボルト30aにより行われるようになっている。そして、パンチ29aはパンチホルダ13bに対して一体的に昇降可能取り付けられ、ダイ29bと協働してプレス加工可能になっている。
支持ブロック25bの上面には、一端側にサーボポンプ31が設けられ、図示しない配管を介してサーボポンプ31から油圧シリンダ24に作動油が供給されるようになっている。サーボポンプ31の最大幅は支持フレーム25の幅より広く形成されており、異なる支持フレーム25に設けられた各サーボポンプ31が、隣接する支持フレーム25上に搭載されたサーボポンプ31と干渉しないように、図2に示すように、4個のサーボポンプ31は全体として千鳥状に配置されている。油圧シリンダ24、支持フレーム25及びサーボポンプ31が、複数の加工ステージS1〜S4に設けられたプレス金型13にプレス力を付与するプレス力付与手段を構成する。
ナット体26の支持ブロック25bの上側への突出部には歯車32が一体回転可能に固定されている。支持ブロック25bの上面にはサーボモータ33が、その出力軸が下方に向かって突出するようにブラケット34を介して固定され、サーボモータ33の出力軸に歯車32と噛合する歯車35が一体回転可能に固定されている。そして、サーボモータ33の駆動により、その回転方向に対応してねじ軸27が昇降され、ねじ軸27とともに油圧シリンダ24が昇降されるようになっている。サーボモータ33の駆動による油圧シリンダ24の昇降は、プレス金型13全体の交換時や各加工ステージS1〜S4毎のダイセット20a〜20dを個別に交換する際に、連結ヘッド30がダイセット20a〜20dと干渉しないようにするためである。
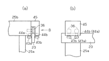
次に支持フレーム25をレール23に沿って移動可能とする構成と、支持フレーム25を所望の位置に固定する構成とを説明する。支持ブロック25bの両端即ち支持フレーム25の上部両側には、レール23の上面に沿って転動可能な転動輪36が設けられている。
支持フレーム25の一対のコラム25aには、支持フレーム25を転動輪36がレール23から浮いた状態でベース本体15に固定する固定手段37が設けられている。各コラム25aの下端にはベース本体15に設けられたあり溝17内に沿って移動可能な係止部38がボルト39により固定されている。各コラムの下部にはブラケット40が側方に突設され、ブラケット40に形成されたねじ孔にボルト41が、ブラケット40を上下方向に貫通するように螺合され、ボルト41にはブラケット40より上側にナット42が螺合されている。
係止部38は、ボルト41がベース本体15の上面を押圧しない状態では、あり溝17と係合せず、転動輪36がレール23の上面に当接してレール23上を転動可能な状態となる大きさに形成されている。ボルト41は、ベース本体15を上方から押圧してコラム25aを相対的に上側へ押圧して該ベース本体15を係止部38と共同して挟持する締結位置と、ベース本体15への押圧力を解除する締結解除位置とに配置可能な押圧手段を構成する。そして、係止部38及びボルト41により、支持フレーム25を所望の位置に固定する固定手段37が構成されている。
支持ブロック25bにはサーボポンプ31が設けられた側と反対側の端部に、支持フレーム25をレール23に沿って移動させる際に支持フレーム25の横ずれを防止するガイドローラ43a,43bがレール23の側面と当接可能な位置に配設されている。図5(a),(b)に示すように、ガイドローラ43a,43bはレール23を挟んで両側に配設されている。レール23の内側に配設されたガイドローラ43aは、支持ブロック25bに固定されたピン44aに支持され、レール23の外側に配設されたガイドローラ43bは、支持ブロック25bに固定されたブラケット45に固定されたピン44bに支持されている。
次に前記のように構成された順送りプレス加工装置11の作用について説明する。
各支持フレーム25は、通常は各加工ステージS1〜S4のプレス金型13と対応する所定位置に位置決めされた状態でベース本体15に固定されている。この状態では、図4及び図8(a)に示すように、ボルト41の先端がベース本体15の上面を押圧する押圧力により、係止部38があり溝17の上側の面に圧接された状態となり、係止部38及びボルト41によってコラム25aの下部がベース本体15に締結固定されている。また、図8(a)に示すように、転動輪36がレール23の上面から浮き上がった状態となり、支持フレーム25を下方へ押圧して固定する方法と異なり、転動輪36に無理な力が作用するのが防止される。
加工素材としての帯状鋼板46の厚さは0.2〜0.3mmと薄く、プレス加工の為に必要な油圧シリンダ24のピストンロッド24bのストロークは2mm程度である。しかし、プレス金型13の交換の際には、連結ヘッド30をプレス金型13と干渉しない位置まで上昇させる必要がある。この実施形態では、油圧シリンダ24としてピストンロッド24bがプレス加工に必要なストロークを往復可能な構成の物を使用し、プレス金型13の交換時に連結ヘッド30をプレス金型13と干渉しない位置まで上昇させるのは、油圧シリンダ24全体を上昇させることで行うようになっている。
油圧シリンダ24の上昇は、サーボモータ33を駆動させてナット体26を正転させることにより行われる。ナット体26が正転するとナット体26と螺合しているねじ軸27は、回転不能な油圧シリンダ24に固定されているため、回転せずにナット体26に対して相対回転することにより上昇され、油圧シリンダ24もねじ軸27と共に上昇される。ナット体26が逆転されると、ねじ軸27は前記と逆に、油圧シリンダ24と共に下降される。
そして、プレス加工時は、油圧シリンダ24が所定の加工位置に配置された状態で、各加工ステージS1〜S4の所定位置に被加工部が配置されるように、図示しない送り装置により、帯状鋼板46が間欠的に所定ピッチずつ送り込まれる。そして、加工を必要とする加工ステージS1〜S4のサーボポンプ31が駆動され、ピストンロッド24bの突出側に作動油が供給されてパンチ29aが下降移動されて、帯状鋼板46にプレス加工が行われた後、ピストンロッド24bの没入側に作動油が供給される。
図9は各加工ステージS1〜S4において帯状鋼板46に施される加工状態を示す模式平面図である。順送りプレス加工装置11は、帯状鋼板46に対して加工ステージS1において、ロータの内側部に設けられる孔47a等の加工を行い、加工ステージS2において、ロータの外形加工、即ちロータの1層分の製品47の打ち抜きを行う。また、加工ステージS3において、ステータの内側部に設けられるスロット48a等の加工を行い、加工ステージS4において、ステータの外形加工、即ちステータの1層分の製品48の打ち抜きを行う。従って、加工ステージS2でロータの1層分の製品47が1回のプレス毎に製造され、加工ステージS4でステータの1層分の製品48が1回のプレス毎に製造される。
次に径の異なる製品47,48を製造する際の、プレス金型13の交換及び支持フレーム25の固定位置の変更について説明する。径の異なる製品47,48を製造する際は、帯状鋼板46からの打ち抜きロスを少なくする所定のピッチとなるように、ダイセット20a〜20dの固定位置が設定されたプレス金型13がベース本体15に固定されるとともに、ダイセット20a〜20dの固定位置に合わせて支持フレーム25の位置が変更される。
プレス金型13を交換する際は、サーボモータ33が駆動されて油圧シリンダ24が上昇される。そして、連結ヘッド30とパンチ29aとの連結が解除され、プレス金型13をスライドさせても連結ヘッド30と干渉しない状態となる。その状態で、ボルト19a,19bが弛められ、コモンプレート19のベース本体15に対する固定が解除され、コモンプレート19がフリーベアリング18に支承された状態で移動可能となる。次にプレス金型13をベース本体15の長手方向に移動させて取り外した後、径の異なる製品47,48を製造するのに適したプレス金型13をベース本体15の端部に載置し、所定の位置まで移動させ、ボルト19a,19bによりベース本体15に固定する。
次に各支持フレーム25の固定位置の変更を行う。支持フレーム25の固定位置の変更を行う際は、先ずボルト41を弛める。ボルト41を弛めるに従って支持フレーム25は自重で下降し、係止部38とあり溝17との係合が解除されるとともに、転動輪36がレール23上に載置された状態となる。その状態で支持フレーム25をプレス金型13と対応する位置まで移動させ、所定位置でボルト41を突出側に回転させる。ボルト41の回転に伴ってコラム25aが上昇され、コラム25aの下端に固定された係止部38があり溝17に圧接される。その結果、コラム25aはベース本体15を係止部38及びボルト41で挟持し、締結した状態で固定される。
この実施形態によれば、以下のような効果を得ることができる。
(1) 順送りプレス加工装置11は、複数の加工ステージS1〜S4にプレス金型13がそれぞれ取り外し可能、かつ位置調整可能に固定されている。そして、各加工ステージS1〜S4においてプレス金型13にプレス力を付与するアクチュエータ(油圧シリンダ24)が上下方向に延びる状態で装備された支持フレーム25が、各加工ステージS1〜S4の上方に配設されたレール23に沿って移動可能に設けられ、支持フレーム25を所望の位置に固定する固定手段37が設けられている。従って、複数の加工ステージS1〜S4に設けられたプレス金型13にプレス力を付与するプレス力付与手段(油圧シリンダ24、支持フレーム25及びサーボポンプ31)を加工素材(帯状鋼板46)の移動方向に沿って安定した状態で容易に移動させることができるとともに、所望の位置に容易に固定することができる。その結果、1台の順送りプレス加工装置11で、異なる径のロータ及びステータの1層分の製品を製造する場合に加工素材の打ち抜きロスを少なくできる。
(2) 支持フレーム25は門型に形成され、その上部両側には、レール23の上面に沿って転動可能な転動輪36が設けられ、支持フレーム25を転動輪36がレール23から浮いた状態でベース部(ベース本体15)に固定する固定手段37が設けられている。従って、支持フレーム25を移動させる場合は、転動輪36がレール23を転動するため、転動輪36がない場合に比較して小さな力で移動させることができ、転動輪がコラム25aの下部に設けられた構成に比較して、小さな力で安定して移動させることができる。また、支持フレーム25を固定する場合に転動輪36に無理な力が作用することがない。
(3) 固定手段37は、支持フレーム25の一対の各コラム25aの下端に固定され、ベース部(ベース本体15)に設けられたあり溝17内に沿って移動可能な係止部38と、各コラム25aの下部に設けられた押圧手段とを備えている。押圧手段は、ベース部を上方から押圧してコラム25aを相対的に上側へ押圧することにより該ベース部を係止部38と共同して挟持する締結位置と、ベース部への押圧力を解除する締結解除位置とに配置可能に構成されている。従って、簡単な構成でコラム25aをベース部に強固に固定することができる。
(4) 前記押圧手段は、コラム25aに突設されたブラケット40を上下方向に貫通するように螺合されたボルト41で構成されている。従って、前記押圧手段の構成がより簡単になり、レバー等を使用して押圧手段を構成するのに比較してコンパクトになる。また、ボルト41にナット42が螺合されているため、コラム25aを固定した状態におけるボルト41の締め付け力の低下を抑制することができる。
(5) 各支持フレーム25の上部には、油圧シリンダ24に作動油を供給するサーボポンプ31が搭載され、サーボポンプ31の最大幅は支持フレーム25の幅より広く形成され、各サーボポンプ31は隣接する支持フレーム25上に搭載されたサーボポンプ31と干渉しない位置に搭載されている。従って、隣接する支持フレーム25同士が当接する状態に、各支持フレーム25を配置することが可能になり、ロータ及び径のより小さなものに対応することが可能になる。
(6) 各支持フレーム25の上部にレール23の側面を挟むようにガイドローラ43a,43bが配置されている。従って、各支持フレーム25を移動させる際に支持フレーム25を横ずれなく安定した状態で、かつ容易にレール23に沿って移動させることができる。
(7) プレス金型13は、コモンプレート19上に各加工ステージS1〜S4に対応する適正ピッチでダイセット20a〜20dが取り外し可能に固定された構成となっている。従って、ロータ及びステータの径が異なる製品を製造するための金型交換時には、コモンプレート19毎全体を交換することで簡単に各ダイセット20a〜20dを所定位置に固定することができる。また、ダイセット20a〜20dの一部に不具合が発生した場合はそのダイセットのみを交換することができる。
(8) プレス金型13の交換時に連結ヘッド30をプレス金型13と干渉しない位置へ移動させる構成として、油圧シリンダ24を金型交換時とプレス作業時とで異なる位置に配置させて、油圧シリンダ24としてプレス作業時の必要ストロークでピストンロッドが往復移動可能なものを採用した。従って、油圧シリンダ24として金型交換時にピストンロッドに固定された連結ヘッドをプレス金型と干渉しない位置まで上昇させる長いストロークの油圧シリンダ24を使用した場合に比較して、ピストンロッド24bの往復動作を速くでき、プレス作業の生産性が向上する。
実施の形態は前記に限定されるものではなく、例えば、次のように具体化してもよい。
〇 支持フレーム25をレール23に沿って移動させる際に、人手で支持フレーム25を移動させる構成に代えて、駆動装置で移動させる構成としてもよい。例えば、一部の転動輪36をモータで駆動させる構成とする。この場合、支持フレーム25の移動がより簡単になる。しかし、支持フレーム25を移動させるのはプレス金型13の交換時のため頻繁ではない。従って、人手で移動させる構成であっても、なんら支障はない。
〇 支持フレーム25を転動輪36がレール23から浮いた状態でベース部(ベース本体15)に固定する固定手段37を構成する押圧手段として、ボルト41に代えてレバーを用いる構成としてもよい。例えば、ブラケット40に対してレバーの中間部を回動可能に支持し、その一端がベース部を上方から押圧した状態でレバーの回動を阻止する回動阻止部を設ける。
〇 支持フレーム25を各加工ステージS1〜S4の上方に配設されたレール23に沿ってレール23上を移動させる構成として、レール23の上面に沿って転動する転動輪36を用いる代わりに、支持フレーム25を磁力で浮上させる構成としてもよい。例えば、レール23の上面が一方の磁極となるように磁石を固定し、支持フレーム25にはレール23の上面と対向する位置に電磁石を配設し、支持フレーム25を移動させる際に電磁石を励磁して磁石との反発力で浮上させる構成とする。この場合、転動輪36を用いる構成に比較して、より小さな力で支持フレーム25を移動させることができる。
〇 あり溝17の形状は図示したものに限らず、例えば、係止部38との当接面が斜面となる形状であってもよい。係止部38の当接面も斜面となる。
〇 支持フレーム25を移動させる際に支持フレーム25の横ずれを防止する手段として、レール23の側面に磁石を固定するかレール23を磁石で構成し、ガイドローラ43a,43bに代えてレール23を挟むように、磁石をレール23側の磁石と磁極が同じとなるように配置してもよい。この場合、非接触状態で支持フレーム25の横ずれを防止することができる。
〇 支持フレーム25の横ずれを防止する手段は、支持フレーム25の上部の片側だけでなく、両側に設けてもよい。
○ プレス金型13の交換時に連結ヘッド30をプレス金型13と干渉しない位置へ移動させる構成は、油圧シリンダ24を金型交換時とプレス作業時とで異なる位置に配置させる構成に限らない。例えば、油圧シリンダ24として金型交換時にピストンロッド24bに固定された連結ヘッド30をプレス金型13と干渉しない位置まで上昇させる長いストロークの油圧シリンダを使用してもよい。
○ プレス金型13はダイセット20a〜20dが各加工ステージS1〜S4に対応する適正ピッチでコモンプレート19上に取り外し可能に固定された構成に限らず、コモンプレート19を設けずに各ダイセット20a〜20dをベース本体15上に直接取り外し可能に固定する構成としてもよい。
〇 プレス加工を行うステージの数は4箇所に限らない。製品の種類や加工すべき箇所等により、2箇所以上で適宜設定される。
〇 複数の支持フレーム25のうちの一つの支持フレーム25の固定箇所をプレス金型13の種類に関係なく常に一定の箇所に固定し、その位置を基準にしてプレス金型13の固定位置や他の支持フレーム25の固定位置を決定する構成とする。例えば、ベース部(ベース本体15)にその支持フレーム25に設けられたボルト41の先端が係合する凹部を設ける。この場合、全ての支持フレーム25の位置調整を行う場合に比較して、位置調整の手間が簡単になるとともに、作業時間を短縮することができる。
〇 順送りプレス加工装置11は、ロータ及びステータの製造用に限らず、帯状の板材又はシート材を複数の加工ステージの中を間欠的に順次移動させ、各ステージでプレス加工を順次行うことにより製品(例えば、スピーカフレーム)を製造する装置に適用できる。
〇 プレス金型にプレス力を付与するプレス力付与手段の動力源(アクチュエータ)は油圧シリンダ24に限らない。例えば、油圧シリンダ24を有する油圧プレス機に代えて、メカニカルプレス機等他の動力源(アクチュエータ)を有するプレス機で構成してもよい。
以下の技術的思想(発明)は前記実施の形態から把握できる。
(a) 記各支持フレームのうちの一つの支持フレームの固定箇所がプレス金型13の種類に関係なく常に一定の箇所に設定されている。
順送りプレス加工装置の概略側面図。 順送りプレス加工装置の概略平面図。 順送りプレス加工装置の概略正面図。 図1の部分拡大図。 (a)は転動輪等の支持状態を示す部分側面図、(b)は(a)のB矢視図。 (a)はプレス金型の正面図、(b)は同じく側面図。 連結ヘッドとパンチの連結状態を示す模式断面図。 (a)はコラムの締結時の模式側面図、(b)はコラムの移動時の模式側面図。 ロータ及びステータの加工状態を示す平面図。
符号の説明
S1,S2,S3,S4…加工ステージ、11…順送りプレス加工装置、13…プレス金型、15…ベース部としてのベース本体、16…溝、17…あり溝、19a,19b,39…ボルト、41…押圧手段としてのボルト、23…レール、24…アクチュエータとしての油圧シリンダ、25…支持フレーム、25a…コラム、31…サーボポンプ、40…ブラケット、36…転動輪、37…固定手段、38…係止部。

Claims (4)

  1. 複数の加工ステージにそれぞれプレス金型を有する順送りプレス加工装置であって、
    前記各加工ステージにそれぞれ取り外し可能、かつ位置調整可能に固定されるプレス金型と、
    前記各加工ステージの上方に配設されたレールに沿って移動可能に設けられ、前記各加工ステージにおいて前記プレス金型にプレス力を付与するアクチュエータが装備された支持フレームと、
    前記支持フレームを所望の位置に固定する固定手段とを備え
    前記支持フレームは門型に形成され、その上部両側には、前記レールの上面に沿って転動可能な転動輪が設けられ、前記支持フレームを前記転動輪が前記レールから浮いた状態でベース部に固定する前記固定手段が設けられている順送りプレス加工装置。
  2. 前記固定手段は、前記支持フレームの一対の各コラムの下端に固定され、前記ベース部に設けられたあり溝内に沿って移動可能な係止部と、前記各コラムの下部に設けられ、前記ベース部を上方から押圧して前記コラムを相対的に上側へ押圧することにより該ベース部を前記係止部と共同して挟持する締結位置と、ベース部への押圧力を解除する締結解除位置とに配置可能な押圧手段とを備えている請求項1に記載の順送りプレス加工装置。
  3. 前記押圧手段は、前記コラムに突設されたブラケットを上下方向に貫通するように螺合されたボルトである請求項2に記載の順送りプレス加工装置。
  4. 前記アクチュエータは油圧シリンダであって、前記各支持フレームの上部には、前記油圧シリンダに作動油を供給するサーボポンプが搭載され、前記サーボポンプの最大幅は前記支持フレームの幅より広く形成され、前記各サーボポンプは隣接する支持フレーム上に搭載されたサーボポンプと干渉しない位置に搭載されている請求項1〜請求項3のいずれか一項に記載の順送りプレス加工装置
JP2003318114A 2003-09-10 2003-09-10 順送りプレス加工装置 Expired - Fee Related JP4472958B2 (ja)

Priority Applications (3)

Application Number Priority Date Filing Date Title
JP2003318114A JP4472958B2 (ja) 2003-09-10 2003-09-10 順送りプレス加工装置
DE102004043887A DE102004043887A1 (de) 2003-09-10 2004-09-10 Stufenweise Pressvorrichtung
US10/937,506 US7107813B2 (en) 2003-09-10 2004-09-10 Progressive pressing apparatus

Applications Claiming Priority (1)

Application Number Priority Date Filing Date Title
JP2003318114A JP4472958B2 (ja) 2003-09-10 2003-09-10 順送りプレス加工装置

Publications (2)

Publication Number Publication Date
JP2005081412A JP2005081412A (ja) 2005-03-31
JP4472958B2 true JP4472958B2 (ja) 2010-06-02

Family

ID=34225311

Family Applications (1)

Application Number Title Priority Date Filing Date
JP2003318114A Expired - Fee Related JP4472958B2 (ja) 2003-09-10 2003-09-10 順送りプレス加工装置

Country Status (3)

Country Link
US (1) US7107813B2 (ja)
JP (1) JP4472958B2 (ja)
DE (1) DE102004043887A1 (ja)

Families Citing this family (11)

* Cited by examiner, † Cited by third party
Publication number Priority date Publication date Assignee Title
JP4730014B2 (ja) * 2005-08-04 2011-07-20 セイコーエプソン株式会社 プレス装置
JP2011083794A (ja) * 2009-10-15 2011-04-28 Mitsubishi Electric Corp プレス装置を用いた加工方法
CN102463686A (zh) * 2010-10-29 2012-05-23 贝克顿液压机公司 改良的液压成形压力机
CN102774034B (zh) * 2011-05-11 2015-01-14 广州市炜恒机电设备有限公司 压制成型方法和压制成型机
CN102522857A (zh) * 2011-11-30 2012-06-27 太仓东元微电机有限公司 电机定子与转子组立机
JP3180985U (ja) * 2012-11-02 2013-01-17 株式会社フクチ産業 スクリューコンベア用駆動軸のシール構造
CN106003783B (zh) * 2016-07-04 2018-01-02 安徽东海机床制造有限公司 一种大吨位回转移动液压机
CN106238976B (zh) * 2016-08-30 2018-01-23 昆山利玛赫自动化科技有限公司 矽钢片焊接用防断裂浮动式轨道送料装置
CN108127965A (zh) * 2017-12-20 2018-06-08 苏州永为客模架有限公司 一种通用模架的换模方法
CN108500105B (zh) * 2018-04-04 2020-04-21 江苏宏德特种部件股份有限公司 一种用于铸造冶炼的按压装置
KR102722861B1 (ko) * 2023-10-04 2024-10-29 이상돈 이차전지의 전극 노칭장치

Family Cites Families (9)

* Cited by examiner, † Cited by third party
Publication number Priority date Publication date Assignee Title
US3881343A (en) * 1974-07-22 1975-05-06 John S Ducate Die set clamping mechanism
US4090391A (en) * 1977-02-22 1978-05-23 Industrial Steel Construction, Incorporated Press construction
CH669748A5 (ja) * 1984-11-28 1989-04-14 Feintool Int Holding
SE453578B (sv) * 1986-10-02 1988-02-15 Pullmax Ab Verktygsvexlare for verktyg i stansmaskiner
US5022129A (en) * 1989-09-25 1991-06-11 Gentry Elvin O Crankshaft-forming apparatus and method
JP3322689B2 (ja) 1992-03-31 2002-09-09 株式会社放電精密加工研究所 順送り加工装置
EP0538724B1 (en) 1991-10-18 1996-01-10 Institute Of Technology Precision Electrical Discharge Work's Index-feed machining system
JPH08214510A (ja) 1995-01-31 1996-08-20 Mitsui High Tec Inc ステーターの製造方法
CA2147915C (en) * 1995-04-26 2001-06-19 Bob Bishop Automated dimpling apparatus

Also Published As

Publication number Publication date
US7107813B2 (en) 2006-09-19
US20050050938A1 (en) 2005-03-10
DE102004043887A1 (de) 2005-04-14
JP2005081412A (ja) 2005-03-31

Similar Documents

Publication Publication Date Title
JP4472958B2 (ja) 順送りプレス加工装置
KR20110130008A (ko) 씨-형강 성형장치
CN213469158U (zh) 一种折弯模具
KR20170081905A (ko) 복합프레스장치
JP3251135B2 (ja) 順送り加工装置
JP5235024B2 (ja) 2柱式プレス装置
CN117619955B (zh) 一种可以调节弯折角度的冷弯成型机
JPH11244966A (ja) 板材加工機におけるワークテーブルのフリーベア昇降方法及びその装置
JP2000042661A (ja) 板材加工機の材料位置決め装置
KR200358716Y1 (ko) 펀치 프레스기
JP2002192260A (ja) パンチプレスおよびその加工方法
RU2102170C1 (ru) Гибочно-правильный станок
CN104690151A (zh) 一种板材自动冲孔生产设备
CN117444044A (zh) 一种锚下垫板连续加工装置
JPH06285550A (ja) 曲げ金型
KR20050106654A (ko) 펀치 프레스기
JPH0542334A (ja) 複合加工機
CN113070390B (zh) 一种高效数控冲切机构
CN104668337A (zh) 一种冲孔装置
KR101689687B1 (ko) 헤드레스트 스테이로드의 홈 가공방법
CN106183582A (zh) 一种异型压花机
CN112355629A (zh) 一种转轴压入矫正装置
CN219817598U (zh) 液压驱动的卷板机
CN121266992B (zh) 一种w型钢的矫正方法
JP2004082154A (ja) パンチング装置

Legal Events

Date Code Title Description
A621 Written request for application examination

Free format text: JAPANESE INTERMEDIATE CODE: A621

Effective date: 20060906

A977 Report on retrieval

Free format text: JAPANESE INTERMEDIATE CODE: A971007

Effective date: 20090311

A131 Notification of reasons for refusal

Free format text: JAPANESE INTERMEDIATE CODE: A131

Effective date: 20091201

A521 Written amendment

Free format text: JAPANESE INTERMEDIATE CODE: A523

Effective date: 20100127

TRDD Decision of grant or rejection written
A01 Written decision to grant a patent or to grant a registration (utility model)

Free format text: JAPANESE INTERMEDIATE CODE: A01

Effective date: 20100302

A01 Written decision to grant a patent or to grant a registration (utility model)

Free format text: JAPANESE INTERMEDIATE CODE: A01

A61 First payment of annual fees (during grant procedure)

Free format text: JAPANESE INTERMEDIATE CODE: A61

Effective date: 20100304

FPAY Renewal fee payment (event date is renewal date of database)

Free format text: PAYMENT UNTIL: 20130312

Year of fee payment: 3

R150 Certificate of patent or registration of utility model

Free format text: JAPANESE INTERMEDIATE CODE: R150

FPAY Renewal fee payment (event date is renewal date of database)

Free format text: PAYMENT UNTIL: 20130312

Year of fee payment: 3

FPAY Renewal fee payment (event date is renewal date of database)

Free format text: PAYMENT UNTIL: 20140312

Year of fee payment: 4

LAPS Cancellation because of no payment of annual fees