JP4400853B2 - ローパスフィルタ内蔵配線基板 - Google Patents

ローパスフィルタ内蔵配線基板 Download PDF

Info

Publication number
JP4400853B2
JP4400853B2 JP2003086189A JP2003086189A JP4400853B2 JP 4400853 B2 JP4400853 B2 JP 4400853B2 JP 2003086189 A JP2003086189 A JP 2003086189A JP 2003086189 A JP2003086189 A JP 2003086189A JP 4400853 B2 JP4400853 B2 JP 4400853B2
Authority
JP
Japan
Prior art keywords
low
pass filter
built
acoustic wave
dielectric layer
Prior art date
Legal status (The legal status is an assumption and is not a legal conclusion. Google has not performed a legal analysis and makes no representation as to the accuracy of the status listed.)
Expired - Fee Related
Application number
JP2003086189A
Other languages
English (en)
Other versions
JP2004289760A (ja
Inventor
哲也 岡元
Current Assignee (The listed assignees may be inaccurate. Google has not performed a legal analysis and makes no representation or warranty as to the accuracy of the list.)
Kyocera Corp
Original Assignee
Kyocera Corp
Priority date (The priority date is an assumption and is not a legal conclusion. Google has not performed a legal analysis and makes no representation as to the accuracy of the date listed.)
Filing date
Publication date
Application filed by Kyocera Corp filed Critical Kyocera Corp
Priority to JP2003086189A priority Critical patent/JP4400853B2/ja
Publication of JP2004289760A publication Critical patent/JP2004289760A/ja
Application granted granted Critical
Publication of JP4400853B2 publication Critical patent/JP4400853B2/ja
Anticipated expiration legal-status Critical
Expired - Fee Related legal-status Critical Current

Links

Images

Landscapes

  • Surface Acoustic Wave Elements And Circuit Networks Thereof (AREA)
  • Filters And Equalizers (AREA)

Description

【0001】
【発明の属する技術分野】
本発明は、フィルタを有する弾性表面波フィルタ素子を収納する多層配線基板であって、特に、弾性表面波フィルタ素子の通過帯域より高い周波数の電気信号を減衰するローパスフィルタを有するローパスフィルタ内蔵配線基板に関するものである。
【0002】
【従来の技術】
携帯電話や移動体通信に用いられる電子機器等の小型化・高密度化・低価格化に対する要求が高まる中、フィルタを基板に内蔵することで部品点数を減少させ、小型化・高密度化を実現する配線基板がある。
【0003】
このような配線基板として、例えば特開平11−145771号公報には、誘電体層および導体層を積層して積層体を形成し、積層体の少なくとも一方主面に凹部を、また少なくとも側面に外部端子を設けるとともに、積層体の導体層で形成されるインダクタンス素子およびキャパシタンス素子によりLCフィルタを構成し、積層体の凹部に弾性表面波フィルタを配置し、凹部をキャップにより封止してなる複合フィルタであって、外部端子のうち2つが弾性表面波フィルタとLCフィルタとのそれぞれの入力端子となり、外部端子のうち2つが弾性表面波フィルタとLCフィルタとのそれぞれの出力端子となるとともに、弾性表面波フィルタとLCフィルタとが積層体内で接続されることなく電気的に独立している複合フィルタが開示されている。
【0004】
これによれば、弾性表面波フィルタとLCフィルタとが1つの積層体を介して一体化しているため、部品点数を低減でき、アッセンブリ工程も容易にできるとともに、ディスクリートのチップ部品の場合とほぼ同等の機能が得られ、従来のディスクリートのチップ部品である弾性表面波フィルタとほぼ同等の大きさで、弾性表面波フィルタおよびLCフィルタの2つの機能を備えた複合フィルタを得ることができ、さらに弾性表面波フィルタとLCフィルタとが、それぞれ独立した入力端子および出力端子を備えているため、弾性表面波フィルタとLCフィルタとの間に他の電子部品を挿入することが可能となり、複合フィルタを搭載する無線装置の設計の自由度を広げることができるというものである。
【0005】
例えば、弾性表面波フィルタとLCフィルタとを、ともに帯域通過フィルタとすることにより、一方のフィルタの後段に他方のフィルタを配置すれば、これらの通過帯域以外の周波数に対する減衰量を大きくすることができるため、比較的広帯域にわたって減衰量を大きくすることができる。
【0006】
また、LCフィルタの通過帯域が弾性表面波フィルタの通過帯域を含むものとした場合は、通過帯域の狭い弾性表面波フィルタの後段に弾性表面波フィルタよりも通過帯域の広いLCフィルタを配置すれば、高周波信号が弾性表面波フィルタを通過した後にLCフィルタを通過するため、弾性表面波フィルタの通過帯域以外の周波数に対する減衰量をさらに大きくすることができ、比較的広帯域にわたって減衰量をさらに大きくすることができる。
【0007】
また、弾性表面波フィルタの通過帯域とLCフィルタの通過帯域とが重ならないようにした場合は、異なる周波数を使用する場合に使用することができ、用途の自由度を広げることができる。
【0008】
また、複合フィルタを構成する弾性表面波フィルタおよびLCフィルタを無線装置の送信側無線信号部あるいは受信側無線信号部を構成するフィルタに用いるようにした場合は、無線装置を構成する部品の点数を減らすことができ、無線装置の小型化が可能となる。
【0009】
【特許文献1】
特開平11−145771号公報
【0010】
【発明が解決しようとする課題】
しかしながら、特開平11−145771号公報に開示された複合フィルタでは、弾性表面波フィルタとLCフィルタとを積層体内部で接続することなく電気的に独立させ、それぞれ入力端子および出力端子を設けているため、これらフィルタを積層体内部に内蔵することで部品点数を減少させることができ、小型化することが可能であるが、弾性表面波フィルタとLCフィルタとを積層体内部にて接続した場合に比べ、入力端子および出力端子の端子数が増えるという問題点があった。
【0011】
また、弾性表面波フィルタおよびLCフィルタをいずれも帯域通過フィルタとした場合は、帯域通過フィルタの特性により通過帯域の近傍での減衰量は十分に得られやすいが、例えば無線装置の送信側に要求されるパワーアンプにより発生する通過帯域の2倍あるいは3倍の高調波を広帯域にわたって減衰させるという用途には不向きであるという問題点もあった。
【0012】
本発明は上記のような従来の技術の問題点に鑑みて案出されたものであり、その目的は、ローパスフィルタを積層体から成る基体の内部に構成し、弾性表面波フィルタ素子の送信出力側にこのローパスフィルタを接続することにより、外部との接続端子の数を減少させるとともに、ローパスフィルタにより弾性表面波フィルタ素子の通過帯域より高周波帯域の減衰量を大きくとれることにより、無線装置の送信側に要求されるパワーアンプにより発生する通過帯域の2倍あるいは3倍の高調波を広帯域にわたって減衰させることができるとともに、基体の内部に損失の少ないローパスフィルタを実現することができるローパスフィルタ内蔵配線基板を提供することにある。
【0013】
【課題を解決するための手段】
本発明のローパスフィルタ内蔵配線基板は、複数の誘電体層が積層されて成る基体と、この基体の上面に形成された弾性表面波フィルタ素子を収容するキャビティと、前記基板の内部に内蔵されるとともに、前記送信側入力端子に電気的に接続されるローパスフィルタとを具備し、前記ローパスフィルタは、インダクタンスを生じる2つのストリップラインと、接地容量を形成する接地電極および2つの接地容量電極とを有し、前記2つのストリップラインの一方端同士が貫通導体で接続され、前記2つのストリップラインの他方端と前記2つの接地容量電極とがそれぞれ接続され、前記2つのストリップラインの一方の他方端が前記弾性表面波フィルタ素子の前記送信側入力端子に接続されており、前記前記接地電極および前記接地容量電極は、前記キャビティの底面より下面側に配置されているとともに、前記2つのストリップラインは、前記キャビティの下方部以外の部位に配置されていることを特徴とするものである。
【0015】
また、本発明のローパスフィルタ内蔵配線基板は、上記各構成において、前記基体の内部に内蔵されるとともに、前記弾性表面波フィルタ素子に電気的に接続される位相調整用ストリップラインを具備することを特徴とするものである。
【0016】
また、本発明のローパスフィルタ内蔵配線基板は、上記各構成において、前記2つのストリップラインを前記接地電極および前記接地容量電極よりも前記基体の上面側に配置したことを特徴とするものである。
【0017】
また、本発明のローパスフィルタ内蔵配線基板は、上記各構成において、前記2つのストリップラインと前記位相調整用ストリップラインとが、前記基体の前記キャビティを挟んで対向する部位にそれぞれ配置されていることを特徴とするものである。
【0018】
【発明の実施の形態】
以下、本発明のローパスフィルタ内蔵配線基板について図面を参照しつつ説明する。
【0019】
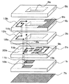
図1は本発明のローパスフィルタ内蔵配線基板の実施の形態の一例を示す分解斜視図である。図1において、1は第1の誘電体層、2は第2の誘電体層、3は第3の誘電体層、4は第4の誘電体層、5は第5の誘電体層、6はキャビティ、7は第1の接地電極、8は第2の接地電極、9は位相調整用ストリップライン、10は第1の接地容量電極、11は第2の接地容量電極、12は第1のストリップライン、13は第2のストリップライン、14は第1の貫通導体、15は第2の貫通導体、16は第3の貫通導体、17は第4の貫通導体、18はキャビティに収容される弾性表面波フィルタ素子の送信出力側に電気的に接続される送信側入力端子、19はキャビティに収容される弾性表面波フィルタ素子の受信入力側に電気的に接続される受信側出力端子である。
【0020】
図1に示す例においては、第1の誘電体層1の下面に形成された第1の接地電極7と、第1の誘電体層1および第2の誘電体層2の間に形成された第1の接地容量電極10との間に生じる接地容量をC1とし、第1の誘電体層1の下面に形成された第1の接地電極7と、第1の誘電体層1および第2の誘電体層2の間に形成された第2の接地容量電極11との間に生じる接地容量をC2とし、第3の誘電体層3および第4の誘電体層4の間に形成された第1のストリップライン12と、第4の誘電体層4および第5の誘電体層5の間に形成された第2のストリップライン13と、第1のストリップライン12の一方端と第2のストリップライン13の一方端とを第4の誘電体層4を貫通することにより接続する第1の貫通導体14とにより生じるインダクタンスをL1とし、第1のストリップライン12は他方端を第2の貫通導体15を介して第1の接地容量電極10と接続され、第2のストリップライン13の他方端は第3の貫通導体16を介して第2の接地容量電極11と接続されることにより、L1・C1・C2からなるπ型のローパスフィルタを構成している。
【0021】
また、第1の誘電体層1および第2の誘電体層2の間に、第1の誘電体層1の下面に形成された第1の接地電極7と、第2の誘電体層2および第3の誘電体層3の間に形成された第2の接地電極8とに挟まれた、位相調整用ストリップライン9にて移相器Sを形成している。そして、送信側入力端子18はローパスフィルタの入力側すなわちL1とC2との接続点に、また受信側出力端子19は位相調整用ストリップライン9に第4の貫通導体17を介してそれぞれ電気的に接続されている。
【0022】
このような図1に示す本発明のローパスフィルタ内蔵配線基板の例によれば、その等価回路図は図2に示すようなものとなる。なお、図2において、破線で囲んだ部分が図1に示す本発明のローパスフィルタ内蔵配線基板の例の等価回路に相当する部分である。
【0023】
そして、第1〜第5の誘電体層1〜5,第1の接地電極7,第1および第2の接地容量電極10・11によって容量C1・C2を調整し、また、第1および第2のストリップライン12・13によってインダクタンスL1を調整することにより、所望のローパス特性を有するローパスフィルタを内蔵した配線基板を得ることができる。
【0024】
また、本発明のローパスフィルタ内蔵配線基板によれば、弾性表面波フィルタ素子の送信出力側に電気的に接続される送信側入力端子18に電気的に接続されたローパスフィルタを内蔵した配線基板としたことにより、ローパスフィルタ内蔵配線基板の入力端子および出力端子の数を1つずつにすることができ、ローパスフィルタ内蔵配線基板を他の基板に2次実装する場合に必要とされる端子数を少なくできるため、基体の大きさが端子の数に制限されることがなくなり、ローパスフィルタ内蔵配線基板の小型化が容易になるとともに、端子間の距離を離すことができるようになり端子間のアイソレーションも向上させることができる。また、端子1つ当りの端子面積を大きくすることができるため、実装信頼性を向上させることができる。
【0025】
また、ローパスフィルタを弾性表面波フィルタ素子の送信出力側に電気的に接続することにより、ローパスフィルタの位相が変わる特性を利用することによって移相器の代わりとすることができるので、弾性表面波フィルタの位相が調整できるとともに、新たに移相器を設ける必要がなくなる。
【0026】
また、弾性表面波フィルタ素子の通過帯域より遮断周波数の高いローパスフィルタを弾性表面波フィルタ素子の送信出力側に電気的に接続することにより、弾性表面波フィルタ素子の通過帯域より高周波域で広帯域に十分な減衰量をとれないという従来の複合フィルタにおける問題点を補い、高周波帯域で十分に高い減衰量を得ることができ、例えばパワーアンプの通過帯域の2倍あるいは3倍の高調波も効果的に減衰させることができる。また、上記のようなローパスフィルタを基体の内部に内蔵したことにより、部品点数の減少を図ることができる。
【0027】
また、ローパスフィルタの接地容量C1・C2を形成する接地電極7および接地容量電極10・11をキャビティ6の底面より基体の下面側に配置し、ローパスフィルタのインダクタンスL1を基体のキャビティ6の下方部以外のキャビティ6の周囲の部位に配置することにより、接地電極7および接地容量電極10・11とストリップライン12・13との距離を離すことができ、ストリップライン12・13の浮遊容量を減らすことができるとともに、接地電極7および接地容量電極10・11とインダクタンスL1との相互作用を減らすことができるため、低損失なローパスフィルタを構成することができる。また、ローパスフィルタにおいて比較的大きな面積を必要とする接地容量C1・C2を、ローパスフィルタ内蔵配線基板の内部で最も面積を広くとれるキャビティ6の底面より下面側に配置することにより、大きな容量を形成するために新たに誘電体層の層数を増やしたり、接地電極7と接地容量電極10・11との間の誘電体層1を極端に薄くする必要がなくなる。
【0028】
また、弾性表面波フィルタ素子の受信入力側に電気的に接続される、信号の位相を調整する移相器Sとして機能する位相調整用ストリップライン9を内蔵することにより、弾性表面波フィルタ素子の受信側の位相を適切に調整できるものとなり、より自由度が高い設計が可能となる。また、位相調整用ストリップライン9をキャビティ6の底面より基体の下面側に配置すると、十分な長さの位相調整用ストリップライン9を基体を不必要に大きくすることなく内蔵できるようになる。
【0029】
また、ストリップライン12・13を基体のキャビティ6の下方部以外の部位に配置し、接地電極7および接地容量電極10・11よりも基体の上面側に配置することにより、接地電極7および接地容量電極10・11との距離を離すことができるため、インダクタンスL1の浮遊容量をより減らすことができるとともに、接地電極7および接地容量電極10・11との距離をより離すことができてこれらとインダクタンスL1との相互作用を減らすことができるため、より低損失なローパスフィルタを構成することができる。
【0030】
図3は、図1に示す本発明のローパスフィルタ内蔵配線基板の例におけるローパスフィルタの周波数特性を示す線図である。図3において、横軸は周波数(単位:GHz)を、縦軸は送信側の信号通過量S(2,1)(単位:dB)を表わし、実線の特性曲線は本発明のローパスフィルタ内蔵配線基板に弾性表面波フィルタ素子を実装したときの周波数特性を、破線の特性曲線は弾性表面波フィルタ素子のみの周波数特性を示している。
【0031】
図3に示す結果より、本発明のローパスフィルタ内蔵配線基板によれば、内蔵されたローパスフィルタの高周波数における信号の減衰効果のため、弾性表面波フィルタ素子の通過帯域(1.85GHzから1.99GHz)の高周波側において弾性表面波フィルタ素子のみの周波数特性に比べ大きな減衰量が得られていることが分かる。
【0032】
なお、本発明のローパスフィルタ内蔵配線基板におけるローパスフィルタは、例えば誘電体層がセラミックスから成る場合であれば、焼成後に各誘電体層となる誘電体セラミックグリーンシートに所定の孔開け加工を施すとともに各電極のパターン形状および貫通導体となる貫通孔やグリーンシートの側面等に導体ペーストを塗布し、これらを積層して焼成することによって製作される。あるいは、誘電体層がフッ素樹脂やガラスエポキシ樹脂・ポリイミド樹脂のような樹脂から成る場合であれば、樹脂基板を用い、その表面に被着させた銅箔をエッチングして各電極パターンの形成を行ない、層間接続用ビア導体を形成して積層プレスすることによって製作される。
【0033】
また、第1〜第5の誘電体層1〜5を始めとする誘電体層には、アルミナセラミックス・ムライトセラミックス等のセラミックス材料やガラスセラミックス等の無機系材料、あるいは四フッ化エチレン樹脂(ポリテトラフルオロエチレン;PTFE)・四フッ化エチレン−エチレン共重合樹脂(テトラフルオロエチレン−エチレン共重合樹脂;ETFE)・四フッ化エチレン−パーフルオロアルコキシエチレン共重合樹脂(テトラフルオロエチレン−パーフルオロアルキルビニルエーテル共重合樹脂;PFA)等のフッ素樹脂やガラスエポキシ樹脂・ポリイミド等の樹脂系材料等が用いられる。また、第1および第2の接地電極7・8、第1および第2の接地容量電極10・11、第1および第2のストリップライン12・13および位相調整用ストリップライン9、送信側入力端子18、受信側出力端子19には、高周波信号伝送用の金属材料の導体層、例えばCu層・Mo−Mnのメタライズ層上にNiメッキ層およびAuメッキ層を被着させたもの・Wのメタライズ層上にNiメッキ層およびAuメッキ層を被着させたもの・Cr−Cu合金層・Cr−Cu合金層上にNiメッキ層およびAuメッキ層を被着させたもの・TaN層上にNi−Cr合金層およびAuメッキ層を被着させたもの・Ti層上にPt層およびAuメッキ層を被着させたもの・またはNi−Cr合金層上にPt層およびAuメッキ層を被着させたもの等が用いられ、厚膜印刷法あるいは各種の薄膜形成方法やメッキ法等により形成される。その厚みや幅は、伝送される高周波信号の周波数や用途等に応じて設定される。
【0034】
次に、図4に本発明のローパスフィルタ内蔵多層基板の実施の形態の他の例を、図1と同様の分解斜視図で示す。図4において、1aは第1の誘電体層、2aは第2の誘電体層、3aは第3の誘電体層、4aは第4の誘電体層、5aは第5の誘電体層、6aはキャビティ、7aは第1の接地電極電極、8aは第2の接地電極電極、9aは位相調整用ストリップライン、10aは第1の接地容量電極、11aは第2の接地容量電極、12aは第1のストリップライン、13aは第2のストリップライン、14aは第1の貫通導体、15aは第2の貫通導体、16aは第3の貫通導体、17aは第4の貫通導体、18aはキャビティに収容される弾性表面波フィルタ素子の送信出力側に電気的に接続される送信側入力端子、19aはキャビティに収容される弾性表面波フィルタ素子の受信入力側に電気的に接続される受信側出力端子、20aは容量電極である。
【0035】
図4に示す例においては、第1の誘電体層1aの下面に形成された第1の接地電極7aと、第1の誘電体層1aおよび第2の誘電体層2aの間に形成された第1の接地容量電極10aとの間に生じる接地容量をC1aとし、第1の誘電体層1aの下面に形成された第1の接地電極7aと、第1の誘電体層1aおよび第2の誘電体層2aの間に形成された第2の接地容量電極11aとの間に生じる接地容量をC2aとし、第2の誘電体層2aおよび第3の誘電体層3aの間に形成された容量電極20aと、第1の誘電体層1aおよび第2の誘電体層2aの間に形成された第1の接地容量電極10aとの間に生じる容量をC3aとし、第3の誘電体層3aおよび第4の誘電体層4aの間に形成された第1のストリップライン12aと、第4の誘電体層4aおよび第5の誘電体層5aの間に形成された第2のストリップライン13aと、第1のストリップライン12aの一方端と第2のストリップライン13aの一方端とを第4の誘電体層4aを貫通することにより接続する第1の貫通導体14aとにより生じるインダクタンスをL1aとし、第1のストリップライン12aは他方端を第2の貫通導体15aを介して第1の接地容量電極10aと接続され、第2のストリップライン13aの他方端は第3の貫通導体16aを介して第2の接地容量電極11aおよび接地容量電極20aと接続されることにより、L1a・C1a・C2a・C3aからなるπ型のローパスフィルタを構成している。
【0036】
また、第1の誘電体層1aおよび第2の誘電体層2aの間に、第1の誘電体層1aの下面に形成された第1の接地電極7aと、第2の誘電体層2aおよび第3の誘電体層3aの間に形成された第2の接地電極8aとに挟まれた位相調整用ストリップライン9aにて移相器Saを形成している。そして、送信側入力端子18aはローパスフィルタの入力側すなわちL1aとC2aとC3aとの接続点に、また受信側出力端子19aは位相調整用ストリップライン9aに第4の貫通導体17aを介してそれぞれ電気的に接続されている。
【0037】
この図4に示す例は、図1に示す例に比べて新たに容量C3aを設けることにより、インダクタンスL1aおよび容量C3aによる並列共振回路を形成し、この並列共振回路の特定の周波数においてより大きな減衰量を得ようというものである。
【0038】
このような図4に示す本発明のローパスフィルタ内蔵配線基板の例によれば、その等価回路図は図5に示すようなものとなる。なお、図5において、破線で囲んだ部分が図4に示す本発明のローパスフィルタ内蔵配線基板の例の等価回路に相当する部分である。
【0039】
そして、第1〜第5の誘電体層1a〜5a,第1の接地電極7a,第1および第2の接地容量電極10a・11aならびに第1の容量電極20aによって容量C1a〜C3aを調整し、また、第1および第2のストリップライン12a・13aによってインダクタンスL1aを調整することにより、所望のローパス特性を有するローパスフィルタを内蔵した配線基板を得ることができる。
【0040】
なお、第1および第2のストリップライン12a・13aで形成されるインダクタンスL1aと、第1の接地容量電極10aおよび第1の容量電極20aで形成される容量C3aとは並列共振回路を形成しており、この並列共振回路の共振周波数を通過帯域の2倍あるいは3倍の周波数に該当させることにより、通過帯域の2倍あるいは3倍の高調波の除去を行なうことが可能となる。
【0041】
図6は、図4に示す本発明のローパスフィルタ内蔵配線基板の例におけるローパスフィルタの周波数特性を示す、図3と同様の線図である。図6において、横軸は周波数(単位:GHz)を、縦軸は送信側の信号通過量S(2,1)(単位:dB)を表わし、破線の特性曲線が弾性表面波フィルタ素子のみの特性を、また実線の特性曲線が弾性表面波フィルタ素子を実装してローパスフィルタを電気的に接続したときの特性を示している。
【0042】
図6に示す結果より、本発明のローパスフィルタ内蔵配線基板によれば、内蔵されたローパスフィルタの高周波数における信号の減衰効果ならびに並列共振回路の共振周波数における減衰効果のため、通過帯域(1.85GHzから1.99GHz)の2倍の周波数(3.7GHzから3.95GHz)において大きな減衰量が得られていることが分かる。
【0043】
次に、図7に本発明のローパスフィルタ内蔵配線基板の実施の形態のさらに他の例を、図1と同様の分解斜視図で示す。図7において、1bは第1の誘電体層、2bは第2の誘電体層、3bは第3の誘電体層、4bは第4の誘電体層、5bは第5の誘電体層、6bはキャビティ、7bは第1の接地電極、8bは第2の接地電極、9bは位相調整用ストリップライン、10bは第1の接地容量電極、11bは第2の接地容量電極、12bは第1のストリップライン、13bは第2のストリップライン、14bは第1の貫通導体、15bは第2の貫通導体、16bは第3の貫通導体、18bはキャビティに収容される弾性表面波フィルタ素子の送信出力側に電気的に接続される送信側入力端子、19bはキャビティに収容される弾性表面波フィルタ素子の受信入力側に電気的に接続される受信側出力端子、20bは容量電極である。
【0044】
図7に示す例においては、第1の誘電体層1bの下面に形成された第1の接地電極7bと、第1の誘電体層1bおよび第2の誘電体層2bの間に形成された第1の接地容量電極10bとの間に生じる接地容量をC1bとし、第1の誘電体層1bの下面に形成された第1の接地電極7bと、第1の誘電体層1bおよび第2の誘電体層2bの間に形成された第2の接地容量電極11bとの間に生じる接地容量をC2bとし、第2の誘電体層2bおよび第3の誘電体層3bの間に形成された容量電極20bと、第1の誘電体層1bおよび第2の誘電体層2bの間に形成された第1の接地容量電極10bとの間に生じる容量をC3bとし、第3の誘電体層3bおよび第4の誘電体層4bの間に形成された第1のストリップライン12bと、第4の誘電体層4bおよび第5の誘電体層5bの間に形成された第2のストリップライン13bと、第1のストリップライン12bの一方端と第2のストリップライン13bの一方端とを第4の誘電体層4bを貫通することにより接続する第1の貫通導体14bとにより生じるインダクタンスをL1bとし、第1のストリップライン12bは他方端を第2の貫通導体15bを介して第1の接地容量電極10bと接続され、第2のストリップライン13bの他方端は第3の貫通導体16bを介して第2の接地容量電極11bおよび容量電極20bと接続されることにより、L1b・C1b・C2b・C3bからなるπ型のローパスフィルタを構成している。
【0045】
また、第2の誘電体層2bおよび第3の誘電体層3bの間に、第1の誘電体層1bの下面に形成された第1の接地電極7bと、第4の誘電体層4bおよび第5の誘電体層5bの間に形成された第2の接地電極8bとに挟まれた位相調整用ストリップライン9bにて移相器Sbを形成している。そして、送信側入力端子18bはローパスフィルタの入力側すなわちL1bとC2bとC3bとの接続点に、また受信側出力端子19bは位相調整用ストリップライン9bに電気的に接続されている。
【0046】
この図7に示す例は、図4に示す例に比べてローパスフィルタを構成する第1のストリップライン12bおよび第2のストリップライン13bと、位相調整用ストリップライン9bとをキャビティ6bを挟んで対向する部位にそれぞれ配置することにより、ローパスフィルタと位相調整用ストリップライン9bとの間のアイソレーションを向上させ、同じ基体内にローパスフィルタと位相調整用ストリップライン9bとを内蔵してもそれぞれに特性の良いものが得られるというものである。
【0047】
このような図7に示す本発明のローパスフィルタ内蔵配線基板の例によれば、その等価回路図は図8に示すようなものとなる。なお、図8において、破線で囲んだ部分が図7に示す本発明のローパスフィルタ内蔵配線基板の例の等価回路に相当する部分である。
【0048】
そして、第1〜第5の誘電体層1b〜5b,第1の接地電極7b,第1および第2の接地容量電極10b・11bならびに第1の容量電極17bによって容量C1b〜C3bを調整し、また、第1および第2のストリップライン12b・13bによってインダクタンスL1bを調整することにより、所望のローパス特性を有するローパスフィルタを内蔵した配線基板を得ることができる。
【0049】
なお、第1および第2のストリップライン12b・13bで形成されるインダクタンスL1bと、第1の接地容量電極10bおよび第1の容量電極20bで形成される容量C3bとは並列共振回路を形成しており、この並列共振回路の共振周波数を通過帯域の2倍あるいは3倍の周波数に該当させることにより、通過帯域の2倍あるいは3倍の高調波の除去を行なうことが可能となる。
【0050】
図9は、図7に示す本発明のローパスフィルタ内蔵配線基板の例におけるローパスフィルタの周波数特性を示す、図3と同様の線図である。図9において、横軸は周波数(単位:GHz)を、縦軸は送信側の信号通過量S(2,1)(単位:dB)を表わし、破線の特性曲線が弾性表面波フィルタ素子のみの特性を、また実線の特性曲線が弾性表面波フィルタ素子を実装してローパスフィルタを電気的に接続したときの特性を示している。
【0051】
図9に示す結果より、本発明のローパスフィルタ内蔵配線基板によれば、内蔵されたローパスフィルタの高周波数における信号の減衰効果ならびに並列共振回路の共振周波数における減衰効果のため、通過帯域(1.85GHzから1.99GHz)の2倍の周波数(3.7GHzから3.95GHz)において大きな減衰量が得られているとともに、ローパスフィルタストリップラインと位相調整用ストリップラインのアイソレーションが十分に確保できていることが分かる。
【0052】
なお、本発明は以上の実施の形態の例に限定されるものではなく、本発明の要旨を逸脱しない範囲で種々の変更を加えることは何ら差し支えない。例えば、本発明のローパスフィルタ内蔵配線基板によれば、第1〜第5の誘電体層1〜5および1a〜5a、1b〜5bの厚みを薄くしたり、これらに高誘電率材料を用いたり、第3および第4の誘電体層3・4および3a・4a、3b・4bに磁性体を混ぜたりすることにより、さらなる特性の改善や小型化が可能となる。
【0053】
また、第5の誘電体層5・5a・5bの上面にシールド電極を設けたり、第1〜第4の貫通導体14〜17および14a〜17a、14b〜17bの代わりに、誘電体層の側面に各電極の接続用導体を形成して各電極間を電気的に接続してもよい。
【0054】
また、搭載される弾性表面波フィルタ素子は送信側だけのもののみだけでなく、受信側の弾性表面波フィルタ素子を同じキャビティ6・6a・6bの内部に搭載したり、送信側と受信側が一体化された弾性表面波フィルタ素子を搭載してもよい。
【0055】
【発明の効果】
本発明のローパスフィルタ内蔵配線基板によれば、複数の誘電体層が積層されて成る基体と、この基体の上面に形成された弾性表面波フィルタ素子を収容するキャビティと、弾性表面波フィルタ素子の送信出力側に電気的に接続される送信側入力端子と、基体の内部に内蔵されるとともに、送信側入力端子に電気的に接続されるローパスフィルタとを具備して成ることから、外部との接続端子の数を減少させることができるとともに、ローパスフィルタにより弾性表面波フィルタ素子の通過帯域より高周波帯域の減衰量を大きくとれることにより、無線装置の送信側に要求されるパワーアンプにより発生する通過帯域の2倍あるいは3倍の高調波を広帯域にわたって減衰させることができ、基体の内部に損失の少ないローパスフィルタを実現することができる。
【0056】
例えば、順次積層された第1〜第5の誘電体層と、第1の誘電体層の下面に形成された第1の接地電極と、第3および第4の誘電体層の上面に形成された第1および第2のストリップラインと、第1の誘電体層および第2の誘電体層2の間に形成された第1および第2の接地容量電極とを具備したものとし、第1および第2のストリップラインの一方端同士を接続して第1のストリップラインの他方端を第1の接地容量電極と電気的に接続し、第2のストリップラインの他方端を第2の接地容量電極と電気的に接続するとともに弾性表面波フィルタ素子の送信出力側に電気的に接続されるローパスフィルタ内蔵基板とすることにより、第1〜第5の誘電体層,第1の接地電極ならびに第1および第2の接地容量電極によって接地容量を調整し、また第1および第2のストリップラインによってインダクタンスを調整することにより、所望のローパス特性を有するπ型のローパスフィルタを内蔵した配線基板を得ることができる。
【0057】
また、ローパスフィルタ内蔵配線基板の入力端子および出力端子の数を1つずつにすることができ、このローパスフィルタ内蔵配線基板を他の基板に2次実装する場合に必要とされる端子数を少なくできるため、基体の大きさが端子の数に制限されることがなくなり、ローパスフィルタ内蔵配線基板の小型化が容易になるとともに、端子間の距離を離すことができるようになり端子間のアイソレーションも向上させることができる。また、端子1つ当りの端子面積を大きくすることができるため、実装信頼性を向上させることができる。
【0058】
また、ローパスフィルタを弾性表面波フィルタ素子の送信出力側に電気的に接続することにより、ローパスフィルタの位相が変わる特性を利用することにより、移相器の代わりとすることができるので、弾性表面波フィルタの位相が調整できるとともに、新たに移相器を設ける必要がなくなる。
【0059】
また、弾性表面波フィルタ素子の通過帯域より遮断周波数の高いローパスフィルタを弾性表面波フィルタ素子の送信出力側に電気的に接続することにより、弾性表面波フィルタ素子の通過帯域より高周波域で広帯域に十分な減衰量をとれないという従来の複合フィルタにおける問題点を補い、高周波帯域で十分に高い減衰量を得ることができ、例えばパワーアンプの通過帯域の2倍あるいは3倍の高調波も効果的に減衰させることができる。また、上記のようなローパスフィルタを基体の内部に内蔵したことにより、部品点数の減少を図ることができる。
【0060】
また、本発明のローパスフィルタ内蔵配線基板によれば、ローパスフィルタを、インダクタンスを生じる2つのストリップラインと、接地容量を形成する接地電極および2つの接地容量電極とを有し、2つのストリップラインの一方端同士が貫通導体で接続され、2つのストリップラインの他方端と2つの接地容量電極とがそれぞれ接続され、2つのストリップラインの一方の他方端が弾性表面波フィルタ素子の送信側入力端子に接続されており、接地電極および接地容量電極はキャビティの底面より下面側に配置されているとともに、2つのストリップラインはキャビティの下方部以外の部位に配置されていることから、接地電極および2つの接地容量電極と2つのストリップラインとの距離を離すことができ、2つのストリップラインの浮遊容量を減らすことができるとともに、接地電極および接地容量電極と2つのストリップラインによるインダクタンスとの相互作用を減らすことができるため、低損失なローパスフィルタを構成することができる。また、ローパスフィルタにおいて比較的大きな面積を必要とする接地容量をキャビティの底面より下面側に配置することにより、ローパスフィルタ内蔵配線基板の内部で最も面積を広くとれる部分に配置することとなるので、大きな接地容量を形成するために新たに誘電体層の層数を増やしたり、接地電極と接地容量電極との間の誘電体層を極端に薄くしたりする必要がなくなる。
【0061】
また、弾性表面波フィルタ素子の受信入力側に電気的に接続される、信号の位相を調整する移相器として機能する位相調整用ストリップラインを基体の内部に内蔵したものとした場合は、弾性表面波フィルタ素子の受信側の位相のみならず、弾性表面波フィルタ素子の受信側の位相を適切に調整できるものとなり、より自由度が高い設計が可能となる。また、この位相調整用ストリップラインをキャビティの底面より基体の下面側に配置すると、比較的に長い位相調整用ストリップラインを基体を不必要に大きくすることなく内蔵できるようになる。
【0062】
また、本発明のローパスフィルタ内蔵配線基板によれば、2つのストリップラインを接地電極および接地容量電極よりも基体の上面側に配置したものとした場合は、ストリップラインによるインダクタンスの浮遊容量をより減らすことができるとともに、ストリップラインと接地電極および接地容量電極との距離をより離すことができて接地電極および接地容量電極とインダクタンスとの相互作用を減らすことができるため、より低損失なローパスフィルタを構成することができる。
【0063】
また、本発明のローパスフィルタ内蔵配線基板によれば、2つのストリップラインと位相調整用ストリップラインとを基体のキャビティを挟んで対向する部位にそれぞれ配置したものとした場合は、ストリップラインと位相調整用ストリップラインとの距離を十分に離すことができ、ローパスフィルタと移相器との間のアイソレーションを向上させることができるため、より低損失なローパスフィルタを構成することができる。
【0064】
以上により、本発明によれば、ローパスフィルタを積層体から成る基体の内部に構成し、弾性表面波フィルタの送信出力側にこのローパスフィルタを接続することにより、外部との接続端子の数を減少させるとともに、ローパスフィルタにより弾性表面波フィルタの通過帯域より高周波帯域の減衰量を大きくとれることにより、無線装置の送信側に要求されるパワーアンプにより発生する通過帯域の2倍あるいは3倍の高調波を広帯域にわたって減衰させることができるとともに、基体の内部に損失の少ないローパスフィルタを実現することができるローパスフィルタ内蔵配線基板を提供することができた。
【図面の簡単な説明】
【図1】本発明のローパスフィルタ内蔵多層基板の実施の形態の一例を示す分解斜視図である。
【図2】図1に示すローパスフィルタ内蔵多層基板の例の等価回路図である。
【図3】図1に示すローパスフィルタ内蔵多層基板の例におけるローパスフィルタの周波数特性を示す線図である。
【図4】本発明のローパスフィルタ内蔵多層基板の実施の形態の他の例を示す分解斜視図である。
【図5】図4に示すローパスフィルタ内蔵多層基板の例の等価回路図である。
【図6】図4に示すローパスフィルタ内蔵多層基板の例におけるローパスフィルタの周波数特性を示す線図である。
【図7】本発明のローパスフィルタ内蔵多層基板の実施の形態のさらに他の例を示す分解斜視図である。
【図8】図7に示すローパスフィルタ内蔵多層基板の例の等価回路図である。
【図9】図7に示すローパスフィルタ内蔵多層基板の例におけるローパスフィルタの周波数特性を示す線図である。
【符号の説明】
1、1a、1b・・・・・第1の誘電体層
2、2a、2b・・・・・第2の誘電体層
3、3a、3b・・・・・第3の誘電体層
4、4a、4b・・・・・第4の誘電体層
5、5a、5b・・・・・第5の誘電体層
6、6a、6b・・・・・キャビティ
7、7a、7b・・・・・第1の接地電極
8、8a、8b・・・・・第2の接地電極
9、9a、9b・・・・・位相調整用ストリップライン
10、10a、10b・・・・・第1の接地容量電極
11、11a、11b・・・・・第2の接地容量電極
12、12a、12b・・・・・第1のストリップライン
13、13a、13b・・・・・第2のストリップライン
14、14a、14b・・・・・第1の貫通導体
15、15a、15b・・・・・第2の貫通導体
16、16a、16b・・・・・第3の貫通導体
17、17a・・・・・第4の貫通導体
18、18a、18b・・・・・弾性表面波フィルタ素子の送信出力側に電気的に接続される送信側入力端子
19、19a、19b・・・・・弾性表面波フィルタ素子受信入力側に電気的に接続される受信側出力端子
20a、20b・・・・・容量電極

Claims (4)

  1. 複数の誘電体層が積層されて成る基体と、該基体の上面に形成された弾性表面波フィルタ素子を収容するキャビティと、前記弾性表面波フィルタ素子の送信出力側に電気的に接続される送信側入力端子と、前記基体の内部に内蔵されるとともに、前記送信側入力端子に電気的に接続されるローパスフィルタとを具備し、前記ローパスフィルタは、インダクタンスを生じる2つのストリップラインと、接地容量を形成する接地電極および2つの接地容量電極とを有し、前記2つのストリップラインの一方端同士が貫通導体で接続され、前記2つのストリップラインの他方端と前記2つの接地容量電極とがそれぞれ接続され、前記2つのストリップラインの一方の他方端が前記弾性表面波フィルタ素子の前記送信側入力端子に接続されており、前記前記接地電極および前記接地容量電極は、前記キャビティの底面より下面側に配置されているとともに、前記2つのストリップラインは、前記キャビティの下方部以外の部位に配置されていることを特徴とするローパスフィルタ内蔵配線基板。
  2. 前記2つのストリップラインを前記接地電極および前記接地容量電極よりも前記基体の上面側に配置したことを特徴とする請求項に記載のローパスフィルタ内蔵配線基板。
  3. 前記基体の内部に内蔵されるとともに、前記弾性表面波フィルタ素子に電気的に接続される位相調整用ストリップラインを具備することを特徴とする請求項またはに記載のローパスフィルタ内蔵配線基板。
  4. 前記2つのストリップラインと前記位相調整用ストリップラインとが、前記基体の前記キャビティを挟んで対向する部位にそれぞれ配置されていることを特徴とする請求項に記載のローパスフィルタ内蔵配線基板。
JP2003086189A 2003-01-29 2003-03-26 ローパスフィルタ内蔵配線基板 Expired - Fee Related JP4400853B2 (ja)

Priority Applications (1)

Application Number Priority Date Filing Date Title
JP2003086189A JP4400853B2 (ja) 2003-01-29 2003-03-26 ローパスフィルタ内蔵配線基板

Applications Claiming Priority (2)

Application Number Priority Date Filing Date Title
JP2003021117 2003-01-29
JP2003086189A JP4400853B2 (ja) 2003-01-29 2003-03-26 ローパスフィルタ内蔵配線基板

Publications (2)

Publication Number Publication Date
JP2004289760A JP2004289760A (ja) 2004-10-14
JP4400853B2 true JP4400853B2 (ja) 2010-01-20

Family

ID=33301606

Family Applications (1)

Application Number Title Priority Date Filing Date
JP2003086189A Expired - Fee Related JP4400853B2 (ja) 2003-01-29 2003-03-26 ローパスフィルタ内蔵配線基板

Country Status (1)

Country Link
JP (1) JP4400853B2 (ja)

Families Citing this family (25)

* Cited by examiner, † Cited by third party
Publication number Priority date Publication date Assignee Title
US8195295B2 (en) 2008-03-20 2012-06-05 Greatbatch Ltd. Shielded three-terminal flat-through EMI/energy dissipating filter
JP2006254303A (ja) * 2005-03-14 2006-09-21 Renesas Technology Corp 信号伝送回路、icパッケージ、実装基板及びicチップ
WO2007088683A1 (ja) * 2006-02-02 2007-08-09 Murata Manufacturing Co., Ltd. フィルタ装置
US8761895B2 (en) 2008-03-20 2014-06-24 Greatbatch Ltd. RF activated AIMD telemetry transceiver
JP5081742B2 (ja) * 2007-06-29 2012-11-28 日本電波工業株式会社 アンテナ分波器
US11147977B2 (en) 2008-03-20 2021-10-19 Greatbatch Ltd. MLCC filter on an aimd circuit board conductively connected to a ground pin attached to a hermetic feedthrough ferrule
US10080889B2 (en) 2009-03-19 2018-09-25 Greatbatch Ltd. Low inductance and low resistance hermetically sealed filtered feedthrough for an AIMD
US9463329B2 (en) 2008-03-20 2016-10-11 Greatbatch Ltd. Shielded three-terminal flat-through EMI/energy dissipating filter with co-fired hermetically sealed feedthrough
US8095224B2 (en) 2009-03-19 2012-01-10 Greatbatch Ltd. EMI shielded conduit assembly for an active implantable medical device
US9427596B2 (en) 2013-01-16 2016-08-30 Greatbatch Ltd. Low impedance oxide resistant grounded capacitor for an AIMD
US11198014B2 (en) 2011-03-01 2021-12-14 Greatbatch Ltd. Hermetically sealed filtered feedthrough assembly having a capacitor with an oxide resistant electrical connection to an active implantable medical device housing
US10350421B2 (en) 2013-06-30 2019-07-16 Greatbatch Ltd. Metallurgically bonded gold pocket pad for grounding an EMI filter to a hermetic terminal for an active implantable medical device
US10272252B2 (en) 2016-11-08 2019-04-30 Greatbatch Ltd. Hermetic terminal for an AIMD having a composite brazed conductive lead
US9931514B2 (en) 2013-06-30 2018-04-03 Greatbatch Ltd. Low impedance oxide resistant grounded capacitor for an AIMD
US10596369B2 (en) 2011-03-01 2020-03-24 Greatbatch Ltd. Low equivalent series resistance RF filter for an active implantable medical device
US9504843B2 (en) 2011-08-19 2016-11-29 Greatbach Ltd. Implantable cardioverter defibrillator designed for use in a magnetic resonance imaging environment
US20130046354A1 (en) 2011-08-19 2013-02-21 Greatbatch Ltd. Implantable cardioverter defibrillator designed for use in a magnetic resonance imaging environment
US9093974B2 (en) 2012-09-05 2015-07-28 Avx Corporation Electromagnetic interference filter for implanted electronics
USRE46699E1 (en) 2013-01-16 2018-02-06 Greatbatch Ltd. Low impedance oxide resistant grounded capacitor for an AIMD
JP6107718B2 (ja) * 2014-03-20 2017-04-05 三菱電機株式会社 高周波フィルタ
US10249415B2 (en) 2017-01-06 2019-04-02 Greatbatch Ltd. Process for manufacturing a leadless feedthrough for an active implantable medical device
US10912945B2 (en) 2018-03-22 2021-02-09 Greatbatch Ltd. Hermetic terminal for an active implantable medical device having a feedthrough capacitor partially overhanging a ferrule for high effective capacitance area
US10905888B2 (en) 2018-03-22 2021-02-02 Greatbatch Ltd. Electrical connection for an AIMD EMI filter utilizing an anisotropic conductive layer
DE102018132881B4 (de) * 2018-12-19 2020-08-06 RF360 Europe GmbH Akustische Filter mit verbesserter Reflektivität
KR102785407B1 (ko) 2019-03-12 2025-03-21 교세라 에이브이엑스 컴포넌츠 코포레이션 고전력, 양면 박막 필터

Also Published As

Publication number Publication date
JP2004289760A (ja) 2004-10-14

Similar Documents

Publication Publication Date Title
JP4400853B2 (ja) ローパスフィルタ内蔵配線基板
JP4000072B2 (ja) ローパスフィルタ内蔵配線基板
US7498899B2 (en) Duplexer with filters including film bulk acoustic resonators
US6759926B2 (en) LC filter circuit, monolithic LC composite component, multiplexer, and radio communication device
WO2002093763A1 (en) Filter using film bulk acoustic resonator and transmission/reception switch
GB2380879A (en) Laminated LC low-pass filter with trap circuit
EP1641119A2 (en) Duplexer
JP4895982B2 (ja) フィルタ装置
JP4693587B2 (ja) バンドパスフィルタ
JP4000081B2 (ja) ダイプレクサ内蔵配線基板
JP4009178B2 (ja) ローパスフィルタ
JP4693588B2 (ja) バンドパスフィルタ
JP4245265B2 (ja) 複数のフィルタを有する多層配線基板
JP2004350143A (ja) バラントランス
JP2004120291A (ja) バラントランス
JPH0951206A (ja) 分波器及びその製造方法
JP4150273B2 (ja) ハイパスフィルタ内蔵配線基板
JP5489745B2 (ja) フィルタ装置
JP2003023332A (ja) 電子回路用配線基板
JP2004296927A (ja) 電子部品収納用配線基板
JP2003069362A (ja) ダイプレクサ
JPH10276117A (ja) 複合スイッチ回路部品
JP4336319B2 (ja) 積層ストリップラインフィルタ
KR100613649B1 (ko) 광대역 체적탄성파 여파기 모듈
JP3676885B2 (ja) チップ型積層フィルタ

Legal Events

Date Code Title Description
A621 Written request for application examination

Free format text: JAPANESE INTERMEDIATE CODE: A621

Effective date: 20060315

A977 Report on retrieval

Free format text: JAPANESE INTERMEDIATE CODE: A971007

Effective date: 20081022

A131 Notification of reasons for refusal

Free format text: JAPANESE INTERMEDIATE CODE: A132

Effective date: 20081104

A521 Written amendment

Free format text: JAPANESE INTERMEDIATE CODE: A523

Effective date: 20081225

A131 Notification of reasons for refusal

Free format text: JAPANESE INTERMEDIATE CODE: A131

Effective date: 20090424

A521 Written amendment

Free format text: JAPANESE INTERMEDIATE CODE: A523

Effective date: 20090618

TRDD Decision of grant or rejection written
A01 Written decision to grant a patent or to grant a registration (utility model)

Free format text: JAPANESE INTERMEDIATE CODE: A01

Effective date: 20090929

A01 Written decision to grant a patent or to grant a registration (utility model)

Free format text: JAPANESE INTERMEDIATE CODE: A01

A61 First payment of annual fees (during grant procedure)

Free format text: JAPANESE INTERMEDIATE CODE: A61

Effective date: 20091023

R150 Certificate of patent or registration of utility model

Free format text: JAPANESE INTERMEDIATE CODE: R150

FPAY Renewal fee payment (event date is renewal date of database)

Free format text: PAYMENT UNTIL: 20121106

Year of fee payment: 3

FPAY Renewal fee payment (event date is renewal date of database)

Free format text: PAYMENT UNTIL: 20121106

Year of fee payment: 3

FPAY Renewal fee payment (event date is renewal date of database)

Free format text: PAYMENT UNTIL: 20131106

Year of fee payment: 4

LAPS Cancellation because of no payment of annual fees