JP4348564B2 - 内燃機関の可変動弁装置 - Google Patents

内燃機関の可変動弁装置 Download PDF

Info

Publication number
JP4348564B2
JP4348564B2 JP2008086499A JP2008086499A JP4348564B2 JP 4348564 B2 JP4348564 B2 JP 4348564B2 JP 2008086499 A JP2008086499 A JP 2008086499A JP 2008086499 A JP2008086499 A JP 2008086499A JP 4348564 B2 JP4348564 B2 JP 4348564B2
Authority
JP
Japan
Prior art keywords
cam
cam lobe
drive arm
end surface
eccentric
Prior art date
Legal status (The legal status is an assumption and is not a legal conclusion. Google has not performed a legal analysis and makes no representation as to the accuracy of the status listed.)
Expired - Fee Related
Application number
JP2008086499A
Other languages
English (en)
Other versions
JP2009236090A (ja
Inventor
淳 星川
博文 東
昌弘 藤本
範貢 大澤
哲治 龍見
朋之 村岡
英雄 中井
Current Assignee (The listed assignees may be inaccurate. Google has not performed a legal analysis and makes no representation or warranty as to the accuracy of the list.)
Mitsubishi Motors Corp
Mitsubishi Automotive Engineering Co Ltd
Original Assignee
Mitsubishi Motors Corp
Mitsubishi Automotive Engineering Co Ltd
Priority date (The priority date is an assumption and is not a legal conclusion. Google has not performed a legal analysis and makes no representation as to the accuracy of the date listed.)
Filing date
Publication date
Application filed by Mitsubishi Motors Corp, Mitsubishi Automotive Engineering Co Ltd filed Critical Mitsubishi Motors Corp
Priority to JP2008086499A priority Critical patent/JP4348564B2/ja
Priority to US12/277,127 priority patent/US7739987B2/en
Priority to DE102008058982.9A priority patent/DE102008058982B4/de
Priority to RU2009102964/06A priority patent/RU2410547C2/ru
Priority to CN2009100082956A priority patent/CN101545386B/zh
Publication of JP2009236090A publication Critical patent/JP2009236090A/ja
Application granted granted Critical
Publication of JP4348564B2 publication Critical patent/JP4348564B2/ja
Expired - Fee Related legal-status Critical Current
Anticipated expiration legal-status Critical

Links

Images

Classifications

    • FMECHANICAL ENGINEERING; LIGHTING; HEATING; WEAPONS; BLASTING
    • F01MACHINES OR ENGINES IN GENERAL; ENGINE PLANTS IN GENERAL; STEAM ENGINES
    • F01LCYCLICALLY OPERATING VALVES FOR MACHINES OR ENGINES
    • F01L1/00Valve-gear or valve arrangements, e.g. lift-valve gear
    • F01L1/34Valve-gear or valve arrangements, e.g. lift-valve gear characterised by the provision of means for changing the timing of the valves without changing the duration of opening and without affecting the magnitude of the valve lift
    • FMECHANICAL ENGINEERING; LIGHTING; HEATING; WEAPONS; BLASTING
    • F01MACHINES OR ENGINES IN GENERAL; ENGINE PLANTS IN GENERAL; STEAM ENGINES
    • F01LCYCLICALLY OPERATING VALVES FOR MACHINES OR ENGINES
    • F01L1/00Valve-gear or valve arrangements, e.g. lift-valve gear
    • F01L1/34Valve-gear or valve arrangements, e.g. lift-valve gear characterised by the provision of means for changing the timing of the valves without changing the duration of opening and without affecting the magnitude of the valve lift
    • F01L1/344Valve-gear or valve arrangements, e.g. lift-valve gear characterised by the provision of means for changing the timing of the valves without changing the duration of opening and without affecting the magnitude of the valve lift changing the angular relationship between crankshaft and camshaft, e.g. using helicoidal gear
    • F01L1/356Valve-gear or valve arrangements, e.g. lift-valve gear characterised by the provision of means for changing the timing of the valves without changing the duration of opening and without affecting the magnitude of the valve lift changing the angular relationship between crankshaft and camshaft, e.g. using helicoidal gear making the angular relationship oscillate, e.g. non-homokinetic drive

Landscapes

  • Engineering & Computer Science (AREA)
  • Mechanical Engineering (AREA)
  • General Engineering & Computer Science (AREA)
  • Valve Device For Special Equipments (AREA)
  • Valve-Gear Or Valve Arrangements (AREA)

Description

本発明は、バルブの開弁期間の可変を行う内燃機関の可変動弁装置に関する。
自動車に搭載されるレシプロ式のエンジン(内燃機関)では、適切に吸気や排気のバルブのバルブ特性を制御するため、エンジンの運転状態に応じてバルブの開弁期間を可変させる方式の可変動弁装置が開発されている。
この方式の可変動弁装置の多くは、特許文献1に開示されているようにシリンダヘッドに組み付くカムシャフト(カム駆動シャフト)の外周面に回転自在に外嵌させたカムローブと、カムシャフトの回転を所定周期で速度を変化させてカムローブに伝える開弁期間可変機構とを組み合わせた構造が用いられる。この開弁期間可変機構の多くは、カムシャフトの外周面のうちカムローブと隣接した地点に駆動アームを固定し、この駆動アームと隣接した地点に偏心回転自在に偏心軸部を嵌挿し、この偏心軸部の外周面にハーモニックリング(中間回転部材)を回転自在に設けたオルダム継手構造が用いられる。具体的には、駆動アームから出力されるカムシャフトの一定回転を、入側の伝達部材により、ハーモニックリングへ伝えて、所定周期で速度が変わる不等速回転に変化させ、同回転を出側の伝達部材により、カムローブの端部外周から突き出るボス部からカムローブへ伝えて、バルブを駆動させる構造が用いられる。そして、偏心軸部の軸心位置をカムシャフトの軸心位置から位相させることによって、カムシャフトの回転角に対するカムローブの回転位相の遅れや進みが調節され、バルブの開弁期間の可変が行われる。
こうした開弁期間可変機構は、シリンダヘッドの気筒間といった限られた領域に配置させるために、特許文献1に示されるようにカムローブの端部外周面から突き出たボス部は、駆動アームの側部と隣接した地点に並行に配置させて、ハーモニックリングからの回転を伝達したり、可変機構の入力ギヤ部の内側に設けられたカムシャフトより、若干、大きな外径の偏心軸部でハーモニックリングを支える構造が用いられる。
このような開弁期間可変機構では、ハーモニックリングを円滑に回転させるために、特許文献1にも開示されているように偏心軸部の外周面とハーモニックリングの内周面との間にニードルベアリングなど軸受部材を設ける。
ところで、軸受部材は、ハーモニックリングの挙動の変化から(偏心方向の変化などにより)、抜ける方向、具体的にはカムローブ側へ変位することがある。
ところが、このような軸受部材が変位すると、ハーモニックリングが良好に支持できない。しかも、異常磨耗をもたらす。すなわち軸受部材は、ハーモニックリングを支えるためにカムシャフトと偏心した地点に配置され、カムローブのボス部は、カムシャフトと同軸上で駆動アームと隣接して配置されているために、両者の位置ずれから、ハーモニックリングの回転中、軸受部材の端面は、駆動アームの端面と向き合ったり、カムローブのボス部の端面と向き合ったりする状態を繰り返す。特にカムローブのボス部は、駆動アームの外側に配置されるために、ボス部の端面の全体が、完全に軸受部材から外側へずれたり、再び軸受部材の内側へ戻ってきたりする挙動を繰り返す。このため、たとえ微小であっても、軸受部材の端部が偏心軸部とハーモニックリング間から突き出ると、ボス部が軸受部材の端部を通過する際、軸受部材の端部とボス部の端面の角部とが干渉するという異常な磨耗を発生する。
そこで、圧入により、ハーモニックリングと偏心軸部間に軸受部材を組み付ける構造を採用して、軸受部材が抜け出るのを規制したり、ハーモニックリングと偏心軸部間に、別途、抜止め部材を設ける構造を採用して、軸受部材が抜け出ないようにしたりすることが考えられる。
しかし、前者の圧入の場合、ハーモニックリングは弾性変形がしやすい部品であるために、軸受部材の軸方向の移動を確実に阻止することは難しい。
後者の抜止め部材の場合、抜止め部材を設置するスペースを確保するために、軸受部材の軸受長を短くせざるを得ず(軸受部材の強度の低下)、満たしていたはずのハーモニックリングの支持強度が確保できなくなり、他の問題をもたらす。
一方、異常な磨耗を防ぐためには、駆動アームの端面とカムローブのボス部の端面とを面一にして、ボス部が軸受部材の端面と駆動アームの端面間をスムーズに通過させることが考えられる。しかし、駆動アームとカムローブのボス部とは、別部品であるうえ、異なる動きをするため、双方の端面同士を段差や隙間なく完全に合わせることはできず、異常磨耗を防ぐにも困難を伴う。
そこで、本発明の目的は、軸受部材や中間回転部材には手を加えない簡単な構造で、軸受部材の抜け方向の挙動を規制するとともに、軸受部材の端部とカムローブのボス部との干渉が防げる内燃機関の可変動弁装置を提供する。
請求項1に記載の発明は、上記目的を達成するために、前記駆動アームが、前記カム駆動シャフトの軸線に沿って投影されたときに、前記駆動アームが前記偏心軸部材に対してどの回転位置にあっても前記軸受部材の端面とオーバラップする端面を有し、当該端面が前記カムローブの端面より、前記軸受部材側へ突出している。
請求項2に記載の発明は、前記駆動アームが、前記カム駆動シャフトに固定された固定環と、同固定環の外周から半径方向外方へ延び、前記中間回転部材に回転力を伝えるアーム部とを有し、前記固定環における前記軸受部材側の端面が、前記駆動アームにおける前記軸受部材の端面とオーバラップする端面である。
請求項3に記載の発明は、前記カムローブが、同カムローブの軸心からオフセットした位置に、前記中間回転部材の回転力が伝えられるボス部を有し、同ボス部は、前記中間回転部材に向かって延び、前記カムローブは、前記駆動アームの固定環における前記カムローブ側端面に当接して、同カムローブの駆動アームに対する軸線方向の位置決めをなす当接面を有し、前記カムローブにおける前記当接面から前記ボス部の先端側端面までの軸線方向の長さよりも、前記駆動アームの固定環の軸線方向長さが大きく設定されている。
請求項1の発明によれば、駆動アームの端面は、前記駆動アームが前記偏心軸部材に対してどの回転位置にあっても前記軸受部材の端面のいずれかの部分に向き合うから、前記軸受部材の抜ける方向の挙動が規制され、前記軸受部材の無用な移動を抑えることができる。また、たとえ軸受部材の端部が僅かに突き出ても、駆動アームの端面に突き当たるだけで、前記カムローブの他の部分との干渉を確実に避けることができる。しかも、軸受部材や中間回転部材には手を加えずにすむ簡単な構造で、目的を達成することができる。
請求項2の発明によれば、前記駆動アームの固定環の端面により、前記軸受部材の抜ける方向の挙動を規制することができる。また、たとえ軸受部材の端部が僅かに突き出ても、前記駆動アームの固定環の端面に突き当たるだけで、前記カムローブの駆動アームとの干渉を確実に避けることができる。しかも、固定環の形状を変えるだけの簡単な構造で、目的を達成することができる。
請求項3の発明によれば、前記カムローブの当接面と前記駆動アームにおける前記カムローブ側端面との当接により、両者の相互の軸線方向の位置決めがなされ、かつ両者の軸線方向の長さを設定するので、前記駆動アームの固定環の該端面の、前記カムローブのボス部の端面よりも突出する量を正確に設定することができる。したがって、前記ボス部の端面と前記中間回転部材とを可能な限り近づけることができ、前記中間回転部材から前記ボス部へ滑らかに力を伝えることができる。
以下、本発明を図1〜図6に示す一実施形態にもとづいて説明する。
図1は内燃機関の例えば吸気側の動弁系に可変動弁装置を組み込んだ内燃機関の断面図を示している。同図を説明すると、図1中1は、内燃機関のシリンダブロック、例えば4気筒のレシプロ式ガソリンエンジン(以下、単にエンジンという)のシリンダブロック(図1にだけ図示)を示し、2は同シリンダブロック1の頭部に搭載されたシリンダヘッドを示している。
まず、エンジンの基本構造を説明すると、シリンダブロック1には、エンジンの前後方向に直列に並んで4つの気筒4(一部気筒だけ図示)が形成されている。これら気筒4内には、ピストン5がそれぞれ往復動動可能に収められている。ピストン5は、いずれも図示はしないが、コンロッドを介してクランクシャフトに接続してある。
シリンダヘッド2の下面には、気筒4に対応して、それぞれ燃焼室6が形成されている。燃焼室6には、一対の吸気ポート7、一対の排気ポート(図示しない)が形成されている。また燃焼室6には、吸気ポート7を開閉する一対(2つ)の吸気バルブ8(本願のバルブに相当)と、排気ポートを開閉する一対の排気バルブ(図示しない)が設けられている。なお、吸気バルブ8、排気バルブは、いずれもバルブスプリング9により閉じる常閉式である。さらに燃焼室6には、図示はしないが点火プラグがそれぞれ設けられていて、所定の燃焼サイクル(吸気行程、圧縮行程、爆発行程および排気行程の4サイクル)が繰り返されるようにしている。
またシリンダヘッド2の上部には、気筒4が並ぶ方向に沿って吸気用カムシャフト10(本願のカム駆動シャフトに相当)、排気用カムシャフト(図示しない)が設けられている。この吸気用カムシャフト10および排気用カムシャフトは、図示しないタイミングチェーン部材などを介して、クランクシャフト端(図示しない)に接続されていて、クランクシャフトから出力される軸出力にて回転駆動される構造となっている。
このエンジンの吸気用カムシャフト10には、図1に示されるように可変動弁装置15が組み付けられている。可変動弁装置15には、カムシャフトの一定回転を不等速回転に変えて、吸気バルブ8の開弁期間を変化させる可変構造が用いられている。同可変構造は、気筒4毎、吸気用カムシャフト10の外周面に回転自在に嵌挿されたカムローブ16と、同カムローブ16毎に組み付く偏心回転式の開弁期間可変機構28とを組み合わせて構成される。
図2には、このうち1気筒分のカムローブ16および開弁期間可変機構28の分解斜視図が示されている。
同図2を参照して、この1気筒分で代表される可変構造の各部を説明すると、カムローブ16は、吸気用カムシャフト10の外周面に回転自在に外嵌される筒形の本体部17と、この本体部17の外周面に形成された一対(複数)のカム部18と、カム部18と隣接した本体部17の一方の端部の外周部に突設したボス部19とを有して構成される。そして、このうちカム部18間の外周面が、一対の吸気バルブ8間に設置されている軸受20によって回転自在に支持される(図1にだけ図示)。
ボス部19は、図2および図4中の二点鎖線に示されるような三角板片をなしている。具体的にはボス部19は、根元部19xが、本体部17の端面外周部から端方、具体的には前方へ突き出て、先端部となる頂部19yが、本体部17の直径方向へ張り出る三角板片のブロックで形成してある。
そして、各カム部18のカム面は、吸気バルブ8の受け部、例えば吸気バルブ8の基端に装着されたバルブリフタ8aと直接当接していて、カム部18で吸気バルブ8の駆動が行えるようにしている。
開弁期間可変機構28は、不等速機構30と、開弁期間を設定する期間設定部40とを組み合わせて構成してある。不等速機構30は、吸気用カムシャフト10の一定回転を不等速回転に変化させて、カムローブ16へ伝える機構である。具体的には不等速機構30は、オルダム継手で構成されている。
すなわち、同継手は、図1および図2に示されるようにカムローブ16のボス部19側の端面(一端部)と隣接する吸気用カムシャフト部分に設けた駆動アーム31と、この駆動アーム31と隣接する吸気用カムシャフト10の外周面に回転自在に嵌挿された偏心軸部33と、この偏心軸部33の外周面に嵌挿されたハーモニックリング32(中間回転部材に相当)と、偏心軸部33の外周面とハーモニックリング32の内周面との間に挿入された軸受部材、例えばニードルベアリング34とを有している。
このうちニードルベアリング34は、保持器(図示しない)で多数本の針34aを保持しただけのベアリング本体部を偏心軸部33の外周面に差し込み、このベアリング本体部の外周部にハーモニックリング32を挿入して、ハーモニックリング32を回転自在に支持する構造が用いてある。なお、針34aには、偏心軸部33とハーモニックリング32の対向する円筒面の長さから保持器を成立させるのに必要な長さを除いた最大の長さを与えている。
偏心軸部33は、吸気用カムシャフト10より、若干、大きな外径の軸部材が用いられる。同軸部材は、吸気用カムシャフト10の軸心と偏心していて、この偏心した偏心軸部材の外周面上をハーモニックリング32が回転する。
駆動アーム31は、カムシャフト部分の外周面に外嵌された固定環31aと、ボス部19とは180°ずれた固定環31aの地点から直径方向へ突き出るアーム部31bとを有した部品で構成されている。そして、固定環31aは、固定部材、例えば図示しないピン部材で吸気用カムシャフト10に固定(同軸)され、駆動アーム31をカムローブ16の端面と隣接した地点に組み付けている。カムローブ16のボス部19は、この固定環31aのアーム部31bとは反対側の側部と並ぶように配置してある。つまり、ボス部19は、駆動アーム31の側部と隣接した地点に並行に配置され、ボス部19全体をコンパクトに駆動アーム31端の周りにレイアウトさせている。
またアーム部31bの先端部の端面とボス部19の端面とには、1組の中継ピン35a,35bの一方の端部が回転自在に嵌挿される。このうちアーム部31bから突き出た中継ピン35a(入側の伝達部材)の端部は、ハーモニックリング32の端面に形成された直径方向に延びるスライド溝36aにスライド自在に嵌挿される。またボス部19から突き出た中継ピン35b(出側の伝達部材)の端部は、固定環31aの側方を通過して、スライド溝36aとは180度ずれた地点に形成された直径方向に延びるスライド溝36bにスライド自在に嵌挿される。
これにより、吸気用カムシャフト10の回転が、駆動アーム31から中継ピン35aを通じてハーモニックリング32へ伝達され、さらにハーモニックリング32から中継ピン35bおよびボス部19を通じてカムローブ16へ伝わるようにしている。つまり、吸気用カムシャフト10の回転は、図5(a)や図5(c)に示されるように偏心軸部33の周り(吸気用カムシャフト10の周り)を遅れや進みを生じながら偏心回転するハーモニックリング32での中継により、図5(b)中の実線あるいは破線で示されるような所定周期で速度が変化する回転となって、カムローブ16へ伝えられるようにしている。
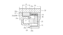
そして、偏心軸部33の設置構造から、駆動アーム31の固定環31aのハーモニックリング32側の端面は、吸気用カムシャフト10からカムローブ16へ回転が伝達されているとき、ニードルベアリング34の端面とオーバラップし続ける端面31c(本願の端面部に相当)としてある。すなわち、固定環31aの該端面は、カムシャフト10の軸線に沿って投影されたときに、駆動アーム31が偏心軸部33に対してどの回転位置にあってもニードルベアリング34の端面とオーバラップするように形成されている。この端面31cは、図1および図3(図1中のA部を拡大した図)に示されるようにボス部19の端面から、ニードルベアリング34側へ突き出ている。なお、ボス部19とハーモニックリンク32との間隔Sはできるだけ小さい方が好ましい。これは、ハーモニックリング32からボス部19へ回転力を伝えるときに、この間隔Sが小さい方が、中継ピン35bをこじる力を小さくでき、すなわちハーモニックリング32からボス部19へ滑らかに力を伝えることができるからである。
このため、本実施形態においては、次のとおり構成している。図3に明らかなように、カムローブ16の本体部17は、駆動アーム31の固定環31aの図左側の端面に当接して、カムローブ16の駆動アーム31に対する軸線方向の位置決めをなす当接面16aを有しており、両者の相互の位置決めを確実なものとしている。そして、固定環31aの軸線方向長さBが、カムローブ16における端面16aからボス部19の先端の端面19aまでの軸線方向長さよりもわずかに大きく設定している。これにより、駆動アーム31の固定環31aの端面31cが、カムローブ16の端面16aよりも突出する量を極めて正確に設定することができ、すなわち上述した間隔Sをできるだけ小さく設定することができるのである。
期間設定部40は、図1および図2に示されるように偏心軸部33に入力ギヤ部41を一体に設けた構造が用いられる。同入力ギヤ部41は、吸気用カムシャフト10の軸心と同一の軸心をもつ円形ギヤで構成され、入力ギヤ部41から開弁期間の設定を入力すると、偏心軸部33の軸心が、吸気用カムシャフト10の軸心の周りを偏心位相する。期間設定部40の各部は、図5の(a)〜(c)に示されるように吸気バルブ8の最大リフト時に関連付けて設定されている。今、図5の(c)に示されるように、偏心軸部33の軸心位置βが、吸気用カムシャフト10の軸心位置αの上方(反バルブ側)に一直線に並んだ偏心位相0°(上方偏心)にすると、カムシャフト10の回転角に対するカム山部18の回転位相は、カムシャフト10が0°から180°までの間は最大に進み、180°から360°の間は最大に遅れる。これにより、この上方偏心においては、開弁期間が最大となる。反対に図5の(a)に示されるように、偏心軸部33の軸心位置βが、吸気用カムシャフト10の軸心位置αの下方(バルブ側)に一直線に並んだ偏心位相180°(下方偏心)にすると、カムシャフト10の回転角に対するカム山部18の回転位相は、カムシャフト10が0°から180°までの間は最大に遅れ、180°から360°の間は最大に進む。これにより、この上方偏心においては、開弁期間が最小となる。両位置間、すなわち0〜180°間では、このように偏心位相に応じて開弁期間を変えることができる。
なお、入力ギヤ部41は、図1中の二点鎖線で示されるようにコントロールシャフト42(操作部材)のギヤ部42aが噛み合わせてあり、コントロールシャフト42につながるアクチュエータ(図示しない)をエンジンの運転状態に応じて制御すると、ハーモニックリング32の偏心位置がエンジンの運転状態に応じ変化し、各気筒4の吸気バルブ8の開弁期間が調節できるようにしてある。
つぎに作用について説明する。
このように構成されたエンジンの可変動弁装置15は、アクチュエータ(図示しない)により、図5(c)に示されるように吸気側の偏心軸部33の軸心位置βを吸気用カムシャフト10の軸心位置αより上側の偏心位相0°の地点に設定する。これにより、ハーモニックリング32の偏心位置は所定地点に位置決められる。
すると、各気筒4の吸気バルブ8を通過するカム部18は、上述したように、開弁時期は最大に早まり、閉弁時期は最大に遅れるように変位し、図6中の実線のように吸気バルブ8は、エンジンの高速運転に適した開弁期間の長い特性で開閉する。
反対にアクチュエータにより、図5(a)に示されるように吸気側の偏心軸部33の軸心位置βを吸気用カムシャフト10の軸心位置αより下側の偏心位相0°の地点に設定する。これにより、ハーモニックリング32の偏心位置は所定地点に位置決められる。
すると、各気筒4の吸気バルブ8を通過するカム部18は、上述したように、開弁時期は最大に遅れ、閉弁時期は最大に早まるように変位し、図6中の破線のように吸気バルブ8は、エンジンの低速運転に適した開弁期間の短い特性で開閉する。むろん、偏心軸部33の偏心位相角度を0〜180°内で変えれば、吸気バルブ8の開弁期間は、図5中の破線で示す最小の開弁期間のバルブ特性と実線で示す最大の開弁期間のバルブ特性との間で可変される。
こうした開弁期間の制御中、例えば図4(a)〜(d)に示す偏心軸部33の軸心位置βが吸気用カムシャフト10の軸心位置αより下側に設定した状態で代表されるように、ニードルベアリング34の環状の端面は、ハーモニックリング32の回転中、駆動アーム31の端面と向き合ったり、カムローブ16のボス部19の端面と向き合ったりする状態を繰り返している。むろん、カムローブ16のボス部19は、駆動アーム31の外側に配置されるために、ボス部19の端面全体が、完全にニードルベアリング34の環状の端面から外側へずれたり、再びニードルベアリング34の内側へ戻ってきたりする挙動を繰り返している。
このとき、ニードルベアリング34の環状の端面とオーバラップし続ける駆動アームの端面31cだけは、ボス部19の端面よりも、ニードルベアリング34側へ突き出ているから、ハーモニックリング32の偏心方向の変化から、ニードルベアリング34が抜ける方向へ移動する挙動が生じても、図3に示されるようにニードルベアリング34の端面と近接した地点には、常に突き出た端面部31cが有る。このため、ニードルベアリング34の環状の端面は、端面部31のいずれの部分と向き合うから、ニードルベアリング34の抜ける方向の動き(挙動)が規制される。これにより、ニードルベアリング34の無用な移動が抑えられ、常に良好にハーモニックリング32の軸受けができる。
しかも、たとえ微小ながらニードルベアリング34の端部がカムローブ16側へ突き出たとしても、図3に示されるようにニードルベアリング34の端部は、突き出た端面部31cと突き当たり、その動きが規制されるだけで、同端面部から退避した地点に有るボス部19の端面の角部19cと接触することはないので、異常磨耗の発生を防ぐことができる。
したがって、ニードルベアリング34やハーモニックリング32や偏心軸部33には、手を加えずにすむ簡単な構造で、ニードルベアリング34の抜け方向の挙動を抑えたり、ニードルベアリング34の端部とカムローブ16のボス部19との干渉を防いだりすることができる。しかも、突き出る端面部31cは、駆動アーム31の厚み寸法、さらに述べれば固定環31aの厚み寸法を増大させて形成しただけなので、特に簡単な構造ですむ。
またニードルベアリング34は、外部から負担が強いられないから、ハーモニックリング32と偏心軸部33との間の制約の中で最大限の長さの針34aが採用でき、ハーモニックリング32の支持強度を十分に確保できる。
なお、本発明は上述した一実施形態に限定されるものではなく、本発明の主旨を逸脱しない範囲内で種々変更して実施しても構わない。例えば上述した一実施形態では、固定環の幅寸法を増大させて、軸受部の端面とオーバラップし続ける端面を突き出したが、むろん固定環からアーム部まで連続した端面とし、同部分の幅寸法を増大させて、軸受部の端面とオーバラップし続ける端面を突き出すようにしてもよい。また一実施形態では、軸受部としてニードルベアリングを用いた例を挙げたが、これに限らす、滑り軸受など他の軸受を用いてもよい。また一実施形態では、エンジンの吸気側に偏心回転式の可変動弁装置を設けた構造を挙げ、この可変動弁装置に本発明を採用したが、これに限らず、エンジンの排気側に設けた偏心回転式の可変動弁装置に本発明を採用しても構わない。
本発明の一実施形態に係る内燃機関の可変動弁装置を示す断面図。 同可変動弁装置の要部の構造を分解した分解斜視図。 図1中のA部を拡大して示す断面図。 同可変動弁装置の軸受部の端面上を移動する駆動アーム、ボス部の軌跡の説明する図。 同可変動弁装置の作動特性を説明するための図。 同作動特性によって得られるバルブの開弁期間の変化を説明するために線図。
符号の説明
2 シリンダヘッド
8 吸気バルブ(バルブ)
10 吸気用カムシャフト(カム駆動シャフト)
15 可変動弁装置
16 カムローブ
19 ボス部
28 開弁期間可変機構
31 駆動アーム
33 偏心軸部
33c 端面(端面部)
34 ニードルベアリング(軸受部材

Claims (3)

  1. 吸気又は排気のバルブを有するシリンダヘッドと、
    前記シリンダヘッドに回転自在に支持されたカム駆動シャフトと、
    前記カム駆動シャフトに回転自在に支持され、前記バルブを駆動するカムを有するカムローブと、
    前記カム駆動シャフトにおける前記カムローブの一端部の近傍に固定された駆動アーム、前記カム駆動シャフトにおける前記駆動アームに関して前記カムローブと反対側の位置に回動可能に支持され、外周面が当該カム駆動シャフトの軸心と偏心し、その偏心状態を調整可能な偏心軸部材、及び前記偏心軸部材の外周面の周りに軸受部材を介して回転自在に支持され、前記駆動アームに接続された中間回転部材を有し、前記カム駆動シャフトの回転を、前記駆動アーム及び前記中間回転部材を介して前記カムローブに伝達させると共に、前記偏心軸部材の偏心状態を調整することで、前記バルブの開弁期間を可変とする可変動弁機構とを備え、
    前記駆動アームが、前記カム駆動シャフトの軸線に沿って投影されたときに、前記駆動アームが前記偏心軸部材に対してどの回転位置にあっても前記軸受部材の端面とオーバラップする端面を有し、当該端面が前記カムローブの端面より、前記軸受部材側へ突出していることを特徴とする内燃機関の可変動弁装置。
  2. 前記駆動アームは、前記カム駆動シャフトに固定された固定環と、同固定環の外周から半径方向外方へ延び、前記中間回転部材に回転力を伝えるアーム部とを有し、
    前記固定環における前記軸受部材側の端面が、前記駆動アームにおける前記軸受部材の端面とオーバラップする端面であることを特徴とする請求項1記載の内燃機関の可変動弁装置。
  3. 前記カムローブは、同カムローブの軸心からオフセットした位置に、前記中間回転部材の回転力が伝えられるボス部を有し、同ボス部は、前記中間回転部材に向かって延び、
    前記カムローブは、前記駆動アームの固定環における前記カムローブ側端面に当接して、同カムローブの駆動アームに対する軸線方向の位置決めをなす当接面を有し、
    前記カムローブにおける前記当接面から前記ボス部の先端側端面までの軸線方向の長さよりも、前記アーム駆動部の固定環の軸線方向長さが大きく設定されていることを特徴とする請求項2記載の内燃機関の可変動弁装置。
JP2008086499A 2008-03-28 2008-03-28 内燃機関の可変動弁装置 Expired - Fee Related JP4348564B2 (ja)

Priority Applications (5)

Application Number Priority Date Filing Date Title
JP2008086499A JP4348564B2 (ja) 2008-03-28 2008-03-28 内燃機関の可変動弁装置
US12/277,127 US7739987B2 (en) 2008-03-28 2008-11-24 Variable valve gear for an internal combustion engine
DE102008058982.9A DE102008058982B4 (de) 2008-03-28 2008-11-25 Variabler Ventiltrieb für einen Verbrennungsmotor
RU2009102964/06A RU2410547C2 (ru) 2008-03-28 2009-01-29 Регулируемый привод клапанов двигателя внутреннего сгорания
CN2009100082956A CN101545386B (zh) 2008-03-28 2009-02-19 内燃机的可变阀装置

Applications Claiming Priority (1)

Application Number Priority Date Filing Date Title
JP2008086499A JP4348564B2 (ja) 2008-03-28 2008-03-28 内燃機関の可変動弁装置

Publications (2)

Publication Number Publication Date
JP2009236090A JP2009236090A (ja) 2009-10-15
JP4348564B2 true JP4348564B2 (ja) 2009-10-21

Family

ID=41060730

Family Applications (1)

Application Number Title Priority Date Filing Date
JP2008086499A Expired - Fee Related JP4348564B2 (ja) 2008-03-28 2008-03-28 内燃機関の可変動弁装置

Country Status (5)

Country Link
US (1) US7739987B2 (ja)
JP (1) JP4348564B2 (ja)
CN (1) CN101545386B (ja)
DE (1) DE102008058982B4 (ja)
RU (1) RU2410547C2 (ja)

Families Citing this family (26)

* Cited by examiner, † Cited by third party
Publication number Priority date Publication date Assignee Title
JP5294156B2 (ja) * 2009-11-12 2013-09-18 スズキ株式会社 内燃機関の可変動弁装置
DE102010026658A1 (de) 2010-07-09 2012-01-12 Daimler Ag Kraftfahrzeugnockenwellenverstellvorrichtung
WO2012063536A1 (ja) * 2010-11-08 2012-05-18 トヨタ自動車株式会社 可変動弁装置
ES2630312T3 (es) * 2012-12-25 2017-08-21 Toyota Jidosha Kabushiki Kaisha Dispositivo de válvula variable
JP6003868B2 (ja) * 2013-11-14 2016-10-05 トヨタ自動車株式会社 可変動弁装置
DE102014206291A1 (de) * 2014-04-02 2015-10-08 Mahle International Gmbh Nockenwelle
KR101628100B1 (ko) 2014-12-09 2016-06-08 현대자동차 주식회사 연속 가변 밸브 듀레이션 장치 및 이를 포함하는 엔진
KR101628103B1 (ko) 2014-12-09 2016-06-08 현대자동차 주식회사 연속 가변 밸브 타이밍 장치 및 이를 포함하는 엔진
KR101628116B1 (ko) 2014-12-09 2016-06-21 현대자동차 주식회사 연속 가변 밸브 듀레이션 장치 및 이를 포함하는 엔진
KR101628085B1 (ko) 2015-06-22 2016-06-08 현대자동차 주식회사 연속 가변 밸브 듀레이션 장치 및 이를 포함하는 엔진
KR101734261B1 (ko) 2015-07-07 2017-05-24 현대자동차 주식회사 연속 가변 밸브 타이밍 장치 및 이를 포함하는 엔진
KR101628088B1 (ko) 2015-07-07 2016-06-08 현대자동차 주식회사 연속 가변 밸브 듀레이션 장치 및 이를 포함하는 엔진
KR101664079B1 (ko) 2015-09-24 2016-10-10 현대자동차 주식회사 연속 가변 밸브 듀레이션 장치 및 이를 포함하는 엔진
KR102394575B1 (ko) 2017-11-20 2022-05-04 현대자동차 주식회사 연속 가변 밸브 듀레이션 장치 및 이를 포함하는 엔진
US10415488B2 (en) * 2015-12-09 2019-09-17 Hyundai Motor Company System and method for controlling valve timing of continuous variable valve duration engine
US10393037B2 (en) 2015-12-09 2019-08-27 Hyundai Motor Company Method for controlling of valve timing of continuous variable valve duration engine
US10415485B2 (en) 2015-12-10 2019-09-17 Hyundai Motor Company Method for controlling of valve timing of continuous variable valve duration engine
US10323585B2 (en) 2015-12-11 2019-06-18 Hyundai Motor Company Method for controlling of valve timing of continuous variable valve duration engine
KR101776743B1 (ko) 2015-12-11 2017-09-08 현대자동차 주식회사 연속 가변 밸브 듀레이션 엔진의 밸브 타이밍 제어 시스템 및 방법
US10428747B2 (en) 2015-12-11 2019-10-01 Hyundai Motor Company System and method for controlling valve timing of continuous variable valve duration engine
US10920679B2 (en) 2015-12-11 2021-02-16 Hyundai Motor Company Method for controlling of valve timing of continuous variable valve duration engine
US10634067B2 (en) 2015-12-11 2020-04-28 Hyundai Motor Company System and method for controlling valve timing of continuous variable valve duration engine
KR101807023B1 (ko) 2015-12-11 2017-12-08 현대자동차 주식회사 연속 가변 밸브 듀레이션 엔진의 밸브 타이밍 제어 시스템 및 방법
US10634066B2 (en) * 2016-03-16 2020-04-28 Hyundai Motor Company System and method for controlling valve timing of continuous variable valve duration engine
CN106014525B (zh) * 2016-07-27 2018-10-30 重庆交通大学 气门控制调节机构、调节方法及发动机
JP7766410B2 (ja) * 2021-04-09 2025-11-10 株式会社アイシン 弁開閉時期制御ユニット

Family Cites Families (8)

* Cited by examiner, † Cited by third party
Publication number Priority date Publication date Assignee Title
DE19680481C2 (de) * 1995-05-25 2002-09-05 Mitsubishi Motors Corp Variabler Ventiltrieb
JPH0941923A (ja) 1995-05-25 1997-02-10 Mitsubishi Automob Eng Co Ltd 内燃機関の可変動弁機構
JP3899576B2 (ja) * 1997-02-07 2007-03-28 三菱自動車工業株式会社 可変動弁機構及び可変動弁機構付き内燃機関
JP3834921B2 (ja) 1997-04-02 2006-10-18 三菱自動車工業株式会社 可変動弁機構
JP3758328B2 (ja) 1997-08-26 2006-03-22 三菱自動車工業株式会社 可変動弁装置
DE10314683B4 (de) * 2003-03-29 2009-05-07 Entec Consulting Gmbh Variable Ventilhubsteuerung für einen Verbrennungsmotor mit untenliegender Nockenwelle
JP4200375B2 (ja) 2003-12-19 2008-12-24 三菱自動車工業株式会社 内燃機関の可変動弁装置
EP1853797B1 (de) * 2005-03-03 2011-02-16 Hydraulik-Ring GmbH Variable mechanische ventilsteuerung einer brennkraftmaschine

Also Published As

Publication number Publication date
DE102008058982A1 (de) 2009-10-15
JP2009236090A (ja) 2009-10-15
US20090241877A1 (en) 2009-10-01
CN101545386B (zh) 2012-06-13
RU2009102964A (ru) 2010-08-10
US7739987B2 (en) 2010-06-22
CN101545386A (zh) 2009-09-30
DE102008058982B4 (de) 2017-03-16
RU2410547C2 (ru) 2011-01-27

Similar Documents

Publication Publication Date Title
JP4348564B2 (ja) 内燃機関の可変動弁装置
JP2009236010A (ja) 内燃機関の可変動弁装置
JP5105130B2 (ja) 内燃機関の可変動弁装置
US8601989B2 (en) Variable valve gear for internal combustion engine
EP1217176B1 (en) Valve timing adjusting device
WO2018092390A1 (ja) 弁開閉時期制御装置
US20090241873A1 (en) Variable valve-operating system for internal combustion engine
KR100920870B1 (ko) 내연 기관의 가변 밸브 구동 장치
JP2009236012A (ja) 内燃機関の可変動弁装置
JP7368152B2 (ja) バルブタイミング調整装置
JP7338289B2 (ja) 弁開閉時期制御装置
JP4327696B2 (ja) バルブ特性可変装置付き動弁機構
KR20090103688A (ko) 내연 기관용 가변 밸브 작동 시스템
JP4871310B2 (ja) 内燃機関の可変動弁機構
JP2009236009A (ja) 内燃機関の可変動弁装置
EP2211030B1 (en) Variable Valve Mechanism
JP6965636B2 (ja) バルブタイミング調整装置
JP2008115779A (ja) 内燃機関の動弁装置
JP2024119301A (ja) バルブタイミング調整装置
JP2015232300A (ja) 内燃機関の可変動弁装置
JP5392496B2 (ja) 内燃機関の可変動弁装置
JP2013019362A (ja) 可変動弁装置
JP2007192044A (ja) 内燃機関の可変動弁機構
JP2007056689A (ja) 可変動弁機構
JP2010281295A (ja) 内燃機関の動弁装置

Legal Events

Date Code Title Description
TRDD Decision of grant or rejection written
A01 Written decision to grant a patent or to grant a registration (utility model)

Free format text: JAPANESE INTERMEDIATE CODE: A01

Effective date: 20090624

A01 Written decision to grant a patent or to grant a registration (utility model)

Free format text: JAPANESE INTERMEDIATE CODE: A01

A61 First payment of annual fees (during grant procedure)

Free format text: JAPANESE INTERMEDIATE CODE: A61

Effective date: 20090707

FPAY Renewal fee payment (event date is renewal date of database)

Free format text: PAYMENT UNTIL: 20120731

Year of fee payment: 3

R150 Certificate of patent or registration of utility model

Free format text: JAPANESE INTERMEDIATE CODE: R150

Ref document number: 4348564

Country of ref document: JP

Free format text: JAPANESE INTERMEDIATE CODE: R150

FPAY Renewal fee payment (event date is renewal date of database)

Free format text: PAYMENT UNTIL: 20120731

Year of fee payment: 3

FPAY Renewal fee payment (event date is renewal date of database)

Free format text: PAYMENT UNTIL: 20130731

Year of fee payment: 4

FPAY Renewal fee payment (event date is renewal date of database)

Free format text: PAYMENT UNTIL: 20130731

Year of fee payment: 4

FPAY Renewal fee payment (event date is renewal date of database)

Free format text: PAYMENT UNTIL: 20140731

Year of fee payment: 5

LAPS Cancellation because of no payment of annual fees