JP4200375B2 - 内燃機関の可変動弁装置 - Google Patents

内燃機関の可変動弁装置 Download PDF

Info

Publication number
JP4200375B2
JP4200375B2 JP2003423505A JP2003423505A JP4200375B2 JP 4200375 B2 JP4200375 B2 JP 4200375B2 JP 2003423505 A JP2003423505 A JP 2003423505A JP 2003423505 A JP2003423505 A JP 2003423505A JP 4200375 B2 JP4200375 B2 JP 4200375B2
Authority
JP
Japan
Prior art keywords
camshaft
eccentric
cylinder head
gear
control shaft
Prior art date
Legal status (The legal status is an assumption and is not a legal conclusion. Google has not performed a legal analysis and makes no representation as to the accuracy of the status listed.)
Expired - Fee Related
Application number
JP2003423505A
Other languages
English (en)
Other versions
JP2005180340A (ja
Inventor
友 横山
Current Assignee (The listed assignees may be inaccurate. Google has not performed a legal analysis and makes no representation or warranty as to the accuracy of the list.)
Mitsubishi Motors Corp
Original Assignee
Mitsubishi Motors Corp
Priority date (The priority date is an assumption and is not a legal conclusion. Google has not performed a legal analysis and makes no representation as to the accuracy of the date listed.)
Filing date
Publication date
Application filed by Mitsubishi Motors Corp filed Critical Mitsubishi Motors Corp
Priority to JP2003423505A priority Critical patent/JP4200375B2/ja
Publication of JP2005180340A publication Critical patent/JP2005180340A/ja
Application granted granted Critical
Publication of JP4200375B2 publication Critical patent/JP4200375B2/ja
Anticipated expiration legal-status Critical
Expired - Fee Related legal-status Critical Current

Links

Images

Landscapes

  • Valve Device For Special Equipments (AREA)

Description

本発明は、内燃機関の可変動弁装置に係り、詳しくは不等速継手を用いて吸排気バルブの開弁時期を可変制御可能な可変動弁装置に関する。
内燃機関(以下、エンジンともいう)には、吸気バルブと排気バルブ(以下、これらを総称して吸排気バルブともいう)が備えられているが、当該吸排気バルブは、クランクシャフトの回転とともに回転するカムシャフトのカムの形状や回転位相に応じたバルブリフト状態で開閉駆動されるので、開閉タイミングや開弁期間(バルブを開放している期間をクランクの回転角度で示した量)がカムの形状や回転位相に応じて変化することになる。
ところで、一般に吸気バルブや排気バルブの最適な開閉タイミングや開弁期間は、エンジンの負荷状態や速度状態に応じて異なっている。そこで、このようなバルブの開閉タイミングや開弁期間を変更できるようにした、所謂可変バルブタイミング装置(可変動弁装置)が各種提案されている。
特に、カム(カムローブ)とカムシャフトとの間に、偏心機構を用いた不等速継手を介装し、カムシャフトが1回転する間にカムの回転速度をカムシャフトの回転速度に対して増減させうるようにし、且つ偏心機構の偏心状態(即ち、カムを不等速回転させるハーモニックリングの軸心位置)を調整することで、バルブの開閉タイミング及び開弁期間を調整できるようにした技術も開発されている(特許文献1参照)。
特開平10−280925号公報
上記特許文献1に開示された技術では、偏心機構の偏心状態、即ちハーモニックリングの軸心位置を調整するためにコントロールシャフトと一体に回転するコントロールギヤを介してハーモニックギヤを回転させるようにしており、当該コントロールシャフトについてはカムシャフト、ひいては不等速継手の上方に配置するようにしている。それ故、このような構造ではエンジン上方に設けられるブリーザ室やPCV室等を必然的にコントロールシャフト分上方に移動させなければならない。
しかしながら、このようにブリーザ室やPCV室等が上方に移動することになると、これらブリーザ室やPCV室の容積を十分に確保しようとした場合に、エンジンの全高が高くなり、エンジンの車両への搭載性が悪化するという問題がある。
本発明はこのような問題を解決するためになされたもので、その目的とするところは、エンジンの全高をできるだけ低く抑え、車両への搭載性を向上させることの可能な内燃機関の可変動弁装置を提供することにある。
上記した目的を達成するために、請求項1の内燃機関の可変動弁装置では、一気筒あたり2本の吸気バルブ及び2本の排気バルブと、気筒の略中心部に位置して点火プラグとを有するシリンダヘッドと、内燃機関のシリンダヘッド上面に2本互いに平行に軸支され、一方が吸気バルブ用であり、他方が排気バルブ用であるカムシャフトと、前記吸気バルブ及び排気バルブを直接に駆動するカムを有し、前記2本のカムシャフトのうちの少なくともいずれか一方の外周に相対回転自在に外嵌されるカムローブと、前記カムローブを有するカムシャフトの外周に相対回転自在に外嵌されて設けられ、軸心が該カムシャフトの軸心に対し偏心してなる偏心部と、該偏心部と一体且つ該カムシャフトの軸心と同一の軸心を有し、回転により前記偏心部の偏心方向を可変させるハーモニックギヤと、前記偏心部の外周に相対回転自在に外嵌されて設けられ、前記偏心部の軸心回りで該カムシャフトと同期回転し、前記カムローブを該カムシャフト回りで前記偏心部の軸心の前記偏心方向に応じて不等速回転させるハーモニックリングとからなる不等速継手と、前記シリンダヘッド上面に前記カムシャフトに沿い延設され、前記ハーモニックギヤと噛合するコントロールギヤを一体に有し、該コントロールギヤを介して前記ハーモニックギヤを回転させるコントロールシャフトと、前記シリンダヘッドの幅方向で見て前記点火プラグの両側に配設され、前記カムシャフトに外嵌されるカムローブ及び前記コントロールシャフトを軸支する軸受部とを備え、前記コントロールシャフトが、前記シリンダヘッドの幅方向で見て前記2本のカムシャフト間に配設されているとともに、前記シリンダヘッドの高さ方向で見て少なくとも前記不等速継手の最高位置よりも低く且つ幅方向で見て前記カムシャフトの横位置に配設されることを特徴としている。
上記手段を用いる本発明の請求項1の内燃機関の可変動弁装置によれば、直動式のバルブ駆動方式を用いることによりシリンダヘッド内のカムシャフトの横方向の空間に余裕ができることを有効に利用し、不等速継手の偏心機構の偏心状態を調整するためにハーモニックギヤを回転させるコントロールシャフトを当該カムシャフトの横方向の空間に配設するようにしたので、コントロールシャフトを少なくとも不等速継手の最高位置(例えば、ハーモニックギヤの外周位置)より低い位置に配設することができる。
また、吸気バルブ用と排気バルブ用の2本のカムシャフトを備えたDOHC型の内燃機関において、直動式のバルブ駆動方式を用いることにより2本のカムシャフト間の空間に余裕ができることを有効に利用し、コントロールシャフトを当該2本のカムシャフト間の空間に配設するようにしたので、2本のカムシャフト間においてコントロールシャフトを少なくとも不等速継手の最高位置より低い位置に配設することができる。
これにより、シリンダヘッドが幅方向で外側に広がることを防止しながらエンジンの全高をできるだけ低く抑えることが可能となり、エンジンの車両への搭載性を効果的に向上させることができる。
さらに、シリンダヘッドの気筒中心部に点火プラグを備えたDOHC型4弁式の内燃機関において、シリンダヘッドの幅方向で見て点火プラグの両側にカムシャフトに外嵌されるカムローブとコントロールシャフトとの軸受部を配設するようにしたので、シリンダヘッド上面に効率よくカムシャフト及びコントロールシャフトを配設することができる。
以下、本発明の実施の形態を図面に基づき説明する。
図1〜図3を参照すると、本発明に係る可変動弁装置を備えたエンジンのシリンダヘッドの上視図、図1のA−A線に沿う断面図、図1のB−B線に沿う断面図が示されており、以下、図1〜図3に基づき説明する。
エンジン1は、シリンダ4が当該エンジン1の長手方向に4つ列設されるとともに一気筒4バルブからなる直列4気筒DOHC16バルブエンジンであり、シリンダヘッド2下面には気筒毎に2本の吸気バルブ、2本の排気バルブ(図2に各1本づつ図示されている)が配設されるとともに中心部に位置して点火プラグ3が配設されている。また、シリンダヘッド2上面の気筒列両側には、吸気カムシャフト10IN及び排気カムシャフト10EX(総称してカムシャフト10ともいう)がそれぞれ配設されている。さらに、吸気カムシャフト10INと気筒列との間には吸気側コントロールシャフト40INが、排気カムシャフト10EXと気筒列との間には排気側カムコントロールシャフト40EX(総称してコントロールシャフト40ともいう)が配設されている。
カムシャフト10は一端に設けられたプーリ5を介してエンジン1の図示しないクランクシャフトに連動して回転駆動する。また、詳しくは後述するように、コントロールシャフト40は排気カムシャフト10EXの他端側のシリンダヘッド2の側面に設けられたアクチュエータ50の回転駆動力が伝達されることで回転駆動する(以下、エンジン1のプーリ5側を一端、アクチュエータ50側を他端として説明する)。
カムシャフト10の外周には各気筒毎にそれぞれ中空軸状のカムローブ20が相対回転自在に外嵌されている。カムローブ20の長手方向中央部はジャーナル部21であり、当該ジャーナル部21の両側にはカム22、22が一体に形成されている。
カムシャフト10は、カムローブ20のジャーナル部21を介し、点火プラグ3のシリンダヘッド2の幅方向両側に設けられた軸受部6に回転自在に軸支されている。詳しくは、図2に示すように、カムシャフト10は、カムローブ20のジャーナル部21を介してシリンダヘッド2の上面に形成された軸受下半部6Aに支持されるとともに上方から軸受キャップ6Bが接合され、これらがボルト8によって締結されることによりシリンダヘッド2に軸支されている。ただし、カムシャフト10の一端部は、端部部材11を介してシリンダヘッド2の長手方向端部に形成された端部軸受部7Aに軸支されており、排気カムシャフト10EXの他端部は、アクチュエータ50の駆動軸と連結されるとともに排気カムシャフト10EXに相対回転自在に外嵌されたジョイント51を介して端部軸受部7Bに軸支され、吸気カムシャフト10INの他端部は、直接端部軸受部7Cに回転自在に軸支されている。
シリンダヘッド2下面に設けられた吸排気バルブ12は、上部にスプリング13の入ったバルブリフタ14を有しており、当該バルブリフタ14にカム22が当接している。即ち、エンジン1はカム22が直接バルブリフタ14を押すことによりバルブ14の駆動を行う所謂直動式バルブ駆動エンジンである。
各カムローブ20の他端側には偏心機構を用いた不等速継手30が気筒毎に設けられており、以下不等速継手30について詳しく説明する。
図4、図5を参照すると本発明に係る可変動弁装置の不等速継手30部分の斜視図、縦断面図が示されている。
これら図4、図5に示すように、カムローブ20の他端側面には略扇型状にして中空部を有するアーム部31が一体に形成されている。そして、アーム部31の中空部を囲む周縁部には孔31Aが穿設されており、この孔31Aにはカムローブ側スライダ部材32が相対回転自在に嵌挿されている。
アーム部31の中空部には、カムシャフト10に対してピン10Aにより固定されカムシャフト10と一体に回転し突出部を有するドライブアーム33が、アーム部31と一定範囲で相対回転可能に嵌合されている。詳しくは、アーム部31の中空部を囲む周縁部は所定範囲に亘り切り欠かれており、ドライブアーム33は、当該切り欠かれた所定範囲に突出部が位置するようにしてアーム部31の中空部に相対回転可能に嵌合されている。そして、ドライブアーム33の突出部には孔33Aが穿設されており、この孔33Aにはカムシャフト側スライダ部材34が相対回転自在に嵌挿されている。
ドライブアーム33の他端側には環状の偏心スペーサ35(偏心部)がカムシャフト10に相対回転自在に外嵌されており、この偏心スペーサ35の軸心は、カムシャフト10の軸心から所定量偏心している。そして、偏心スペーサ35の他端側面にはカムシャフト10と同一の軸心を有するハーモニックギヤ36が偏心スペーサ35と一体に設けられている。さらに、偏心スペーサ35の外周にはハーモニックリング37が偏心スペーサ35の偏心した軸心を回転中心として相対回転自在に外嵌されている。
ハーモニックリング37の一端側面には直径方向に溝部37A、37Bが形成されており、溝部37Aにはカムローブ側スライダ部材32が径方向で摺動自在に嵌合され、溝部37Bにはカムシャフト側スライダ部材34がやはり径方向で摺動自在に嵌合されている。
即ち、これらアーム部31、カムローブ側スライダ部材32、ドライブアーム33、カムシャフト側スライダ部材34、偏心スペーサ35、ハーモニックギヤ36、ハーモニックリング37からなる偏心機構によって不等速継手30が構成されている。
これにより、図4に実線矢印で示すように、カムシャフト10の回転駆動力は、ドライブアーム33→カムシャフト側スライダ部材34→ハーモニックリング37→カムローブ側スライダ部材32→アーム部31→カムローブ20のように伝達されてカムローブ20を不等速回転させ、当該カムローブ20の回転に伴いカム22がバルブリフタ14を押圧してバルブ12が開閉駆動させられる。
また、当該不等速継手30においては、バルブ12の開弁期間を偏心スペーサ35の偏心方向を変えることにより可変可能である。詳しくは、コントロールシャフト40には、ハーモニックギヤ36と噛合するようにしてコントロールギヤ41が一体に設けられており、偏心スペーサ35の偏心方向は、アクチュエータ50からコントロールシャフト40に与えられる回転駆動力がコントロールギヤ41、ハーモニックギヤ36を介して偏心スペーサ35に伝達されることにより変化させられる。
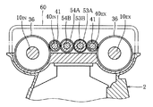
図6を参照すると、図1のC−C線に沿う断面図が示されており、以下、偏心スペーサ35の偏心方向を変える際におけるアクチュエータ50の回転駆動力の伝達経路について図1〜6に基づき詳しく説明する。
アクチュエータ50は上記ジョイント51を介してドライブギヤ52に接続されており、当該ドライブギヤ52は排気側コントロールシャフト40EXと一体に設けられたドリブンギヤ44と噛合している。
一方、排気側コントロールシャフト40EXに設けられた複数のコントロールギヤ41のうち最も他端側にあるコントロールギヤ41は、排気カムシャフト10EXの最も他端側にあるハーモニックギヤ36と噛合すると共に、排気側のインタメディエイトギヤ(以下、インタメギヤともいう)53Aと噛合している。インタメギヤ53Aは、さらに吸気側のインタメギヤ54Aと噛合している。これらインタメギヤ53A、54Aは、インタメシャフト53B、54Bを介して軸受部55に回転自在に軸支されている。
さらに、インタメギヤ54Aは、吸気側コントロールシャフト40INに設けられた複数のコントロールギヤ41のうち最も他端側にあるコントロールギヤ41と噛合しており、当該コントロールギヤ41は吸気カムシャフト10INの最も他端側にあるハーモニックギヤ36と噛合している。
これより、図4に白抜き矢印で示すように、アクチュエータ50の回転駆動力は、排気側ではドライブギヤ52→ドリブンギヤ44→排気側コントロールシャフト40EX→排気側の各コントロールギヤ41→排気側の各ハーモニックギヤ36のように伝達され、吸気側ではドライブギヤ52→ドリブンギヤ44→排気側コントロールシャフト40EX→排気側の最も他端側のコントロールギヤ41→インタメギヤ53A、54A→吸気側の最も他端側のコントロールギヤ41→吸気側コントロールシャフト40IN→吸気側の各コントロールギヤ41→吸気側の各ハーモニックギヤ36のように伝達される。
なお、コントロールシャフト40に備えられたコントロールギヤ41は、2つのギヤ41A,41Bからなるシザースギヤであって、一方のギヤ41Aはコントロールシャフト40に固定され、他方のギヤ41Bはコントロールシャフト40に対して回転可能に装備されている。つまり、ギヤ41Bは、ギヤ41Aに当接するとともに、コントロールシャフト40の外周に固定されるジャーナル42との間に配設されたねじりスプリング43により、回転方向への付勢力を受けるように配設されている。これにより、ハーモニックギヤ36とコントロールギヤ41とがガタつくことなく噛合される。
再び図1〜図3を参照すると、コントロールシャフト40は、軸受キャップ6Bに軸支されている。詳しくは、コントロールシャフト40は、カムシャフト10の略横方向、即ち軸受キャップ6Bのシリンダヘッド2の幅方向内側のボルト8よりもさらに内側且つシリンダヘッド2の高さ方向で見て不等速継手30の最高位置(例えば、ハーモニックギヤ36の外周位置)よりも下側に位置して軸受キャップ6Bに穿設された軸受孔9(軸受部)にジャーナル42を介して回転自在に軸支されている。
そして、シリンダヘッド2の上方にはロッカカバー60が載置されている。
このように、本発明に係る可変動弁装置では、エンジン1が直動式のバルブ駆動方式を採用していることから、ロッカアーム等を必要としない分吸気カムシャフト10INと排気カムシャフト10EXの横位置、即ちシリンダヘッド2内部の吸気カムシャフト10INと排気カムシャフト10EX間に空間的余裕を生じさせることができ、当該空間にコントロールシャフト40を配設することにより、コントロールシャフト40を少なくとも不等速継手30の最高位置(例えば、ハーモニックギヤ36の外周位置)より低い位置に配設することが可能である。従って、シリンダヘッド2に高さの低いロッカカバー60を載置することができ、これにより、エンジン1の全高を低くすることが可能となり、エンジン1の車両への搭載性を向上させることができる。
さらに、このようにコントロールシャフト40を吸気カムシャフト10INや排気カムシャフト10EXの外側にではなく吸気カムシャフト10INと排気カムシャフト10EX間に配設することにより、シリンダヘッド2が幅方向で外側に広がることをも抑制でき、エンジン1の車両への搭載性を効果的に向上させることができる。
また、特に直動式のバルブ駆動方式を採用することにより、吸気バルブと排気バルブとのバルブ挟角を広げることが可能となり、エンジン1の全高をより一層低くしてエンジン1の車両への搭載性をさらに向上させることもできる。
また、一気筒4バルブで構成し、シリンダヘッド2の幅方向で見て点火プラグ3の両側にカムシャフト10に外嵌されるカムローブ20及びコントロールシャフト40の軸受部6を配設するようにしているので、シリンダヘッド上面に効率よくカムシャフト及びコントロールシャフト等を配設することができる。
以上で本発明に係る可変動弁装置の実施形態についての説明を終えるが、実施形態は上記実施形態に限られるものではない。
例えば、上記実施形態では、吸気側及び排気側の両方に偏心機構を用いた不等速継手30、コントロールシャフト40を設けたが、これらを少なくとも吸気側及び排気側の何れか一方にのみ配設するようにしてもよい。
また、不等速継手30は上記実施形態の構成に限られるものではなく、コントロールシャフト40により偏心機構の偏心方向を変化させることが可能であればよい。
さらに、上記実施形態では、コントロールシャフト40を軸受キャップ6Bに穿設された軸受孔9に軸支するようにしているが、コントロールシャフト40は少なくとも不等速継手30の高さよりも低く、カムシャフト10よりもシリンダヘッドの幅方向内側に配設されればよい。例えば、コントロールシャフト40がカムシャフト10の真横に位置するよう、シリンダヘッド2の上面にコントロールシャフト40用の軸受下半部を形成するとともに上方から軸受キャップ6Bを接合するような構成でもよく、またコントロールシャフト40がカムシャフト10よりも下側に位置するよう、軸受下半部6A側に軸受孔9を穿設しても構わない。
本発明に係る可変動弁装置を備えたエンジンのシリンダヘッドの上視図である。 図1のA−A線に沿う断面図である。 図1のB−B線に沿う断面図である。 本発明に係る可変動弁装置の不等速継手の斜視図である。 本発明に係る可変動弁装置の不等速継手の縦断面図である。 図1のC−C線に沿う断面図である。
符号の説明
2 シリンダヘッド
4 シリンダ
5 点火プラグ
6 軸受部
6A 軸受下半部
6B 軸受キャップ
9 軸受孔
10 カムシャフト
12 吸排気バルブ
20 カムローブ
22 カム
30 不等速継手
35 偏心スペーサ(偏心部)
36 ハーモニックギヤ
40 コントロールシャフト
41 コントロールギヤ
50 アクチュエータ
60 ロッカカバー

Claims (1)

  1. 一気筒あたり2本の吸気バルブ及び2本の排気バルブと、気筒の略中心部に位置して点火プラグとを有するシリンダヘッドと、
    内燃機関のシリンダヘッド上面に2本互いに平行に軸支され、一方が吸気バルブ用であり、他方が排気バルブ用であるカムシャフトと、
    前記吸気バルブ及び排気バルブを直接に駆動するカムを有し、前記2本のカムシャフトのうちの少なくともいずれか一方の外周に相対回転自在に外嵌されるカムローブと、
    前記カムローブを有するカムシャフトの外周に相対回転自在に外嵌されて設けられ、軸心が該カムシャフトの軸心に対し偏心してなる偏心部と、該偏心部と一体且つ該カムシャフトの軸心と同一の軸心を有し、回転により前記偏心部の偏心方向を可変させるハーモニックギヤと、前記偏心部の外周に相対回転自在に外嵌されて設けられ、前記偏心部の軸心回りで該カムシャフトと同期回転し、前記カムローブを該カムシャフト回りで前記偏心部の軸心の前記偏心方向に応じて不等速回転させるハーモニックリングとからなる不等速継手と、
    前記シリンダヘッド上面に前記カムシャフトに沿い延設され、前記ハーモニックギヤと噛合するコントロールギヤを一体に有し、該コントロールギヤを介して前記ハーモニックギヤを回転させるコントロールシャフトと
    前記シリンダヘッドの幅方向で見て前記点火プラグの両側に配設され、前記カムシャフトに外嵌されるカムローブ及び前記コントロールシャフトを軸支する軸受部とを備え、
    前記コントロールシャフトが、前記シリンダヘッドの幅方向で見て前記2本のカムシャフト間に配設されているとともに、前記シリンダヘッドの高さ方向で見て少なくとも前記不等速継手の最高位置よりも低く且つ幅方向で見て前記カムシャフトの横位置に配設されることを特徴とする内燃機関の可変動弁装置。
JP2003423505A 2003-12-19 2003-12-19 内燃機関の可変動弁装置 Expired - Fee Related JP4200375B2 (ja)

Priority Applications (1)

Application Number Priority Date Filing Date Title
JP2003423505A JP4200375B2 (ja) 2003-12-19 2003-12-19 内燃機関の可変動弁装置

Applications Claiming Priority (1)

Application Number Priority Date Filing Date Title
JP2003423505A JP4200375B2 (ja) 2003-12-19 2003-12-19 内燃機関の可変動弁装置

Publications (2)

Publication Number Publication Date
JP2005180340A JP2005180340A (ja) 2005-07-07
JP4200375B2 true JP4200375B2 (ja) 2008-12-24

Family

ID=34784019

Family Applications (1)

Application Number Title Priority Date Filing Date
JP2003423505A Expired - Fee Related JP4200375B2 (ja) 2003-12-19 2003-12-19 内燃機関の可変動弁装置

Country Status (1)

Country Link
JP (1) JP4200375B2 (ja)

Families Citing this family (2)

* Cited by examiner, † Cited by third party
Publication number Priority date Publication date Assignee Title
JP4348564B2 (ja) 2008-03-28 2009-10-21 三菱自動車工業株式会社 内燃機関の可変動弁装置
US8607748B2 (en) 2010-01-14 2013-12-17 Mitsubishi Jidosha Kogyo Kabushiki Kaisha Engine equipped with variable valvetrain

Also Published As

Publication number Publication date
JP2005180340A (ja) 2005-07-07

Similar Documents

Publication Publication Date Title
US7913658B2 (en) Valve actuating mechanism for an internal combustion engine, and cylinder head incorporating same
JP3893202B2 (ja) 内燃機関の可変動弁装置
JP2002054410A (ja) エンジンの可変開角動弁装置
JP2009092036A (ja) ストローク可変エンジン
US7934476B2 (en) Valve-actuating system for an internal combustion engine, engine incorporating same, and method of using same
JP2005264841A (ja) 内燃機関の可変動弁装置
JP2003013764A (ja) 内燃機関のピストン−クランク装置
JP4200375B2 (ja) 内燃機関の可変動弁装置
JP2007239704A (ja) エンジンの可変動弁装置
JP4161210B2 (ja) 内燃機関の可変動弁装置
JP2000213318A (ja) 内燃機関の可変動弁装置
JP4177866B2 (ja) 内燃機関の可変動弁装置
JP2008255873A (ja) 内燃機関の可変動弁装置
JP4474065B2 (ja) 内燃機関の可変動弁装置
JP2592964B2 (ja) エンジンの動弁装置
JP2007113529A (ja) 可変動弁機構の潤滑構造
JP2004190609A (ja) 内燃機関の動弁装置
JP4246275B2 (ja) 可変動弁機構
JP4555270B2 (ja) 開弁特性可変型内燃機関
JP6686417B2 (ja) エンジン
JP2012041835A (ja) 内燃機関の可変動弁装置
JP6686416B2 (ja) エンジン
JP5447211B2 (ja) 内燃機関の可変動弁装置
JP2012087761A (ja) 内燃機関の可変動弁装置
JP2008121542A (ja) 可変バルブ機構

Legal Events

Date Code Title Description
A621 Written request for application examination

Free format text: JAPANESE INTERMEDIATE CODE: A621

Effective date: 20060324

A977 Report on retrieval

Free format text: JAPANESE INTERMEDIATE CODE: A971007

Effective date: 20080327

A131 Notification of reasons for refusal

Free format text: JAPANESE INTERMEDIATE CODE: A131

Effective date: 20080402

A521 Written amendment

Free format text: JAPANESE INTERMEDIATE CODE: A523

Effective date: 20080528

A131 Notification of reasons for refusal

Free format text: JAPANESE INTERMEDIATE CODE: A131

Effective date: 20080625

A521 Written amendment

Free format text: JAPANESE INTERMEDIATE CODE: A523

Effective date: 20080820

TRDD Decision of grant or rejection written
A01 Written decision to grant a patent or to grant a registration (utility model)

Free format text: JAPANESE INTERMEDIATE CODE: A01

Effective date: 20080910

A01 Written decision to grant a patent or to grant a registration (utility model)

Free format text: JAPANESE INTERMEDIATE CODE: A01

A61 First payment of annual fees (during grant procedure)

Free format text: JAPANESE INTERMEDIATE CODE: A61

Effective date: 20080923

FPAY Renewal fee payment (event date is renewal date of database)

Free format text: PAYMENT UNTIL: 20111017

Year of fee payment: 3

FPAY Renewal fee payment (event date is renewal date of database)

Free format text: PAYMENT UNTIL: 20111017

Year of fee payment: 3

FPAY Renewal fee payment (event date is renewal date of database)

Free format text: PAYMENT UNTIL: 20121017

Year of fee payment: 4

FPAY Renewal fee payment (event date is renewal date of database)

Free format text: PAYMENT UNTIL: 20121017

Year of fee payment: 4

FPAY Renewal fee payment (event date is renewal date of database)

Free format text: PAYMENT UNTIL: 20131017

Year of fee payment: 5

LAPS Cancellation because of no payment of annual fees