JP4317855B2 - 磁気検出装置 - Google Patents

磁気検出装置 Download PDF

Info

Publication number
JP4317855B2
JP4317855B2 JP2006037609A JP2006037609A JP4317855B2 JP 4317855 B2 JP4317855 B2 JP 4317855B2 JP 2006037609 A JP2006037609 A JP 2006037609A JP 2006037609 A JP2006037609 A JP 2006037609A JP 4317855 B2 JP4317855 B2 JP 4317855B2
Authority
JP
Japan
Prior art keywords
signal
magnetic
moving body
level
circuit
Prior art date
Legal status (The legal status is an assumption and is not a legal conclusion. Google has not performed a legal analysis and makes no representation as to the accuracy of the status listed.)
Expired - Fee Related
Application number
JP2006037609A
Other languages
English (en)
Other versions
JP2007218652A (ja
Inventor
昌広 横谷
直樹 平岡
Current Assignee (The listed assignees may be inaccurate. Google has not performed a legal analysis and makes no representation or warranty as to the accuracy of the list.)
Mitsubishi Electric Corp
Original Assignee
Mitsubishi Electric Corp
Priority date (The priority date is an assumption and is not a legal conclusion. Google has not performed a legal analysis and makes no representation as to the accuracy of the date listed.)
Filing date
Publication date
Application filed by Mitsubishi Electric Corp filed Critical Mitsubishi Electric Corp
Priority to JP2006037609A priority Critical patent/JP4317855B2/ja
Priority to US11/484,766 priority patent/US7705584B2/en
Priority to KR1020060070160A priority patent/KR100817668B1/ko
Priority to DE102006046782A priority patent/DE102006046782B4/de
Publication of JP2007218652A publication Critical patent/JP2007218652A/ja
Application granted granted Critical
Publication of JP4317855B2 publication Critical patent/JP4317855B2/ja
Anticipated expiration legal-status Critical
Expired - Fee Related legal-status Critical Current

Links

Images

Classifications

    • GPHYSICS
    • G01MEASURING; TESTING
    • G01PMEASURING LINEAR OR ANGULAR SPEED, ACCELERATION, DECELERATION, OR SHOCK; INDICATING PRESENCE, ABSENCE, OR DIRECTION, OF MOVEMENT
    • G01P13/00Indicating or recording presence, absence, or direction, of movement
    • G01P13/02Indicating direction only, e.g. by weather vane
    • G01P13/04Indicating positive or negative direction of a linear movement or clockwise or anti-clockwise direction of a rotational movement
    • G01P13/045Indicating positive or negative direction of a linear movement or clockwise or anti-clockwise direction of a rotational movement with speed indication
    • GPHYSICS
    • G01MEASURING; TESTING
    • G01RMEASURING ELECTRIC VARIABLES; MEASURING MAGNETIC VARIABLES
    • G01R33/00Arrangements or instruments for measuring magnetic variables
    • G01R33/02Measuring direction or magnitude of magnetic fields or magnetic flux
    • G01R33/06Measuring direction or magnitude of magnetic fields or magnetic flux using galvano-magnetic devices
    • G01R33/09Magnetoresistive devices
    • GPHYSICS
    • G01MEASURING; TESTING
    • G01PMEASURING LINEAR OR ANGULAR SPEED, ACCELERATION, DECELERATION, OR SHOCK; INDICATING PRESENCE, ABSENCE, OR DIRECTION, OF MOVEMENT
    • G01P3/00Measuring linear or angular speed; Measuring differences of linear or angular speeds
    • G01P3/42Devices characterised by the use of electric or magnetic means
    • G01P3/44Devices characterised by the use of electric or magnetic means for measuring angular speed
    • G01P3/48Devices characterised by the use of electric or magnetic means for measuring angular speed by measuring frequency of generated current or voltage
    • G01P3/481Devices characterised by the use of electric or magnetic means for measuring angular speed by measuring frequency of generated current or voltage of pulse signals
    • G01P3/488Devices characterised by the use of electric or magnetic means for measuring angular speed by measuring frequency of generated current or voltage of pulse signals delivered by variable reluctance detectors

Landscapes

  • Physics & Mathematics (AREA)
  • General Physics & Mathematics (AREA)
  • Condensed Matter Physics & Semiconductors (AREA)
  • Transmission And Conversion Of Sensor Element Output (AREA)
  • Indicating Or Recording The Presence, Absence, Or Direction Of Movement (AREA)

Description

この発明は、被検出体の移動に対応して移動する磁性移動体を備え、該磁性移動体の移動に伴う磁界変化を用いて被検出体の移動、特にその移動方向を検出できるようにした磁気検出装置に関するものである。
従来、凸部を有する磁性移動体を被検出体の移動に対応して移動させ、前記磁性移動体の移動による磁界変化を磁気抵抗効果素子(以下、MR素子と称する)により検出して、被検出装置の移動方向を検出するようにした磁気検出装置は周知である。
この従来の磁気検出装置として、例えば3個のMR素子を微小空隙を介して磁性移動体に対向させるとともに、これらのMR素子を磁性移動体の移動方向に並べて配置し、各MR素子を2つのブリッジ回路の所定の1辺に夫々挿入し、前記移動体の移動による前記MR素子の抵抗変化を各ブリッジ回路から2系統の電圧変化として取り出し、この電圧変化の状態から前記磁性移動体の移動方向、従って被検出装置の移動方向を検出するよう構成したものがある。(例えば特許文献1参照)
特許文献1に示された従来の磁気検出装置に於いて、ブリッジ回路から取り出された2系統の電圧変化は、第1及び第2の比較回路により矩形波信号に変換され、その一方の矩形波信号は、出力トランジスタのベース端子とDフリップフロップ回路のD端子に入力され、もう一方の矩形波信号はDフリップフロップ回路のCL端子に入力される。前記Dフリップフロップ回路の出力は、別のトランジスタのベース端子に入力され、このトランジスタのコレクタ端子は電源Vccにプルアップされ、エミッタ端子は前記出力トランジスタのエミッタ端子に接続され、抵抗を介して接地されている。
前記出力トランジスタの出力信号は、コンピュータユニットに伝達された後、電源Vccにプルアップされる。出力トタンジスタの出力信号は、第3及び第4の比較回路に入力さら、比較レベル1及び比較レベル2と夫々比較され、その比較結果に基づく2つの出力信号を得、その一方の出力信号の状態がローレベルの場合に前記磁性移動体の移動方向は正方向であると認識し、前記出力信号が矩形波である場合に前記磁性移動体の移動方向は逆方向であると認識するものである。
特開2002−90181号公報(図4〜6、明細書第6ページ)
特許文献1に示された従来の磁気検出装置は、前記のように1つの矩形波信号の立ち上がりエッジを用いて磁性移動体の移動方向を認識しているため、磁性移動体の移動方向の検出タイミングが遅れるという課題があった。
この発明は、前記のような従来の装置の課題を解決するためになされたもので、磁性移動体の移動方向を検出する検出タイミングを早め、しかも誤検出することなく正確に磁性移動体の移動方向を検出することができる磁気検出装置を得ることを目的とする。
この発明による磁気検出装置は、被検出体の移動に対応して移動する磁性移動体と、
前記磁性移動体に間隙を介して対向し前記磁性移動体の移動に基づく前記間隙の磁界変化を検出する検出手段と、
前記検出手段により検出された前記磁界変化を前記磁性移動体の第1の移動方向とこの第1の移動方向に対する逆方向である第2の移動方向とで相互の位相関係が変化する複数個の電気信号に変換する変換回路と、
前記変換回路により変換された前記複数個の電気信号に基づいて少なくとも4つの各々異なる複数のレベルを有し、前記磁性移動体が前記第1の移動方向に移動しているときには前記複数のレベルが所定の順序で変化する周期を繰り返し、且つ前記磁性移動体が前記第2の移動方向に移動しているときには前記複数のレベルが前記所定の順序とは異なる順序で変化する周期を繰り返す信号を形成する信号形成回路と、
前記信号形成回路により形成された前記信号が入力され、前記磁性移動体が前記第1の移動方向と前記第2の移動方向とのうちの一方の移動方向に移動しているとき、前記周期のうちの任意の周期に於いて前記複数のレベルのうちの任意の一つのレベルから変化した他のレベルが、前記任意の周期に対する前回の周期に於いて前記任意のレベルから変化した他のレベルと異なるレベルであるときに出力状態が変化する逆転検出回路と
を備え、
前記逆転検出回路の出力状態の変化により、前記磁性移動体の移動方向が前記一方の移動方向から他方の移動方向に変化したことを検出するようにしたことを特徴とするものである。
この発明による磁気検出装置によれば、検出手段により検出された前記磁界変化を前記磁性移動体の第1の移動方向とこの第1の移動方向に対する逆方向である第2の移動方向とで相互の位相関係が変化する複数個の電気信号に変換する変換回路と、前記変換回路により変換された前記複数個の電気信号に基づいて少なくとも4つの各々異なる複数のレベルを有し、前記磁性移動体が前記第1の移動方向に移動しているときには前記複数のレベルが所定の順序で変化する周期を繰り返し、且つ前記磁性移動体が前記第2の移動方向に移動しているときには前記複数のレベルが前記所定の順序とは異なる順序で変化する周期を繰り返す信号を形成する信号形成回路と、前記信号形成回路により形成された前記信号が入力され、前記磁性移動体が前記第1の移動方向と前記第2の移動方向とのうちの一方の移動方向に移動しているとき、前記周期のうちの任意の周期に於いて前記複数のレベルのうちの任意の一つのレベルから変化した他のレベルが、前記任意の周期に対する前回の周期に於いて前記任意のレベルから変化した他のレベルと異なるレベルであるときに、出力状態が変化する逆転検出回路とを備え、前記逆転検出回路の出力状態の変化により、前記磁性移動体の移動方向が前記一方の移動方向から他方の移動方向に変化したことを検出するようにしたので、どのようなタイミングで磁性移動体が逆回転してもその移動方向を誤認識することがなく、早期に正確に磁性移動体の移動方向を検出をすることができる磁気検出装置を得ることができる。
発明の基礎となる技術
先ず、この発明の基礎となる磁気検出装置について説明する。この発明の基礎となる磁気検出装置によれば、2つの矩形信号の夫々の立ち上がりエッジ及び立ち下がりエッジを用いて磁性移動体の移動方向を検出するようにし、前記従来の装置に比べて約4倍の速さで磁性移動体の移動方向を検出する。そして磁性移動体の移動方向が逆回転する時点に於けるMR素子と磁性移動体の対向位置が特定の位置にあるときは、前記最初の立ち上がりエッジ又は立ち下がりエッジに続く次のエッジで磁性移動体の逆回転を検出するよう構成される。
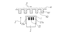
図1は、この発明の基礎となる技術の磁性移動体とMR素子の配置を示す斜視図、図2はその説明図、図3は磁気検出装置の回路図、図4はDフリップフロップ回路装置の回路図、図5はこの発明の基礎となる技術の動作を説明する説明図である。
図1及び図2に於いて、バイアス磁界を発生する磁石1の上面に、検出部を構成する3個の磁気検出素子としてのMR素子21a、21b、22を一体に構成したICチップ2が設けられている。磁石1は矢印3の方向に着磁されている。周面に多数の凸部41を等間隔に設けた磁性移動体としての磁性移動体4は、矢印5の方向に回転する場合を第1の移動方向である正回転とし、その逆方向に回転する場合を第2の移動方向である逆回転とする。この磁性移動体4は、被検出体(図示せず)の回転に対応して回転するよう構成されている。
磁性移動体4は、その周面が磁石1の側面に微少間隙を介して対向するよう配置されており、磁性移動体4の回転により、その凸部41と凹部42とが交互に磁石1に接近し、これにより磁石1からMR素子21a、21b、22に印加される磁界が変化する。この磁界変化が各MR素子21a、21b、22に於ける抵抗変化となり、後述するように電圧変化として検出される。尚、MR素子21a、21b、22は、巨大磁気抵抗効果素子(GMR素子)であっても良いことは勿論である。
図3に於いて、第1のブリッジ回路23は、MR素子21a及び21bと抵抗24、25とから構成され、MR素子21aと21bとの接続点211は、第1の比較部としての第1の比較回路29の反転入力端子291に接続され、抵抗24と25との接続点212は基準電圧として第1の比較回路29の非反転入力端子292に接続されている。第1の比較回路29の反転入力端子291に入力される信号をc、出力端子293の信号をeとする。
第2のブリッジ回路30は、MR素子22と抵抗26、27、28とから構成され、MR素子22と抵抗26の接続点213は第2の比較部としての第2の比較回路31の反転入力端子311に接続され、抵抗27と28との接続点214は基準電圧として第2の比較回路31の非反転入力端子312に接続されている。又、第1及び第2のブリッジ回路23、30に於いて、MR素子21a、22、及び抵抗24、27は電源Vccに接続され、MR素子21b、抵抗25、26、28は接地されている。第2の比較回路31の入力端子に入力される信号をd、出力端子313の信号をfとする。
Dフリップフロップ回路装置(以下、D−FF回路装置と称する)380は、図4に示す様に構成されている。即ち図4に於いて、第1の立上りエッジDフロップフロップ回路(以下、第1の立上りエッジD−FF回路と称する)381と、第1の立下りエッジDフロップフロップ回路(以下、第1の立下りエッジD−FF回路と称する)382と、第2の立上りエッジDフロップフロップ回路(以下、第2の立上りエッジD−FF回路と称する)383と、第2の立下りエッジDフリップフロップ回路(以下、第2の立下がりエッジD−FF回路と称する)384とを備えている。
第1の立上りエッジD−FF回路381のCL端子は、第1の比較回路29の出力端子293に接続され、D端子は、第2の比較回路31の出力端子313に接続されている。第2の立上りエッジD−FF回路383のCL端子は、第2の比較回路31の出力端子313に接続され、D端子は、第1の比較回路29の出力端子293に接続されている。又、第1の立下りエッジD−FF回路382のCL端子は、NOT回路343を介して第1の比較回路29の出力端子293に接続され、D端子は第2の比較回路31の出力端子313に接続されている。第2の立下りエッジD−FF回路384のCL端子は、NOT回路344を介して第2の比較回路31の出力端子313に接続され、D端子は第1の比較回路29の出力端子293に接続されている。
第1、及び第2の立上りエッジD−FF回路381、383は、周知のDフリップフロップ回路であり、CL端子の入力信号がローレベルのとき、D端子に入力される信号レベルに関係なく出力端子Qは前の出力状態を保ち、CL端子にハイレベルの信号が入力されたとき、その立上りエッジでトリガされ、D端子の信号がハイレベルであれば出力端子Qの信号はハイレベルとなり、D端子の信号がローレベルであれば出力端子Qの信号はローレベルとなる。
第1、及び第2の立下りエッジD−FF回路382、384は、周知のDフリップフロップ回路であり、夫々のCL端子に接続されたNOT回路343、344の入力信号がハイレベルのとき、即ちCL端子の入力信号がローレベルのとき、D端子に入力される信号レベルに関係なく出力端子Qは前の出力状態を保ち、CL端子に接続されたNOT回路343、344の入力端子にローレベルの信号が入力されたときその立下りエッジで、即ちCL端子にハイレベルの信号が入力されたときその立上りエッジでトリガされ、D端子の信号がハイレベルであれば出力端子Qの信号はハイレベルとなり、D端子の信号がローレベルであれば出力端子Qの信号はローレベルとなる。
第1及び第2の立上りエッジD−FF回路381、383、及び第1及び第2の立下りエッジD−FF回路382、384の夫々のQ端子は、図示のように3入力NAND回路385、3入力BAND回路386、387、4入力NAND回路388、4入力BNAND回路389、及び4入力AND回路340、341からなる論理回路を介して、4入力OR回路342に接続されている。4入力OR回路342の出力端子346は、図3に示す第2のトランジスタ(以下、第2のTrと称する)40のベースに接続されている。この4入力OR回路342の出力端子346の信号をgとする。
次に、第3図に戻り、出力トランジスタである第1のトランジスタ(以下、第1のTrと称する)37は、ベースが第1の比較回路29の出力端子293に接続され、エミッタは抵抗38を介して接地されている。第2のTr40は、ベースが図4に示す4入力OR回路342の出力端子346に接続され、エミッタが第1のTr37のエミッタと抵抗38の接続点に接続され、コレクタは抵抗39を介して電源Vccに接続されている。
コンピュータユニット420は、第3の比較回路44と第4の比較回路45とを備えており、それらの反転入力端子441、451は抵抗46を介して電源Vccに接続されている。第3の比較回路44の非反転入力端子442は、抵抗401、402の接続点411に接続され、第4の比較回路45の非反転入力端子452は抵抗403、404の接続点421に接続されている。抵抗401、403は電源Vccに接続され、抵抗402、404は接地されている。第3及び第4の比較回路44、45の反転入力端子441、451に入力される信号をhとし、第3の比較回路44の出力端子443の信号をi、第4の比較回路45の出力端子453の信号をjとする。
次に動作を説明する。図5の(A)は、磁性移動体4と磁石1(図1参照)の中央のMR素子22とが(a)の位置で相対的に対向しているときに、正回転から逆回転に切替わった場合の、図3及び図4に示す回路の各端子の信号e、f、g、h、i、jの波形を示している。同様に、図5の(B)、(C)、(D)は、磁性移動体4と磁石1の中央のMR素子22とが(b)、(c)、(d)の各位置で相対的に対向しているときに、正回転から逆回転に切替わった場合の信号e、f、g、h、i、jの波形を示している。信号hは、磁性移動体4の正回転時にはハイレベルHとローレベルL1の2値信号パルスとなり、磁性移動体4の逆回転時にはハイレベルHとローレベルL2の2値信号パルスとなる。
図5の(A)に於いて、磁性移動体4が正回転しているとき、MR素子21a、MR素子22、MR素子21bの順に時間差をもって、磁性移動体4の凸部41と凹部42が交互に対抗し、これにより各MR素子21a、22、21bにバイアス磁界の変化が与えられ夫々の抵抗値が変化する。
このMR素子21a、22、21bの抵抗変化により、第1の比較回路29の反転入力端子291、及び第2の比較回路31の反転入力端子311に入力される信号c、及びdは、正弦波状に変化する。磁性移動体4が正回転しているときは、各MR素子21a、22、21bが配置されている位置関係から、信号cは信号dより所定量進んだ位相となる。
図5の(A)に於いて、今、時刻t1に於いて信号eがハイレベルからローレベルに立下がったとすると、第1の立下がりエッジD−FF回路382はトリガされ、そのD端子に入力されている第2の比較回路29からの信号fはハイレベルであるので、そのQ端子の信号はハイレベルとなり、4端子R回路342の出力端子346の信号gはハイレベルである。
これにより、第2のTr40は導通し、第1のTr37が非導通となる。その結果、第1のTr37のコレクタ側の信号hはハイレベルとなる。第3の比較回路44の比較レベルCL1は、信号hのハイレベルHとローレベルL1との間に設定されており、第4の比較回路45の比較レベルCL2は、信号hのローレベルL1とローレベルL2との間に設定されている。従がって、時点t1に於いて、第3の比較回路44の出力信号iはローレベルとなり、第4の比較回路45の出力信号jは、ローレベルのままである。
次に、時点t2で第2の比較回路31の出力端子313の信号fがハイレベルからローレベルに立下り、第2の立下りエッジD−FF回路384はトリガされ、第1の比較回路29の出力端子293の信号eは、この時点t2ではローレベルでありそのQ端子の信号はローレベルとなる。しかし、第1の立下りエッジD−FF回路382のQ端子は、ハイレベルを維持しており、4端子OR回路342の出力gはハイレベルである。従がって、第3及び第4の比較回路44、45の出力信号i、jはローレベルのままである。
時点t3に至ると、第1の比較回路29からの信号eが立上り、第1の立上りエッジD−FF回路381がトリガされるが、第2の比較回路31の出力端子313の信号fがローレベルであるので、そのQ端子の信号はローレベルとなる。この時点t3では、第1の立下りエッジD−FF回路382のQ端子の信号はハイレベルを維持しており、4端子OR回路342の出力端子346の信号gはハイレベルであり、従がって、第2のTr40は導通のままである。一方、第1のTr37は、信号eがハイレベルとなるので導通し、抵抗38には第2のTr40から供給される電流が加算されて流れ、信号hはローレベルL1となる。
信号hがローレベルL1となることにより、比較レベルが第1の比較レベルCL1に設定されている第3の比較回路44の出力信号iは、ハイレベルとなる。第4の比較回路45の比較レベルは第2の比較レベルCL2に設定されているので、その出力信号jはローレベルのままである。
次に、時点t4に於いて、第2の比較回路31の出力端子313の信号fがハイレベルに立上ると、第2の立上りエッジD−FF回路383がトリガされ、そのときのD端子の信号レベルがハイレベルであるのでQ端子はハイレベルの信号を出力する。これにより、4端子OR回路342の出力信号gはハイレベルを継続し、第2のTr40は導通を継続する。従がって、信号hは、ローレベルL1のままであり、時点t4に於いては、第3及び第4の比較回路44、45の出力信号i、jは、時点t3の場合と変わらない。
このように、磁性移動体4が正回転しているときは、第3の比較回路44の出力信号iはハイレベルとローレベルとの2値信号パルスとなるが、第4の比較回路45の出力信号jはローレベルのままである。即ち、出力信号iがハイレベルとローレベルの2値信号として現れる一方、出力信号jがローレベルを継続することをもって、磁性移動体4が正回転していると判定することが可能である。
いま、磁性移動体4と磁石2に設けられたMR素子22とが(a)の位置関係にある時に、磁性移動体4が正回転から逆回転に転じたとすると、最初にMR素子21bが磁性移動体4の凸部41に対向する時点t5に於いて第2の比較回路31の出力端子313の信号fはローレベルに転じる。これにより、4入力OR回路342の出力端子346の信号gはローレベルに転じ、第2のTr40は非導通となり、信号hはローレベルL2となる。これにより、第4の比較回路45の出力端子453の信号jはハイレベルに転じる。
磁性移動体4の逆回転時は、正回転時とは逆に、MR素子21b、22、21aの順に時間差をもって磁性移動体4の凸部41と凹部42が交互に対抗することとなるので、時点t5以降、t6、t8、t10の時点に於いて、第4の比較回路45の出力端子453の信号jは第3の比較回路44の出力端子443の信号iと同期してローレベルとハイレベルに交互に変化することとなる。従がって、出力信号jがローレベルとハイレベルに交互に変化することをもって、磁性移動体4が逆回転していると判定することが可能となる。
即ち、図5の(a)の位置関係で逆回転した場合は、信号fが最初に変化する時点t5に於いて信号hがL2レベルとなり信号jのレベルがローレベルからハイレベルに変化するので、信号fが最初に変化する時点t5で直ちに逆回転を検出することとなる。同様に、(b)の位置関係で逆回転した場合は、図5の(B)に示すように、信号(e)が最初に変化する時点t61に於いて信号hがL2となり、この時点t61で直ちに逆回転を検出し、(c)の位置関係で逆回転した場合は、図5の(C)に示すように、信号eが最初に変化する時点t82で信号hがL2となり、この時点t82で逆回転を検出することができる。
しかるに、(d)の位置関係にあるとき磁性移動体4が逆回転した場合、図5の(D)に示すように、逆回転してから信号e、fが最初に変化する時点t83、t93のいずれの時点に於いても信号hのレベルがL2とならず、従がって、本来逆回転を検出できる時点t83では誤検出となって逆回転を検出できず、信号hのレベルがL2となる時点t103まで逆回転を検出できないこととなる。
実施の形態1
図6はこの発明の実施の形態1に係る磁気検出装置の回路図を示し、図7はその動作を説明する説明図である。前述した発明の基礎となる技術と同一又は相当する部分には同一符号を付してある。図6に於いて、出力トランジスタである第1のトランジスタ(以下、第1のTrと称する)51のベースは、第1の比較回路29の出力端子293に接続され、コレクタは抵抗55を介してセンサユニット50の出力端子OUTに接続され、エミッタは接地されている。センサユニット50の出力端子VOUTはコンピュータユニット420の第3の比較回路44の反転入力端子441に接続されている。
出力トランジスタである第2のトランジスタ(以下、第2のTrと称する)52のベースは、第2の比較回路31の出力端子313に接続され、コレクタは抵抗56を介して電源端子VOUTに接続され、エミッタは接地されている。出力トランジスタである第3のトランジスタ(以下、第3のTrと称する)53のベースは、第1の比較回路29の出力端子293に接続され、コレクタは出力端子VOUTに接続されている。出力トランジスタである第4のトランジスタ(以下、第4のTrと称する)54のベースは、第2の比較回路31の出力端子313に接続され、コレクタは第3のTr53のエミッタに接続され、エミッタは接地されている。
センサユニット50は、その電源がコンピュータユニット420から電源端子VBを介して供給され、接地端子GNDは接地されている。尚、抵抗55、56、57の抵抗値は、夫々R2、R3、R1であるとする。
磁性移動体の回転により、MR素子21a、21b、22の抵抗が変化し、第1及び第2のブリッジ回路23、30により2系統の電圧変化が信号c、dとして得られる。信号c、dは、第1及び第2の比較回路29、31により矩形波に変換され、信号e、fが得られる。矩形波である一方の信号eは、第1のTr51のベースと第3のTr53のベースに入力される。矩形波である他方の信号fは、第2のTr52のベースと第4のTr54のベースに入力される。
センサユニット50の出力信号である信号hは、コンピュータユニット420に伝達された後、電源Vccにプルアップされる。信号hは、第3の比較回路44の反転入力端子に入力され、非反転入力端子442に入力されている比較レベルCLと比較され信号iを得る。又、信号hは、逆転検出回路60のアナログ・デジタル変換器(以下、ADCと称する)61に入力されてデジタル信号に変換され、論理回路62を経てデジタル・アナログ変換器(以下、DACと称する)63によりアナログに再変換されて逆転検出信号である信号jを得る。
この発明の実施の形態1に於いて、MR素子21a、21b、22は、本発明に於ける検出部を構成し、第1及び第2のブリッジ回路23、30と、第1及び第2の比較回路29、31と、第1乃至第4のTr51、52、53、54とは、本発明に於ける信号形成部を構成する。又、第3の比較回路44と、逆転検出回路60とは、本発明に於ける判定部を構成する。更に、第1及び第2のブリッジ回路23、30と、第1及び第2の比較回路29、31とは、本発明に於ける変換回路を構成し、第1乃至第4のTr51、52、53、54は、本発明に於ける信号形成回路を構成する。
図7の(A)は、磁性移動体の正回転時に於ける信号e、f、h、i、jの波形を示す説明図であり、図7の(B)は、逆回転時に於ける、信号e、f、h、i、jの波形を示す説明図である。
次に、この発明の実施の形態1による磁気検出装置の動作を、図6及び図7により説明する。
図7の(A)に於いて、信号e、fは、図示のように矩形波として夫々第1及び第2の比較回路29、31の出力端子293、313に発生する。磁性移動体4の正回転により、MR素子が21a、22、21bの順に磁性移動体4の凸部41に対向することとなるので、信号eは、信号fより、所定量進んだ位相となる。MR素子が磁性移動体4の凸部41と凹部42に対向する1周期に於いて、信号eとfのハイレベルHとローレベルLの組合わせが4通り発生し、その組合わせの違いによりにより、夫々異なる4通りのレベル「1」「2」「3」「4」の信号hが得られる。従って、信号hのレベルの違いによって、磁性移動体4の凸部41と凹部42を1/4周期で検出することができる。
信号hのレベルの変化について更に詳しく述べると、
(1) 信号eがハイレベルH、信号fがハイレベルHのとき
第1乃至第4のTr51、52、53、54は全て導通となり、信号hは接地GNDのレベルとなる。図7の(A)では、このときの信号hのレベルを「1」で表示している。
(2) 信号eがハイレベルH、信号fがローレベルLのとき
第1及び第3のTr51、53が導通し、第2及び第4のTr52、54が非導通となる。これにより
信号h=VCC×{R2/(R1+R2)}
となる。図7の(A)では、このときの信号hのレベルを「2」で表示している。
(3) 信号eがローレベルL、信号fがハイレベルHのとき
第1及び第3のTr51、53が非導通となり、第2及び第4のTr52、54が導通となる。これにより
信号h=VCC×{R3/(R1+R3)}
となる。図7の(A)では、このときの信号hのレベルを「3」で表示している。
(4) 信号eがローレベルL、信号fがローレベルLのとき
第1乃至第4のTr51、52、53、54が全て非導通となり、信号hは電源電圧VCCのレベルとなる。図7の(A)では、このときの信号hのレベルを「4」で表示している。
今、例えば、VCC=3[V]、R1=2[KΩ]、R2=1[KΩ]、各TrのVsat=0とすると
レベル「1」の信号h=0[V]
レベル「2」の信号h=1[V]
レベル「3」の信号h=2[V]
レベル「4」の信号h=3[V]
となる。
第3の比較回路44の比較レベルCLは、信号hのレベル「2」と「3」との間に設定されているので、信号hがレベル「3」と「4」のとき、第3の比較回路44の出力信号iはローレベルとなり、信号hがレベル「1」と「2」のとき、信号iはハイレベルとなる。一方、逆転検出回路60は、入力された信号hのレベルが「1」「3」「4」「2」の順序で変化したとき、その出力信号jはローレベルを維持するよう論理回路62により処理される。従って、信号jがローレベルであることをもって磁性移動体4、従って被検出体の正回転を検出することができる。
次に図7の(B)に於いて、磁性移動体4の逆回転により、正回転時とは逆に、MR素子が21b、22、21aの順に磁性移動体4の凸部41に対向することとなるので、信号eが信号fより所定量遅れた位相で夫々第1及び第2の比較回路29、31の出力端子293、313に発生する。MR素子が磁性移動体4の凸部41と凹部42に対向する1周期に於いて、信号eとfのハイレベルHとローレベルLの組合わせが4通り発生し、その組合わせの違いによりにより、夫々異なる4通りのレベル「1」「2」「3」「4」の信号hが得られる。従って、信号hのレベルの違いによって、磁性移動体4の凸部41と凹部42を1/4周期で検出することができる。
信号hのレベルの変化は正回転時と同様であり、
(1)信号eがハイレベルH、信号fがハイレベルHのとき、信号hはレベル「1」となる。
(2)信号eがハイレベルH、信号fがローレベルLのとき、信号hはレベル「2」となる。
(3)信号eがローレベルL、信号fがハイレベルHのとき、信号hはレベル「3」となる。
(4)信号eがローレベルL、信号fがローレベルLのとき、信号hはレベル「4」となる。
第3の比較回路44の比較レベルCLは、信号hのレベル「2」と「3」との間に設定されているので、信号hがレベル「3」と「4」のとき、第3の比較回路44の出力信号iはローレベルとなり、信号hがレベル「1」と「2」のとき、信号iはハイレベルとなる。一方、逆転検出回路60は、入力された信号hのレベルが「2」「4」「3」「1」の順序で変化したとき、その出力信号jはハイレベルを維持するよう論理回路62により処理される。従って、信号jがハイレベルとなることをもって磁性移動体4、従って被検出体の逆回転を検出することができる。
図8の(A)は、磁性移動体4と磁石1(図1参照)の中央のMR素子22とが(a)の位置で相対的に対向しているときに、正回転から逆回転に切替わった場合の、図6に示す回路の各端子の信号e、f、h、i、jの波形を示している。同様に、図8の(B)、(C)、(D)は、磁性移動体4と磁石1の中央のMR素子22とが(b)、(c)、(d)の各位置で相対的に対向しているときに、正回転から逆回転に切替わった場合の信号e、f、h、i、jの波形を示している。信号hは、磁性移動体4の正回転時には前述した図7の(A)に示す順序でレベルが変化し、磁性移動体4の逆回転時には図7の(B)に示す順序でレベルが変化する。
即ち、磁性移動体4がタイミング(a)に於いて逆回転したとすると、図8(A)に示すように、時点t1、t2、t3、t4での信号e、fのレベルの変化により、第3の比較回路44の出力信号iのレベルは「3」「4」「2」「1」の順序で変化し、これによって逆転検出回路60の出力信号jがローレベルを維持し、磁性移動体4が正回転であることを検出する。
(a)の時点で磁性移動体4が逆回転に転じると、時点t5、t6、t7、t8、t9、t10での信号e、fのレベルの変化により、第3の比較回路44の出力信号iのレベルは「2」「4」「3」「1」の順序で変化し、これによって逆転検出回路60の出力信号jがハイレベルに転じる。従って、磁性移動体4が逆転に転じた時点(a)の直後に信号fが立下がる時点t5に於いて信号jが直ちにハイレベルに転じ、速やかに磁性移動体4の逆回転を検出することができる。
同様に、(b)のタイミングで磁性移動体4が逆転に転じたとすれば、図8の(B)に示すように、時点(b)の直後に信号eが立上がる時点t61に於いて信号jが直ちにハイレベルに転じるので、速やかに磁性移動体4の逆回転を検出することができる。(c)のタイミングで磁性移動体4が逆転に転じたとすれば、図8の(C)に示すように、時点(c)の直後に信号fが立上がる時点t72に於いて信号jが直ちにハイレベルに転じるので、速やかに磁性移動体4の逆回転を検出することができる。(d)のタイミングで磁性移動体4が逆転に転じたとすれば、図8の(D)に示すように、時点(d)の直後に信号eが立下がる時点t83に於いて信号jが直ちにハイレベルに転じるので、速やかに磁性移動体4の逆回転を検出することができる。
このように、この発明の実施の形態1による磁気検出装置によれば、磁性移動体の逆回転を、簡単な回路構成で極めて速やかに、しかも誤検出することなく正確に検出することができる。
実施の形態2
図9は、この発明の実施の形態2に係る磁気検出装置の回路構成を示す回路図、図10は、磁性移動体4の正回転時の動作を説明する説明図であり、実施の形態1と同一又は相当部分には同一符号を付してある。図9に於いて、出力トランジスタである第5のトランジスタ(以下、第5のTrと称する)58のベースは、第1の比較回路29の出力端子293に接続され、コレクタは抵抗64を介して電源VCCに接続され、エミッタは接地されている。第1のTr51及び第3のTr53の夫々のベースは、第5のTr58のコレクタに接続されている。
出力トランジスタである第6のトランジスタ(以下、第6のTrと称する)59のベースは、第2の比較回路31の出力端子313に接続され、コレクタは抵抗65を介して電源VCCに接続され、エミッタは接地されている。第2のTr52及び第4のTr54の夫々のベースは、第6のTrのコレクタに接続されている。
又、第1のTr51のコレクタは、センサユニット50の出力端子VOUTに直接接続され、エミッタは接地されている。第2のTr52のコレクタは、抵抗55を介して出力端子VOUTに接続され、エミッタは接地されている。第3のTr53のコレクタは、抵抗56を介して出力端子VOUTに接続され、エミッタは第4のTr54のコレクタに接続されている。第4のTr54のエミッタは接地されている。
その他の構成は、実施の形態1と同様である。
センサユニット50は、その電源がコンピュータユニット420から電源端子VBを介して供給され、接地端子GNDは接地されている。尚、抵抗55、56、57の抵抗値は、夫々R2、R3、R1であるとする。
磁性移動体の回転により、MR素子21a、21b、22の抵抗が変化し、第1及び第2のブリッジ回路23、30により2系統の電圧変化が信号c、dとして得られる。信号c、dは、第1及び第2の比較回路29、31により矩形波に変換され、信号e、fが得られる。矩形波である一方の信号eは、第5のTr58のベースに入力される。矩形波である他方の信号fは、第6のTr59のベースに入力される。
センサユニット50の出力信号である信号hは、コンピュータユニット420に伝達された後、電源Vccにプルアップされる。信号hは、第3の比較回路44の反転入力端子に入力され、非反転入力端子442に入力されている比較レベルCLと比較され信号iを得る。又、信号hは、逆転検出回路60のADC61に入力されてデジタル信号に変換され、論理回路62を経てDAC63によりアナログに再変換されて逆転検出信号である信号jを得る。
この発明の実施の形態2に於いて、MR素子21a、21b、22は、本発明に於ける検出部を構成し、第1及び第2のブリッジ回路23、30と、第1及び第2の比較回路29、31と、第1乃至第6のTr51、52、53、54、58、59とは、本発明に於ける信号形成部を構成する。又、第3の比較回路44と、逆転検出回路60とは、本発明に於ける判定部を構成する。更に、第1及び第2のブリッジ回路23、30と、第1及び第2の比較回路29、31とは、本発明に於ける変換回路を構成し、第1乃至第6のTr51、52、53、54、58、59は、本発明に於ける信号形成回路を構成する。
図10は、磁性移動体の正回転時に於ける信号e、f、h、i、jの波形を示す説明図である。
次に、この発明の実施の形態1による磁気検出装置の動作を、図9及び図10により説明する。図10に於いて、信号e、fは、図示のように矩形波として夫々第1及び第2の比較回路29、31の出力端子293、313に発生する。磁性移動体4の正回転により、MR素子が21a、22、21bの順に磁性移動体4の凸部41に対向することとなるので、信号eは、信号fより、所定量進んだ位相となる。MR素子が磁性移動体4の凸部41と凹部42に対向する1周期に於いて、信号eとfのハイレベルHとローレベルLの組合わせが4通り発生し、その組合わせの違いによりにより、夫々異なる4通りのレベル「1」「2」「3」「4」の信号hが得られる。従って、信号hのレベルの違いによって、磁性移動体4の凸部41と凹部42を1/4周期で検出することができる。
信号hのレベルの変化について更に詳しく述べると、
(1) 信号eがローレベルL、信号fがハイレベルHのとき
第1のTr51、第3のTr53が導通となり、信号hは接地GNDのレベルとなる。図10では、このときの信号hのレベルを「1」で表示している。
(2) 信号eがローレベルL、信号fがローレベルLのとき
第1乃至第4のTr51、52、53、54が導通となる。これにより
信号h=VCC×{(R2×R3)/(R2+R3)}/[R1+{(R2×R3)/(R2+R3)}]
となる。図10では、このときの信号hのレベルを「2」で表示している。
(3) 信号eがハイレベルH、信号fがローレベルLのとき
第1及び第3のTr51、53が非導通となり、第2及び第4のTr52、54が導通と成る。これにより
信号h=VCC×{R2/(R1+R2)}
となる。図10では、このときの信号hのレベルを「3」で表示している。
(4) 信号eがハイレベルH、信号fがハイレベルHのとき
第1乃至第4のTr51、52、53、54が全て非導通となり、信号hは電源電圧VCCのレベルとなる。図10では、このときの信号hのレベルを「4」で表示している。
今、例えば、VCC=3[V]、R1=2[KΩ]、R2=4[KΩ]、R3=4/3[KΩ]、各TrのVsat=0とすると
レベル「1」の信号h=0[V]
レベル「2」の信号h=1[V]
レベル「3」の信号h=2[V]
レベル「4」の信号h=3[V]
となる。
図のようにセンサユニット50の出力信号hは、磁性移動体4の凸部41の中心で変化が最大となる。
第3の比較回路44の比較レベルCLは、信号hのレベル「2」と「3」との間に設定されているので、信号hがレベル「3」と「4」のとき、第3の比較回路44の出力信号iはローレベルとなり、信号hがレベル「1」と「2」のとき、信号iはハイレベルとなる。一方、逆転検出回路60は、入力された信号hのレベルが「1」「2」「3」「4」の順序で変化したとき、その出力信号jはローレベルを維持するよう論理回路62により処理される。従って、信号jがローレベルであることをもって磁性移動体4、従って被検出体の正回転を検出することができる。
磁性移動体4が逆回転した場合の、各信号e、f、h、i、jの波形については図示していないが、実施の形態1で述べたように磁性移動体4の逆回転時には、信号eの位相が信号fに対して所定量遅れて発生する。従って、図10の各矢印を全て逆向きとして表示することができる。即ち、磁性移動体4の逆回転の場合、信号hのレベルは、「4」「3」「2」「1」の順序で変化することとなる。
第3の比較回路44の比較レベルCLは、信号hのレベル「2」と「3」との間に設定されているので、正回転時の場合と同様に、信号hがレベル「3」と「4」のとき、第3の比較回路44の出力信号iはローレベルとなり、信号hがレベル「1」と「2」のとき、信号iはハイレベルとなる。一方、逆転検出回路60は、入力された信号hのレベルが「4」「3」「2」「1」の順序で変化したとき、その出力信号jはハイレベルを維持するよう論理回路62により処理される。従って、信号jがハイレベルとなることをもって磁性移動体4、従って被検出体の逆回転を検出することができる。
実施の形態2の場合、信号hレベルの変化の順序が実施の形態1の場合のそれと異なるが、図8で示した実施の形態1の場合の同様に、磁性移動体4が(a)、(b)、(c)、(d)のいずれの時点において逆回転に転じた場合でも、その時点から信号e、fのいずれかのレベルが最初に変化した時点で直ちに信号jがローレベルからハイレベルに転じる。従って、この発明の実施の形態2による磁気検出装置によれば、磁性移動体の逆回転を、簡単な回路構成で極めて速やかに、しかも誤検出することなく正確に検出することができる。磁性移動体4の逆回転を速やかに誤検出することなく正確に検出することができる。
実施の形態3
図11は、この発明の実施の形態3に係る磁気検出装置の回路構成を示す回路図、図12は、磁性移動体4の正回転時の動作を説明する説明図であり、実施の形態1、2と同一又は相当部分には同一符号を付してある。図11に於いて、出力トランジスタである第6のTr59のベースは、第2の比較回路31の出力端子313に接続され、コレクタは抵抗65を介して電源VCCに接続され、エミッタは接地されている。実施の形態2の第5のTr58に相当するトランジスタは備えていない。
第2のTr52のベースは、第2の比較回路31の出力端子313に接続され、コレクタは抵抗56を介してセンサユニット50の出力端子VOUTに接続され、エミッタは接地されている。第4のTr54のベースは、第6のTr59のコレクタに接続され、エミッタは接地されている。
第1のTr51のベースは、第1の比較回路29の出力端子293に接続され、コレクタは抵抗55を介して電源端子VOUTに接続され、エミッタは接地されている。第3のTr53のベースは、第1の比較回路29の出力端子293に接続され、コレクタは直接電源端子VOUTに接続され、エミッタは第4のTr54のコレクタに接続されている。
その他の構成は、実施の形態1、2と同様である。
センサユニット50は、その電源がコンピュータユニット420から電源端子VBを介して供給され、接地端子GNDは接地されている。尚、抵抗55、56、57の抵抗値は、夫々R3、R2、R1であるとする。
磁性移動体の回転により、MR素子21a、21b、22の抵抗が変化し、第1及び第2のブリッジ回路23、30により2系統の電圧変化が信号c、dとして得られる。信号c、dは、第1及び第2の比較回路29、31により矩形波に変換され、信号e、fが得られる。矩形波である一方の信号eは、第1のTr51及び第3のTr53のベースに入力される。矩形波である他方の信号fは、第2のTr52及び第6のTr65のベースに入力される。
センサユニット50の出力信号である信号hは、コンピュータユニット42に伝達された後、電源Vccにプルアップされる。信号hは、第3の比較回路44の反転入力端子に入力され、非反転入力端子442に入力されている比較レベルCLと比較され信号iを得る。又、信号hは、逆転検出回路60のADC61に入力されてデジタル信号に変換され、論理回路62を経てDAC63によりアナログに再変換されて逆転検出信号である信号jを得る。
この発明の実施の形態3に於いて、MR素子21a、21b、22は、本発明に於ける検出部を構成し、第1及び第2のブリッジ回路23、30と、第1及び第2の比較回路29、31と、第1乃至第4及び第6のTr51、52、53、54、59とは、本発明に於ける信号形成部を構成する。又、第3の比較回路44と、逆転検出回路60とは、本発明に於ける判定部を構成する。更に、第1及び第2のブリッジ回路23、30と、第1及び第2の比較回路29、31とは、本発明に於ける変換回路を構成し、第1乃至第4及び第6のTr51、52、53、54、59は、本発明に於ける信号形成回路を構成する。
図12は、磁性移動体の正回転時に於ける信号e、f、h、i、jの波形を示す説明図である。
次に、この発明の実施の形態3による磁気検出装置の動作を、図11及び図12により説明する。図12に於いて、信号e、fは、図示のように矩形波として夫々第1及び第2の比較回路29、31の出力端子293、313に発生する。磁性移動体4の正回転により、MR素子が21a、22、21bの順に磁性移動体4の凸部41に対向することとなるので、信号eは、信号fより、所定量進んだ位相となる。MR素子が磁性移動体4の凸部41と凹部42に対向する1周期に於いて、信号eとfのハイレベルHとローレベルLの組合わせが4通り発生し、その組合わせの違いによりにより、夫々異なる4通りのレベル「1」「2」「3」「4」の信号hが得られる。従って、信号hのレベルの違いによって、磁性移動体4の凸部41と凹部42を1/4周期で検出することができる。
信号hのレベルの変化について更に詳しく述べると
(1)信号eがハイレベルH、信号fがローレベルLのとき
第1のTr51、第3のTr53、及び第4のTr54が導通となり、信号hは接地GNDのレベルとなる。図12では、このときの信号hのレベルを「1」で表示している。
(2)信号eがハイレベルH、信号fがハイレベルHのとき
第1乃至第3のTr51、52、53が導通、第4のTr54が非導通となる。これにより
信号h=VCC×{(R2×R3)/(R2+R3)}/[R1+{(R2×R3)/(R2+R3)}]
となる。図12では、このときの信号hのレベルを「2」で表示している。
(3) 信号eがローレベルL、信号fがハイレベルHのとき
第2及び第6のTr52、59が導通となり、第1及び第3のTr51、53が非導通と成る。これにより
信号h=VCC×{R2/(R1+R2)}
となる。図12では、このときの信号hのレベルを「3」で表示している。
(4) 信号eがローレベルL、信号fがローレベルLのとき
第1乃至第3のTr51、52、53が非導通となり、信号hは電源電圧VCCのレベルとなる。図12では、このときの信号hのレベルを「4」で表示している。
今、例えば、VCC=3[V]、R1=2[KΩ]、R2=4[KΩ]、R3=4/3[KΩ]、各TrのVsat=0とすると
レベル「1」の信号h=0[V]
レベル「2」の信号h=1[V]
レベル「3」の信号h=2[V]
レベル「4」の信号h=3[V]
となる。
図のようにセンサユニット50の出力信号hは、磁性移動体4の凹部42の中心で変化が最大となる。
第3の比較回路44の比較レベルCLは、信号hのレベル「2」と「3」との間に設定されているので、信号hがレベル「3」と「4」のとき、第3の比較回路44の出力信号iはローレベルとなり、信号hがレベル「1」と「2」のとき、信号iはハイレベルとなる。一方、逆転検出回路60は、入力された信号hのレベルが「1」「2」「3」「4」の順序で変化したとき、その出力信号jはローレベルを維持するよう論理回路62により処理される。従って、信号jがローレベルであることをもって磁性移動体4、従って被検出体の正回転を検出することができる。
磁性移動体4が逆回転した場合の、各信号e、f、h、i、jの波形については図示していないが、実施の形態1で述べたように磁性移動体4の逆回転時には、信号eの位相が信号fに対して所定量遅れて発生する。従って、図12の各矢印を全て逆向きとして表示することができる。即ち、磁性移動体4の逆回転の場合、信号hのレベルは、「4」「3」「2」「1」の順序で変化することとなる。
第3の比較回路44の比較レベルCLは、信号hのレベル「2」と「3」との間に設定されているので、正回転時の場合と同様に、信号hがレベル「3」と「4」のとき、第3の比較回路44の出力信号iはローレベルとなり、信号hがレベル「1」と「2」のとき、信号iはハイレベルとなる。一方、逆転検出回路60は、入力された信号hのレベルが「4」「3」「2」「1」の順序で変化したとき、その出力信号jはハイレベルを維持するよう論理回路62により処理される。従って、信号jがハイレベルとなることをもって磁性移動体4、従って被検出体の逆回転を検出することができる。
実施の形態3の場合、信号hレベルの変化の順序が実施の形態1の場合のそれと異なるが、図8で示した実施の形態1の場合の同様に、磁性移動体4が(a)、(b)、(c)、(d)のいずれの時点において逆回転に転じた場合でも、その時点から信号e、fのいずれかのレベルが最初に変化した時点で直ちに信号jがローレベルからハイレベルに転じる。従って、この発明の実施の形態3による磁気検出装置によれば、磁性移動体の逆回転を、簡単な回路構成で極めて速やかに、しかも誤検出することなく正確に検出することができる。磁性移動体4の逆回転を速やかに誤検出することなく正確に検出することができる。
実施の形態4
図13は、この発明の実施の形態4に係る磁気検出装置の回路構成を示す回路図、図14は、磁性移動体4の正回転時の動作を説明する説明図であり、実施の形態1、2、3と同一又は相当部分には同一符号を付してある。図13に於いて、出力トランジスタである第5のTr58のベースは、第1の比較回路29の出力端子293に接続され、コレクタは抵抗64を介して電源VCCに接続され、エミッタは接地されている。実施の形態2の第6のTr59に相当するトランジスタは備えていない。
第1のTr51のベースは、第5のTr58のコレクタに接続され、エミッタは接地されている。第2のTr52のベースは第2の比較回路31の出力端子313に接続され、コレクタは抵抗56を介してセンサユニット50の出力端子VOUTに接続され、エミッタは接地されている。第3のTr53のベースは、第1の比較回路29の出力端子293に接続され、コレクタは直接電源端子VOUTに接続され、エミッタは第4のTr54のコレクタに接続されている。第4のTr54のベースは、第2の比較回路31の出力端子313に接続され、エミッタは接地されている。
その他の構成は、実施の形態1、2、3と同様である。
センサユニット50は、その電源がコンピュータユニット49から電源端子VBを介して供給され、接地端子GNDは接地されている。尚、抵抗55、56、57の抵抗値は、夫々R2、R3、R1であるとする。
磁性移動体の回転により、MR素子21a、21b、22の抵抗が変化し、第1及び第2のブリッジ回路23、30により2系統の電圧変化が信号c、dとして得られる。信号c、dは、第1及び第2の比較回路29、31により矩形波に変換され、信号e、fが得られる。矩形波である一方の信号eは、第5のTr58及び第3のTr53のベースに入力される。矩形波である他方の信号fは、第2のTr52及び第4のTr54のベースに入力される。
センサユニット50の出力信号である信号hは、コンピュータユニット42に伝達された後、電源Vccにプルアップされる。信号hは、第3の比較回路44の反転入力端子に入力され、非反転入力端子442に入力されている比較レベルCLと比較され信号iを得る。又、信号hは、逆転検出回路60のADC61に入力されてデジタル信号に変換され、論理回路62を経てDAC63によりアナログに再変換されて逆転検出信号である信号jを得る。
この発明の実施の形態4に於いて、MR素子21a、21b、22は、本発明に於ける検出部を構成し、第1及び第2のブリッジ回路23、30と、第1及び第2の比較回路29、31と、第1乃至第4及び第5のTr51、52、53、54、58とは、本発明に於ける信号形成部を構成する。又、第3の比較回路44と、逆転検出回路60とは、本発明に於ける判定部を構成する。更に、第1及び第2のブリッジ回路23、30と、第1及び第2の比較回路29、31とは、本発明に於ける変換回路を構成し、第1乃至第4及び第5のTr51、52、53、54、58は、本発明に於ける信号形成回路を構成する。
図14は、磁性移動体の正回転時に於ける信号e、f、h、i、jの波形を示す説明図である。
次に、この発明の実施の形態4による磁気検出装置の動作を、図13及び図14により説明する。図14に於いて、信号e、fは、図示のように矩形波として夫々第1及び第2の比較回路29、31の出力端子293、313に発生する。磁性移動体4の正回転により、MR素子が21a、22、21bの順に磁性移動体4の凸部41に対向することとなるので、信号eは、信号fより、所定量進んだ位相となる。MR素子が磁性移動体4の凸部41と凹部42に対向する1周期に於いて、信号eとfのハイレベルHとローレベルLの組合わせが4通り発生し、その組合わせの違いによりにより、夫々異なる4通りのレベル「1」「2」「3」「4」の信号hが得られる。従って、信号hのレベルの違いによって、磁性移動体4の凸部41と凹部42を1/4周期で検出することができる。
信号hのレベルの変化について更に詳しく述べると
(1)信号eがハイレベルH、信号fがハイレベルHのとき
第5のTr58、第3のTr53、及び第2のTr52、第4のTr54が導通となり、信号hは接地GNDのレベルとなる。図14では、このときの信号hのレベルを「1」で表示している。
(2)信号eがローレベルL、信号fがハイレベルHのとき
第1のTr51、第2のTr52、第4のTr54が導通となる。これにより
信号h=VCC×{(R2×R3)/(R2+R3)}/[R1+{(R2×R3)/(R2+R3)}]
となる。図14では、このときの信号hのレベルを「2」で表示している。
(3) 信号eがローレベルL、信号fがローレベルLのとき
第1のTr51が導通となり、他のトランジスタは非導通と成る。これにより
信号h=VCC×{R2/(R1+R2)}
となる。図14では、このときの信号hのレベルを「3」で表示している。
(4) 信号eがハイレベルH、信号fがローレベルLのとき
第5のTr58、第3のTr53が導通となるが、他のトランジスタは非導通であり、信号hは電源電圧VCCのレベルとなる。図14では、このときの信号hのレベルを「4」で表示している。
今、例えば、VCC=3[V]、R1=2[KΩ]、R2=4[KΩ]、R3=4/3[KΩ]、各TrのVsat=0とすると
レベル「1」の信号h=0[V]
レベル「2」の信号h=1[V]
レベル「3」の信号h=2[V]
レベル「4」の信号h=3[V]
となる。
図のようにセンサユニット50の出力信号hは、磁性移動体の凸部41の立上りエッジで変化が最大となる。
第3の比較回路44の比較レベルCLは、信号hのレベル「2」と「3」との間に設定されているので、信号hがレベル「3」と「4」のとき、第3の比較回路44の出力信号iはローレベルとなり、信号hがレベル「1」と「2」のとき、信号iはハイレベルとなる。一方、逆転検出回路60は、入力された信号hのレベルが「1」「2」「3」「4」の順序で変化したとき、その出力信号jはローレベルを維持するよう論理回路62により処理される。従って、信号jがローレベルであることをもって磁性移動体4、従って被検出体の正回転を検出することができる。
磁性移動体4が逆回転した場合の、各信号e、f、h、i、jの波形については図示していないが、実施の形態1で述べたように磁性移動体4の逆回転時には、信号eの位相が信号fに対して所定量遅れて発生する。従って、図14の各矢印を全て逆向きとして表示することができる。即ち、磁性移動体4の逆回転の場合、信号hのレベルは、「4」「3」「2」「1」の順序で変化することとなる。
第3の比較回路44の比較レベルCLは、信号hのレベル「2」と「3」との間に設定されているので、正回転時の場合と同様に、信号hがレベル「3」と「4」のとき、第3の比較回路44の出力信号iはローレベルとなり、信号hがレベル「1」と「2」のとき、信号iはハイレベルとなる。一方、逆転検出回路60は、入力された信号hのレベルが「4」「3」「2」「1」の順序で変化したとき、その出力信号jはハイレベルを維持するよう論理回路62により処理される。従って、信号jがハイレベルとなることをもって磁性移動体4、従って被検出体の逆回転を検出することができる。
実施の形態4の場合、信号hレベルの変化の順序が実施の形態1の場合のそれと異なるが、図8で示した実施の形態1の場合の同様に、磁性移動体4が(a)、(b)、(c)、(d)のいずれの時点において逆回転に転じた場合でも、その時点から信号e、fのいずれかのレベルが最初に変化した時点で直ちに信号jがローレベルからハイレベルに転じる。従って、この発明の実施の形態4による磁気検出装置によれば、磁性移動体の逆回転を、簡単な回路構成で極めて速やかに、しかも誤検出することなく正確に検出することができる。磁性移動体4の逆回転を速やかに誤検出することなく正確に検出することができる。
実施の形態5
図15は、この発明の実施の形態5に係る磁気検出装置の回路構成を示す回路図、図16は、磁性移動体4の正回転時の動作を説明する説明図であり、実施の形態1、2、3、4と同一又は相当部分には同一符号を付してある。図15に於いて、出力トランジスタである第5のTr58のベースは、第1の比較回路29の出力端子293に接続され、コレクタは抵抗64を介して電源VCCに接続され、エミッタは接地されている。第6のTr59のベースは、第2の比較回路31の出力端子313に接続され、コレクタは抵抗65を介して電源VCCに接続されている。
第1のTr51のベースは、第1の比較回路29の出力端子293に接続され、コレクタは抵抗55を介してセンサユニット50の出力端子VOUTに接続され、エミッタは接地されている。第2のTr52のベースは、第6のTr59のコレクタに接続され、エミッタは接地されている。第3のTr53のベースは第5のTr58のコレクタに接続されている。第4のTr54のベースは、第6のTr59のコレクタに接続され、エミッタは接地されている。
その他の構成は、実施の形態1、2、3、4と同様である。
センサユニット50は、その電源がコンピュータユニット420から電源端子VBを介して供給され、接地端子GNDは接地されている。尚、抵抗55、56、57の抵抗値は、夫々R2、R3、R1であるとする。
磁性移動体の回転により、MR素子21a、21b、22の抵抗が変化し、第1及び第2のブリッジ回路23、30により2系統の電圧変化が信号c、dとして得られる。信号c、dは、第1及び第2の比較回路29、31により矩形波に変換され、信号e、fが得られる。矩形波である一方の信号eは、第5のTr58及び第1のTr51のベースに入力される。矩形波である他方の信号fは、第6のTr59のベースに入力される。
センサユニット50の出力信号である信号hは、コンピュータユニット42に伝達された後、電源Vccにプルアップされる。信号hは、第3の比較回路44の反転入力端子に入力され、非反転入力端子442に入力されている比較レベルCLと比較され信号iを得る。又、信号hは、逆転検出回路60のADC61に入力されてデジタル信号に変換され、論理回路62を経てDAC63によりアナログに再変換されて逆転検出信号である信号jを得る。
この発明の実施の形態5に於いて、MR素子21a、21b、22は、本発明に於ける検出部を構成し、第1及び第2のブリッジ回路23、30と、第1及び第2の比較回路29、31と、第1乃至第6のTr51、52、53、54、、58、59とは、本発明に於ける信号形成部を構成する。又、第3の比較回路44と、逆転検出回路60とは、本発明に於ける判定部を構成する。更に、第1及び第2のブリッジ回路23、30と、第1及び第2の比較回路29、31とは、本発明に於ける変換回路を構成し、第1乃至第6のTr51、52、53、54、58、59は、本発明に於ける信号形成回路を構成する。
図16は、磁性移動体の正回転時に於ける信号e、f、h、i、jの波形を示す説明図である。
次に、この発明の実施の形態4による磁気検出装置の動作を、図15及び図16により説明する。図16に於いて、信号e、fは、図示のように矩形波として夫々第1及び第2の比較回路29、31の出力端子293、313に発生する。磁性移動体4の正回転により、MR素子が21a、22、21bの順に磁性移動体4の凸部41に対向することとなるので、信号eは、信号fより、所定量進んだ位相となる。MR素子が磁性移動体4の凸部41と凹部42に対向する1周期に於いて、信号eとfのハイレベルHとローレベルLの組合わせが4通り発生し、その組合わせの違いによりにより、夫々異なる4通りのレベル「1」「2」「3」「4」の信号hが得られる。従って、信号hのレベルの違いによって、磁性移動体4の凸部41と凹部42を1/4周期で検出することができる。
信号hのレベルの変化について更に詳しく述べると
(1)信号eがローレベルL、信号fがローレベルLのとき
第1、第5及び第6のTr51、58、59が非導通となり、第2、第3及び第4のTr52、53、54が導通となる。これにより信号hは接地GNDのレベルとなる。図16では、このときの信号hのレベルを「1」で表示している。
(2)信号eがハイレベルH、信号fがローレベルLのとき
第1、第2、第4及び第5のTr51、52、54、58が導通し、第3、第6のTr53、59が非導通となる。これにより
信号h=VCC×{(R2×R3)/(R2+R3)}/[R1+{(R2×R3)/(R2+R3)}]
となる。図16では、このときの信号hのレベルを「2」で表示している。
(3) 信号eがハイレベルH、信号fがハイレベルHのとき
第1のTr51、第5のTr58が導通となるが、他のトランジスタは非導通となる。これにより
信号h=VCC×{R2/(R1+R2)}
となる。図16では、このときの信号hのレベルを「3」で表示している。
(4) 信号eがローレベルL、信号fがハイレベルHのとき
第6のTr59、第3のTr53が導通となるが、他のトランジスタは非導通であり、信号hは電源電圧VCCのレベルとなる。図14では、このときの信号hのレベルを「4」で表示している。
今、例えば、VCC=3[V]、R1=2[KΩ]、R2=4[KΩ]、R3=4/3[KΩ]、各TrのVsat=0とすると
レベル「1」の信号h=0[V]
レベル「2」の信号h=1[V]
レベル「3」の信号h=2[V]
レベル「4」の信号h=3[V]
となる。
図のようにセンサユニット50の出力信号hは、磁性移動体の凸部41の立下りエッジで変化が最大となる。
第3の比較回路44の比較レベルCLは、信号hのレベル「2」と「3」との間に設定されているので、信号hがレベル「3」と「4」のとき、第3の比較回路44の出力信号iはローレベルとなり、信号hがレベル「1」と「2」のとき、信号iはハイレベルとなる。一方、逆転検出回路60は、入力された信号hのレベルが「1」「2」「3」「4」の順序で変化したとき、その出力信号jはローレベルを維持するよう論理回路62により処理される。従って、信号jがローレベルであることをもって磁性移動体4、従って被検出体の正回転を検出することができる。
磁性移動体4が逆回転した場合の、各信号e、f、h、i、jの波形については図示していないが、実施の形態1で述べたように磁性移動体4の逆回転時には、信号eの位相が信号fに対して所定量遅れて発生する。従って、図14の各矢印を全て逆向きとして表示することができる。即ち、磁性移動体4の逆回転の場合、信号hのレベルは、「4」「3」「2」「1」の順序で変化することとなる。
第3の比較回路44の比較レベルCLは、信号hのレベル「2」と「3」との間に設定されているので、正回転時の場合と同様に、信号hがレベル「3」と「4」のとき、第3の比較回路44の出力信号iはローレベルとなり、信号hがレベル「1」と「2」のとき、信号iはハイレベルとなる。一方、逆転検出回路60は、入力された信号hのレベルが「4」「3」「2」「1」の順序で変化したとき、その出力信号jはハイレベルを維持するよう論理回路62により処理される。従って、信号jがハイレベルとなることをもって磁性移動体4、従って被検出体の逆回転を検出することができる。
実施の形態5の場合、信号hレベルの変化の順序が実施の形態1の場合のそれと異なるが、図8で示した実施の形態1の場合の同様に、磁性移動体4が(a)、(b)、(c)、(d)のいずれの時点において逆回転に転じた場合でも、その時点から信号e、fのいずれかのレベルが最初に変化した時点で直ちに信号jがローレベルからハイレベルに転じる。従って、この発明の実施の形態5による磁気検出装置によれば、磁性移動体の逆回転を、簡単な回路構成で極めて速やかに、しかも誤検出することなく正確に検出することができる。磁性移動体4の逆回転を速やかに誤検出することなく正確に検出することができる。
この発明の基礎となる技術の磁性移動体とMR素子の配置を示す斜視図である。 この発明の基礎となる技術の磁性移動体とMR素子の配置を示す説明図である。 この発明の基礎となる技術の回路図である。 この発明の基礎となる技術のDフリップフロップ回路装置の回路図である。 この発明の基礎となる技術の動作を説明する説明図である。 この発明の実施の形態1に係る装置の回路図である。 この発明の実施の形態1に係る装置の動作を説明する説明図である。 この発明の実施の形態1に係る装置の動作を説明する説明図である。 この発明の実施の形態2に係る装置の回路図である。 この発明の実施の形態2に係る装置の動作を説明する説明図である。 この発明の実施の形態3にかかる装置の回路図である。 この発明の実施の形態3に係る装置の動作を説明する説明図である。 この発明の実施の形態4にかかる装置の回路図である。 この発明の実施の形態4に係る装置の動作を説明する説明図である。 この発明の実施の形態5に係る装置の回路図である。 この発明の実施の形態5に係る装置の動作を説明する説明図である。
符号の説明
1 磁石
2 ICチップ
21a、21b、22 MR素子
4 磁性移動体
41 凸部
42 間隙
23 第1のブリッジ回路
30 第2のブリッジ回路
29 第1の比較回路
31 第2の比較回路
44 第3の比較回路
45 第4の比較回路
22、24、25、26、27、28、38、39、401、402、403、404、46、55、56、57、64、65 抵抗
380 Dフリップフロップ回路装置
381 第1の立上りエッジDフロップフロップ回路
382 第1の立下りエッジDフロップフロップ回路
383 第2の立上りエッジDフロップフロップ回路
384 第2の立下りエッジDフリップフロップ回路
343、344、345 NOT回路
385 3入力NAND回路
386、387 3入力BAND回路
388 4入力NAND回路
389 3入力BNAND回路
340、341 4入力AND回路
342 4入力OR回路
51 第1のトランジスタ
52 第2のトランジスタ
53 第3のトランジスタ
54 第4のトランジスタ
58 第5のトランジスタ
59 第6のトランジスタ
VOUT 出力端子
VB 電源端子
GND 接地端子
420 コンピュータユニット
50 センサユニット
60 逆回転検出回路
61 アナログ・デジタル変換器
62 論理回路
63 デジタル・アナログ変換器

Claims (7)

  1. 被検出体の移動に対応して移動する磁性移動体と、
    前記磁性移動体に間隙を介して対向し前記磁性移動体の移動に基づく前記間隙の磁界変化を検出する検出手段と、
    前記検出手段により検出された前記磁界変化を前記磁性移動体の第1の移動方向とこの第1の移動方向に対する逆方向である第2の移動方向とで相互の位相関係が変化する複数個の電気信号に変換する変換回路と、
    前記変換回路により変換された前記複数個の電気信号に基づいて少なくとも4つの各々異なる複数のレベルを有し、前記磁性移動体が前記第1の移動方向に移動しているときには前記複数のレベルが所定の順序で変化する周期を繰り返し、且つ前記磁性移動体が前記第2の移動方向に移動しているときには前記複数のレベルが前記所定の順序とは異なる順序で変化する周期を繰り返す信号を形成する信号形成回路と、
    前記信号形成回路により形成された前記信号が入力され、前記磁性移動体が前記第1の移動方向と前記第2の移動方向とのうちの一方の移動方向に移動しているとき、前記周期のうちの任意の周期に於いて前記複数のレベルのうちの任意の一つのレベルから変化した他のレベルが、前記任意の周期に対する前回の周期に於いて前記任意のレベルから変化した他のレベルと異なるレベルであるときに出力状態が変化する逆転検出回路とを備え、
    前記逆転検出回路の出力状態の変化により、前記磁性移動体の移動方向が前記一方の移動方向から他方の移動方向に変化したことを検出するようにしたことを特徴とする磁気検出装置。
  2. 前記磁性移動体は、連続する複数の凸部と凹部とを備え、前記検出手段は、前記磁性移動体の移動方向に並置され前記磁性移動体の前記凸部と凹部との対向による磁界の変化に基づいて抵抗値が変化する複数個の磁気検出素子を備え、前記変換回路は、前記複数個の磁気検出素子を異なる辺に配置した第1及び第2のブリッジ回路と、該夫々のブリッジ回路の出力に基づいて第1及び第2の矩形波信号を発生する第1及び第2の比較回路とを備えたことを特徴とする請求項1に記載の磁気検出装置。
  3. 前記磁性移動体は前記検出手段に間隙を介して対向する複数の凸部と凹部を備え、前記磁性移動体と前記検出手段との所定の対向位置で前記信号のレベルが最大となるようにしたことを特徴とする請求項1に記載の磁気検出装置。
  4. 前記所定の対向位置は、前記磁性移動体の移動方向に於ける前記凸部のほぼ中心位置であることを特徴とする請求項3に記載の磁気検出装置。
  5. 前記所定の対向位置は、前記磁性移動体の移動方向に於ける前記凹部のほぼ中心位置であることを特徴とする請求項3に記載の磁気検出装置。
  6. 前記所定の対向位置は、前記磁性移動体の移動方向に於ける前記凸部のほぼ立上りエッジであることを特徴とする請求項3に記載の磁気検出装置。
  7. 前記所定の対向位置は、前記磁性移動体の移動方向に於ける前記凸部のほぼ立下りエッジであることを特徴とする請求項3に記載の磁気検出装置。
JP2006037609A 2006-02-15 2006-02-15 磁気検出装置 Expired - Fee Related JP4317855B2 (ja)

Priority Applications (4)

Application Number Priority Date Filing Date Title
JP2006037609A JP4317855B2 (ja) 2006-02-15 2006-02-15 磁気検出装置
US11/484,766 US7705584B2 (en) 2006-02-15 2006-07-12 Magnetic sensor
KR1020060070160A KR100817668B1 (ko) 2006-02-15 2006-07-26 자기 검출 장치
DE102006046782A DE102006046782B4 (de) 2006-02-15 2006-10-02 Magnetsensor

Applications Claiming Priority (1)

Application Number Priority Date Filing Date Title
JP2006037609A JP4317855B2 (ja) 2006-02-15 2006-02-15 磁気検出装置

Publications (2)

Publication Number Publication Date
JP2007218652A JP2007218652A (ja) 2007-08-30
JP4317855B2 true JP4317855B2 (ja) 2009-08-19

Family

ID=38288949

Family Applications (1)

Application Number Title Priority Date Filing Date
JP2006037609A Expired - Fee Related JP4317855B2 (ja) 2006-02-15 2006-02-15 磁気検出装置

Country Status (4)

Country Link
US (1) US7705584B2 (ja)
JP (1) JP4317855B2 (ja)
KR (1) KR100817668B1 (ja)
DE (1) DE102006046782B4 (ja)

Cited By (1)

* Cited by examiner, † Cited by third party
Publication number Priority date Publication date Assignee Title
JP2011169713A (ja) * 2010-02-18 2011-09-01 Panasonic Corp 回転方向検出機能付き回転数センサ

Families Citing this family (11)

* Cited by examiner, † Cited by third party
Publication number Priority date Publication date Assignee Title
JP4382838B2 (ja) * 2007-07-27 2009-12-16 三菱電機株式会社 磁気検出装置
US9222310B2 (en) * 2008-04-14 2015-12-29 Latjet Systems Llc Method and apparatus for lateral well drilling with enhanced capability for clearing cuttings and other particles
JP4859903B2 (ja) * 2008-10-23 2012-01-25 三菱電機株式会社 移動方向検出装置
US7994775B2 (en) * 2009-01-08 2011-08-09 Hiwin Mikrosystem Corp. Magnetic sensor
WO2010084806A1 (ja) * 2009-01-21 2010-07-29 アルプス電気株式会社 移動体検知装置
KR20110031578A (ko) * 2009-09-21 2011-03-29 삼성전자주식회사 전자기기에서 모드 변경 감지 장치 및 방법
JP5447444B2 (ja) * 2011-07-05 2014-03-19 株式会社デンソー 移動体検出装置
WO2014103931A1 (ja) * 2012-12-26 2014-07-03 株式会社Schaft 速度測定装置および速度測定方法
DE102018210595A1 (de) * 2018-06-28 2020-01-02 Infineon Technologies Ag Sensorvorrichtungen und Verfahren zur Herstellung von Sensorvorrichtungen
US20210247213A1 (en) * 2020-02-11 2021-08-12 Allegro Microsystems, Llc Multi-channel quadrature signaling with current mode interface
DE102020216348A1 (de) 2020-12-18 2022-06-23 Continental Teves Ag & Co. Ohg Geschwindigkeitssensor mit einem Mehrpegelprotokoll

Family Cites Families (15)

* Cited by examiner, † Cited by third party
Publication number Priority date Publication date Assignee Title
JPS5610257A (en) 1979-07-05 1981-02-02 Anritsu Corp Judgement device for direction of rotation of rotary switch
US4331917A (en) * 1979-12-13 1982-05-25 Caterpillar Tractor Co. Speed and direction sensing circuit
ES2106933T3 (es) * 1992-10-21 1997-11-16 Bosch Gmbh Robert Dispositivo para la deteccion del movimiento de una parte movil.
EP0593925B1 (de) * 1992-10-21 1997-12-29 Robert Bosch Gmbh Vorrichtung zum Erfassen der Bewegung eines bewegbaren Teils
AUPN667595A0 (en) * 1995-11-20 1995-12-14 Orbital Engine Company (Australia) Proprietary Limited Electronic position and speed sensing device
DE19634715A1 (de) * 1996-08-28 1998-03-05 Teves Gmbh Alfred Anordnung zur Erfassung des Drehverhaltens eines Rades
JPH10227809A (ja) 1997-02-18 1998-08-25 Toyota Motor Corp 回転状態検出装置
JP3254676B2 (ja) 1997-08-06 2002-02-12 トヨタ自動車株式会社 回転方向検出装置
JP3941082B2 (ja) * 1998-01-28 2007-07-04 株式会社安川電機 磁気式検出器
US6404188B1 (en) * 1998-03-19 2002-06-11 Honeywell Inc Single geartooth sensor yielding multiple output pulse trains
DE19835377A1 (de) 1998-08-05 2000-02-10 Ako Werke Gmbh & Co Vorrichtung zur Erfassung der Drehstellung, Drehzahl und/oder Drehrichtung des Rotors eines Elektromotors
JP3588044B2 (ja) 2000-09-14 2004-11-10 三菱電機株式会社 磁気検出装置
US6498474B1 (en) * 2001-06-27 2002-12-24 Kelsey-Hayes Company Rotational velocity and direction sensing system
KR20040102113A (ko) * 2002-04-18 2004-12-03 콘티넨탈 테베스 아게 운트 코. 오하게 국부적인 변위 및 회전을 검출하는 방법 및 장치
JP2007212292A (ja) 2006-02-09 2007-08-23 Mitsubishi Electric Corp 磁気検出装置

Cited By (1)

* Cited by examiner, † Cited by third party
Publication number Priority date Publication date Assignee Title
JP2011169713A (ja) * 2010-02-18 2011-09-01 Panasonic Corp 回転方向検出機能付き回転数センサ

Also Published As

Publication number Publication date
KR20070082483A (ko) 2007-08-21
US20070200561A1 (en) 2007-08-30
US7705584B2 (en) 2010-04-27
JP2007218652A (ja) 2007-08-30
DE102006046782B4 (de) 2013-12-24
KR100817668B1 (ko) 2008-03-27
DE102006046782A1 (de) 2007-08-23

Similar Documents

Publication Publication Date Title
JP4859903B2 (ja) 移動方向検出装置
JP4317855B2 (ja) 磁気検出装置
JP4646044B2 (ja) 磁気検出装置
JP5187781B2 (ja) 面内の磁界の方向を測定する磁界センサ
EP2726891B1 (en) Circuits and methods for automatically adjusting a magnetic field sensor in accordance with a speed of rotation sensed by the magnetic field sensor
JP4880066B2 (ja) 原点位置信号検出器
KR20140039270A (ko) 원형 수직 홀 검출 엘리먼트를 셀프-테스트하거나 및/또는 원형 수직 홀 검출 엘리먼트를 사용한 자기장 센서를 셀프-테스트하기 위한 구성들
JP5116751B2 (ja) 磁気検出装置
KR100817678B1 (ko) 자기 검출 장치
JP4382838B2 (ja) 磁気検出装置
JP6127271B2 (ja) 巨大磁気抵抗素子
JP2003106866A (ja) 磁気センサ
JP3846371B2 (ja) 回転検出装置
US8497674B2 (en) Magnetic detection apparatus
US7196511B2 (en) Magnetic position detecting apparatus having a plurality of magnetic resistance circuits arranged in a comblike shape
JP2006038827A (ja) 回転検出装置
JP4213163B2 (ja) 磁気検出装置
JP2010281767A (ja) センサ素子および磁気式センサ
JP2015059859A (ja) 回転検出装置
KR20070054075A (ko) 자기 검출 장치
JP4489105B2 (ja) 磁気検出装置
JP5347581B2 (ja) 回転数センサ
JP2016121909A (ja) 検出装置

Legal Events

Date Code Title Description
A131 Notification of reasons for refusal

Free format text: JAPANESE INTERMEDIATE CODE: A131

Effective date: 20080624

A521 Request for written amendment filed

Free format text: JAPANESE INTERMEDIATE CODE: A523

Effective date: 20080804

A131 Notification of reasons for refusal

Free format text: JAPANESE INTERMEDIATE CODE: A131

Effective date: 20081028

A521 Request for written amendment filed

Free format text: JAPANESE INTERMEDIATE CODE: A523

Effective date: 20081127

A131 Notification of reasons for refusal

Free format text: JAPANESE INTERMEDIATE CODE: A131

Effective date: 20090317

A521 Request for written amendment filed

Free format text: JAPANESE INTERMEDIATE CODE: A523

Effective date: 20090415

TRDD Decision of grant or rejection written
A01 Written decision to grant a patent or to grant a registration (utility model)

Free format text: JAPANESE INTERMEDIATE CODE: A01

Effective date: 20090519

A01 Written decision to grant a patent or to grant a registration (utility model)

Free format text: JAPANESE INTERMEDIATE CODE: A01

A61 First payment of annual fees (during grant procedure)

Free format text: JAPANESE INTERMEDIATE CODE: A61

Effective date: 20090525

R151 Written notification of patent or utility model registration

Ref document number: 4317855

Country of ref document: JP

Free format text: JAPANESE INTERMEDIATE CODE: R151

FPAY Renewal fee payment (event date is renewal date of database)

Free format text: PAYMENT UNTIL: 20120529

Year of fee payment: 3

FPAY Renewal fee payment (event date is renewal date of database)

Free format text: PAYMENT UNTIL: 20120529

Year of fee payment: 3

FPAY Renewal fee payment (event date is renewal date of database)

Free format text: PAYMENT UNTIL: 20130529

Year of fee payment: 4

FPAY Renewal fee payment (event date is renewal date of database)

Free format text: PAYMENT UNTIL: 20140529

Year of fee payment: 5

R250 Receipt of annual fees

Free format text: JAPANESE INTERMEDIATE CODE: R250

R250 Receipt of annual fees

Free format text: JAPANESE INTERMEDIATE CODE: R250

R250 Receipt of annual fees

Free format text: JAPANESE INTERMEDIATE CODE: R250

R250 Receipt of annual fees

Free format text: JAPANESE INTERMEDIATE CODE: R250

R250 Receipt of annual fees

Free format text: JAPANESE INTERMEDIATE CODE: R250

R250 Receipt of annual fees

Free format text: JAPANESE INTERMEDIATE CODE: R250

R250 Receipt of annual fees

Free format text: JAPANESE INTERMEDIATE CODE: R250

LAPS Cancellation because of no payment of annual fees