JP4250488B2 - 熱圧着方法 - Google Patents

熱圧着方法 Download PDF

Info

Publication number
JP4250488B2
JP4250488B2 JP2003322563A JP2003322563A JP4250488B2 JP 4250488 B2 JP4250488 B2 JP 4250488B2 JP 2003322563 A JP2003322563 A JP 2003322563A JP 2003322563 A JP2003322563 A JP 2003322563A JP 4250488 B2 JP4250488 B2 JP 4250488B2
Authority
JP
Japan
Prior art keywords
heating plate
thermocompression bonding
resin sheet
upper chamber
processed
Prior art date
Legal status (The legal status is an assumption and is not a legal conclusion. Google has not performed a legal analysis and makes no representation as to the accuracy of the status listed.)
Expired - Fee Related
Application number
JP2003322563A
Other languages
English (en)
Other versions
JP2005088267A (ja
Inventor
祥史 竹山
Current Assignee (The listed assignees may be inaccurate. Google has not performed a legal analysis and makes no representation or warranty as to the accuracy of the list.)
Canon Inc
Original Assignee
Canon Inc
Priority date (The priority date is an assumption and is not a legal conclusion. Google has not performed a legal analysis and makes no representation as to the accuracy of the date listed.)
Filing date
Publication date
Application filed by Canon Inc filed Critical Canon Inc
Priority to JP2003322563A priority Critical patent/JP4250488B2/ja
Priority to US10/938,719 priority patent/US7537670B2/en
Publication of JP2005088267A publication Critical patent/JP2005088267A/ja
Application granted granted Critical
Publication of JP4250488B2 publication Critical patent/JP4250488B2/ja
Anticipated expiration legal-status Critical
Expired - Fee Related legal-status Critical Current

Links

Images

Classifications

    • BPERFORMING OPERATIONS; TRANSPORTING
    • B32LAYERED PRODUCTS
    • B32BLAYERED PRODUCTS, i.e. PRODUCTS BUILT-UP OF STRATA OF FLAT OR NON-FLAT, e.g. CELLULAR OR HONEYCOMB, FORM
    • B32B37/00Methods or apparatus for laminating, e.g. by curing or by ultrasonic bonding
    • B32B37/10Methods or apparatus for laminating, e.g. by curing or by ultrasonic bonding characterised by the pressing technique, e.g. using action of vacuum or fluid pressure
    • B32B37/1009Methods or apparatus for laminating, e.g. by curing or by ultrasonic bonding characterised by the pressing technique, e.g. using action of vacuum or fluid pressure using vacuum and fluid pressure
    • BPERFORMING OPERATIONS; TRANSPORTING
    • B32LAYERED PRODUCTS
    • B32BLAYERED PRODUCTS, i.e. PRODUCTS BUILT-UP OF STRATA OF FLAT OR NON-FLAT, e.g. CELLULAR OR HONEYCOMB, FORM
    • B32B37/00Methods or apparatus for laminating, e.g. by curing or by ultrasonic bonding
    • B32B37/10Methods or apparatus for laminating, e.g. by curing or by ultrasonic bonding characterised by the pressing technique, e.g. using action of vacuum or fluid pressure
    • HELECTRICITY
    • H10SEMICONDUCTOR DEVICES; ELECTRIC SOLID-STATE DEVICES NOT OTHERWISE PROVIDED FOR
    • H10FINORGANIC SEMICONDUCTOR DEVICES SENSITIVE TO INFRARED RADIATION, LIGHT, ELECTROMAGNETIC RADIATION OF SHORTER WAVELENGTH OR CORPUSCULAR RADIATION
    • H10F71/00Manufacture or treatment of devices covered by this subclass
    • BPERFORMING OPERATIONS; TRANSPORTING
    • B32LAYERED PRODUCTS
    • B32BLAYERED PRODUCTS, i.e. PRODUCTS BUILT-UP OF STRATA OF FLAT OR NON-FLAT, e.g. CELLULAR OR HONEYCOMB, FORM
    • B32B2457/00Electrical equipment
    • B32B2457/12Photovoltaic modules
    • YGENERAL TAGGING OF NEW TECHNOLOGICAL DEVELOPMENTS; GENERAL TAGGING OF CROSS-SECTIONAL TECHNOLOGIES SPANNING OVER SEVERAL SECTIONS OF THE IPC; TECHNICAL SUBJECTS COVERED BY FORMER USPC CROSS-REFERENCE ART COLLECTIONS [XRACs] AND DIGESTS
    • Y10TECHNICAL SUBJECTS COVERED BY FORMER USPC
    • Y10TTECHNICAL SUBJECTS COVERED BY FORMER US CLASSIFICATION
    • Y10T156/00Adhesive bonding and miscellaneous chemical manufacture
    • Y10T156/10Methods of surface bonding and/or assembly therefor
    • Y10T156/1002Methods of surface bonding and/or assembly therefor with permanent bending or reshaping or surface deformation of self sustaining lamina
    • Y10T156/1028Methods of surface bonding and/or assembly therefor with permanent bending or reshaping or surface deformation of self sustaining lamina by bending, drawing or stretch forming sheet to assume shape of configured lamina while in contact therewith

Landscapes

  • Physics & Mathematics (AREA)
  • Fluid Mechanics (AREA)
  • Photovoltaic Devices (AREA)
  • Lining Or Joining Of Plastics Or The Like (AREA)

Description

本発明は、真空プレス、真空ホットプレス、2重真空装置等の熱圧着装置に関し、特に、樹脂シートが当接する被処理材の表面をクリーンな状態で熱圧着する方法及び装置に関するものである。
音響・映像機器類のキャビネット、家具、容器等の立体形状を有した成形基材の外表面に、例えば装飾等の表面仕上げを行なうなどの、その外表面に沿わせて転写シートや貼着シート等の化粧シートを接着して積層成形する場合には、真空プレス、真空ホットプレス、2重真空装置などの熱圧着方法が好適に用いられる。
例えば、化粧シートを成形基材の外表面に接着して積層するに方法としては、例えば、特許文献1等に記載されているように、上室と下室とを化粧シートにより仕切り、上室を加圧するとともに成形基材が配された下室を真空吸引により減圧してそれら両者に圧力差を生じさせ、かつ、それと略同時に化粧シートを加熱して軟化させることにより、化粧シートを成形基材外表面に沿わせて接着するようにしたものが知られている。この方法は、一般に化粧シートが貼着シートである場合を想定したものであるが、化粧シートが転写シートである場合にも適用でき、その場合は、シートを接着後に転写部分を残して離型性基材シートのみを剥離するようにされる。
上述の熱圧着方法では、化粧シートを圧力差のみで成形基材に押し付けるようにしているため、化粧シートの成形基材側への押圧力が不足したり部分的に不均一となることがあり、外表面に設けられた凹凸の段差あるいは外表面の端部あるいは局部の曲率が大きい成形基材ではその凹凸部分や曲率部分に化粧シートを完全には密着させることができず、接着不良を引き起こし易い。
そこで、上述の如き不具合を解消すべく、例えば、特許文献2等に記載されているように、シート側チャンバ内にヒータを配設してシート側チャンバ内を加熱することによって輻射熱でシリコンゴム等からなる弾性覆体を所定温度に加熱し、そのシート側チャンバをワークとシートを載置した吸引載置台に向けて下降させ、弾性覆体とシートがワークの曲面形状に沿って真空吸引されるとともにシート側チャンバ内部を加圧して互いに接触させて加圧する熱圧着方法が提案されている。
このような熱圧着方法を用いて、例えば模様等を印刷された合成樹脂製化粧シートを木材や金属等の外表面に接着する方法、アンテナや移動体通信等に用いられる曲面多層配線板の製造方法、導電性金属シートと絶縁材料シートとが積層された複合構造を有するICリードフレームの製造方法等が提案されている。
また、例えば特許文献3、特許文献4等に開示されるように、熱圧着方法を用いて太陽電池などの光起電力素子の電極形成行なう方法が提案されている。
光起電力素子の代表的な構造としては、pn接合を有する半導体層と、該半導体層の受光面に透明導電性酸化物によって受光面電極が形成され、この上に電流を集めるための比較的細い金属からなる集電電極、更に前記集電電極によって集められた電流を集めるためのバスバーと呼ばれる比較的太い金属からなる電極が形成される。
光起電力素子の電極構造としては、例えば特許文献5に開示されるように、金属ワイヤに導電性粒子を含むポリマーで被覆した電極が提案されている。特許文献5に記載の発明は、導電性の良い銅等の金属ワイヤを用いるため長い集電電極を形成した場合でも電気抵抗ロスが少なく、またアスペクト比が1:1とできるためシャドーロスも小さくできる。また、ワイヤの固定には導電性接着剤を用いて簡便な熱圧着法で接着できることが特徴である。
光起電力素子の電極形成方法の一具体例を図5、図6を用いて説明する。図5は被処理材である光起電力素子の構造を示す模式図であって、図5(a)は光起電力素子を受光面側からみた模式図であり、図5(b)は非受光面よりみた模式図である。
図5中、504は基板、下部電極層、光起電力機能を担う非晶質シリコン、上部電極層の3者を含む200mm×200mm光起電力素子であり、該光起電力素子の非受光面の一部であって10mm×30mmの領域に、該光起電力素子のシリアル番号514がコンティニュアス型インクジェットプリンタにより印字されている。
光起電力素子504は光起電力素子全体を支える厚さ150μmのステンレス板と、基板の直上には下部電極層がスパッタ法によりAl、ZnOがそれぞれ数千Åの厚みにて順次堆積して形成する。また非晶質シリコンはプラズマCVD法により基板側よりn型、i型、p型、n型、i型、p型の各層を順次堆積して形成する。厚みはそれぞれ150、4000、100、100、800、100Å程度である。また上部電極層は透明電極膜であって、O2雰囲気中Inを抵抗加熱法にて蒸着し、厚み約700Åの酸化インジウム薄膜を形成する。
更に、光起電力素子の外周切断時に発生する基板と透明電極膜との短絡の悪影響を有効受光範囲に及ぼさないように、透明電極膜上にFeCl3、AlCl3等を含むエッチングペーストをスクリーン印刷法により塗布し加熱後洗浄することによって、該光起電力素子の該透明電極膜の一部を線状に除去しエッチングライン511を形成する。
その後、該光起電力素子504の非受光面側端部2辺に、裏面側導電性箔体512である幅5mm、長さ200mm、厚み100μmの銅箔ストリップを例えば特許文献6に示す方法を用いて形成する。
次に、該光起電力素子504の受光面側側端部の裏面側導電性箔体と対向する2辺に、幅5mm、長さ200mm、厚み50μmのポリイミドを基材とする絶縁両面接着テープ(図示せず)を貼る。その後、予めカーボンペーストからなる導電性接着剤をφ100μmの銅ワイヤーに塗布した導電性接着剤塗布金属線体505を20mmピッチで光起電力素子504及び絶縁両面接着テープ上に連続的に形成し集電電極とする。更に、前記絶縁両面接着テープの上部に、集電電極の更なる集電電極である導電性箔体513を形成する。具体的には、例えば幅5mm、長さ200mm、厚み100μmの銅箔ストリップを配置し、全体を200℃、0.098MPa、120秒の条件で加熱加圧固定する。
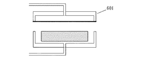
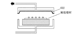
図6は、上述の加熱加圧固定を実現するための熱圧着装置を示す断面模式図であって、図中、601は上部チャンバ、602は樹脂シート、603は内部にヒータを具備し上面に被処理材を載置する加熱板、608は下部チャンバである。
まず、熱圧着装置は上部チャンバ601が下降した状態で待機しており、加熱板603により、上下チャンバ601、608、樹脂シート602が加熱されている(図6(a))。
次に、被処理材である光起電力素子を加熱板上に搬入するため、上部チャンバ601が上昇し、被処理材である光起電力素子が集電電極形成面を上にして加熱板603上に搬入、載置される(図6(b)、(c))。
次に、上部チャンバ601内を真空に排気し、上部チャンバ601が下降した後、下部チャンバ608内を真空に排気することで、樹脂シート602を均一に被処理材表面に当接する(図6(d)、(e)、(f))。
その後、上部チャンバ601を大気に開放し、大気圧によって被処理材に樹脂シート602を0.098MPaの圧力で加圧するとともに、加熱板603により温度を200℃にコントロールし120秒間の熱圧着プレスを行う(図6(g))。
熱圧着処理終了後、下部チャンバ608を大気に開放し、上部チャンバ601を上昇後、被処理材を搬出する(図6(h)、(i))。
被処理材の搬出後、上下チャンバ601、608の温度低下を防ぐ為、上部チャンバ601を下降し、図6(a)の如く加熱を行なう。熱圧着装置の前後工程によっては、被処理材の熱圧着装置への搬入・搬出のタイミングが変化し、被処理材の搬入・搬出のために上部チャンバが上昇し熱処理装置が開口する時間が変わる。この開口中に該上下チャンバ、該樹脂シート等の温度が低下するため、連続的に安定した熱圧着を行なう為に、熱圧着装置内に被処理材が搬入されない待機時に、該上部チャンバを下降し、周辺温度を一定に保つことが望ましい。
特公昭56−45768号公報 特開昭57−105310号公報 特開平7−335921号公報 特開平8−306946号公報 米国特許4,260,429号公報 特開平8−139349号公報
上述した熱圧着方法は、集電電極を熱や圧力により光起電力素子に固定する方法であるが、熱圧着装置の処理回数が増えると、例えば光起電力素子裏面のシリアル番号印刷塗料等が上記加熱板表面に付着し、熱圧着装置の待機時に、該加熱板から上記樹脂シートに該塗料が再付着し、更に、次の熱圧着処理時に、該樹脂シートに付着した該塗料が光起電力素子の受光面に再付着し、受光面が汚れ、素子の特性が著しく低下するという問題があった。
本発明の目的は、上記のような問題を解消し、特に、被処理材の表面をクリーンな状態で熱圧着する方法及び装置を提供することである。
本発明は上記課題を解決するための手段として、
少なくとも加熱板と上部チャンバと樹脂シートを具備し、該上部チャンバの下部に該樹脂シートを設けた熱圧着装置を用いた熱圧着方法において、
被処理材が投入されない間、該加熱板表面の少なくとも一部と該樹脂シートを離間した状態で、該上部チャンバを該加熱板に押し付け待機する工程と、
該樹脂シートと該加熱板との間に被処理材を投入する工程と、
該樹脂シートと該加熱板との間を真空状態にすることで被処理材を熱圧着処理する工程と、を有することを特徴とする。
この方法によれば、熱圧着装置内に被処理材がない場合であっても、加熱板表面の少なくとも一部分と樹脂シートとの接触がおこらない。即ち、加熱板表面に堆積・付着した汚れ等が、被処理材の表面に直接当接する樹脂シートに付着し、その後、熱圧着装置内に被処理材が搬入され熱処理を行なう際に、被処理材表面に再付着し、製品不良を引き起こすことを防ぐことができる。特に被処理材に有機物等が含まれる場合には、処理回数が増えるに従って加熱板表面に汚れが堆積し易いが、本熱圧着方法によれば、加熱板表面に堆積した汚れが樹脂シートを経由して被処理材の表面に再付着するのを効果的に防止することができる。
また、熱圧着装置内に被処理材がない場合に、上部チャンバを加熱板に押し付け、上部チャンバ及び樹脂シートを予め加熱できるため、次に被処理材が熱圧着装置に投入した際に、良好な熱圧着処理が可能である。即ち、例えば熱硬化樹脂等を用いて接着する等の熱圧着処理では、加熱温度、加熱時間、加熱勾配等を均一にすることが特に重要である。本熱圧着方法では、被処理材の搬入・搬出時を除き、上部チャンバは加熱板により常に加熱されており、温度変化を効果的に抑制し、均一な温度条件で熱圧着処理することができる。
また、本発明は前述した課題を解決するための手段として、前記加熱板表面と前記樹脂シートの離間が、前記樹脂シートを前記上部チャンバ側に吸引して行なわれることことを特徴とする。
この方法によれば、例えば2重真空装置等の公知の熱圧着装置に樹脂シートの吸引を行なう制御手段を設ける、または上部チャンバに吸引機構を追加するだけで、加熱板表面と樹脂シートとの離間を行うことができる。
また、本発明は前述した課題を解決するための手段として、前記被処理材は前記加熱板に載置される面に塗料印刷領域を有し、前記加熱板表面と前記樹脂シートの離間が、少なくとも該塗料印刷領域が載置される加熱板表面においてなされることを特徴とする。
本発明の熱圧着方法は、樹脂シートが当接する面(表面)ではなく、加熱板と接触する面(裏面)に塗料が印刷されている被処理材の熱圧着処理に好適に使用できる。即ち、一般的に光起電力素子等の被処理材の裏面には、例えば警告表示、製造番号表示等を塗料等の有機材料を用いて表示するが、このような表示は加熱板と直接接触し、有機材である塗料は一般的に耐熱性が劣るため、加熱板に印刷塗料が転写されることがある。このような構造の被処理材を熱圧着処理する際に、汚れ防止対策が求められていた。上述した熱圧着方法によって、上記のような被処理材であっても、加熱板に付着した塗料が、拡散することを防ぐことができる。
また、本発明は前述した課題を解決するための手段として、前記被処理材が、光起電力素子と、該光起電力素子に熱圧着により配設される少なくとも1層の導電性接着剤で被覆された金属線体とからなり、該光起電力素子の非受光面(裏面)に前記塗料印刷領域を有することを特徴とする。
本発明の熱圧着方法を、上述の光起電力素子に応用すれば、光起電力素子製造の生産性が向上する。一般的に顔料、染料を含むような印刷塗料は耐熱性に劣るため、上述の光起電力素子では、熱圧着処理時に加熱板に光起電力素子の非受光面(裏面)に設けた塗料が付着し易い。即ち、本発明の熱圧着方法を、上述の光起電力素子に応用すれば、光起電力素子の生産性が向上する。
また、本発明は前述した課題を解決するための手段として、少なくとも加熱板と、上部チャンバと、樹脂シートとを具備する熱圧着装置において、被処理材が熱圧着装置内にない状態で、該上部チャンバを該加熱板に押し付け上部チャンバ及び樹脂シートを加熱する際に、該加熱板表面の少なくとも一部と該樹脂シートを離間する制御手段を具備することを特徴とする。
この装置によれば、熱圧着装置内に被処理材がない場合であっても、加熱板表面の少なくとも一部分と樹脂シートとの接触がおこらない。即ち、加熱板表面に堆積・付着した汚れ等が、被処理材の表面に直接当接する樹脂シートに付着し、その後、熱圧着装置内に被処理材が搬入され熱処理を行なう際に、被処理材表面に再付着し、製品不良を引き起こすことを防ぐことができる。
また、本発明は前述した課題を解決するための手段として、前記制御手段が、前記樹脂シートを前記上部チャンバ側に吸引する手段であることを特徴とする。
この装置によると、公知の熱圧着装置の上部チャンバに、吸引制御手段を設けるだけで、加熱板表面の汚れが樹脂シートへ付着することを容易に防止できる。
また、本発明は前述した課題を解決するための手段として、加熱板表面の少なくとも一部と樹脂シートを離間すれば良く、加熱板表面の少なくとも一部に凹部を設けても良い。例えば、加熱板の表面であって、上述した光起電力素子の裏面に印刷された印刷塗料が接触する領域を凹部とすることで、被処理材裏面の印刷領域と加熱板表面が接触することがなく、該印字塗料が該加熱板に付着しない。また、このような凹部にはゴミ、埃等が堆積しやすいが、被処理材が投入されない間、該凹部では加熱板表面と樹脂シートとが離間しているため、樹脂シートを介して被処理材にゴミ、埃等が付着することも防ぐことができる。
本発明によれば、加熱板表面に堆積・付着した汚れ等が、被処理材の表面に直接当接する樹脂シートに付着し、その後、熱圧着装置内に被処理材が搬入され熱処理を行なう際に、被処理材表面に再付着し、製品不良を引き起こすことを防ぐことができる。
また、熱圧着装置内に被処理材がない場合に、上部チャンバを加熱板に押し付け、上部チャンバ及び樹脂シートを予め加熱できるため、次に被処理材が熱圧着装置に投入した際に、温度変化を効果的に抑制し、均一な温度条件で熱圧着処理することができる。
以下、本発明の実施例を挙げて、本発明を詳細に説明する。但し、これらの実施例は、本発明の代表的な形態を示すものであり、本発明はこれらの実施例に限定されるものではない。
図1、図2は本発明の実施例1にかかる熱圧着装置、及び熱圧着方法を説明する断面模式図である。本実施例は、例えば特許文献5に開示されるような導電性接着剤被覆金属線体を光起電力素子の受光面上に配置し、ヒータにより加熱・加圧することにより、光起電力素子の受光面上に金属線体を固定する熱圧着方法である。
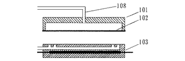
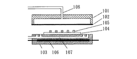
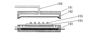
図1において、101は上部チャンバであり、下部に400mm×400mm×深さ5mmの凹部が設けられている。102は樹脂シートであり、ポリテトラフルオロエチレン(PTFE)樹脂を55重量部含浸したガラスファブリックシートと、被処理材の当接する中心部分(380mm×380mm)にポリテトラフルオロエチレン(PTFE)樹脂テープが貼付された構成である。樹脂シート102は、上部チャンバ101の下部周縁に取り付けられている。上部チャンバ101と樹脂シート102で密閉された空間の給排気を行なう為に、配管108が設けられており、上部チャンバ内を大気圧または真空に切替える弁(図示せず)が設けられている。103は加熱板であって、420mm×420mmの加熱板には、表面温度が200℃でばらつきが生じないように制御されたヒータ106、樹脂シート102と加熱板103間を真空に引く為の複数の孔107が設けられている。孔107には樹脂シートと加熱板間を大気圧または真空に切替える弁(図示せず)が設けられている。104、105は熱圧着の被処理材であって、200mm×200mm×厚さ0.5mmの光起電力素子104は受光面に直径0.2mmの導電性接着剤被覆金属線体105が予め配置された状態で、光起電力素子104の非受光面を下にして加熱板103上に載置される。導電性接着剤被覆金属線体とは、カーボン・ブラックを35重量部、バインダーとしてウレタン樹脂59重量部、硬化剤としてイソシアネート9.5重量部、溶剤としてブチルエーテルアセテートを12重量部、メチルエチルケトンを8重量部、をペイントシェーカーで分散した導電性接着剤を直径0.1mmの銅線に塗布後、乾燥後させたものである。光起電力素子104は、非受光面に製造管理の為の数字がインクジェット方式により印刷されている。印刷した塗料は、メタノール、メチルエチルケトン等の溶剤中にカーボンブラック、クロム錯塩染料、ほう素化合物等の顔料・染料を分散した塗料である。
図2(a)〜(f)は、本実施例の熱圧着方法を工程毎に説明する断面模式図である。
図2(a)は、上部チャンバ101を上昇させ、被処理材を搬入する前の状態を示している。加熱板103は表面温度が200℃となるように加熱されており、配管108により上部チャンバ101を真空にすることで樹脂フィルム102は上部チャンバ101の内側に吸引されている。
図2(b)は、加熱板103上に、受光面に導電性接着剤被覆金属線体105が予め配置された光起電力素子104からなる被処理材が搬入された状態を示している。
図2(c)は、弁を切替えて上部チャンバ101を大気圧に戻した後、上部チャンバ101を下降し、上部チャンバ101を加熱板103に押し付けた状態を示している。加熱板103に設けた孔107から樹脂フィルム102と加熱板103間を真空に保持して、被処理材に対して、樹脂シート102を0.1Mpa程の圧力で加圧する。この加熱加圧熱圧着処理を90秒間行なうことで、導電性接着剤塗布金属線体105を光起電力素子104に固定する。
図2(d)は、熱処理後、上部チャンバを上昇させた状態を示している。
図2(e)は、熱処理装置から、処理済の被処理材を搬出した状態を示している。このとき被処理材である光起電力素子の非受光面に製造管理の為に印刷した数字の塗料が、加熱板103表面に転写する(図示せず)。
図2(f)は、次の被処理材が搬入されない場合に、上部チャンバ101を真空にし、樹脂シート102を上部チャンバ101の内側に吸引した後に、上部チャンバ101を下降させ、加熱板103によって、上部チャンバ101と樹脂シート102を加熱する状態を示している。
上述した熱処理方法によれば、被処理材が熱圧着装置に搬入されない待機時に、図2(f)の如く樹脂シート102を上部チャンバ101の内側に吸引し、樹脂シート102と加熱板103表面を接触させないため、汚れが加熱板以外に付着せず、被処理材の表面へ再付着させることもない。
本実施例では、加熱板103の汚れを、被処理材から転写した製造管理用数字の塗料としたが、熱処理面が加熱板上部であるため、周辺環境の埃等が加熱板表面に堆積し、樹脂シートを介して、被処理材に転写する問題もあった。このような埃問題も、本実施例により、樹脂シートと加熱板表面とを互いに退避させたため、解決できる。
また、本実施例の熱圧着装置は、被圧着材と1つ以上の圧着部品とからなる被処理材を、加熱加圧することで、被圧着材に1つ以上の部品を固定する公知の熱圧着装置であっても良い。少なくとも、内部にヒータ等の加熱機能を有する加熱板と、被処理材を加圧するために加熱板と対向する樹脂シートと、該樹脂シートを支持し樹脂シートを上下または前後・左右等に動かす上部チャンバとから構成される。被処理材への加圧については、被処理材を載置した加熱板と樹脂シート間を真空に吸着することで、樹脂シートの被処理材が当接する面とは反対の面が、大気により圧力(約0.098MPa)を受けることにより加圧される。具体的には、例えば特開平5−31743号公報に開示される2重真空装置、特許文献3、特許文献4に開示される光起電力素子の電極材の熱圧着装置が挙げられる。
また、本実施例の樹脂シートは、樹脂シートと加熱板間を真空に保持するためと、凹凸のある被処理材に対して圧力を均一にかけるためのもので耐熱性、耐久性のある公知の樹脂シートであっても良い。具体的な材料としては、シリコーンゴム、フッ素ゴム、ネオプレンゴムなどの耐熱性ゴム材料や、ガラス繊維、ケプラー繊維等の耐熱性繊維に、シリコーン樹脂、フッ素樹脂等の耐熱性樹脂を含浸した複合材料が好適に用いられる。また、樹脂シートの被処理材が当接する部分には耐熱性、低磨耗係数、非粘着性などの特性を有する離型性フィルムを設けても良い。具体的には、ポリテトラフルオロエチレン(PTFE)樹脂、テトラフルオロエチレン−パーフルオロアルキルビニルエーテル共重合体(PFA)樹脂、テトラフルオロエチレン−ヘキサフルオロプロピレン共重合体(FEP)樹脂、テトラフルオロエチレン−エチレン共重合体(ETFE)樹脂などのフッ素樹脂フィルムが好適に用いられる。
樹脂シートの厚みと弾性は所望に応じて設計されるものであるが、厚みについては0.3mmから5mm程度が好適である。0.3mmより薄すぎると圧縮ひずみが小さすぎ均一に被処理材の凹凸部分に圧力をかけることができない。逆に5mmより厚すぎると圧縮ひずみが大きすぎて被覆ワイヤーに十分な圧力がかからず接着が困難となる。樹脂シートが耐熱性ゴム材料である場合にはゴム材料のゴム硬度を、複合材料である場合は樹脂の含有量を変化させることで、被処理材の凹凸部分にかかる圧力分布を制御可能であり、熱処理後の形状をコントロール可能である。更に離型性フィルムの厚みについては、樹脂シートの弾性を妨げない程度であることが必要であり0.2mm以下程度が望ましい。
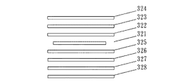
図3は本発明の実施例2にかかる被処理材を説明する断面模式図であり、図4は実施例2にかかる熱圧着方法を説明する断面模式図である。本実施例は、例えば特開平9−191116号公報に開示されるような光起電力素子モジュールを作成するために、1重真空排気ラミネート装置を用いて被覆する方法について述べる。
図3において、321は光起電力素子、受光面被覆材として、322はガラス繊維不織布(目付量20g/m2、厚さ100μm、結着剤アクリル樹脂4.0wt.%含有)、323はEVAシート(厚さ460μm)、324は無延伸のETFEフィルム(厚さ50μm)、裏面被覆材として、絶縁フィルム326(厚さ75μm)、接着剤として、表面被覆材に使用したものと同じEVAシート325、327、補強板として、黒色に塗装したガルバリウム鋼板328(亜鉛メッキ鋼板、厚さ0.27mm)を、ETFEフィルム324/EVAシート323/ガラス繊維不織布322/光起電力素子321/EVAシート325/絶縁フィルム326/EVAシート327/補強板328をETFEフィルム324が上になるように順に重ね、1重真空排気ラミネート装置を用いて加圧しながら150℃で30分加熱することにより光起電力素子モジュールを得る。なお、ここで用いたEVAシートは、EVA樹脂(酢酸ビニル含有率33%)100重量部に対して架橋剤1.5重量部、紫外線吸収剤0.3重量部、光安定化剤0.1重量部、酸化防止剤0.2重量部、シランカップリング剤1.0重量部を配合したものである。
図4は、実施例2にかかる熱圧着装置の断面模式図である。本装置において、被処理材を上述したような順に重ねた状態で150℃に加熱した加熱板403上に載置後、上部樹脂シート固定具(上部チャンバ)401を下降し、加熱板403に設けた孔(図示せず)から樹脂フィルム402と加熱板403間を真空に保持して、被処理材に対して、樹脂シート402を約0.098MPa程の圧力で加圧する。この加熱加圧熱圧着処理を30分間行なうことで、光起電力素子の両面に被覆材を熱圧着した光起電力素子モジュールを作成できる。
熱圧着処理後、上部樹脂シート固定具401を上昇させて熱圧着処理室を開口し、光起電力素子モジュールを取り出した後、熱圧着装置の温度を均一にするため、上部樹脂シート固定具401を下降させて熱圧着処理室を閉口し、樹脂シート402を加熱する。この際、加熱板に設けたピン431が上昇し、樹脂シート402と加熱板403表面を接触させないようにすることで、例えば、ガルバリウム鋼板の被覆面塗装の汚れや該鋼鈑の引っ掻き傷から発生した塗装剥れ粕または金属粕、ガルバリウム鋼鈑に設けた端子穴から流れ出して加熱板表面に付着したEVA等が、樹脂シート402を介して、光起電力素子モジュールの受光面に付着することを防ぐ。
実施例1にかかる熱圧着装置を説明する断面模式図である。 実施例1にかかる熱圧着方法を工程毎に説明する断面模式図である。 実施例1にかかる熱圧着方法を工程毎に説明する断面模式図である。 実施例1にかかる熱圧着方法を工程毎に説明する断面模式図である。 実施例1にかかる熱圧着方法を工程毎に説明する断面模式図である。 実施例1にかかる熱圧着方法を工程毎に説明する断面模式図である。 実施例1にかかる熱圧着方法を工程毎に説明する断面模式図である。 実施例2にかかる被処理材を説明する断面模式図である。 実施例2にかかる熱圧着方法を説明する断面模式図である。 熱圧着により電極を形成する光起電力素子を説明する模式図である。 熱圧着により電極を形成する光起電力素子を説明する模式図である。 従来の熱圧着方法を説明する断面模式図である。 従来の熱圧着方法を説明する断面模式図である。 従来の熱圧着方法を説明する断面模式図である。 従来の熱圧着方法を説明する断面模式図である。 従来の熱圧着方法を説明する断面模式図である。 従来の熱圧着方法を説明する断面模式図である。 従来の熱圧着方法を説明する断面模式図である。 従来の熱圧着方法を説明する断面模式図である。 従来の熱圧着方法を説明する断面模式図である。
符号の説明
101、601 上部チャンバ
102、602 樹脂シート
103、603 加熱板
104 被処理材(光起電力素子)
105 被処理材(導電性接着剤塗布金属線体)
106 ヒータ
107 孔
108 配管
321 光起電力素子
322 ガラス繊維不織布
323、325、327 EVAシート
324 ETFEフィルム
326 絶縁フィルム
328 補強板
401 上部樹脂シート固定具(上部チャンバ)
402 樹脂フィルム
403 加熱板
431 ピン
504 光起電力素子
505 導電性接着剤塗布金属線体
511 エッチングライン
512 裏面側導電性箔体
513 導電性箔体
514 シリアル番号
601 上部チャンバ
602 樹脂シート
603 加熱板
608 下部チャンバ

Claims (4)

  1. 少なくとも加熱板と上部チャンバと樹脂シートを具備し、該上部チャンバの下部に該樹脂シートを設けた熱圧着装置を用いた熱圧着方法において、
    被処理材が投入されない間、該加熱板表面の少なくとも一部と該樹脂シートを離間した状態で、該上部チャンバを該加熱板に押し付け待機する工程と、
    該樹脂シートと該加熱板との間に被処理材を投入する工程と、
    該樹脂シートと該加熱板との間を真空状態にすることで被処理材を熱圧着処理する工程と、
    を有することを特徴とする熱圧着方法。
  2. 前記加熱板表面と前記樹脂シートの離間が、前記樹脂シートを前記上部チャンバ側に吸引して行なわれることを特徴とする請求項1に記載の熱圧着方法。
  3. 前記被処理材は前記加熱板に載置される面に塗料印刷領域を有し、前記加熱板表面と前記樹脂シートの離間が、少なくとも該塗料印刷領域が載置される加熱板表面においてなされることを特徴とする請求項1又は2に記載の熱圧着方法。
  4. 前記被処理材が、光起電力素子と、該光起電力素子に熱圧着により配設される少なくとも1層の導電性接着剤で被覆された金属線体とからなり、該光起電力素子の非受光面に前記塗料印刷領域を有することを特徴とする請求項3に記載の熱圧着方法。
JP2003322563A 2003-09-16 2003-09-16 熱圧着方法 Expired - Fee Related JP4250488B2 (ja)

Priority Applications (2)

Application Number Priority Date Filing Date Title
JP2003322563A JP4250488B2 (ja) 2003-09-16 2003-09-16 熱圧着方法
US10/938,719 US7537670B2 (en) 2003-09-16 2004-09-13 Thermal contact-bonding method and thermal contact-bonding apparatus

Applications Claiming Priority (1)

Application Number Priority Date Filing Date Title
JP2003322563A JP4250488B2 (ja) 2003-09-16 2003-09-16 熱圧着方法

Publications (2)

Publication Number Publication Date
JP2005088267A JP2005088267A (ja) 2005-04-07
JP4250488B2 true JP4250488B2 (ja) 2009-04-08

Family

ID=34270001

Family Applications (1)

Application Number Title Priority Date Filing Date
JP2003322563A Expired - Fee Related JP4250488B2 (ja) 2003-09-16 2003-09-16 熱圧着方法

Country Status (2)

Country Link
US (1) US7537670B2 (ja)
JP (1) JP4250488B2 (ja)

Families Citing this family (19)

* Cited by examiner, † Cited by third party
Publication number Priority date Publication date Assignee Title
DE102004034421A1 (de) * 2004-07-15 2006-02-09 Pac Tech - Packaging Technologies Gmbh Verfahren und Vorrichtung zur wechselseitigen Kontaktierung von zwei Wafern
EP1902476B1 (en) * 2005-07-12 2014-07-09 Merck Patent GmbH Method of transferring photovoltaic cells
JP2008047765A (ja) * 2006-08-18 2008-02-28 Npc Inc ラミネート装置
JP5060769B2 (ja) 2006-11-07 2012-10-31 株式会社エヌ・ピー・シー ラミネート装置
JP2008126407A (ja) * 2006-11-16 2008-06-05 Npc Inc ラミネート装置
WO2010011764A1 (en) * 2008-07-22 2010-01-28 Hunter Douglas Industries B.V. Efficient lamination press with flexible platens
US9199439B2 (en) 2008-07-22 2015-12-01 3Form, Llc Efficient lamination press with thin flexible platens
TW201112345A (en) * 2009-09-30 2011-04-01 C Sun Mfg Ltd Protection device for release film of wafer film laminator
US8016012B2 (en) * 2010-02-03 2011-09-13 Lai Chin-Sen Flattening mechanism for dry film laminator
US8042590B2 (en) * 2010-02-03 2011-10-25 C Sum Mfg. Ltd. Protection mechanism for dry film laminator
KR101006247B1 (ko) 2010-06-09 2011-01-07 에스브이에스 주식회사 태양전지 제조용 압착 장치 및 방법
US9844858B2 (en) * 2010-11-22 2017-12-19 Denka Company Limited Flat-plate bonding jig and method of manufacturing flat-plate laminated body
JP5781412B2 (ja) * 2011-09-29 2015-09-24 日清紡メカトロニクス株式会社 ラミネート方法
JP5799934B2 (ja) * 2012-11-09 2015-10-28 豊田合成株式会社 意匠部材の製造方法および三次元転写用治具
JP2014184717A (ja) * 2013-02-25 2014-10-02 Panasonic Corp ラミネート装置
DE102014215447A1 (de) * 2014-08-05 2016-02-11 Crone Wärmetechnik GmbH Vorrichtung und Verfahren zum Erhitzen von Werkstücken
DE102017106536A1 (de) * 2016-03-29 2017-10-05 Panasonic Intellectual Property Management Co., Ltd. Verfahren zur Herstellung eines Solarzellenmoduls
JP7322626B2 (ja) * 2019-09-19 2023-08-08 株式会社レゾナック 冷却装置の製造方法
KR102802190B1 (ko) 2020-05-26 2025-04-30 삼성전자주식회사 반도체 패키지

Family Cites Families (22)

* Cited by examiner, † Cited by third party
Publication number Priority date Publication date Assignee Title
US2363431A (en) * 1943-04-16 1944-11-21 Epiphone Inc Apparatus for molding plywood
US2412274A (en) * 1943-11-22 1946-12-10 Haskelite Mfg Corp Apparatus for molding plywood panels
US4260429A (en) 1980-05-19 1981-04-07 Ses, Incorporated Electrode for photovoltaic cell
JPS5645768A (en) 1979-09-25 1981-04-25 Ashizawa Tetsukou Kk Ball mill for crushing solid grain
JPS6058014B2 (ja) 1980-12-23 1985-12-18 橋本フオ−ミング工業株式会社 真空プレス接着装置
US4447282A (en) * 1982-06-21 1984-05-08 Savorgnan Valerio Process and equipment for veneer press to glue a thin layer on a variously shaped panel surface
JPH0678978B2 (ja) 1990-05-25 1994-10-05 スズキ株式会社 凝集パターン検出装置
JP3102916B2 (ja) 1991-08-02 2000-10-23 大日本印刷株式会社 真空プレス積層成形方法および装置
JP3253654B2 (ja) 1991-11-14 2002-02-04 大日本印刷株式会社 真空プレス積層成形方法
AU695669B2 (en) 1994-05-19 1998-08-20 Canon Kabushiki Kaisha Photovoltaic element, electrode structure thereof, and process for producing the same
JP2750085B2 (ja) 1994-06-07 1998-05-13 キヤノン株式会社 光起電力素子の集電電極作製方法
JP3548246B2 (ja) 1994-11-04 2004-07-28 キヤノン株式会社 光起電力素子及びその製造方法
DE4441986C2 (de) * 1994-11-25 1996-12-05 Reiss Int Gmbh Verfahren zur Herstellung eines kaschierten Formteils
JP3115790B2 (ja) 1995-05-10 2000-12-11 シャープ株式会社 太陽電池の電極製造方法
JP3243594B2 (ja) 1995-08-22 2002-01-07 株式会社名機製作所 真空多段積層装置
JPH1056190A (ja) * 1996-08-08 1998-02-24 Canon Inc 光起電力素子及びその製造方法
JPH1177348A (ja) 1997-08-29 1999-03-23 Canon Inc 溶接方法及び光起電力素子
JP2000286437A (ja) 1998-06-12 2000-10-13 Canon Inc 太陽電池モジュールおよび製造方法
JP2000068537A (ja) 1998-06-12 2000-03-03 Canon Inc 太陽電池モジュ―ル、ストリングおよびシステムならびに管理方法
JP4354029B2 (ja) * 1998-09-04 2009-10-28 日清紡ホールディングス株式会社 ラミネート装置における搬送装置
JP3098003B2 (ja) * 1998-09-24 2000-10-10 日清紡績株式会社 太陽電池におけるラミネート装置
JP3890206B2 (ja) 2001-05-22 2007-03-07 日清紡績株式会社 ラミネート装置におけるダイヤフラムの取付方法とこの方法を用いたラミネート装置

Also Published As

Publication number Publication date
US20050056363A1 (en) 2005-03-17
US7537670B2 (en) 2009-05-26
JP2005088267A (ja) 2005-04-07

Similar Documents

Publication Publication Date Title
JP4250488B2 (ja) 熱圧着方法
AU695669B2 (en) Photovoltaic element, electrode structure thereof, and process for producing the same
US6041840A (en) Vacuum lamination device and a vacuum lamination method
JP5056207B2 (ja) インモールド成形用導電性フィルム及び透明導電層付きプラスチック成形品の製造方法
KR20080090568A (ko) 가요성 회로 기판의 제조 방법
CN103370796B (zh) 薄膜太阳能电池模块和制备薄膜太阳能电池模块的方法
JP2015167214A (ja) ラミネート装置
KR102099246B1 (ko) 결정계 태양 전지 모듈 및 그의 제조 방법
KR20110087194A (ko) 태양전지 모듈용 밀봉 필름 및 그 제조 방법
JP2001177119A (ja) 太陽電池モジュールの製造方法及び製造装置
JP2012035580A (ja) 金属体転写加飾方法及びプレス転写装置
JP4913230B2 (ja) 粘着性ゴムシート
JP2750085B2 (ja) 光起電力素子の集電電極作製方法
JP2000135739A (ja) ラミネータおよび積層成形方法
US7156943B2 (en) Method and apparatus for separating composite
JPH09199739A (ja) 太陽電池モジュール及びその製造方法
JP6492570B2 (ja) 結晶系太陽電池モジュール及びその製造方法
CN116056474B (zh) 一种钙钛矿太阳能电池组件及其封装方法
CN104812502A (zh) 制造带有密封剂的太阳能组件及其系统的方法
JP2003039554A (ja) 加熱圧着方法及び装置
JP4562179B2 (ja) 粘着性ゴムシートの製造方法、粘着性緩衝シートの製造方法および緩衝シートの表面粘着性改善方法
JP3638540B2 (ja) ホットプレス用緩衝シート
JP2009087604A (ja) 触媒層転写フィルム
TW529316B (en) Method for making composite plate
US20200203554A1 (en) Inline solar cell lamination

Legal Events

Date Code Title Description
A621 Written request for application examination

Free format text: JAPANESE INTERMEDIATE CODE: A621

Effective date: 20060831

A977 Report on retrieval

Free format text: JAPANESE INTERMEDIATE CODE: A971007

Effective date: 20080529

A131 Notification of reasons for refusal

Free format text: JAPANESE INTERMEDIATE CODE: A131

Effective date: 20080617

A521 Request for written amendment filed

Free format text: JAPANESE INTERMEDIATE CODE: A523

Effective date: 20080811

TRDD Decision of grant or rejection written
A01 Written decision to grant a patent or to grant a registration (utility model)

Free format text: JAPANESE INTERMEDIATE CODE: A01

Effective date: 20081224

A01 Written decision to grant a patent or to grant a registration (utility model)

Free format text: JAPANESE INTERMEDIATE CODE: A01

A61 First payment of annual fees (during grant procedure)

Free format text: JAPANESE INTERMEDIATE CODE: A61

Effective date: 20090119

FPAY Renewal fee payment (event date is renewal date of database)

Free format text: PAYMENT UNTIL: 20120123

Year of fee payment: 3

R150 Certificate of patent or registration of utility model

Free format text: JAPANESE INTERMEDIATE CODE: R150

FPAY Renewal fee payment (event date is renewal date of database)

Free format text: PAYMENT UNTIL: 20130123

Year of fee payment: 4

FPAY Renewal fee payment (event date is renewal date of database)

Free format text: PAYMENT UNTIL: 20140123

Year of fee payment: 5

LAPS Cancellation because of no payment of annual fees