JP4248043B2 - 生物学的りん除去装置 - Google Patents

生物学的りん除去装置 Download PDF

Info

Publication number
JP4248043B2
JP4248043B2 JP04610698A JP4610698A JP4248043B2 JP 4248043 B2 JP4248043 B2 JP 4248043B2 JP 04610698 A JP04610698 A JP 04610698A JP 4610698 A JP4610698 A JP 4610698A JP 4248043 B2 JP4248043 B2 JP 4248043B2
Authority
JP
Japan
Prior art keywords
phosphorus
amount
aeration
biological
phosphoric acid
Prior art date
Legal status (The legal status is an assumption and is not a legal conclusion. Google has not performed a legal analysis and makes no representation as to the accuracy of the status listed.)
Expired - Lifetime
Application number
JP04610698A
Other languages
English (en)
Other versions
JPH11244889A (ja
Inventor
孝一 時盛
宏 木村
誠司 古川
淳二 廣辻
弘 高須
初弘 松田
Current Assignee (The listed assignees may be inaccurate. Google has not performed a legal analysis and makes no representation or warranty as to the accuracy of the list.)
Mitsubishi Electric Corp
Tokyo Metropolitan Government
Original Assignee
Mitsubishi Electric Corp
Tokyo Metropolitan Government
Priority date (The priority date is an assumption and is not a legal conclusion. Google has not performed a legal analysis and makes no representation as to the accuracy of the date listed.)
Filing date
Publication date
Application filed by Mitsubishi Electric Corp, Tokyo Metropolitan Government filed Critical Mitsubishi Electric Corp
Priority to JP04610698A priority Critical patent/JP4248043B2/ja
Publication of JPH11244889A publication Critical patent/JPH11244889A/ja
Application granted granted Critical
Publication of JP4248043B2 publication Critical patent/JP4248043B2/ja
Anticipated expiration legal-status Critical
Expired - Lifetime legal-status Critical Current

Links

Images

Landscapes

  • Purification Treatments By Anaerobic Or Anaerobic And Aerobic Bacteria Or Animals (AREA)

Description

【0001】
【発明の属する技術分野】
本発明は、りん蓄積菌の生物学的作用により被処理水中のりんを除去する生物学的りん除去装置の制御装置に関するものである。
【0002】
【従来の技術】
下水中に含まれるりんが湖沼や閉鎖性の強い湾内に流入し続けると、やがて濃度が過剰となり、アオコや赤潮などの有害な植物性プランクトンが発生する。これを富栄養化現象といい、近年、深刻な社会問題となっている。
「水処理工学(井出哲夫編著、技法堂)」にも記載されているように、都市下水、有機性排水を処理する一般的な方法として、活性汚泥法がある。活性汚泥法とは、浄化機能を持つ微生物群(活性汚泥)を生物反応槽にたくわえ、これと下水とを十分混合・接触させつつ曝気することにより、下水中の主たる汚濁成分である有機物を酸化分解する方法である。曝気処理されたあとの混合液は、沈殿池において上澄水と活性汚泥とに分離され、上澄水は系外へ放流され、濃縮活性汚泥は再び生物反応槽へ返送される。
【0003】
活性汚泥法は、有機物を酸化分解することを主たる目的とした処理法であり、そのままでは、りんを十分に除去することはできない。そこで、ある種の微生物の機能を応用した活性汚泥変法が開発されている(高度処理施設設計マニュアル(案)、社団法人日本下水道協会、平成6年)。
【0004】
例えば、嫌気好気活性汚泥法という生物学的りん除去法がある。
ある種の微生物群を酸素や硝酸性窒素などの酸化性物質のない状態、いわゆる嫌気状態に置くと体内から液相中にりん酸性りんを吐出する。この状態を一定時間継続した後、今度は酸素のある状態、いわゆる好気状態に置くと、逆に液相中に放出した以上のりん酸性りんを体内に摂取する。この結果、液相中のりん酸性りん濃度は初期の濃度以下に減少し、最終的にはほぼ0に近い濃度にまで低下することも可能である。このようなりんの過剰摂取機能を持つ微生物群を「りん蓄積菌」と総称し、これを利用した活性汚泥変法を嫌気好気活性汚泥法という。なお、一般的には、嫌気状態でのりん吐出量が多いほど好気状態での摂取量も多くなることが知られている。
【0005】
図14は、嫌気好気活性汚泥法による生物学的りん除去装置の従来例を示す構成図である。図において、aは下水を流入させるための配管であり、生物反応槽と接続されている。生物反応槽は2つに分割されており、41はりん蓄積菌からりんを吐出させるための嫌気槽、42はりん蓄積菌にりんを摂取させるための好気槽である。43は好気槽42に空気を供給するための曝気装置である。
【0006】
44は微生物を含む混合液を沈殿処理するための沈殿池であり、配管bを介して好気槽42と接続されている。cは沈殿処理後の上澄水を放流するための配管であり、沈殿池44に接続されている。
45は余剰の微生物を系外へ排出するためのポンプであり、配管dを介して沈殿池44と接続されている。配管eはポンプ45に接続された配管である。
46は微生物を生物反応槽に返送するためのポンプであり、配管dを介して沈殿池44と、また配管fを介して嫌気槽41と接続されている。
【0007】
次に動作について説明する。
下水は配管aを介して生物反応槽に導入される。嫌気槽41ではりん蓄積菌からりんが吐出され、好気槽42ではりん蓄積菌内にりんが過剰摂取される。りんを摂取した微生物群を含む混合液は配管bを介して沈殿池44へ送られる。沈殿池44では、微生物群を沈降分離した後、配管cを介して上澄水を放流する。微生物群の一部はポンプ45、配管eを介して系外へ引き抜かれる。その他の微生物群はポンプ46、配管fを介して嫌気槽41へ返送される。
【0008】
【発明が解決しようとする課題】
従来の生物学的りん除去装置は以上のように構成されているので、運転管理者が生物反応槽内の溶存酸素濃度などを参考にして、生物反応槽への曝気量、生物反応槽の生物量、生物反応槽への返送汚泥量などを調節していた。しかし、家庭排水を主とする一般下水は、流量や性状が著しく変動するので、その変動に応じて好気槽の好気状態と嫌気槽の嫌気状態とを適切にバランスさせ、常に良好な水質を確保することは難しいという問題点があった。
【0009】
この発明は上記のような問題点を解決するためになされたもので、生物学的りん除去装置の生物反応槽への曝気量、生物反応槽の生物量、生物反応槽への返送汚泥量などを適切に制御することにより、汚濁物中のりん成分を常に良好に除去し、良好な水質を確保することのできる、生物学的りん除去装置の制御装置を得ることを目的としている。
【0010】
【課題を解決するための手段】
この発明の請求項1に係る生物学的りん除去装置は、下水が流入すると共に嫌気槽と好気槽とから構成される生物反応槽と、好気槽に取付けられた曝気装置とを有するものであって、この生物学的りん除去装置から流出するりんの量又は流入するりんの量を計測する手段と、流出りん量の目標値を設定する手段と、嫌気槽内の酸化還元電位を計測する手段と、流出又は流入りん量と目標値との差、並びに酸化還元電位に応じて、酸化還元電位が目標値よりも小さい場合に流出又は流入りん量が増加すると曝気量を増加させ、酸化還元電位が目標値以上の場合に流出又は流入りん量が増加すると曝気量を減少させるように曝気量を調節する手段とを設けたものである。
【0011】
この発明の請求項2に係る生物学的りん除去装置は、下水が流入すると共に嫌気槽と好気槽とから構成される生物反応槽と、好気槽に取付けられた曝気装置とを有するものであって、この生物学的りん除去装置から流出するりんの量又は流入するりんの量を計測する手段と、流出りん量の目標値を設定する手段と、好気槽内の酸化還元電位を計測する手段と、流出又は流入りん量と目標値との差、並びに酸化還元電位に応じて、酸化還元電位が目標値以上の場合に流出又は流入りん量が増加すると曝気量を減少させ、酸化還元電位が目標値よりも小さい場合に流出又は流入りん量が増加すると曝気量を増加させるように曝気量を調節する手段とを設けたものである。
【0012】
この発明の請求項3に係る生物学的りん除去装置は、現在の流出水量又は流入水量と過去の流出水量又は流入水量との変化に応じて調節手段の出力を補正する補正器を設けたものである。
【0013】
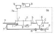
【発明の実施の形態】
実施の形態1.
以下、この発明の一実施形態を図について説明する。図1は、実施の形態1に係る生物学的りん除去装置の制御装置を示す構成図であり、図において、aは下水を流入させるための配管であり、生物反応槽と接続されている。生物反応槽は2つに分割されており、1はりん蓄積菌からりんを吐出させるための嫌気槽、2はりん蓄積菌にりんを摂取させるための好気槽である。3は好気槽2に空気を供給するための曝気装置である。
【0014】
4は微生物を含む混合液を沈殿処理するための沈殿池であり、配管bを介して好気槽2と接続されている。cは沈殿処理後の上澄水を放流するための配管であり、沈殿池4に接続されている。
5は余剰の微生物を系外へ排出するためのポンプであり、配管dを介して沈殿池4と接続されている。配管eはポンプ5に接続された配管である。
6は微生物を生物反応槽に返送するためのポンプであり、配管dを介して沈殿池4と、また配管fを介して嫌気槽1と接続されている。
【0015】
次に動作について説明する。
下水は配管aを介して生物反応槽に導入される。嫌気槽1ではりん蓄積菌からりんが吐出され、好気槽2ではりん蓄積菌内にりんが過剰摂取される。りんを摂取した微生物群を含む混合液は配管bを介して沈殿池4へ送られる。沈殿池4では、微生物群を沈降分離した後、配管cを介して上澄水を放流する。微生物群の一部はポンプ5、配管eを介して系外へ引き抜かれる。その他の微生物群はポンプ6、配管fを介して嫌気槽1へ返送される。
【0016】
本実施形態においては更に、りん蓄積菌からのりん吐出量を検知する手段として嫌気槽1のりん酸性りん濃度を計測するりん酸性りん濃度計を備え、また生物学的りん除去装置の運転設定値として曝気量を調節するように装置を構成したものである。
7は嫌気槽1のりん酸性りん濃度を計測するりん酸性りん濃度計、8はりん酸性濃度の目標値を設定するための設定器である。
【0017】
9はりん酸性りん濃度計7の計測値と設定器8に設定されたりん酸性りん濃度の目標値との偏差に応じて、曝気装置3の出力を調節する調節器であり、信号線7aを介してりん酸性りん濃度計7と、信号線8aを介して設定器8と、信号線9aを介して曝気装置3と接続されている。
なお、本実施形態においては、りん酸性りん濃度計7の位置について何ら限定するものではなく、りん酸性りん濃度計7を別の場所に設置し、嫌気槽1から採水するようにしてもよい。
【0018】
次に、動作について説明する。嫌気槽1中のりん酸性りん濃度は、りん酸性りん濃度計7で計測され、計測値は信号線7aを介して調節器9に伝えられる。また、設定器8に設定されたりん酸性りん濃度の目標値は、信号線8aを介して調節器9に伝えられる。調節器9では、りん酸性りん濃度の計測値と予め定められた目標値との偏差に応じて、曝気量を、例えば式(1.1)に従って出力する。
【0019】
Qair = Qair0 + Kair1(CPO4ana−CPO4ana*) (1.1)
ここに、
Qair :曝気量
Qair0 :定数
Kair1 :定数(>0)
CPO4ana* :嫌気槽1のりん酸性りん濃度の目標値
CPO4ana :嫌気槽1のりん酸性りん濃度の計測値
調節器9の出力は信号線9aを介して曝気装置3に伝えられる。
【0020】
これにより、りん酸性りん濃度の計測値CPO4anaが目標値CPO4ana*よりも小さければ、曝気量Qairが低減し、嫌気槽1の嫌気度が増大する。すなわち、りん蓄積菌からのりん吐出量が増大する。逆に、りん酸性りん濃度の計測値CPO4anaが目標値CPO4ana*よりも大きければ、曝気量Qairが増大し、嫌気槽1の嫌気度が減少する。すなわち、りん蓄積菌からのりん吐出量が減少する。以上の動作によって、嫌気槽1でのりん蓄積菌からのりん吐出量が一定に保たれるため、生物学的りん除去装置から流出するりんの量を確実に低減できるという効果を奏する。
【0021】
実施の形態2.
図2は実施の形態2に係る生物学的りん除去装置の制御装置を示す構成図であり、図において、図1と同一符号は同一または相当部分を示している。本実施の形態においては、りん蓄積菌からのりん吐出量を検知する手段として嫌気槽1の酸化還元電位を計測する酸化還元電位計を備え、また生物学的りん除去装置の運転設定値として曝気量を調節するように装置を構成したものである。
【0022】
10は嫌気槽1の酸化還元電位を計測する酸化還元電位計、11は酸化還元電位の目標値を設定するための設定器である。は酸化還元電位計10の計測値と設定器11に設定された酸化還元電位の目標値との偏差に応じて曝気装置3の出力を調節する調節器であり、信号線10aを介して酸化還元電位計10と、信号線11aを介して設定器11と、信号線9aを介して曝気装置3と接続されている。
なお、本実施形態においては、酸化還元電位計10の位置について何ら限定するものではなく、酸化還元電位計10を別の場所に設置し、嫌気槽1から採水するようにしてもよい。
【0023】
次に、動作について説明する。嫌気槽1中の酸化還元電位は、酸化還元電位計10で計測され、計測値は信号線10aを介して調節器9に伝えられる。また、設定器11に設定された酸化還元電位の目標値は、信号線11aを介して調節器9に伝えられる。調節器9では、酸化還元電位の計測値と予め定められた目標値との偏差に応じて、曝気量を、例えば式(2.1)に従って出力する。
【0024】
Qair = Qair0 + Kair2(Vana−Vana*) (2.1)
ここに、
Qair :曝気量
Qair0 :定数
Kair2 :定数(<0)
Vana* :嫌気槽1の酸化還元電位の目標値
Vana :嫌気槽1の酸化還元電位の計測値
調節器9の出力は信号線9aを介して曝気装置3に伝えられる。
【0025】
これにより、酸化還元電位の計測値Vanaが目標値Vana*よりも大きければ、曝気量Qairが低減し、嫌気槽1の嫌気度が増大する。すなわち、りん蓄積菌からのりん吐出量が増大する。逆に、酸化還元電位の計測値Vanaが目標値Vana*よりも小さければ、曝気量Qairが増大し、嫌気槽1の嫌気度が減少する。すなわち、りん蓄積菌からのりん吐出量が減少する。以上の動作によって、嫌気槽1でのりん蓄積菌からのりん吐出量が一定に保たれるため、生物学的りん除去装置から流出するりんの量を確実に低減できるという効果を奏する。
【0026】
実施の形態3.
図3は、実施の形態3に係る生物学的りん除去装置の制御装置を示す構成図であり、図において、図1、2と同一符号は同一または相当部分を示している。本実施の形態においては、りん蓄積菌からのりん吐出量を検知する手段として、嫌気槽1のりん蓄積菌のりん含有量を計測する計測器を備え、また生物学的りん除去装置の運転設定値として曝気量を調節するように装置を構成したものである。
【0027】
12は嫌気槽1のりん蓄積菌のりん含有量を計測する計測器、13はりん含有量の目標値を設定するための設定器である。9はりん含有量計測器12の計測値と設定器13に設定されたりん含有量の目標値との偏差に応じて曝気装置3の出力を調節する調節器であり、信号線12aを介してりん含有量計測器12と、信号線13aを介して設定器13と、信号線9aを介して曝気装置3と接続されている。
なお、本実施形態においては、りん含有量計測器12の位置について何ら限定するものではなく、りん含有量計測器12を別の場所に設置し、嫌気槽1から採水するようにしてもよい。
【0028】
次に、動作について説明する。嫌気槽1中のりん蓄積菌のりん含有量は、りん含有量計測器12で計測され、計測値は信号線12aを介して調節器9に伝えられる。また、設定器13に設定されたりん含有量の目標値は、信号線13aを介して調節器9に伝えられる。調節器9では、りん含有量の計測値と予め定められた目標値との偏差に応じて、曝気量を例えば式(3.1)に従って出力する。
【0029】
Qair = Qair0 + Kair3(Pacmana−Pacmana*) (3.1)
ここに、
Qair :曝気量
Qair0 :定数
Kair3 :定数(<0)
Pacmana* :嫌気槽1のりん蓄積菌のりん含有量の目標値
Pacmana :嫌気槽1のりん蓄積菌のりん含有量の計測値
調節器9の出力は信号線9aを介して曝気装置3に伝えられる。
【0030】
これにより、りん含有量の計測値Pacmanaが目標値Pacmana*よりも大きければ、曝気量Qairが低減し、嫌気槽1の嫌気度が増大する。すなわち、りん蓄積菌からのりん吐出量が増大する。逆にりん含有量の計測値Pacmanaが目標値Pacmana*よりも小さければ、曝気量Qairが増大し、嫌気槽1の嫌気度が減少する。すなわち、りん蓄積菌からのりん吐出量が減少する。以上の動作によって、嫌気槽1でのりん蓄積菌からのりん吐出量が一定に保たれるため、生物学的りん除去装置から流出するりんの量を確実に低減できるという効果を奏する。
【0031】
実施の形態4.
図4は、実施の形態4に係る生物学的りん除去装置の制御装置を示す構成図であり、図において、図1〜図3と同一符号は同一または相当部分を示している。本実施形態においては、りん蓄積菌からのりん吐出量を検知する手段として、嫌気槽1中のりん酸性りん濃度と流入下水中のりん酸性りん濃度との差を検知する装置を備え、また生物学的りん除去装置の運転設定値として曝気量を調節するように装置を構成したものである。
【0032】
14は流入下水中のりん酸性りん濃度を、15は嫌気槽1のりん酸性りん濃度をそれぞれ計測するりん濃度計である。16は嫌気槽1のりん酸性りん濃度と流入下水中のりん酸性りん濃度との差を演算するための演算器であり、信号線14aを介してりん酸性りん濃度計14と、信号線15aを介してりん酸性りん濃度計15と接続されている。
【0033】
17は嫌気槽1中のりん酸性りん濃度と流入下水中のりん酸性りん濃度との差の目標値を設定するための設定器、9は嫌気槽1中のりん酸性りん濃度と流入下水中のりん酸性りん濃度との差と設定器17に設定された目標値との偏差に応じて曝気装置3の出力を調節する調節器であり、信号線16aを介して演算器16と、信号線17aを介して設定器17と、信号線9aを介して曝気装置3と接続されている。
なお、本実施形態においては、りん酸性りん濃度計14、15の位置について何ら限定するものではないことは、その他の実施形態と同様である。
【0034】
次に、動作について説明する。流入下水中のりん酸性りん濃度は、りん酸性りん濃度計14で計測され、計測値は信号線14aを介して演算器16に伝えられる。また、嫌気槽1中のりん酸性りん濃度は、りん酸性りん濃度計15で計測され、計測値は信号線15aを介して演算器16に伝えられる。演算器16では、例えば式(4.1)に従って、嫌気槽1のりん酸性りん濃度と流入下水中のりん酸性りん濃度との差を演算する。
【0035】
DPO4anain = CPO4ana−CPO4in (4.1)
ここに
DPO4anain :嫌気槽1のりん酸性りん濃度と流入下水の りん酸性りん濃度との差
CPO4ana :嫌気槽1のりん酸性りん濃度
CPO4in :流入下水中のりん酸性りん濃度
演算器16の出力は、信号線16aを介して調節器9に伝えられる。
また、設定器17に設定された嫌気槽1中のりん酸性りん濃度と流入下水中のりん酸性りん濃度との差の目標値は、信号線17aを介して調節器9に伝えられる。調節器9では、嫌気槽1中のりん酸性りん濃度と流入下水中のりん酸性りん濃度との差の計測値と予め定められた目標値との偏差に応じて、曝気量を、例えば式(4.2)に従って出力する。
【0036】
Qair = Qair0 + Kair4(DPO4anain−DPO4anain*) (4.1)
ここに、
Qair :曝気量
Qair0 :定数
Kair4 :定数(>0)
DPO4anain* :嫌気槽1のりん酸性りん濃度と流入下水のりん 酸性りん濃度との差の目標値
調節器9の出力は信号線9aを介して曝気装置3に伝えられる。
これにより、実施の形態1の効果に加え、流入下水中のりん酸性りん濃度が上下したときも実質的なりんの吐出量を正確に検知できるので、生物学的りん除去装置から流出するりんの量をより確実に低減できるという効果を奏する。
【0037】
実施の形態5.
図5は実施の形態5に係る生物学的りん除去装置の制御装置を示す構成図であり、図において、図1〜図4と同一符号は同一または相当部分を示している。本実施の形態においては、りん濃度の分析に要する時間を考慮して嫌気槽1内のりん酸性りん濃度を推定するように装置を構成したものである。
【0038】
18は嫌気槽11のりん酸性りん濃度のデータを蓄積するための記憶回路であり、信号線7aを介してりん酸性りん濃度計7と接続されている。19は記憶回路18に蓄積されたりん酸性りん濃度のデータを用いて嫌気槽1のりん酸性りん濃度を推定するための演算器であり、信号線18aを介して記憶回路18と、信号線19aを介して調節器9と接続されている。
【0039】
次に、動作について説明する。嫌気槽1中のりん酸性りん濃度は、りん酸性りん濃度計7で計測され、計測値は信号線7aを介して記憶回路18に伝えられる。演算器19では、記憶回路18に蓄積されたりん酸性りん濃度のデータを用いて任意の時刻の嫌気槽1のりん酸性りん濃度CPO4anaestを推定する。これは、最小二乗法などの統計的解析手法を用いて容易に行うことができる。
【0040】
解析に必要なりん酸性りん濃度のデータは、信号線18aを介して記憶回路18より伝えられる。推定値CPO4anaestは信号線19aを介して調節器9に伝えられる。以下、実施の形態1と同様に動作する。
これにより、実施の形態1の効果に加え、りん濃度の分析に時間を要する場合もこの間の変動を考慮して嫌気槽1のりん酸性りん濃度を推定することができ、生物学的りん除去装置から流出するりんの量を確実に低減できるという効果を奏する。
【0041】
なお、本実施の形態では、りんの分析に要する時間を考慮して嫌気槽1のりん酸性りん濃度を推定できるように記憶回路を付加したが、酸化還元電位やりんの含有量の分析に要する時間を考慮してそれぞれの値を推定できるように、実施の形態2〜4に記憶回路を付加するように装置を構成することもできる。
【0042】
実施の形態6.
図6は、実施の形態6に係る生物学的りん除去装置の制御装置を示す構成図であり、図において、図1〜図5と同一符号は同一または相当部分を示している。本実施の形態においては、りん蓄積菌からのりん吐出量を検知する手段として嫌気槽1のりん酸性りん濃度を計測するりん酸性りん濃度計を備え、また生物学的りん除去装置の運転設定値として返送汚泥量を調節するように装置を構成したものである。
【0043】
9はりん酸性りん濃度計7の計測値と設定器8に設定されたりん酸性りん濃度の目標値との偏差に応じて返送汚泥ポンプ6の出力を調節する調節器であり、信号線7aを介してりん酸性りん濃度計7と、信号線8aを介して設定器8と、信号線9bを介して返送汚泥ポンプ6と接続されている。
なお、本実施形態においては、りん酸性りん濃度計7の位置について何ら限定するものでないことは他の実施形態と同様である。
【0044】
次に、動作について説明する。嫌気槽1中のりん酸性りん濃度は、りん酸性りん濃度計7で計測され、計測値は信号線7aを介して調節器9に伝えられる。また、設定器8に設定されたりん酸性りん濃度の目標値は、信号線8aを介して調節器9に伝えられる。調節器9では、りん酸性りん濃度の計測値と予め定められた目標値との偏差に応じて、返送汚泥量を、例えば式(6.1)に従って出力する。
【0045】
Qret = Qret0 + Kret6(CPO4ana−CPO4ana*) (6.1)
ここに、
Qret :返送汚泥量
Qret0 :定数
Kret6 :定数(>0)
CPO4ana* :嫌気槽1のりん酸性りん濃度の目標値
CPO4ana :嫌気槽1のりん酸性りん濃度の計測値
調節器9の出力は信号線9bを介して曝気装置3に伝えられる。
【0046】
これにより、りん酸性りん濃度の計測値CPO4anaが目標値CPO4ana*よりも小さければ、返送汚泥量Qretが低減し、嫌気槽1の嫌気度が増大する。なぜならば、好気槽2で生成した硝酸性窒素などの酸化物の返送量が低減するからである。嫌気槽1の嫌気度が増大することによってりん蓄積菌からのりん吐出量が増大する。
【0047】
逆に、りん酸性りん濃度の計測値CPO4anaが目標値CPO4ana*よりも大きければ、返送汚泥量Qretが増大し、嫌気槽1の嫌気度が減少する。すなわち、りん蓄積菌からのりん吐出量が減少する。以上の動作によって、嫌気槽1でのりん蓄積菌からのりん吐出量が一定に保たれるため、生物学的りん除去装置から流出するりんの量を確実に低減できるという効果を奏する。
【0048】
実施の形態7.
図7は、実施の形態7に係る生物学的りん除去装置の制御装置を示す構成図であり、図において、図1〜図6と同一符号は同一または相当部分を示している。本実施の形態においては、りん蓄積菌からのりん吐出量を検知する手段として嫌気槽1のりん酸性りん濃度を計測するりん酸性りん濃度計を備え、また生物学的りん除去装置の運転設定値として余剰汚泥引き抜き量を調節するように装置を構成したものである。
【0049】
9はりん酸性りん濃度計7の計測値と設定器8に設定されたりん酸性りん濃度の目標値との偏差に応じて余剰汚泥ポンプ5の出力を調節する調節器であり、信号線7aを介してりん酸性りん濃度計7と、信号線8aを介して設定器8と、信号線9cを介して余剰汚泥ポンプ5と接続されている。
なお、本実施形態においては、りん酸性りん濃度計7の位置について何ら限定するものでないことは他の実施形態と同様である。
【0050】
次に、動作について説明する。嫌気槽1中のりん酸性りん濃度は、りん酸性りん濃度計7で計測され、計測値は信号線7aを介して調節器9に伝えられる。また、設定器8に設定されたりん酸性りん濃度の目標値は、信号線8aを介して調節器9に伝えられる。調節器9では、りん酸性りん濃度の計測値と予め定められた目標値との偏差に応じて、余剰汚泥引き抜き量を、例えば式(7.1)に従って出力する。
【0051】
Qdrw=Qdrw0+Kdrw7(CPO4ana−CPO4ana*) (7.1)
ここに、
Qdrw :余剰汚泥引き抜き量
Qdrw0 :定数
Kdrw7 :定数(>0)
CPO4ana* :嫌気槽1のりん酸性りん濃度の目標値
CPO4ana :嫌気槽1のりん酸性りん濃度の計測値
調節器9の出力は信号線9cを介して余剰汚泥ポンプ5に伝えられる。
【0052】
これにより、りん酸性りん濃度の計測値CPO4anaが目標値CPO4ana*よりも小さければ、余剰汚泥引き抜き量Qdrwが低減し、系内の生物量が増大する。すなわち、りん蓄積菌から吐出されるりんの総量が増大する。逆に、りん酸性りん濃度の計測値CPO4anaが目標値CPO4ana*よりも大きければ、余剰汚泥引き抜き量Qdrwが増大し、系内の生物量が減少する。すなわち、りん蓄積菌から吐出されるりんの総量が減少する。以上の動作によって、嫌気槽1でのりん蓄積菌からのりん吐出量が一定に保たれるため、生物学的りん除去装置から流出するりんの量を確実に低減できるという効果を奏する。
【0053】
実施の形態8.
上記実施の形態6では、りん蓄積菌からのりん吐出量を検知する手段として、嫌気槽1のりん酸性りん濃度を計測するりん酸性りん濃度計7を備え、また生物学的りん除去装置の運転設定値として返送汚泥量を調節するように装置を構成したが、実施の形態2〜4に示したように、その他のりん吐出量検出手段、例えば嫌気槽1の酸化還元電位を計測する酸化還元電位計などを備えるように構成しても、実施の形態6と同様の効果を奏する。
また、実施の形態5と同様に、りんの分析に要する時間を考慮して嫌気槽1のりん酸性りん濃度を推定できるように記憶回路を付加して装置を構成することもできる。
【0054】
また、上記実施の形態7では、りん蓄積菌からのりん吐出量を検知する手段として嫌気槽1のりん酸性りん濃度を計測するりん酸性りん濃度計7を備え、また生物学的りん除去装置の運転設定値として余剰汚泥引き抜き量を調節するように装置を構成したが、実施の形態2〜4に示したように、その他のりん吐出量検出手段、例えば嫌気槽1の酸化還元電位を計測する酸化還元電位計などを備えるように構成しても、実施の形態7と同様の効果を奏する。
また、実施の形態5と同様に、りんの分析に要する時間を考慮して嫌気槽1のりん酸性りん濃度を推定できるように記憶回路を付加して装置を構成することもできる。
【0055】
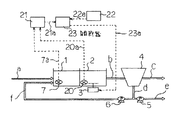
実施の形態9.
図8は、実施の形態9に係る生物学的りん除去装置の制御装置を示す構成図であり、図において、図1〜図7と同一符号は同一または相当部分を示している。本実施の形態においては、りん蓄積菌によるりん摂取量を検知する手段として嫌気槽1のりん酸性りん濃度と好気槽2のりん酸性りん濃度との差を計測する手段を備え、また生物学的りん除去装置の運転設定値として曝気量を調節するように装置を構成したものである。
【0056】
7は嫌気槽1のりん酸性りん濃度を、20は好気槽2のりん酸性りん濃度を計測するりん酸性りん濃度計である。21は嫌気槽1のりん酸性りん濃度と好気槽2のりん酸性りん濃度との差を演算するための演算器であり、信号線7aを介してりん酸性りん濃度計7と、信号線20aを介してりん酸性りん濃度計20と接続されている。
【0057】
22はりん酸性濃度の差の目標値を設定するための設定器、23はりん酸性りん濃度の差と設定器22に設定された目標値との偏差に応じて曝気装置3の出力を調節する調節器であり、信号線21aを介して演算器21と、信号線22aを介して設定器22と、信号線23aを介して曝気装置3と接続されている。
なお、本実施形態においては、りん酸性りん濃度計7、20の位置について何ら限定するものではないことはその他の図と同様である。
【0058】
次に、動作について説明する。嫌気槽1中のりん酸性りん濃度はりん酸性りん濃度計7で、好気槽2中のりん酸性りん濃度はりん酸性りん濃度計20で計測され、それぞれの計測値は信号線7a、信号線20aを介して演算器21に伝えられる。演算器21では、例えば式(9.1)に従って、嫌気槽1のりん酸性りん濃度と好気槽2のりん酸性りん濃度との差を演算する。
【0059】
DPO4anaaer=CPO4ana−CPO4aer (9.1)
ここに、
DPO4anaaer :嫌気槽1のりん酸性りん濃度と好気槽2の りん酸性りん濃度との差
CPO4ana :嫌気槽1のりん酸性りん濃度の計測値
CPO4aer :好気槽2のりん酸性りん濃度の計測値
演算器21の出力は、信号線21aを介して調節器23に伝えられる。
【0060】
また、設定器22に設定されたりん酸性りん濃度の差の目標値は、信号線22aを介して調節器23に伝えられる。調節器23では、りん酸性りん濃度の差の計測値と予め定められた目標値との偏差に応じて、曝気量を、例えば式(9.2)に従って出力する。
Qair = Qair0 + Kair9(DPO4anaaer−DPO4anaaer*) (9.2)
ここに、
Qair :曝気量
Qair0 :定数
Kair9 :定数(>0)
DPO4anaaer* :りん酸性りん濃度の差の目標値
調節器23の出力は信号線23aを介して曝気装置3に伝えられる。
【0061】
これにより、りん酸性りん濃度の差が目標値よりも小さければ、曝気量Qairが低減し、嫌気槽1の嫌気度が増大する。すなわち、りん蓄積菌からのりん吐出量が増大することによってりん摂取量が増加する。逆に、りん酸性りん濃度の差が目標値よりも大きければ、曝気量Qairが増大し、嫌気槽1の嫌気度が減少する。すなわち、りん蓄積菌からのりん吐出量が減少する。以上の動作によって、りん蓄積菌によるりん摂取量が一定に保たれるため、生物学的りん除去装置から流出するりんの量を確実に低減できるという効果を奏する。
【0062】
上記説明においては、りん蓄積菌によるりん摂取量を検知する手段として嫌気槽1のりん酸性りん濃度と好気槽2のりん酸性りん濃度との差を計測する手段を備えるように装置を構成したが、実施の形態2、3に示したように、その他の検出手段、例えば嫌気槽1の酸化還元電位と好気槽2の酸化還元電位との差を計測する手段を備えるようにしても、同様の効果を奏する。
また、実施の形態5と同様に、りんの分析に要する時間を考慮して嫌気槽1もしくは好気槽2のりん酸性りん濃度を推定できるように記憶回路を付加して装置を構成することもできる。
【0063】
また、上記説明では、生物学的りん除去装置の運転設定値として曝気量を調節するように装置を構成したが、実施の形態6、7に示したように、その他の運転設定値、例えば返送汚泥量や余剰汚泥引き抜き量などを調節するように装置を構成しても、同様の効果を奏する。
また、実施の形態5と同様に、りんの分析に要する時間を考慮して嫌気槽1もしくは好気槽2のりん酸性りん濃度を推定できるように記憶回路を付加して装置を構成することもできる。
【0064】
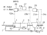
実施の形態10.
図9は、実施の形態10に係る生物学的りん除去装置の制御装置を示す構成図であり、図において、図1〜図8と同一符号は同一または相当部分を示している。本実施形態においては、りん蓄積菌からのりん吐出量の過不足を検知する手段として嫌気槽1の酸化還元電位を計測する酸化還元電位計を備え、また生物学的りん除去装置の運転設定値として曝気量を調節するように装置を構成したものである。
【0065】
24は生物学的りん除去装置から放流される処理水の流量を計測する流量計、25は上記処理水中の全りん濃度を計測する全りん濃度計である。なお、上記処理水中に含まれるりん酸性りん以外のりんの量が無視できる場合は、全りん濃度計のかわりにりん酸性りん濃度計を用いてもよい。
26は単位時間あたりに生物学的りん除去装置から流出するりんの量を演算する演算器であり、信号線24aを介して流量計24と、信号線25aを介して全りん濃度計25と接続されている。
【0066】
10は嫌気槽1の酸化還元電位を計測する酸化還元電位計、27は流出りん量の目標値を設定するための設定器である。
28は上記流出りん量と設定器27に設定された流出りん量の目標値との偏差と、嫌気槽1の酸化還元電位に応じて曝気装置3の出力を調節する調節器であり、信号線26aを介して演算器26と、信号線10aを介して酸化還元電位計10と、信号線27aを介して設定器27と、信号線28aを介して曝気装置3と接続されている。
【0067】
なお、本実施形態においては、流量計24ならびに全りん濃度計25の位置関係について何ら限定するものではなく、全りん濃度計25が下流側、流量計24が上流側でも全く問題ない。又、全りん濃度計25を別の場所に設置し、好気槽2、配管b、沈殿槽4もしくは配管cから採水するようにしてもよく、更に流量計24は配管aに設置してもよい。
また、酸化還元電位計10の位置についても嫌気槽1に限るわけではなく、その他の場所に設置し、嫌気槽1から採水するようにしてもよい。
【0068】
次に、動作について説明する。生物学的りん除去装置から流出する処理水の流量は流量計24で、また上記処理水中の全りん濃度は全りん濃度計25で計測され、それぞれの計測値は信号線24a、信号線25aを介して演算器26に伝えられる。
演算器26では、例えば式(10.1)に従って、単位時間あたりに生物学的りん除去装置から流出するりんの量を演算する。
【0069】
Pout=Qout×CTPout (10.1)
ここに、
Pout :単位時間あたりに生物学的りん除去装置から流出するりんの量
Qout :処理水の流量
CTPout :処理水中の全りん濃度
演算器26の出力は信号線26aを介して調節器28に伝えられる。
また、嫌気槽1の酸化還元電位は酸化還元電位計10で計測され、計測値は信号線10aを介して調節器28に伝えられる。設定器27に設定された流出りん量の目標値は、信号線27aを介して調節器28に伝えられる。
【0070】
調節器28では、上記流出りん量の計測値と予め定められた目標値との偏差に応じて曝気量を調節するが、演算式は、例えば式(10.2)〜(10.3)のように、嫌気槽1の酸化還元電位に応じて変更する。
Qair=Qair0 + Kair101(Pout−Pout*)
(Vana < Vana*) (10.2)
Qair=Qair0 + Kair102(Pout−Pout*)
(Vana ≧ Vana*) (10.3)
ここに、
Qair :曝気量
Qair0 :定数
Kair101 :定数 (>0)
Kair102 :定数 (<0)
Pout* :流出りん量の目標値
調節器28の出力は信号線28aを介して曝気装置3に伝えられる。
【0071】
すなわち、嫌気槽1の酸化還元電位が予め定めた基準値よりも低いときは、嫌気槽1でりんが十分に吐出されており、好気槽2での曝気量が多いほど、りんがたくさん摂取されるとみなして、式(10.2)に従って曝気量を調節する。逆に、嫌気槽1の酸化還元電位が予め定めた基準値よりも高いときは、嫌気槽1でのりんの吐出が不十分であり、好気槽2での曝気量をしぼらないとりんが吐出されないと見なして、式(10.3)に従って曝気量を調節する。以上の動作によって、必要な曝気量を過不足無く与えることができるので、生物学的りん除去装置から流出するりんの量を確実に低減できるという効果を奏する。
【0072】
上記説明では、単位時間あたりに生物学的りん除去装置から流出するりんの量を生物学的りん除去装置から放流される処理水の流量と上記処理水中の全りん濃度との積から求めるように装置を構成したが、処理水の流量の変動が小さい場合は、流量計を省略し、予め定めた値として必要な演算に用いるように装置を構成しても、同様の効果を奏する。
【0073】
又、上記説明では、りん蓄積菌からのりん吐出量の過不足を検知する手段として嫌気槽1の酸化還元電位を計測する酸化還元電位計を備えるように装置を構成したが、実施の形態1、3、4に示した他のりん吐出量検知手段、例えば嫌気槽1のりん蓄積菌のりん含有量を計測する計測器を備えるようにしても、同様の効果を奏する。
また、実施の形態5と同様に、りんの分析に要する時間を考慮して処理水中の全りん濃度を推定できるように装置を構成することもできる。
【0074】
更に、上記説明では、生物学的りん除去装置の運転設定値として曝気量を調節するように装置を構成したが、実施の形態6,7に示したように、その他の運転設定値、例えば返送汚泥量や余剰汚泥引き抜き量などを調節するように装置を構成しても、上記と同様の効果を奏する。
また、この場合も実施の形態5と同様に、りんの分析に要する時間を考慮して処理水中の全りん濃度を推定できるように装置を構成することもできる。
【0075】
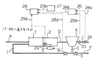
実施の形態11.
図10は、実施の形態11に係る生物学的りん除去装置の制御装置を示す構成図であり、図において、図1〜図9と同一符号は同一または相当部分を示している。本実施形態においては、りん蓄積菌からのりん摂取量の過不足を検知する手段として好気槽2の酸化還元電位を計測する酸化還元電位計を備え、また生物学的りん除去装置の運転設定値として曝気量を調節するように装置を構成したものである。
【0076】
24は生物学的りん除去装置から放流される処理水の流量を計測する流量計、25は上記処理水中の全りん濃度を計測する全りん濃度計である。なお、上記処理水中に含まれるりん酸性りん以外のりんの量が無視できる場合は、全りん濃度計のかわりにりん酸性りん濃度計を用いてもよい。
26は単位時間あたりに生物学的りん除去装置から流出するりんの量を演算する演算器であり、信号線24aを介して流量計24と、信号線25aを介して全りん濃度計25と接続されている。
【0077】
29は好気槽2の酸化還元電位を計測する酸化還元電位計、27は流出りん量の目標値を設定するための設定器である。
28は上記流出りん量と設定器27に設定された流出りん量の目標値との偏差と、好気槽2の酸化還元電位に応じて曝気装置3の出力を調節する調節器であり、信号線26aを介して演算器26と、信号線29aを介して酸化還元電位計29と、信号線27aを介して設定器27と、信号線28aを介して曝気装置3と接続されている。
【0078】
なお、本実施形態においては、流量計24ならびに全りん濃度計25の位置関係について何ら限定するものではなく、全りん濃度計25が下流側、流量計24が上流側でも全く問題ない。又、全りん濃度計25を別の場所に設置し、好気槽2、配管b、沈殿槽4もしくは配管cから採水するようにしてもよく、流量計24は配管aに設置してもよい。
また、酸化還元電位計29の位置についても好気槽2に限るわけではなく、その他の場所に設置し、好気槽2から採水するようにしてもよい。
【0079】
次に、動作について説明する。生物学的りん除去装置から流出する処理水の流量は流量計24で、また上記処理水中の全りん濃度は全りん濃度計25で計測され、それぞれの計測値は信号線24a、信号線25aを介して演算器26に伝えられる。
演算器26では、例えば式(10.1)に従って、単位時間あたりに生物学的りん除去装置から流出するりんの量を演算し、演算器26の出力は信号線26aを介して調節器28に伝えられる。
【0080】
また、好気槽2の酸化還元電位は酸化還元電位計29で計測され、計測値は信号線29aを介して調節器28に伝えられる。設定器27に設定された流出りん量の目標値は、信号線27aを介して調節器28に伝えられる。
調節器28では、上記流出りん量の計測値と予め定められた目標値との偏差に応じて曝気量を調節するが、演算式は、例えば式(11.2)〜(11.3)のように、好気槽2の酸化還元電位に応じて変更する。
Qair=Qair0 + Kair111(Pout−Pout*)
(Vaer ≧ Vaer*) (11.2)
Qair=Qair0 + Kair112(Pout−Pout*)
(Vaer < Vaer*) (11.3)
ここに、
Vaer :好気槽2の酸化還元電位
Vaer* :酸化還元電位の基準値
Kair111 :定数 (<0)
Kair112 :定数 (>0)
調節器28の出力は信号線28aを介して曝気装置3に伝えられる。
【0081】
すなわち、好気槽2の酸化還元電位が予め定めた基準値よりも高いときは、好気槽2でりんが十分に摂取されており好気槽2での曝気量が少ないほどりんがたくさん吐出されるとみなして、式(11.2)に従って曝気量を調節する。逆に、好気槽2の酸化還元電位が予め定めた基準値よりも低いときは、好気槽2でのりんの摂取が不十分であり、好気槽2での曝気量を増加しないとりんが摂取されないとみなして、式(11.3)に従って曝気量を調節する。以上の動作によって、必要な曝気量を過不足なく与えることができるので、生物学的りん除去装置から流出するりんの量を確実に低減できるという効果を奏する。
【0082】
上記説明では、単位時間あたりに生物学的りん除去装置から流出するりんの量を生物学的りん除去装置から放流される処理水の流量と上記処理水中の全りん濃度との積から求めるように装置を構成したが、処理水の流量の変動が小さい場合は、流量計を省略し、予め定めた値として必要な演算に用いるように装置を構成しても、同様の効果を奏する。
【0083】
又、上記説明では、りん蓄積菌からのりん摂取量の過不足を検知する手段として、好気槽2の酸化還元電位を計測する酸化還元電位計を備えるように装置を構成したが、実施の形態9に示した他のりん摂取量検知手段、例えば嫌気槽1のりん酸性りん濃度と好気槽2のりん酸性りん濃度との差を計測する手段を備えるようにしても、上記と同様の効果を奏する。
また、実施の形態5と同様に、りんの分析に要する時間を考慮して処理水中の全りん濃度を推定できるように装置を構成することもできる。
【0084】
更に、上記説明では、生物学的りん除去装置の運転設定値として曝気量を調節するように装置を構成したが、実施の形態6,7に示したように、その他の運転設定値、例えば返送汚泥量や余剰汚泥引き抜き量などを調節するように装置を構成しても、上記と同様の効果を奏する。
また、この場合も実施の形態5と同様に、りんの分析に要する時間を考慮して、処理水中の全りん濃度を推定できるように装置を構成することもできる。
【0085】
実施の形態12.
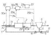
図11は実施の形態12に係る生物学的りん除去装置の制御装置を示す構成図であり、図において、図1〜図10と同一符号は同一または相当部分を示している。本実施形態においては、りん蓄積菌からのりん吐出量の過不足を検知する手段として嫌気槽1の酸化還元電位を計測する酸化還元電位計を備え、また生物学的りん除去装置の運転設定値として曝気量を調節するように装置を構成したものである。
【0086】
30は生物学的りん除去装置に流入する被処理水の流量を計測する流量計、31は上記被処理水中の全りん濃度を計測する全りん濃度計である。なお、上記被処理水中に含まれるりん酸性りん以外のりんの量が無視できる場合は、全りん濃度計のかわりにりん酸性りん濃度計を用いてもよい。
32は単位時間あたりに生物学的りん除去装置に流入するりんの量を演算する演算器であり、信号線30aを介して流量計30と、信号線31aを介して全りん濃度計31と接続されている。また、10は嫌気槽1の酸化還元電位を計測する酸化還元電位計、27は流出りん量の目標値を設定するための設定器である。
【0087】
28は上記流入りん量と設定器27に設定された流出りん量の目標値との偏差と、嫌気槽1の酸化還元電位に応じて曝気装置3の出力を調節する調節器であり、信号線32aを介して演算器32と、信号線10aを介して酸化還元電位計10と、信号線27aを介して設定器27と、信号線28aを介して曝気装置3と接続されている。
【0088】
なお、本実施形態においては、流量計30ならびに全りん濃度計31の位置関係について何ら限定するものではなく、全りん濃度計31が上流側、流量計30が下流側でも全く問題ない。又、全りん濃度計31を別の場所に設置し、配管aから採水するようにしてもよく、流量計30は配管cに設置してもよい。
また、酸化還元電位計10の位置についても嫌気槽1に限るわけではなく、その他の場所に設置し、嫌気槽1から採水するようにしてもよいことは言うまでもない。
【0089】
次に、動作について説明する。生物学的りん除去装置に流入する被処理水の流量は流量計30で、また上記被処理水中の全りん濃度は全りん濃度計31で計測され、それぞれの計測値は信号線30a、信号線31aを介して演算器32に伝えられる。
演算器32では、例えば式(12.1)に従って、単位時間あたりに生物学的りん除去装置に流入するりんの量を演算する。
【0090】
Pin=Qin×CTPin (12.1)
ここに、
Pin :単位時間あたりに生物学的りん除去装置に流入するりんの量
Qin :被処理水の流量
CTPin :被処理水中の全りん濃度
演算器32の出力は信号線32aを介して調節器28に伝えられる。
また、嫌気槽1の酸化還元電位は酸化還元電位計10で計測され、計測値は信号線10aを介して調節器28に伝えられる。設定器27に設定された流出りん量の目標値は、信号線27aを介して調節器28に伝えられる。
【0091】
調節器28では、上記流入りん量の計測値と予め定められた流出りん量の目標値との偏差に応じて曝気量を調節するが、演算式は、例えば式(12.2)〜(12.3)のように、嫌気槽1の酸化還元電位に応じて変更する。
Qair=Qair0 + Kair121(Pin−Pout*)
(Vana < Vana*) (12.2)
Qair=Qair0 + Kair122(Pin−Pout*)
(Vana ≧ Vana*) (12.3)
ここに、
Qair :曝気量
Qair0 :定数
Kair121 :定数 (>0)
Kair122 :定数 (<0)
Pout* :流出りん量の目標値
調節器28の出力は信号線28aを介して曝気装置3に伝えられる。
【0092】
すなわち、嫌気槽1の酸化還元電位が予め定めた基準値よりも低いときは、嫌気槽1でりんが十分に吐出されており、好気槽2での曝気量が多いほどりんがたくさん摂取されるとみなして、式(12.2)に従って曝気量を調節する。逆に、嫌気槽1の酸化還元電位が予め定めた基準値よりも高いときは、嫌気槽1でのりんの吐出が不十分であり、好気槽2での曝気量をしぼらないとりんが吐出されないとみなして、式(12.3)に従って曝気量を調節する。以上の動作によって、必要な曝気量をいちはやく与えることができるので、生物学的りん除去装置から流出するりんの量を確実に低減できるという効果を奏する。
【0093】
上記説明では、単位時間あたりに生物学的りん除去装置に流入するりんの量を生物学的りん除去装置に流入する被処理水の流量と上記被処理水中の全りん濃度との積から求めるように装置を構成したが、被処理水の流量の変動が小さい場合は、流量計を省略し、予め定めた値として必要な演算に用いるように装置を構成しても、同様の効果を奏する。
【0094】
又、上記説明では、りん蓄積菌からのりん吐出量の過不足を検知する手段として嫌気槽1の酸化還元電位を計測する酸化還元電位計を備えるように装置を構成したが、実施の形態1,3,4に示した他のりん吐出量検知手段、例えば嫌気槽1のりん蓄積菌のりん含有量を計測する計測器を備えるようにしても、上記と同様の効果を奏する。
また、実施の形態5と同様に、りんの分析に要する時間を考慮して処理水中の全りん濃度を推定できるように装置を構成することもできる。
【0095】
更に、上記説明では、生物学的りん除去装置の運転設定値として曝気量を調節するように装置を構成したが、実施の形態6,7に示したように、その他の運転設定値、例えば返送汚泥量や余剰汚泥引き抜き量などを調節するように装置を構成しても、上記と同様の効果を奏する。
また、この場合も実施の形態5の場合と同様に、りんの分析に要する時間を考慮して処理水中の全りん濃度を推定できるように装置を構成することもできる。
【0096】
実施の形態13.
図12は、実施の形態13に係る生物学的りん除去装置の制御装置を示す構成図であり、図において、図1〜図11と同一符号は同一または相当部分を示している。本実施の形態においては、りん蓄積菌からのりん摂取量の過不足を検知する手段として好気槽2の酸化還元電位を計測する酸化還元電位計を備え、また生物学的りん除去装置の運転設定値として曝気量を調節するように装置を構成したものである。
【0097】
30は生物学的りん除去装置に流入する被処理水の流量を計測する流量計、31は上記被処理水中の全りん濃度を計測する全りん濃度計である。なお、上記被処理水中に含まれるりん酸性りん以外のりんの量が無視できる場合は、全りん濃度計のかわりにりん酸性りん濃度計を用いてもよい。
32は単位時間あたりに生物学的りん除去装置に流入するりんの量を演算する演算器であり、信号線30aを介して流量計30と、信号線31aを介して全りん濃度計31と接続されている。また、29は好気槽2の酸化還元電位を計測する酸化還元電位計、27は流出りん量の目標値を設定するための設定器である。
【0098】
28は上記流入りん量と設定器27に設定された流出りん量の目標値との偏差と、好気槽2の酸化還元電位に応じて曝気装置3の出力を調節する調節器であり、信号線32aを介して演算器32と、信号線29aを介して酸化還元電位計29と、信号線27aを介して設定器27と、信号線28aを介して曝気装置3と接続されている。
【0099】
なお、本実施形態においては、流量計30ならびに全りん濃度計31の位置関係について何ら限定するものではなく、全りん濃度計31が上流側、流量計30が下流側でも全く問題ない。又、全りん濃度計31を別の場所に設置し、配管aから採水するようにしてもよく、流量計30は配管cに設置してもよい。
また、酸化還元電位計29の位置についても、好気槽2に限るわけではなく、その他の場所に設置し、好気槽2から採水するようにしてもよいことは言うまでもない。
【0100】
次に、動作について説明する。生物学的りん除去装置に流入する被処理水の流量は流量計30で、また上記被処理水中の全りん濃度は全りん濃度計31で計測され、それぞれの計測値は信号線30a、信号線31aを介して演算器32に伝えられる。
演算器32では、例えば式(12.1)に従って、単位時間あたりに生物学的りん除去装置に流入するりんの量を演算する。演算器32の出力は信号線32aを介して調節器28に伝えられる。
【0101】
また、好気槽2の酸化還元電位は酸化還元電位計29で計測され、計測値は信号線29aを介して調節器28に伝えられる。設定器27に設定された流出りん量の目標値は、信号線27aを介して調節器28に伝えられる。
調節器28では、上記流入りん量の計測値と予め定められた流出りん量の目標値との偏差に応じて曝気量を調節するが、演算式は、例えば式(13.2)〜(13.3)のように、好気槽2の酸化還元電位に応じて変更する。
【0102】
Qair=Qair0 + Kair131(Pin−Pout*)
(Vaer ≧ Vaer*) (13.2)
Qair=Qair0 + Kair132(Pin−Pout*)
(Vaer < Vaer*) (13.3)
ここに、
Qair :曝気量
Qair0 :定数
Kair131 :定数 (<0)
Kair132 :定数 (>0)
Pout* :流出りん量の目標値
調節器28の出力は信号線28aを介して曝気装置3に伝えられる。
【0103】
すなわち、好気槽2の酸化還元電位が予め定めた基準値よりも高いときは、好気槽2でりんが十分に摂取されており、好気槽2での曝気量が少ないほどりんがたくさん吐出されるとみなして、式(13.2)に従って曝気量を調節する。逆に、好気槽2の酸化還元電位が予め定めた基準値よりも低いときは、好気槽2でのりんの摂取が不十分であり、好気槽2での曝気量を増加しないとりんが摂取されないとみなして、式(13.3)に従って曝気量を調節する。以上の動作によって、必要な曝気量をいちはやく与えることができるので、生物学的りん除去装置から流出するりんの量を確実に低減できるという効果を奏する。
【0104】
上記説明では、単位時間あたりに生物学的りん除去装置に流入するりんの量を生物学的りん除去装置に流入する被処理水の流量と上記被処理水中の全りん濃度との積から求めるように装置を構成したが、被処理水の流量の変動が小さい場合は、流量計を省略し、予め定めた値として必要な演算に用いるように装置を構成しても、同様の効果を奏する。
【0105】
又、上記説明では、りん蓄積菌からのりん吐出量の過不足を検知する手段として好気槽2の酸化還元電位を計測する酸化還元電位計を備えるように装置を構成したが、実施の形態9に示した他のりん吐出量検知手段、例えば嫌気槽1のりん酸性りん濃度と好気槽2のりん酸性りん濃度との差を計測する手段を備えるようにしても、上記と同様の効果を奏する。
また、実施の形態5と同様に、りんの分析に要する時間を考慮して処理水中の全りん濃度を推定できるように装置を構成することもできる。
【0106】
更に、上記説明では、生物学的りん除去装置の運転設定値として曝気量を調節するように装置を構成したが、実施の形態6,7に示したように、その他の運転設定値、例えば返送汚泥量や余剰汚泥引き抜き量などを調節するように装置を構成しても、上記と同様の効果を奏する。
また、この場合も実施の形態5と同様に、りんの分析に要する時間を考慮して、処理水中の全りん濃度を推定できるように装置を構成することもできる。
【0107】
実施の形態14.
図13は実施の形態14に係る生物学的りん窒素除去装置の制御装置を示す構成図である。図において、図1〜図12と同一符号は同一または相当部分を示している。本実施の形態においては、流入水量の変化傾向を流入水量から検知し、調節器の出力を補正するように装置を構成したものである。
【0108】
30は生物学的りん除去装置に流入する被処理水の流量を計測する流量計、31は上記被処理水中の全りん濃度を計測する全りん濃度計である。なお、上記被処理水中に含まれるりん酸性りん以外のりんの量が無視できる場合は、全りん濃度計のかわりにりん酸性りん濃度計を用いてもよい。
32は単位時間あたりに生物学的りん除去装置に流入するりんの量を演算する演算器であり、信号線30aを介して流量計30と、信号線31aを介して全りん濃度計31と接続されている。また、10は嫌気槽1の酸化還元電位を計測する酸化還元電位計、27は流出りん量の目標値を設定するための設定器である。
【0109】
28は上記流入りん量と設定器27に設定された流出りん量の目標値との偏差と、嫌気槽1の酸化還元電位に応じて曝気装置3の出力を調節する調節器であり、信号線32aを介して演算器32と、信号線10aを介して酸化還元電位計10と、信号線27aを介して設定器27と接続されている。
また33は調節器28からの出力を補正するための補正器であり、信号線28aを介して調節器28と、信号線30bを介して流量計30と、信号線33aを介して曝気装置3と接続されている。
【0110】
なお、本実施形態においては、流量計30ならびに全りん濃度計31の位置関係について何ら限定するものではなく、全りん濃度計31が上流側、流量計30が下流側でも全く問題ない。又、全りん濃度計31を別の場所に設置し、配管aから採水するようにしてもよく、流量計30は配管cに設置してもよい。
また、酸化還元電位計10の位置についても嫌気槽1に限るわけではなく、その他の場所に設置し、嫌気槽1から採水するようにしてもよい。
【0111】
次に、動作について説明する。生物学的りん除去装置に流入する被処理水の流量は流量計30で、また上記被処理水中の全りん濃度は全りん濃度計31で計測され、それぞれの計測値は信号線30a、信号線31aを介して演算器32に伝えられる。
演算器32では、例えば式(12.1)に従って、単位時間あたりに生物学的りん除去装置に流入するりんの量を演算し、演算器32の出力は信号線32aを介して調節器28に伝えられる。
【0112】
また、嫌気槽1の酸化還元電位は酸化還元電位計10で計測され、計測値は信号線10aを介して調節器28に伝えられる。設定器27に設定された流出りん量の目標値は、信号線27aを介して調節器28に伝えられる。
調節器28では、上記流入りん量の計測値と予め定められた流出りん量の目標値との偏差に応じて曝気量を演算するが、演算式は、例えば式(12.2)〜(12.3)のように、嫌気槽1の酸化還元電位に応じて変更する。
また同時に流入水の流量は、流量計30で測定され、信号線30bを介して補正器33に伝えられる。補正器33では、流入水量の変化傾向に応じて、調節器28の出力を補正する演算値を算出し、例えば式(14.1)に従って演算する。
【0113】
H = H0+Khosei(Qin −Qin-1) (14.1)
ここに、
H :補正値
H0 :定数
Khosei :定数
Qin :現在の流入水量
Qin-1 :1ステップ前の流入水量
ここで、1ステップ前とは約30分〜2、3時間前を指す。
調節器28からの出力は、補正器33において、例えば式(14.2)にしたがって補正される。
QairH = Qair×H (14.2)
補正器33からの出力は信号線33aを介して曝気装置3に伝えられる。
【0114】
これにより、流入水量が増加あるいは減少する場合には、嫌気槽1でのりんの吐出状況に応じて、曝気量を増大あるいは減少させ、曝気量が適切に調節される。すなわち、生物学的水処理装置に流入する下水の量や濃度が変動した場合も、流入水の流量の変化傾向を考慮することにより、必要な曝気量を過不足無くさらにいち早く好気槽2に与えることができ、流出全りん量を所定の値に維持できるという効果を奏する。
【0115】
なお、本実施形態は流入水の流量の変化傾向をもとに補正値の演算を行ったが、流入水量の代わりに、嫌気槽1の酸化還元電位値、溶存酸素値、MLSS値あるいは好気槽2の酸化還元電位値、溶存酸素値、MLSS値等により補正値を算出するようにした構成とすることも可能である。又、図9,図10,図12に示された装置に同様の補正器を取付けてもよい。
【0116】
以上のように、被処理水の増加傾向などのプラントデータを用いて、調節手段の出力を補正するように構成するようにしたので、生物学的水処理装置に流入する下水の量や濃度が変動した場合も、りん吐出ならびにりん摂取にかかる運転設定値をいちはやく適切に調節し、生物学的りん除去装置から流出するりんの量を確実に低減することができる。
【0117】
実施の形態15.
上記実施の形態10〜14においては、流量計を備え、流入水量もしくは放流水量を計測するように構成したが、流入下水量の変動が小さい場合は、これを省略し、所定の流量を設定して必要な演算に用いるように装置を構成することもできる。
【0118】
又、上記各実施形態においては、時間連続のアナログ式で構成した例を示したが、時間不連続のアナログ式(サンプル値式)やデジタル式で構成しても、上記実施形態と同様の効果を奏する。
【0119】
又、上記各実施形態においては、制御回路構成を示したが、これを計算機内にプログラム化して実装しても、上記実施形態と同様の効果を奏する。
【0120】
又、上記各実施形態においては、制御回路を閉ループで構成したが、制御目標値をオペレータに提示する運転支援システムとして構成することもできる。
【0121】
【発明の効果】
この発明の請求項1に係る生物学的りん除去装置によれば、下水が流入すると共に嫌気槽と好気槽とから構成される生物反応槽と、好気槽に取付けられた曝気装置とを有するものであって、この生物学的りん除去装置から流出するりんの量又は流入するりんの量を計測する手段と、流出りん量の目標値を設定する手段と、嫌気槽内の酸化還元電位を計測する手段と、流出又は流入りん量と目標値との差、並びに酸化還元電位に応じて、酸化還元電位が目標値よりも小さい場合に流出又は流入りん量が増加すると曝気量を増加させ、酸化還元電位が目標値以上の場合に流出又は流入りん量が増加すると曝気量を減少させるように曝気量を調節する手段とを設けたので、生物学的水処理装置に流入する下水の量や濃度が変動した場合も、りん吐出および摂取にかかる運転設定値を適切に調節し、生物学的りん除去装置から流出するりんの量を確実に低減できるという効果を奏する。
【0122】
この発明の請求項2に係る生物学的りん除去装置によれば、下水が流入すると共に嫌気槽と好気槽とから構成される生物反応槽と、好気槽に取付けられた曝気装置とを有するものであって、この生物学的りん除去装置から流出するりんの量又は流入するりんの量を計測する手段と、流出りん量の目標値を設定する手段と、好気槽内の酸化還元電位を計測する手段と、流出又は流入りん量と目標値との差、並びに酸化還元電位に応じて、酸化還元電位が目標値以上の場合に流出又は流入りん量が増加すると曝気量を減少させ、酸化還元電位が目標値よりも小さい場合に流出又は流入りん量が増加すると曝気量を増加させるように曝気量を調節する手段とを設けたので、生物学的水処理装置に流入する下水の量や濃度が変動した場合も、りん吐出および摂取にかかる運転設定値を適切に調節し、生物学的りん除去装置から流出するりんの量を確実に低減できるという効果を奏する。
【0123】
この発明の請求項3に係る生物学的りん除去装置によれば、現在の流出水量又は流入水量と過去の流出水量又は流入水量との変化に応じて調節手段の出力を補正する補正器を設けたので、生物学的水処理装置に流入する下水の量や濃度が変動した場合も、りん吐出ならびにりん摂取にかかる運転設定値をいちはやく適切に調節し、生物学的りん除去装置から流出するりんの量を確実に低減できるという効果を奏する。
【図面の簡単な説明】
【図1】 この発明の実施の形態1による生物学的りん除去装置を示す構成図である。
【図2】 この発明の実施の形態2による生物学的りん除去装置を示す構成図である。
【図3】 この発明の実施の形態3による生物学的りん除去装置を示す構成図である。
【図4】 この発明の実施の形態4による生物学的りん除去装置を示す構成図である。
【図5】 この発明の実施の形態5による生物学的りん除去装置を示す構成図である。
【図6】 この発明の実施の形態6による生物学的りん除去装置を示す構成図である。
【図7】 この発明の実施の形態7による生物学的りん除去装置を示す構成図である。
【図8】 この発明の実施の形態9による生物学的りん除去装置を示す構成図である。
【図9】 この発明の実施の形態10による生物学的りん除去装置を示す構成図である。
【図10】 この発明の実施の形態11による生物学的りん除去装置を示す構成図である。
【図11】 この発明の実施の形態12による生物学的りん除去装置を示す構成図である。
【図12】 この発明の実施の形態13による生物学的りん除去装置を示す構成図である。
【図13】 この発明の実施の形態14による生物学的りん除去装置を示す構成図である。
【図14】 従来の生物学的りん除去装置を示す構成図である。
【符号の説明】
1 嫌気槽、2 好気槽、3 曝気装置、4 沈殿池、5 余剰汚泥ポンプ、
6 返送汚泥ポンプ、7,14,15,20,25,31 りん濃度計、
9,23,28 調節器、10,29 酸化還元電位計、12 りん含有量計測器、
18 記憶回路、24,30 流量計、33 補正器。

Claims (3)

  1. 下水が流入すると共に嫌気槽と好気槽とから構成される生物反応槽と、上記好気槽に取付けられた曝気装置とを有する生物学的りん除去装置であって、この生物学的りん除去装置から流出するりんの量又は流入するりんの量を計測する手段と、流出りん量の目標値を設定する手段と、上記嫌気槽内の酸化還元電位を計測する手段と、上記流出又は流入りん量と目標値との差、並びに上記酸化還元電位に応じて、上記酸化還元電位が目標値よりも小さい場合に上記流出又は流入りん量が増加すると曝気量を増加させ、上記酸化還元電位が目標値以上の場合に上記流出又は流入りん量が増加すると曝気量を減少させるように曝気量を調節する手段とを設けたことを特徴とする生物学的りん除去装置。
  2. 下水が流入すると共に嫌気槽と好気槽とから構成される生物反応槽と、上記好気槽に取付けられた曝気装置とを有する生物学的りん除去装置であって、この生物学的りん除去装置から流出するりんの量又は流入するりんの量を計測する手段と、流出りん量の目標値を設定する手段と、上記好気槽内の酸化還元電位を計測する手段と、上記流出又は流入りん量と目標値との差、並びに上記酸化還元電位に応じて、上記酸化還元電位が目標値以上の場合に上記流出又は流入りん量が増加すると曝気量を減少させ、上記酸化還元電位が目標値よりも小さい場合に上記流出又は流入りん量が増加すると曝気量を増加させるように曝気量を調節する手段とを設けたことを特徴とする生物学的りん除去装置。
  3. 現在の流出水量又は流入水量と過去の流出水量又は流入水量との変化に応じて調節手段の出力を補正する補正器を設けたことを特徴とする請求項1又は請求項2記載の生物学的りん除去装置。
JP04610698A 1998-02-27 1998-02-27 生物学的りん除去装置 Expired - Lifetime JP4248043B2 (ja)

Priority Applications (1)

Application Number Priority Date Filing Date Title
JP04610698A JP4248043B2 (ja) 1998-02-27 1998-02-27 生物学的りん除去装置

Applications Claiming Priority (1)

Application Number Priority Date Filing Date Title
JP04610698A JP4248043B2 (ja) 1998-02-27 1998-02-27 生物学的りん除去装置

Publications (2)

Publication Number Publication Date
JPH11244889A JPH11244889A (ja) 1999-09-14
JP4248043B2 true JP4248043B2 (ja) 2009-04-02

Family

ID=12737752

Family Applications (1)

Application Number Title Priority Date Filing Date
JP04610698A Expired - Lifetime JP4248043B2 (ja) 1998-02-27 1998-02-27 生物学的りん除去装置

Country Status (1)

Country Link
JP (1) JP4248043B2 (ja)

Families Citing this family (5)

* Cited by examiner, † Cited by third party
Publication number Priority date Publication date Assignee Title
JP2002307094A (ja) * 2001-04-13 2002-10-22 Toshiba Corp 下水処理システム
JP5188451B2 (ja) * 2009-05-22 2013-04-24 株式会社日立製作所 水処理設備
JP5467837B2 (ja) * 2009-10-09 2014-04-09 三菱電機株式会社 生物学的水処理装置の制御装置
JP5575211B2 (ja) * 2012-11-29 2014-08-20 三菱電機株式会社 生物学的水処理装置の制御装置
CN111807516A (zh) * 2020-08-03 2020-10-23 岭南水务集团有限公司 一种改良型浮动生化污水处理设备及其方法

Also Published As

Publication number Publication date
JPH11244889A (ja) 1999-09-14

Similar Documents

Publication Publication Date Title
JP4334317B2 (ja) 下水処理システム
JP3961835B2 (ja) 下水処理場水質制御装置
CN101654299B (zh) 污水处理场的曝气风量控制装置
JP3691650B2 (ja) 水処理方法および制御装置
JP4229999B2 (ja) 生物学的窒素除去装置
JP4008694B2 (ja) 下水処理場水質制御装置
JP5791763B2 (ja) 生物学的水処理装置の制御装置
JP3999869B2 (ja) 生物学的水処理装置
JP4248043B2 (ja) 生物学的りん除去装置
JPH0938690A (ja) 水処理における凝集剤注入制御方法
JPH11244890A5 (ja)
JP3707305B2 (ja) 水処理監視制御方法及び装置
JP3691651B2 (ja) 水処理施設の水処理方法および制御装置
JP4183844B2 (ja) 生物学的水処理装置の制御装置
JPH06102195B2 (ja) 排水のリン濃度制御方法
JPH0938682A (ja) 生物学的水処理方法
JP2006315004A (ja) 下水処理場水質制御装置
JP2006142166A (ja) 生物学的廃水処理装置およびその運転制御方法
JP5791762B2 (ja) 生物学的水処理装置の制御装置
JP5575211B2 (ja) 生物学的水処理装置の制御装置
JP2017121595A (ja) 活性汚泥法を用いた監視制御システム
JP2007000871A (ja) 生物学的水処理装置
JP4451422B2 (ja) 生物学的水処理装置の制御装置
CN117819702B (zh) 一种污水处理过程中模块组合式营养物补给控制方法
JPS646839B2 (ja)

Legal Events

Date Code Title Description
A977 Report on retrieval

Free format text: JAPANESE INTERMEDIATE CODE: A971007

Effective date: 20060327

A131 Notification of reasons for refusal

Free format text: JAPANESE INTERMEDIATE CODE: A131

Effective date: 20070306

A521 Written amendment

Free format text: JAPANESE INTERMEDIATE CODE: A523

Effective date: 20070427

A131 Notification of reasons for refusal

Free format text: JAPANESE INTERMEDIATE CODE: A131

Effective date: 20080826

A521 Written amendment

Free format text: JAPANESE INTERMEDIATE CODE: A523

Effective date: 20081023

TRDD Decision of grant or rejection written
A01 Written decision to grant a patent or to grant a registration (utility model)

Free format text: JAPANESE INTERMEDIATE CODE: A01

Effective date: 20090106

A01 Written decision to grant a patent or to grant a registration (utility model)

Free format text: JAPANESE INTERMEDIATE CODE: A01

A61 First payment of annual fees (during grant procedure)

Free format text: JAPANESE INTERMEDIATE CODE: A61

Effective date: 20090113

FPAY Renewal fee payment (event date is renewal date of database)

Free format text: PAYMENT UNTIL: 20120123

Year of fee payment: 3

R150 Certificate of patent or registration of utility model

Free format text: JAPANESE INTERMEDIATE CODE: R150

FPAY Renewal fee payment (event date is renewal date of database)

Free format text: PAYMENT UNTIL: 20130123

Year of fee payment: 4

FPAY Renewal fee payment (event date is renewal date of database)

Free format text: PAYMENT UNTIL: 20130123

Year of fee payment: 4

R250 Receipt of annual fees

Free format text: JAPANESE INTERMEDIATE CODE: R250

R250 Receipt of annual fees

Free format text: JAPANESE INTERMEDIATE CODE: R250

R250 Receipt of annual fees

Free format text: JAPANESE INTERMEDIATE CODE: R250

EXPY Cancellation because of completion of term