JP4222678B2 - 電流測定装置 - Google Patents

電流測定装置 Download PDF

Info

Publication number
JP4222678B2
JP4222678B2 JP10237599A JP10237599A JP4222678B2 JP 4222678 B2 JP4222678 B2 JP 4222678B2 JP 10237599 A JP10237599 A JP 10237599A JP 10237599 A JP10237599 A JP 10237599A JP 4222678 B2 JP4222678 B2 JP 4222678B2
Authority
JP
Japan
Prior art keywords
circuit
current
measurement
terminal
amplifier
Prior art date
Legal status (The legal status is an assumption and is not a legal conclusion. Google has not performed a legal analysis and makes no representation as to the accuracy of the status listed.)
Expired - Fee Related
Application number
JP10237599A
Other languages
English (en)
Other versions
JP2000292463A (ja
Inventor
良雄 小熊
Current Assignee (The listed assignees may be inaccurate. Google has not performed a legal analysis and makes no representation or warranty as to the accuracy of the list.)
Yokogawa Electric Corp
Original Assignee
Yokogawa Electric Corp
Priority date (The priority date is an assumption and is not a legal conclusion. Google has not performed a legal analysis and makes no representation as to the accuracy of the date listed.)
Filing date
Publication date
Application filed by Yokogawa Electric Corp filed Critical Yokogawa Electric Corp
Priority to JP10237599A priority Critical patent/JP4222678B2/ja
Publication of JP2000292463A publication Critical patent/JP2000292463A/ja
Application granted granted Critical
Publication of JP4222678B2 publication Critical patent/JP4222678B2/ja
Anticipated expiration legal-status Critical
Expired - Fee Related legal-status Critical Current

Links

Images

Landscapes

  • Measurement Of Resistance Or Impedance (AREA)
  • Measurement Of Current Or Voltage (AREA)

Description

【0001】
【発明の属する技術分野】
本発明は、各種直流回路の直流回路電流を、回路を切断することなく、あるいはクランプセンサ等を使用することなく、簡便に測定する装置に関するものであり、詳しくはバッテリ等の電源回路電流やプリント板内の回路電流、プロセスオートメーションにおける各種センサーの直流出力電流4−20mA等を、回路を切断することなく、プローブを接触させるだけで測定できるようにした装置に関するものである。
【0002】
【従来の技術】
従来より、直流回路の電流を測定するには通常次の方式がある。
(1) 回路を切断して電流計を挿入し、そこに流れる電流を測定する方式。
(2) 直流クランプセンサを用い、回路を切断しないで電流を測定する方式。
【0003】
【発明が解決しようとする課題】
ところで、上記方式では次のような課題がある。すなわち、
▲1▼上記(1) の方式では回路を切断する必要があり、特にプリント板回路の場合には好ましい方式とは言えない。
▲2▼上記(2) の方式では、微小電流測定において感度的に限界がある。また回路がクランプセンサでクランプできる形状(ワイヤまたはブスバー)でなければならず、例えばプリント板パターン上の電流は測定できない。
【0004】
本発明の目的は、このような課題を解決するもので、非切断で直流回路電流を高感度に測定することのできる電流測定装置を実現することにある。
【0005】
【課題を解決するための手段】
このような目的を達成するために請求項1の発明では、
4端子構造の測定端子を用い、この測定端子の電流端子より被測定対象の低抵抗回路に交流の定電流を印加する交流定電流源と、
前記測定端子の電圧端子より交流信号の電圧降下を検出し、この検出信号を交流アンプで増幅後、同期整流により前記交流信号成分に同期した信号のみを検出して前記低抵抗回路の抵抗値を測定する抵抗測定手段と、
前記測定端子間に生ずる微小直流電圧降下を直流アンプにより検出し、この検出信号をフィルタに通して前記交流信号成分を除去し測定端子間の直流電圧降下を測定する電圧降下測定手段と、
前記抵抗測定手段と電圧降下測定手段の各出力をデジタル変換し、そのデジタルデータをもとに演算により前記測定端子の2点間に流れる被測定対象の直流回路電流値を求め、この求めた直流回路電流を表示するように構成された手段
を具備し、前記被測定対象の回路を切断することなく直流回路電流を測定できるように構成したことを特徴とする。
【0006】
この発明では、被測定対象の低抵抗回路に測定端子の電流端子より交流の定電流を印加した状態において、測定端子の電圧端子より交流信号の電圧降下を検出し、この検出信号を増幅後、印加交流成分に同期した信号のみ同期整流・検出する。次に、電圧端子間に生ずる微小直流電圧降下を高感度直流アンプとフィルタを介して検出する。
【0007】
そしてこの2つの検出信号を交互にA−D変換し、その変換データをもとに演算により、電流値(mA)=直流電圧降下(μV)/直流抵抗値(mΩ)を求めて、測定端子間の電流値(mA)を得る。
このようにして、被測定対象の回路(導線)を切断することなく回路電流を求めることができる。
【0008】
また、請求項2のように、
4端子構造の測定端子を用い、この測定端子の電流端子より被測定対象の低抵抗回路に交流の定電流を印加する交流定電流源と、
前記測定端子の電圧端子より交流信号の電圧降下を検出し、この検出信号を交流アンプで増幅後、同期整流により前記交流信号成分に同期した信号のみを検出して前記低抵抗回路の抵抗値を測定する抵抗測定手段と、
前記測定端子間に生ずる微小直流電圧降下を直流アンプにより検出し、この検出信号をフィルタに通して前記交流信号成分を除去し測定端子間の直流電圧降下を測定する電圧降下測定手段と、
前記抵抗測定手段と電圧降下測定手段の各出力をデジタル変換し、そのデジタルデータをもとに演算により前記測定端子の2点間に流れる被測定対象の直流回路電流値を求め、この求めた直流回路電流を表示するように構成された手段と、
前記抵抗測定手段の交流アンプと前記電圧降下測定手段の直流アンプを共通化して1系統の構成とすると共に、その出力を平均化する平均化回路より構成し、
抵抗測定モードにおいては、直流分を阻止すると共に、前記印加する交流定電流の周波数の半周期ごとに信号を反転させて前記平均化回路に印加することにより同期整流を構成して直流抵抗分に比例した出力を得るようにし、
直流電圧測定モードにおいては、前記半周期ごとの反転切換えを止めて単なるフィルタ回路が構成されるようにし、
前記抵抗測定モードと直流電圧測定モードを切換えて前記測定端子間の直流低抵抗と直流微小電圧降下を交互に測定するように構成することもできる。
【0009】
また、請求項3の発明では、
4端子構造の測定端子を用い、この測定端子の2点間に生じた被測定対象の低抵抗回路における電圧降下を検出するアンプと、
このアンプの出力電圧で駆動され前記測定端子の電流端子より前記電圧降下がゼロとなるように被測定対象に電流を供給する電流発生回路と、
前記アンプの出力が安定した状態のときのアンプ出力を読み取って前記測定端子の2点間に流れる被測定対象の回路電流を求める手段を具備し、
前記被測定対象の回路を切断することなく回路電流を測定できるように構成したことを特徴とする。
【0010】
このような構成では、回路抵抗による電圧降下を直流アンプで検出し、その出力で駆動される直流電流発生回路より測定端子の電流端子に電流を印加し、電圧降下がゼロになるように電流発生回路を制御する。制御が安定した状態における電流発生回路の出力電流から回路電流を求めることができる。
【0011】
ただし、ここでは電流発生回路の出力電流が直流アンプの出力電圧に対応しているので、直流アンプの出力電圧の測定をもって回路電流を求めるようにしている。このような構成によれば、構成が簡単であるばかりでなく、零位法により容易に高精度の測定が可能であるという利点がある。
【0012】
【発明の実施の形態】
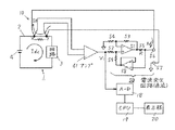
以下図面を用いて本発明を詳しく説明する。本発明は4端子構造の測定端子を用いて被測定回路の電流を測定する方式であり、図1は本発明に係る電流測定装置の一実施例を示す構成図である。
【0013】
図1において、測定端子10は2つの電圧端子と2つの電流端子からなる4端子構造の測定端子であり、測定時には電圧端子の外側に電流端子が接続されるように被測定対象1の導線2の測定点x,yの2点にそれぞれ接続される。
被測定対象1としては例えば回路3と電池4を導線2で接続したものである。
【0014】
交流定電流源11は測定端子10の電流端子に周波数fの交流定電流を供給する。交流アンプ13は交流電圧を適宜増幅するもので、コンデンサ12で直流カットされた測定端子10からの電圧信号を受けて適宜増幅する。同期整流回路14は交流アンプ14の出力を交流定電流源11の周波数fの交流信号成分で同期整流する。
【0015】
なお、コンデンサ12、交流アンプ13および同期整流回路14からなる部分は、測定端子により検出された信号から被測定対象の測定端子間の回路抵抗を測定するための回路部分であり、ここではこれを抵抗測定手段と呼ぶ。
【0016】
直流アンプ15は測定端子10の電圧端子からの電圧信号を増幅する。フィルタ16はその増幅信号から交流成分を除去する(主として周波数fの信号成分を除去する)。
なお、直流アンプ15およびフィルタ16からなる部分は、入力信号から交流信号成分を除去し測定端子間の直流電圧降下を検出するものであり、ここではこれを電圧降下測定手段と呼ぶ。
【0017】
スイッチ17は同期整流回路14とフィルタ16の出力を択一的に選択する。アナログ・デジタル変換器(以下アナログ・デジタル変換をA−D変換という)18はアナログ信号をデジタル信号に変換するもので、スイッチ17の出力をデジタル信号に変換する。
【0018】
中央処理装置(以下単にCPUという)19は所定の演算処理および各部の制御を行う機能を有する。表示器20はCPU19での演算結果を表示する。
【0019】
このような構成における動作を次に説明する。4端子構造の測定端子10を被測定対象1の測定点x、yの2点に接続する。交流定電流源11より電流端子に周波数fの交流定電流を供給し、x、y間の回路抵抗rに比例する電圧降下を電圧端子により検出する。この電圧信号をコンデンサ12に通して交流成分のみ取り出し交流アンプ13で適宜増幅し、同期整流回路14でこれを周波数fに同期整流し印加交流成分に同期した信号のみを取り出す。
【0020】
この同期整流出力は直流抵抗r(低抵抗)に比例した電圧である。この電圧信号はスイッチ17経由でA−D変換器18に送られ、デジタル変換され、CPU19に読み取られる。
【0021】
次に、被測定対象1の測定点x、yの2点間の直流電圧降下Vdcを電圧端子で検出し、直流アンプ15でこれを増幅し、続いてフィルタ16で交流成分を除去した後スイッチ17経由でA−D変換器18でデジタル変換する。デジタル変換された電圧降下の値はCPU19に読み取られる。
【0022】
CPU19は、上記2つのデータ、すなわち直流抵抗r(例えばmΩ)に比例した電圧値と直流電圧降下Vdc(例えばμV)に比例した電圧値をもとに、次式の演算により測定点x、y間の直流電流Idc(mA)を求める。
Idc=Vdc/r
このようにして得られた直流電流IdcはCPU19の制御により表示器20に表示される。
【0023】
このように、回路抵抗rとそのrに生ずる電圧降下Vdcを正確に捉えることができ、回路を切断することなく回路電流を計測することができる。
【0024】
図2は本発明の他の実施例を示す構成図である。図2において図1と同等部分には同一符号を付してある。
【0025】
波形整形回路21は図3の(a)に示す交流定電流源11の同期信号(周波数fの交流電流信号)を波形整形し、図3の(b)に示すようなパルス幅が同期信号の半周期幅であるパルス信号を発生する。
パルス発生器22は、図3の(c)に示すように波形整形回路21の出力パルスの立ち上がりに同期したパルスを発生する。
【0026】
アンプ23は測定端子10で検出した電圧信号を適宜増幅するもので、ここでは演算増幅器231と抵抗232,233より構成された一般的な増幅回路が使用されている。この演算増幅器231の非反転入力端は、オートゼロ回路24を介して測定端子10の一方の端子またはコモンラインに接続されている。また演算増幅器231の反転入力端は、自身の出力端とコモンライン間に接続された直列接続抵抗232,233の共通接続点に接続されている。なお、測定端子10の他方の端子はコモンラインに接続されている。
【0027】
オートゼロ回路24はアンプ23の入力を切り替えるもので、通常測定時にはアンプ23の非反転入力端を測定端子10に接続し、ゼロ点補正時には非反転入力端をコモンラインに接続するものである。
【0028】
反転回路27はアンプ23の出力信号を反転する回路で、ここでは演算増幅器271と入力抵抗272、帰還抵抗273より構成された一般的な反転増幅回路が使用されている。
【0029】
切換スイッチ28(S2,S3)は、アンプ23の出力またはその反転出力のいずれかを波形整形回路21の出力パルスの状態に関連して選択する。なお、この場合、アンプ23の出力はコンデンサ25を介して出力される。ただし、直流電圧測定モード時には、コンデンサ25に並列接続されたオン・オフスイッチ26(S1)がオンとなり、コンデンサ25は短絡状態となる。
【0030】
なお、アンプ23、コンデンサ25、スイッチ26、反転回路27、スイッチ28からなる部分を、ここでは信号選択手段と呼ぶ。
【0031】
積分器30は、スイッチ28から抵抗29を介して入力される電流を積分する。その積分電圧は、スイッチ311(S4)とコンデンサ312でなるサンプルホールド回路31によりサンプルホールドされる。
【0032】
コンデンサ312にホールドされた電圧は、トランジスタ33のコレクタ・ベース間に接続されたFET32のゲートに入力される。トランジスタ33のエミッタは抵抗34を介して低電圧源に接続され、コレクタは高電圧源にそれぞれ接続されている。また、トランジスタ33のエミッタは抵抗35を介して積分器30の入力端に接続されている。
このトランジスタ33のエミッタからはコンデンサ312のホールド電圧に対応した電圧が得られ、その電圧信号は、A−D変換器18でデジタル変換される。
【0033】
このような構成における動作を次に説明する。4端子構造の測定端子10を被測定対象1の測定点x、yの2点に接続する。以下2点間の抵抗を測定する抵抗測定モードと、2点間の電圧を測定する電圧測定モードとに分けて説明する。
【0034】
(1) 抵抗測定モード
交流定電流源11より電流端子に周波数fの交流定電流を供給し、x、y間の回路抵抗rに比例する電圧降下を電圧端子により検出する。オートゼロ回路24は測定端子10がアンプ23の入力端に接続されるように設定しておく。
前記検出信号をアンプ23で適宜に増幅した後コンデンサ25で直流成分を除去し直流成分の除去された信号vを得る。スイッチ28では前記交流定電流印加の半周期ごとに信号vと反転信号−vを交互に選択し、図4の(b)に示すような波形を得て、これを抵抗29を介して積分器30に印加して積分する。
【0035】
積分出力を前記交流定電流印加の1周期ごとにサンプルホールドすることにより同期整流と交流信号成分の除去が行われ、トランジスタ33のエミッタからは回路抵抗rに比例した出力電圧が得られる。
【0036】
(2) 直流電圧測定モード
抵抗測定モードの場合と同様に、交流定電流源11より電流端子に周波数fの交流定電流を供給したまま、x、y間の回路抵抗rに比例する直流電圧降下を電圧端子により検出する。オートゼロ回路24は測定端子10がアンプ23の入力端に接続されるように設定しておく。
【0037】
更に、スイッチ26をオンにしてコンデンサ25を短絡すると共に、スイッチ28のS2をオンにして、アンプ23の出力vのみが積分されるように設定する。この場合、アンプ23の出力vは図4の(c)に示すように直流分に交流が重畳した波形である。
【0038】
積分出力を前記交流定電流印加の1周期ごとにサンプルホールドすることにより直流分に重畳されている交流分がフィルター効果で除去され、直流電圧降下Vdcを検出することができる。
【0039】
このようにして回路抵抗rと、そのrに生ずる電圧降下Vdcを正確に捉えることができ、回路を切断することなく回路電流を計測することができる。
【0040】
なお、電圧測定モードにおいて、オートゼロ回路24を切換えてアンプ23の入力を短絡してオフセット分を測定しておき、CPU19での演算の際にゼロ補正を行えば、より高精度の測定が可能となる。
ただし、このゼロ補正は本発明に必須の事項ではない。
【0041】
また、平均化回路としては、必ずしも実施例のように積分器とサンプルホールド回路で構成した回路である必要はなく、通常のフィルターを使用したものでもよい。通常のフィルターを使用しても本発明の本質に変わりはない。
【0042】
図5は本発明の更に他の実施例を示す構成図である。4端子構造の測定端子10で検出された信号は、利得が十分に大きいアンプ41で増幅される。直流電流発生回路50はアンプ41の出力電圧v1に対応した電流Ioを発生する。その電流は測定端子10を介して2点間x,yに印加される。この場合、電流Ioは被測定対象1に流れる電流Idcとは逆極性となるように加えられる。
【0043】
電流発生回路50は、例えば次のような構成のものが使用される。演算増幅器51の非反転入力端に入力抵抗52が接続され、演算増幅器51の反転入力端には帰還抵抗53が接続されると共に、他方がコモンラインに接続された抵抗54が接続されている。演算増幅器51の出力は抵抗55(抵抗値R)を介して出力端子56に接続されている。
【0044】
また、出力端子56の電圧はバッファアンプ58を経由し、抵抗59を介して演算増幅器51の非反転入力端に加えられている。
そして、出力端子56,57は4端子構造の電流端子に接続されている。
【0045】
さて、図5のような構成においては、電流発生回路50から出力される電流Ioがx、yの2点間に加えられるが、このときx、y間の電圧がゼロとなるように、すなわちアンプ41が制御用誤差増幅器の役割となって、Idcと逆極性の電流Ioが流れx、y間の電圧がゼロとなるように制御される。
【0046】
この場合の電流発生回路50の入力v1と出力Ioとの関係は
Io=k・v1/R
ただし、kは比例定数
で与えられ、平衡した状態のv1を知ることによりIoすなわちIdcを求めることができる。
【0047】
アンプ41の出力v1の値はA−D変換器18でデジタル変換され、CPU19ではこれを読み取って上記の関係式に基づき演算により回路電流Idcを求め、表示器20に表示する。
【0048】
図1および図2に示す電流測定装置の測定方法は偏移法であるのに対し、図5に示す電流測定装置は零位法に相当する。この方法は測定すべき回路電流と同じ出力電流を供給する必要があるが、零位法であるためより高精度が期待できる。
【0049】
以上のような本発明の電流測定装置を使用して例えばプリント板上の回路電流を測定する場合、パターン抵抗は10mΩ程度以上あるから直流電圧検出感度を0.1μVとすると、0.01mAの電流検出感度が得られ、実用上十分な感度が得られる。バッテリ回路等の大電流・低抵抗回路の場合でも、測定端子接続の2点間の電圧降下が100μV程度あれば、十分実用に供せられる。
【0050】
ただし、直流電圧測定の場合は熱起電力の影響を受けるため、2点間の温度分布が一様でないときは測定端子の正負を入れ換えて平均化するなどの工夫が必要となる。
【0051】
なお、以上の説明は、本発明の説明および例示を目的として特定の好適な実施例を示したに過ぎない。したがって本発明は、上記実施例に限定されることなく、その本質から逸脱しない範囲で更に多くの変更、変形をも含むものである。
【0052】
【発明の効果】
以上説明したように本発明によれば、少なくともクランプセンサで測定するよりも高感度化が可能であり、磁界の影響を受けず、しかもクランプセンサ方式では不可能な非切断での電流測定が可能である等の利点があり、実用に供してその効果は大である。
また、本発明は、製品形態としては、回路電流を測定する電流計または低抵抗を測定する低抵抗測定器(いわゆるmΩメータ)、あるいはその両用が可能である。
【図面の簡単な説明】
【図1】 本発明に係る電流測定装置の一実施例を示す構成図である。
【図2】 本発明に係る電流測定装置の他の実施例を示す構成図である。
【図3】 動作説明用の各部の波形を示す図である。
【図4】 各モードにおける検出信号の波形を説明するための図である。
【図5】 本発明に係る電流測定装置の更に他の実施例を示す構成図である。
【符号の説明】
1 被測定対象
2 導線
3 回路
4 電池
10 測定端子
11 交流定電流源
12,25 コンデンサ
13 交流アンプ
14 同期整流回路
15 直流アンプ
16 フィルタ
17,26,28 スイッチ
18 A−D変換器
19 CPU
20 表示器
21 波形整形回路
22 パルス発生器
23,41 アンプ
24 オートゼロ回路
27 反転回路
28 切換スイッチ
29,34,35 抵抗
30 積分器
31 サンプルホールド回路
32 FET
33 トランジスタ
50 電流発生回路
51 演算増幅器
52,53,54,55,59 抵抗
58 バッファアンプ

Claims (3)

  1. 4端子構造の測定端子を用い、この測定端子の電流端子より被測定対象の低抵抗回路に交流の定電流を印加する交流定電流源と、
    前記測定端子の電圧端子より交流信号の電圧降下を検出し、この検出信号を交流アンプで増幅後、同期整流により前記交流信号成分に同期した信号のみを検出して前記低抵抗回路の抵抗値を測定する抵抗測定手段と、
    前記測定端子間に生ずる微小直流電圧降下を直流アンプにより検出し、この検出信号をフィルタに通して前記交流信号成分を除去し測定端子間の直流電圧降下を測定する電圧降下測定手段と、
    前記抵抗測定手段と電圧降下測定手段の各出力をデジタル変換し、そのデジタルデータをもとに演算により前記測定端子の2点間に流れる被測定対象の直流回路電流値を求め、この求めた直流回路電流を表示するように構成された手段を具備し、
    前記被測定対象の回路を切断することなく直流回路電流を測定できるように構成したことを特徴とする電流測定装置。
  2. 4端子構造の測定端子を用い、この測定端子の電流端子より被測定対象の低抵抗回路に交流の定電流を印加する交流定電流源と、
    前記測定端子の電圧端子より交流信号の電圧降下を検出し、この検出信号を交流アンプで増幅後、同期整流により前記交流信号成分に同期した信号のみを検出して前記低抵抗回路の抵抗値を測定する抵抗測定手段と、
    前記測定端子間に生ずる微小直流電圧降下を直流アンプにより検出し、この検出信号をフィルタに通して前記交流信号成分を除去し測定端子間の直流電圧降下を測定する電圧降下測定手段と、
    前記抵抗測定手段と電圧降下測定手段の各出力をデジタル変換し、そのデジタルデータをもとに演算により前記測定端子の2点間に流れる被測定対象の直流回路電流値を求め、この求めた直流回路電流を表示するように構成された手段と、
    前記抵抗測定手段の交流アンプと前記電圧降下測定手段の直流アンプを共通化して1系統の構成とすると共に、その出力を平均化する平均化回路より構成し、
    抵抗測定モードにおいては、直流分を阻止すると共に、前記印加する交流定電流の周波数の半周期ごとに信号を反転させて前記平均化回路に印加することにより同期整流を構成して直流抵抗分に比例した出力を得るようにし、
    直流電圧測定モードにおいては、前記直流分阻止を止めると共に前記半周期ごとの反転切換えを止めて単なるフィルタ回路が構成されるようにし、
    前記抵抗測定モードと直流電圧測定モードを切換えて前記測定端子間の直流低抵抗と直流微小電圧降下を交互に測定するように構成したことを特徴とする電流測定装置。
  3. 4端子構造の測定端子を用い、この測定端子の2点間に生じた被測定対象の低抵抗回路における電圧降下を検出するアンプと、
    このアンプの出力電圧で駆動され前記測定端子の電流端子より前記電圧降下がゼロとなるように被測定対象に電流を供給する電流発生回路と、
    前記アンプの出力が安定した状態のときのアンプ出力を読み取って前記測定端子の2点間に流れる被測定対象の回路電流を求める手段を具備し、前記被測定対象の回路を切断することなく回路電流を測定できるように構成したことを特徴とする電流測定装置。
JP10237599A 1999-04-09 1999-04-09 電流測定装置 Expired - Fee Related JP4222678B2 (ja)

Priority Applications (1)

Application Number Priority Date Filing Date Title
JP10237599A JP4222678B2 (ja) 1999-04-09 1999-04-09 電流測定装置

Applications Claiming Priority (1)

Application Number Priority Date Filing Date Title
JP10237599A JP4222678B2 (ja) 1999-04-09 1999-04-09 電流測定装置

Publications (2)

Publication Number Publication Date
JP2000292463A JP2000292463A (ja) 2000-10-20
JP4222678B2 true JP4222678B2 (ja) 2009-02-12

Family

ID=14325726

Family Applications (1)

Application Number Title Priority Date Filing Date
JP10237599A Expired - Fee Related JP4222678B2 (ja) 1999-04-09 1999-04-09 電流測定装置

Country Status (1)

Country Link
JP (1) JP4222678B2 (ja)

Families Citing this family (10)

* Cited by examiner, † Cited by third party
Publication number Priority date Publication date Assignee Title
JP4752264B2 (ja) * 2004-12-21 2011-08-17 Jfeスチール株式会社 溶鉱炉内の溶融物レベル計測方法及び装置
WO2007121752A1 (en) * 2006-04-24 2007-11-01 Capres A/S Method for sheet resistance and leakage current density measurements on shallow semiconductor implants
JP5717427B2 (ja) * 2010-12-07 2015-05-13 日置電機株式会社 抵抗測定装置
GB201309823D0 (en) * 2013-06-01 2013-07-17 Metroic Ltd Current measurement
JP6472687B2 (ja) * 2015-03-17 2019-02-20 日置電機株式会社 4探針測定プローブのゼロアジャスト補正治具
JP6492931B2 (ja) * 2015-04-23 2019-04-03 株式会社デンソー 出力電圧測定システム
JP7491881B2 (ja) * 2021-08-17 2024-05-28 株式会社デンソー 電流センサ
JP7491879B2 (ja) * 2021-08-17 2024-05-28 株式会社デンソー 電流センサ
JP7491880B2 (ja) * 2021-08-17 2024-05-28 株式会社デンソー 電流センサ
CN116125131A (zh) * 2022-12-30 2023-05-16 重庆金山医疗技术研究院有限公司 一种pcb电流检测方法及系统

Also Published As

Publication number Publication date
JP2000292463A (ja) 2000-10-20

Similar Documents

Publication Publication Date Title
JP4222678B2 (ja) 電流測定装置
WO2005040837A1 (ja) 磁気ブリッジ型電力センサー
JPH11202003A (ja) rmsコンバータ、電力線信号のrms値を計算するための方法および電力線信号の高速rms測定を得るための測定計器
JP3878779B2 (ja) 抵抗測定方法およびその装置
JP4175704B2 (ja) 回路素子の測定装置
JPH09166631A (ja) Pcbの手動素子分離測定回路
JP2004093416A (ja) 電圧・電流計測装置
JP3964538B2 (ja) インピーダンス測定装置
JP4040908B2 (ja) インピーダンス測定装置
JP2000271101A (ja) 生体インピ−ダンス測定装置
JPS5868615A (ja) 磁気式ロ−タリ・エンコ−ダの出力回路
CN223259798U (zh) 多功能测试设备
JP3469369B2 (ja) 電気計測器
JP2001066334A (ja) 低抵抗測定装置および回路基板検査装置
JP3077022U (ja) インピーダンス測定装置
JP2002006014A (ja) 磁気センサ
JPH0618575A (ja) 電気抵抗測定装置
JP2007132778A (ja) インピーダンス測定装置
JP2868846B2 (ja) 計測装置
JPS5847425Y2 (ja) 交流電気機器特性試験装置
JPH05504616A (ja) サンプリング回路
JPH02129570A (ja) 漏電ブレーカの動作時限試験方法
JPH0424440Y2 (ja)
JP3614889B2 (ja) 半導体ic試験装置
JP3055983U (ja) 電線路地絡箇所発見装置

Legal Events

Date Code Title Description
A621 Written request for application examination

Free format text: JAPANESE INTERMEDIATE CODE: A621

Effective date: 20060301

A977 Report on retrieval

Free format text: JAPANESE INTERMEDIATE CODE: A971007

Effective date: 20080821

A131 Notification of reasons for refusal

Free format text: JAPANESE INTERMEDIATE CODE: A131

Effective date: 20080826

A521 Written amendment

Free format text: JAPANESE INTERMEDIATE CODE: A523

Effective date: 20081017

TRDD Decision of grant or rejection written
A01 Written decision to grant a patent or to grant a registration (utility model)

Free format text: JAPANESE INTERMEDIATE CODE: A01

Effective date: 20081106

A01 Written decision to grant a patent or to grant a registration (utility model)

Free format text: JAPANESE INTERMEDIATE CODE: A01

A61 First payment of annual fees (during grant procedure)

Free format text: JAPANESE INTERMEDIATE CODE: A61

Effective date: 20081118

R150 Certificate of patent or registration of utility model

Free format text: JAPANESE INTERMEDIATE CODE: R150

FPAY Renewal fee payment (event date is renewal date of database)

Free format text: PAYMENT UNTIL: 20111128

Year of fee payment: 3

FPAY Renewal fee payment (event date is renewal date of database)

Free format text: PAYMENT UNTIL: 20111128

Year of fee payment: 3

FPAY Renewal fee payment (event date is renewal date of database)

Free format text: PAYMENT UNTIL: 20121128

Year of fee payment: 4

FPAY Renewal fee payment (event date is renewal date of database)

Free format text: PAYMENT UNTIL: 20121128

Year of fee payment: 4

FPAY Renewal fee payment (event date is renewal date of database)

Free format text: PAYMENT UNTIL: 20131128

Year of fee payment: 5

R250 Receipt of annual fees

Free format text: JAPANESE INTERMEDIATE CODE: R250

R250 Receipt of annual fees

Free format text: JAPANESE INTERMEDIATE CODE: R250

S531 Written request for registration of change of domicile

Free format text: JAPANESE INTERMEDIATE CODE: R313531

R350 Written notification of registration of transfer

Free format text: JAPANESE INTERMEDIATE CODE: R350

R250 Receipt of annual fees

Free format text: JAPANESE INTERMEDIATE CODE: R250

LAPS Cancellation because of no payment of annual fees