JP4205346B2 - 人工膝関節 - Google Patents
人工膝関節 Download PDFInfo
- Publication number
- JP4205346B2 JP4205346B2 JP2002020175A JP2002020175A JP4205346B2 JP 4205346 B2 JP4205346 B2 JP 4205346B2 JP 2002020175 A JP2002020175 A JP 2002020175A JP 2002020175 A JP2002020175 A JP 2002020175A JP 4205346 B2 JP4205346 B2 JP 4205346B2
- Authority
- JP
- Japan
- Prior art keywords
- hinge post
- hinge
- component
- extension
- hole
- Prior art date
- Legal status (The legal status is an assumption and is not a legal conclusion. Google has not performed a legal analysis and makes no representation as to the accuracy of the status listed.)
- Expired - Fee Related
Links
Images
Classifications
-
- A—HUMAN NECESSITIES
- A61—MEDICAL OR VETERINARY SCIENCE; HYGIENE
- A61F—FILTERS IMPLANTABLE INTO BLOOD VESSELS; PROSTHESES; DEVICES PROVIDING PATENCY TO, OR PREVENTING COLLAPSING OF, TUBULAR STRUCTURES OF THE BODY, e.g. STENTS; ORTHOPAEDIC, NURSING OR CONTRACEPTIVE DEVICES; FOMENTATION; TREATMENT OR PROTECTION OF EYES OR EARS; BANDAGES, DRESSINGS OR ABSORBENT PADS; FIRST-AID KITS
- A61F2/00—Filters implantable into blood vessels; Prostheses, i.e. artificial substitutes or replacements for parts of the body; Appliances for connecting them with the body; Devices providing patency to, or preventing collapsing of, tubular structures of the body, e.g. stents
- A61F2/02—Prostheses implantable into the body
- A61F2/30—Joints
- A61F2/38—Joints for elbows or knees
- A61F2/3868—Joints for elbows or knees with sliding tibial bearing
-
- A—HUMAN NECESSITIES
- A61—MEDICAL OR VETERINARY SCIENCE; HYGIENE
- A61F—FILTERS IMPLANTABLE INTO BLOOD VESSELS; PROSTHESES; DEVICES PROVIDING PATENCY TO, OR PREVENTING COLLAPSING OF, TUBULAR STRUCTURES OF THE BODY, e.g. STENTS; ORTHOPAEDIC, NURSING OR CONTRACEPTIVE DEVICES; FOMENTATION; TREATMENT OR PROTECTION OF EYES OR EARS; BANDAGES, DRESSINGS OR ABSORBENT PADS; FIRST-AID KITS
- A61F2/00—Filters implantable into blood vessels; Prostheses, i.e. artificial substitutes or replacements for parts of the body; Appliances for connecting them with the body; Devices providing patency to, or preventing collapsing of, tubular structures of the body, e.g. stents
- A61F2/02—Prostheses implantable into the body
- A61F2/30—Joints
- A61F2/38—Joints for elbows or knees
- A61F2/3836—Special connection between upper and lower leg, e.g. constrained
- A61F2/384—Special connection between upper and lower leg, e.g. constrained hinged, i.e. with transverse axle restricting the movement
- A61F2/385—Special connection between upper and lower leg, e.g. constrained hinged, i.e. with transverse axle restricting the movement also provided with condylar bearing surfaces
-
- A—HUMAN NECESSITIES
- A61—MEDICAL OR VETERINARY SCIENCE; HYGIENE
- A61F—FILTERS IMPLANTABLE INTO BLOOD VESSELS; PROSTHESES; DEVICES PROVIDING PATENCY TO, OR PREVENTING COLLAPSING OF, TUBULAR STRUCTURES OF THE BODY, e.g. STENTS; ORTHOPAEDIC, NURSING OR CONTRACEPTIVE DEVICES; FOMENTATION; TREATMENT OR PROTECTION OF EYES OR EARS; BANDAGES, DRESSINGS OR ABSORBENT PADS; FIRST-AID KITS
- A61F2/00—Filters implantable into blood vessels; Prostheses, i.e. artificial substitutes or replacements for parts of the body; Appliances for connecting them with the body; Devices providing patency to, or preventing collapsing of, tubular structures of the body, e.g. stents
- A61F2/0095—Packages or dispensers for prostheses or other implants
Landscapes
- Health & Medical Sciences (AREA)
- Orthopedic Medicine & Surgery (AREA)
- Physical Education & Sports Medicine (AREA)
- Cardiology (AREA)
- Oral & Maxillofacial Surgery (AREA)
- Transplantation (AREA)
- Engineering & Computer Science (AREA)
- Biomedical Technology (AREA)
- Heart & Thoracic Surgery (AREA)
- Vascular Medicine (AREA)
- Life Sciences & Earth Sciences (AREA)
- Animal Behavior & Ethology (AREA)
- General Health & Medical Sciences (AREA)
- Public Health (AREA)
- Veterinary Medicine (AREA)
- Prostheses (AREA)
Description
【発明の属する技術分野】
本発明は、人工膝関節に関し、より詳細には、モジュール式のヒンジ支柱と回転支持部とを有した拘束式人工膝関節に関する。
【0002】
【従来の技術】
膝関節は、一般に、大腿骨の遠位部分に位置する一対の関節顆(大腿顆)によって形成されており、その関節顆の下側表面は、脛骨の対応した形状の近位表面平坦部上に荷重をかける。大腿骨及び脛骨は、後十字靱帯、外側側副靱帯、内側側副靱帯及び前十字靱帯のような靱帯によって結合されている。これら靱帯は、大腿骨及び脛骨によって形成されている関節(すなわち、膝関節)に安定性を与えている。
【0003】
広い意味では、人工膝関節は、拘束を受けているとも考えられれば、拘束を受けていないとも考えられる。この検討の目的上、拘束を受けている拘束式人工膝関節は、ヒンジ機構によって互いに機械的に結合又は拘束されている大腿骨補綴コンポーネント及び脛骨補綴コンポーネント(すなわち、人工膝関節の大腿骨側及び脛骨側の補綴装置構成要素)を含むものとする。非拘束式人工膝関節は、機械的に結合されていない大腿骨コンポーネント及び脛骨コンポーネントを含む。非拘束式人工膝関節は、関節に安定性を与えるために、患者の既存の靱帯を利用する。このこととの兼ね合いで、拘束式人工膝関節は、患者が靱帯の欠損を受けてしまった場合及び/又は既存の靱帯が膝関節に十分な支持及び安定性を与えていない場合に対して特に適用性を有している。
【0004】
人工膝関節の脛骨コンポーネントは一体的な構造として形成されることができ、この場合には、脛骨トレイが人工膝関節の半月板コンポーネントを形成する。様々な他の人工膝関節には、脛骨コンポーネントから分離しているモジュール式半月板コンポーネントを使用しているものもある。モジュール式半月板コンポーネントを利用している装置には、半月板コンポーネント(すなわち、脛骨側支持面)が脛骨コンポーネントの脛骨トレイ部分に固定されており、脛骨トレイ部分に対して移動することができないものが含まれる。脛骨トレイに対して移動することができるモジュール式半月板コンポーネントを使用している装置もある。半月板コンポーネントと脛骨コンポーネントとの間で相対的な回転運動が行われる装置は、通常、回転支持膝関節と呼称される。したがって、回転支持膝関節は、支持部(すなわち、半月板コンポーネント)と脛骨トレイの間の運動、並びに、大腿骨コンポーネントと脛骨支持面との間の運動を許容する。
【0005】
【発明が解決しようとする課題】
従来の拘束式膝関節は、始めに、ヒンジ支柱延長体(そこから突出している端部を備えている)が脛骨コンポーネント内に配置され、その後、(大腿骨コンポーネントに回転可能に取り付けられている)ヒンジ支柱をヒンジ支柱延長体の突出端部の頂部の上に配置した後、ヒンジ支柱延長体をヒンジ支柱に接続することによって、例えばヒンジ支柱延長体をヒンジ支柱に螺入(ネジ式に挿入)することによって、大腿骨コンポーネントに接続されるようになっている構造を含んでいる。こうして接続を行った後、半月板コンポーネントが大腿骨コンポーネントと脛骨コンポーネントとの間の位置に滑り入れられる。これら従来技術の人工膝関節で使用される半月板コンポーネントは脛骨コンポーネントに固定されていた。
【0006】
本発明は、回転支持部を備えた拘束式人工膝関節を対象にしている。本発明の人工膝関節は、その移植を容易にするような構造になっている。本発明は、さらに、複数の適合したモジュール式のヒンジ支柱及び半月板コンポーネントの対を有した人工膝関節移植セットを対象にしている。
【0007】
【課題を解決するための手段】
本発明は、中空になっているカニューレ状のヒンジ支柱を有した改良された拘束式人工膝関節を提供し、相対的に侵襲が少ない手法で人工膝関節の移植を行うことを容易にする。本発明の人工膝関節セットは、別個にパッケージ化された大腿骨コンポーネントと、別個にパッケージ化された脛骨コンポーネントと、ヒンジ支柱延長体及び半月板コンポーネントを含んだ第3のパッケージとを含んでいる。このように人工膝関節の個々のコンポーネントをパッケージ化することにより、適切なヒンジ支柱延長体が容易に得られることを保証する。支持ボックスがヒンジ支柱と大腿骨コンポーネントとの間に差し挟まれる。支持ボックスは、人工膝関節の過伸展を防止するようにヒンジ支柱と協働する過伸展止めを含んでいる。本発明の拘束式人工膝関節の離脱を防止するために、様々な構造が利用される。
【0008】
本発明により構成された人工膝関節は、一対の顆状表面を有した大腿骨コンポーネントと、該顆状表面の間で大腿骨コンポーネントに回転可能に接続されているヒンジ支柱とを含んでいる。ヒンジ支柱はカニューレ状に中空になっており、内部にヒンジ支柱延長体を挿入できるようになっている。ヒンジ支柱及びヒンジ支柱延長体は、ヒンジ支柱延長体をヒンジ支柱にロックするために協働するロック用テーパ部を含んでいる。さらに、ヒンジ支柱は雌ネジ部を含んでおり、そこに止めネジを螺入して、さらにヒンジ支柱延長体を所定の位置に保持できるようになっている。脛骨コンポーネントはヒンジ支柱延長体孔を含んでおり、このヒンジ支柱延長体孔にヒンジ支柱が収容される。半月板コンポーネントも、同様に、ヒンジ支柱及びヒンジ支柱延長体を収容する孔を含んでいる。本発明の半月板コンポーネントは、人工膝関節の屈曲及び伸展の際に、ヒンジ支柱を中心として自由に回転できる。
【0009】
カニューレ状のヒンジ支柱を有し、身体前方でヒンジ支柱延長体をヒンジ支柱の中に配置でき、有利には留められ得ることによって、比較的侵襲の少ない人工膝関節置換術が可能となる。
【0010】
本発明は、有利には、大腿骨コンポーネントの顆状表面と直に接触している回転支持部を有した拘束式人工膝関節を提供する。
本発明の他の利点は、補綴装置コンポーネントをパッケージ化すること、具体的には、半月板コンポーネントと共に適切なヒンジ支柱延長体をパッケージとしてまとめることである。
【0011】
【発明の実施の形態】
添付図面に関してなされる本発明の実施形態の以下の説明を参照することにより、本発明の上記又は他の特徴及び目的、並びに、これらを達成する手法がより明らかとなり、本発明がより十分に理解されるであろう。
【0012】
複数の図面を通して、対応する符号は対応する部分を指している。図面は本発明の実施形態を示しているが、図面は必ずしも正しい縮尺になっておらず、本発明をより十分に例示、説明するために所定の特徴部が誇張されている場合がある。本願で示されている具体例は、本発明の実施形態を複数の形態で示しているだけであり、このような具体例は如何なるようにであれ本発明の範囲を制限するものとして解釈されるべきではない。
【0013】
ここで、図面、特に図2を参照すると、本発明による人工膝関節20が示されている。人工膝関節20は、通常、大腿骨側構成要素である大腿骨コンポーネント22と、脛骨側構成要素である脛骨コンポーネント24と、半月板コンポーネント26とを備えている。ヒンジ支柱40は、大腿骨コンポーネント22に回転可能に接続されており、細長いヒンジ支柱延長体孔112(図3〜図6、図13及び図14を参照)を含んでいる。細長いヒンジ支柱延長体孔112は、その内部にヒンジ支柱延長体42を配置できるようになっている。ヒンジ支柱延長体42は、その後、半月板コンポーネント26のヒンジ支柱孔114及び脛骨コンポーネント24のヒンジ支柱延長体孔110(図3〜図6、図13及び図14を参照)を通り抜ける。ヒンジ支柱40の細長いヒンジ支柱延長体孔112は、本発明の人工膝関節20の外科移植の際に、ヒンジ支柱延長体42の身体前方での配置を可能とさせることが有利である。
【0014】
図2に示されているように、ヒンジ支柱延長体42は、ロック用テーパ部46と円筒状延長部48とを含んでいる。ヒンジ支柱延長体孔112は、ロック用テーパ部46と協働してヒンジ支柱延長体42をヒンジ支柱40にロックするために、係合相手となるロック用テーパ部を含んでいる。ヒンジ支柱延長体孔112、ヒンジ支柱孔114及びヒンジ支柱延長体孔110の中を通過させてヒンジ支柱延長体42を配置した後、ヒンジ支柱40の細長いヒンジ支柱延長体孔112内のヒンジ栓用ネジ部54にヒンジ栓38を螺入することができる(図4を参照)。ヒンジ栓38は、ヒンジ支柱延長体42の端部に接触し、それにより、ロック用テーパ部46のロックを容易にする。1つの例示の実施態様では、ロック用テーパ部46は、2段階のロック用テーパ部を含む。人工膝関節20が図1に示されているように組み立てられると、顆状支持面28、30は半月板コンポーネント26の支持面86、88(図2を参照)と接触する。
【0015】
ヒンジ支柱延長体42は、典型的には、例えばコバルトクロム合金のような不活性金属から一体構造として形成される。しかしながら、ヒンジ支柱延長体42は、チタンのような他の生体適合性金属又は合金から構成されることも可能である。本願明細書中においては、コバルトクロム合金から形成されている様々なコンポーネントについて言及する。このようなコンポーネントも、周知のようにチタンのような他の生体適合性金属又は合金から構成されることができる。図4に示されているように、ヒンジ栓レンチ102が、ヒンジ栓38をヒンジ支柱40のヒンジ栓用ネジ部54に螺入するために使用されている。図9に示されているように、ヒンジ栓38は、ヒンジ栓38とヒンジ支柱40内のヒンジ栓用ネジ部54との間でロック接続をなすために、ロック材100を具備している。1つの例示の実施態様では、ヒンジ栓38はコバルトクロム合金から形成されている。ロック材100は、例えば超高分子量ポリエチレン(UHMWPE)のような任意の適した生体適合性ポリマからなる。
【0016】
例えば図2に示されているように、大腿骨コンポーネント22は、顆状支持面28、30を備え、その間に支持ボックス壁76が配置されている。大腿骨コンポーネント22は外部側壁82をさらに備えており、図2においては、外部側壁82の一方のみを見ることができる。顆状支持面28、30は、当該業界で周知となっているように、滑らかで、かなり研磨された、概略回転楕円面状の形状になっており、外部側壁82から外方へ延びている。大腿骨コンポーネント22は、当該技術分野で公知となっているように、大腿骨116(図3〜図5、図13及び図14)に挿入するために、モジュール式の大腿骨ステム32をさらに備えている。大腿骨コンポーネント22は内部側壁80をさらに備えており、図2においては、内部側壁80の1つのみが図示されている。内部側壁80は、支持ボックス壁76と概略垂直であり、支持ボックス壁76から外方へ延びている。大腿骨コンポーネント22は、典型的には、一体的構造として、例えばコバルトクロム合金のような不活性金属から形成されている。
【0017】
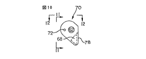
支持ボックス70は、図1に示されているように、大腿骨コンポーネント22の顆状支持面28、30の間に配置されるように構成されている。支持ボックス70はさらに図10〜図12に示されており、取付突起72と、ヒンジピン孔62と、過伸展止め又は過伸展抑制装置68と、回転防止表面78とを備えている。図2に示されているように、大腿骨コンポーネント22は、取付突起72を受容する寸法の取付突起孔74を含んでいる。図1は、大腿骨コンポーネント22に機能可能となるように配置されている支持ボックス70を示しており、回転防止表面78が大腿骨コンポーネント22の支持ボックス壁76と直に接触していると共に、取付突起72が取付突起孔74内に受容された状態になっている。回転防止表面78が支持ボックス壁76と接触する配置関係は、取付突起72の長手方向軸線周りに支持ボックス70が回転することを防止する。支持ボックス70が大腿骨コンポーネント22に配置されているとき、支持ボックス70のヒンジピン孔62は大腿骨コンポーネント22のヒンジピン孔58及び螺刻された(すなわち、ネジ部を形成された)ヒンジピン孔56と整列する。支持ボックス70は、例えば超高分子量ポリエチレン(UHMWPE)のような任意の適したプラスチックから形成することができる。
【0018】
ヒンジ支柱40は、ヒンジピン34により、大腿骨コンポーネント22に回転可能に接続されている。ヒンジ支柱40は、支持ボックス70の対向する壁の間に配置され、ヒンジピン孔52がヒンジピン孔56、58、62と整列するように位置決めされる。したがって、支持ボックス70の対向する壁は、ヒンジ支柱40と大腿骨コンポーネント22の内部側壁80との間の支持面又は軸受面として機能する。支持ボックス70の対向する壁の間にヒンジ支柱40を配置する前に、ヒンジピンスリーブ36がヒンジ支柱40のヒンジピン孔52内に機能可能となるように配置される。ヒンジ支柱40はコバルトクロム合金から形成される一方、ヒンジピンスリーブ36は例えば超高分子ポリエチレン(UHMWPE)のような適したプラスチックから形成される。ヒンジピンスリーブ36は、ヒンジ支柱40のヒンジピン孔52とヒンジピン34との間の支持部又は軸受部として機能する。したがって、ヒンジピンスリーブ36は、ヒンジピン34を収容するような寸法になっているヒンジピン孔50を含んでいる。支持ボックス70の対向する壁の間にヒンジピン40を配置した後、ヒンジピン34はヒンジピン孔56、62、50及び58の中を通して配置される。その後、ヒンジピン60は、ヒンジピン34の頭部が外部側壁82と同一平面になるまで、螺刻されたヒンジピン孔56のネジ部とネジ込み式に係合される。
【0019】
図1に示されているように、上述したようにヒンジピン34の挿入が行われた後、ヒンジピン栓120がヒンジピン34の六角形状の凹部内に配置される。ヒンジピン栓120は、ヒンジピン34の六角形状の凹部内に配置されたとき、ヒンジピン34の頭部と同一平面になる。使用の際、ヒンジピン栓120は、異物がヒンジピン34の六角形状凹部に進入することを概ね防止する。例えば、ヒンジピン栓120は、ヒンジピン34の六角形状凹部内に骨が成長して入り込むことを概ね妨げると共に、六角形状凹部内に骨セメントが配置されることも防止する。上述したヒンジ支柱40の大腿骨コンポーネント22への接続は、大腿骨コンポーネント22の移植前に行われる。大腿骨コンポーネント22は、支持ボックス70、ヒンジ支柱40、ヒンジピンスリーブ36、ヒンジピン34及びヒンジピン栓120が上述したようにして予め組み立てられた状態でパッケージとして包装され、販売されている。この組み立ては製造環境で行われることが好ましい。
【0020】
ヒンジ支柱40を大腿骨コンポーネント22に予め組み付けておくことにより、従来技術の拘束式人工膝関節で要求されていた幾つかの細かい組み立て段階(その多くは移植の際に行われていた)を排除する。さらに、上述したようなヒンジ支柱40と大腿骨コンポーネント22との組立体は、人工膝関節20の様々な部分の置換を容易にする。具体的には、ヒンジピン34を大腿骨コンポーネント22にネジにより接続することにより、例えば支持ボックス70、ヒンジピンスリーブ36及びヒンジ支柱40を含む人工膝関節20の様々なコンポーネントの除去及び置換が可能となる。
【0021】
使用の際、大腿骨の骨幹が、大腿骨コンポーネント22の外部側壁82に接触し、顆状支持面28、30の下側まで延びる可能性がある。ヒンジピン34を除去するには、大腿骨の骨幹の比較的小さな部分を除去してヒンジピン34へのアクセスを与えるために、冠のこが使用される。大腿骨コンポーネント22は、移植のために、大腿骨の骨幹の大規模な除去を要せず、さらに、例えばヒンジ支柱40、支持ボックス70又はヒンジピンスリーブ36の置換を行うために、大腿骨コンポーネント22の除去も要しないことは利点である。ヒンジピン34に(例えば、上述したように冠のこを使用して)アクセスするときには、ヒンジピン34の六角形状凹部へのアクセスを与えるために、ヒンジピン栓120が例えば外科用メス及び鉗子を用いて除去され、六角レンチを六角形状凹部に挿入して大腿骨コンポーネント22からヒンジピン34をねじって外せるようにする。
【0022】
人工膝関節20は一対の過伸展止め機構を備えている。第1の過伸展止め機構は、顆状支持面28、30において残余の顆状支持面と比較して曲率半径が増加した部分から構成されている。過伸展が3度になったときに、曲率半径が増加しているこの部分が半月板コンポーネント26と接触し、さらに過伸展することを阻止するように機能する。過伸展が引き続いて行われれば、曲率半径が増加した領域が大腿骨コンポーネント22を半月板コンポーネント26から持ち上げて離れさせる。第2の過伸展止め機構は、過伸展が4度になったときに、人工膝関節20のさらなる過伸展を妨げるように機能する。第2の過伸展止め機構は、ヒンジ支柱40の過伸展止め表面66と、支持ボックス70の過伸展止め68とから構成されている。過伸展止め表面66は、例えば図2及び図3に示されているように、カニューレ状に中空になったヒンジ支柱40の凹面状の後壁から構成されている。支持ボックス70の過伸展止め68は、回転防止表面78とは反対側の支持ボックス70の後壁から延びている突出部から構成されている。過伸展止め68は、例えば図12に示されているように、凸面状の外側表面を含んでいる。ヒンジ支柱40の過伸展止め表面66は支持ボックス70の過伸展止め68と協働して、人工膝関節20に対して過伸展止めを提供する。凹面状の過伸展止め表面66は、過伸展が4度になったときに、支持ボックス70の過伸展止め68の凸面状外側表面と直に接触した状態となり、人工膝関節20のさらなる過伸展を防止する。
【0023】
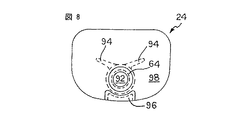
図1〜図5、図8、図13及び図14には、脛骨コンポーネント24が図示されている。例えば図2に示されているように、脛骨コンポーネント24は、脛骨ステム92に接続されている脛骨トレイ98を含んでいる。安定化リブ94は、脛骨ステム92に対して脛骨トレイ98を安定化させ、脛骨118(例えば図13を参照)における脛骨コンポーネント24の回転を妨げる。1つの例示の実施態様では、脛骨コンポーネント24はコバルトクロム合金から形成されている。脛骨コンポーネント24は、ヒンジ支柱延長体孔110内に配置されている脛骨ブッシング64をさらに含んでいる。脛骨ブッシング64は、例えば超高分子量ポリエチレン(UHMWPE)のようなプラスチックから形成されており、ヒンジ支柱延長体42と脛骨コンポーネント24のヒンジ支柱延長体孔110との間の支持部又は軸受面を提供する。上述したように、半月板コンポーネント26は回転支持部を備え、したがって、ヒンジ支柱延長体42は脛骨コンポーネント24に対して回転する。脛骨ブッシング64はヒンジ支柱延長体42のこの回転を容易にさせる。
【0024】
脛骨コンポーネント24は回転突起96をさらに含んでいる。例えば図3に示されているように、回転突起96は、脛骨コンポーネント24の脛骨トレイ98から上方に突出しており、さらに脛骨トレイ98と概略平行な面内に延びている。回転突起96は半月板コンポーネント26の切り抜き部90と協働して、以下でさらに説明されているように、ヒンジ支柱延長体42周りの半月板コンポーネント26の回転を案内する。
【0025】
半月板コンポーネント26の1つの実施形態が図1〜図7、図13及び図14に図示されている。半月板コンポーネント26は、例えば超高分子量ポリエチレン(UHMWPE)のような適したプラスチックから形成されており、大腿骨コンポーネント22と脛骨コンポーネント24との間の回転支持面を提供する。半月板コンポーネント26は、人工膝関節20の運動の際に大腿骨コンポーネント22の顆状支持面28、30と接触する支持面86、88を含んでいる。上述したように、半月板コンポーネント26は、ヒンジ支柱40、したがってこれを通るヒンジ支柱延長体42が通過できるようになっているヒンジ支柱孔114をさらに含んでいる。半月板コンポーネント26は、回転支持部を形成するために、ヒンジ支柱延長体42の長手方向軸線周りに回転するように機能可能である。
【0026】
本発明によれば、様々な高さを有した半月板コンポーネントを構成することが可能である。本発明の1つの有利な態様では、半月板コンポーネント26は、販売及び使用のために、ヒンジ支柱延長体42と共にパッケージ化して包装され、コンポーネントの選択を容易にしており、1つの実施形態では、ヒンジ支柱延長体42が脛骨コンポーネント24内に適正に延びることを保証している。ヒンジ支柱延長体42が脛骨コンポーネント24内に延びていることは、移植後に人工膝関節20が分離することを防止するように機能する。当該技術分野で公知となっているように、状況によっては、人工膝関節の大腿骨コンポーネントは脛骨コンポーネントに対して移動し、ヒンジ支柱延長体の長手方向軸線と平行な方向に脛骨コンポーネントから離れる可能性がある。このことを念頭において、ヒンジ支柱延長体42は、すぐ上で説明されたように、大腿骨コンポーネント22が移動する状況でさえも、脛骨コンポーネント24内に保持されるに十分な長さとされている。1つの例示の実施形態では、ヒンジ支柱延長体42は脛骨コンポーネント24のヒンジ支柱延長体孔110内に4センチメートルほど延びている。
【0027】
半月板コンポーネント26は脛骨コンポーネント24の回転突起96と協働する切り抜き部90を含んでおり、この切り抜き部90は、半月板コンポーネント26の回転を案内すると共に、脛骨コンポーネント24の脛骨トレイ98から半月板コンポーネント26が持ち上がることを阻止している。例えば図3に示されているように、切り抜き部90は、回転突起96の中で脛骨トレイ98を含んでいる平面と概略平行な平面内に延びている部分(すなわち、リップ)を収容し、半月板コンポーネント26の一部(すなわち、リップ)は、回転突起96と脛骨トレイ98との間で脛骨トレイ98を含む平面と平行な方向に位置するようになる。この構成は、半月板コンポーネント26が脛骨トレイ98からヒンジ支柱延長体42の長手方向軸線と平行な方向に離れて配置されることを防止するように機能する。さらに、回転突起96は、切り抜き部90の背部に対して作用して、半月板コンポーネント26のヒンジ支柱延長体42の長手方向軸線周りの回転を制限する。
【0028】
図5に示されているように、ヒンジ支柱延長体42が人工膝関節20から除去されたとき、脛骨コンポーネント24と大腿骨コンポーネント22との間から半月板コンポーネント26を滑り出させることができる。図示されているように、ヒンジ支柱孔114は、大腿骨コンポーネント22と脛骨コンポーネント24との間の位置から半月板コンポーネント26を滑り出させることができるように、ヒンジ支柱40の回転を許容するような寸法になっている。この構成は、ヒンジ支柱40の除去を要求することなく、移植された半月板コンポーネント26を置換することを可能とさせる。図5は、半月板コンポーネント26の交換を可能とさせるために、ヒンジ支柱延長体42を除去することを示している。図示されているように、ヒンジ栓レンチ102は、ヒンジ栓38を除去するために、ヒンジ栓38に係合する。ヒンジ栓38が除去された後、スラップハンマー(slaphammer)104がヒンジ支柱延長体42の螺刻された孔44とネジにより係合させられる。次に、スラップハンマー104を使用して、ヒンジ支柱延長体42を除去できるように細長いヒンジ支柱延長体孔112のロック用テーパ部46の係合を解除させることができる。
【0029】
図13及び図14は、本発明の人工膝関節の代替実施形態を図示している。この代替実施形態は、ロック用テーパ部46aと円筒状延長部48aとフランジ106とを有したヒンジ支柱延長体42aを使用している。この実施形態では、ロック用テーパ部46aが細長いヒンジ支柱延長体孔112内に着座させられそこにロックされるように、ヒンジ支柱延長体42aの頂点に力を付与するために、ロック器具を使用することができる。ヒンジ支柱延長体42aの除去を容易にするために、フランジ106を使用することができる。図13に示されているように、ヒンジ支柱延長体42aのための2次ロック装置として止めネジ108を使用することができる。図13及び図14に示されている人工膝関節は、他の全ての面においては、本発明による人工膝関節の第1の実施形態に関して上記で説明されたように構成されている。
【0030】
図15、図16及び図17は、本発明のヒンジ支柱延長体及び脛骨ブッシングの代替実施形態を図示している。この実施形態では、脛骨コンポーネント24aは、ヒンジ支柱延長体孔110内に形成された環状脛骨ブッシング拡張溝122を含んでいる。脛骨ブッシング64aは、環状脛骨ブッシング拡張溝122内に配置される保持フランジ130を含んでいる。図15は、脛骨コンポーネント24a内に配置される脛骨ブッシング64a内にヒンジ支柱延長体の円筒状延長部48bを挿入した状態を示している。円筒状延長部48bが脛骨ブッシング64a内へと前進すると、傾斜面126が脛骨ブッシング64aの環状ロック突起128と接触し、保持フランジ130の外方への移動を引き起こさせ、図17に示されているように、円筒状延長部48bが着座位置に進むことを可能とさせる。環状脛骨ブッシング拡張溝122は、脛骨ブッシング64a内に円筒状延長部48bを配置できるように、保持フランジ130の半径方向の拡張を可能とさせる寸法になっている。完全に着座した位置(図17)では、環状ロック突起128を環状ロック溝124に係合させることによって、円筒状延長部48bが所定位置にロックされる。さらに、保持フランジ130は、環状脛骨拡張溝122と協働して、脛骨ブッシング64aの軸線方向の移動を妨げ、その結果、円筒状延長部48bの軸線方向の移動を妨げる。この実施形態では、大腿骨コンポーネントは、半月板コンポーネントと接触する位置関係で保持され、大腿骨コンポーネントが持ち上げられて離れることは概略妨げられる。1つの例示の実施態様では、脛骨ブッシング64aは超高分子量ポリエチレン(UHMWPE)から形成されている。
【0031】
図18及び図19は、本発明の人工膝関節の他の代替実施形態を図示している。この実施形態では、ヒンジ支柱40bの位置を半月板コンポーネント26aのヒンジ支柱孔114内に保持するために、ロック用クリップ134が使用されている。ヒンジ支柱40bは、上述したように、ヒンジピン34を使用して、大腿骨コンポーネント22に回転可能に取り付けられている。この実施形態では、ヒンジ支柱40bはロック用クリップ溝132を含み、半月板コンポーネント26aはロック用クリップ孔136を含んでいる。ヒンジ支柱40bをヒンジ支柱孔114内に配置するときに、ロック用クリップ134は、図19に示されているように、ロック用クリップ134の各分岐が半月板コンポーネント26aのロック用クリップ孔136内に挿入された状態で、配置される。図19に示されているように、ロック用クリップ134は、ロック用クリップ溝132と係合して、半月板コンポーネント26aのヒンジ支柱孔114内にヒンジ支柱40bを保持する。この実施形態では、大腿骨コンポーネント22の持ち上がりが、ヒンジ支柱40bと半月板コンポーネント26aとの係合により妨げられる。本発明の人工膝関節のこの実施形態は、上述したように脛骨トレイから半月板コンポーネントが持ち上がることを阻止するために、脛骨コンポーネント上の回転突起と共に半月板コンポーネントの切り抜き部をさらに利用することができる。
【0032】
図20は本発明のヒンジ支柱のさらに別の代替実施形態を図示している。図20に示されているヒンジ支柱40cは、ヒンジ支柱40cを強化するために、補強材138を含んでいる。
【0033】
本発明は例示の構造を有しているものとして説明されたが、本発明は本開示の精神及び範囲内でさらに改変されることが可能である。したがって、本出願は、本発明の総合的な原理を使用した本発明の任意の変化形態、使用法又は適用形態を網羅することを意図したものである。さらに、本出願は、本発明が属する技術分野において公知になっている又は慣用されているような本開示からの逸脱範囲をも網羅することを意図している。
【図面の簡単な説明】
【図1】本発明による組み立て後の人工膝関節の斜視図である。
【図2】図1の人工膝関節の組立分解図である。
【図3】身体前方部にてヒンジ支柱延長体をヒンジ支柱に配置することを含む本発明の人工膝関節の組み立てを示している、切り取って内部を見せた組立分解図である。
【図4】ヒンジ支柱延長体のロックを容易にするために、ヒンジ栓(例えば、止めネジ)をヒンジ支柱に留めることを示している切取内部図である。
【図5】ヒンジ支柱延長体の除去を示している、切り取って内部を見せた組立分解図である。
【図6】本発明の半月板コンポーネントの底面図である。
【図7】本発明の半月板コンポーネントの正面図である。
【図8】本発明による脛骨コンポーネントの平面図である。
【図9】本発明によるヒンジ栓の断面図である。
【図10】本発明による支持ボックスの側面図である。
【図11】本発明による支持ボックスの正面図である。
【図12】本発明による支持ボックスの平面図である。
【図13】本発明の人工膝関節の代替実施形態の切り取って内部を見せた組立分解図である。
【図14】図13に示されている実施形態による組み立て後の人工膝関節の切取内部図である。
【図15】本発明のヒンジ支柱延長体及び脛骨ブッシングの代替実施形態の部分切取内部図である。
【図16】図15の実施形態の部分切取内部図であり、ヒンジ支柱延長体を脛骨ブッシングに挿入した状態を示している。
【図17】図15の実施形態の部分切取内部図であり、脛骨ブッシングに完全に挿入されたヒンジ支柱延長体を示している。
【図18】本発明の人工膝関節の代替実施形態の組立分解図である。
【図19】本発明の代替実施形態による半月板コンポーネントの断面図である。
【図20】本発明の代替実施形態によるヒンジ支柱の立面図である。
【符号の説明】
20…人工膝関節
22…大腿骨コンポーネント
24…脛骨コンポーネント
26…半月板コンポーネント
28…顆状支持面
30…顆状支持面
38…ヒンジピン栓
40…ヒンジ支柱
42…ヒンジ支柱延長体
66…過伸展止め表面
68…過伸展止め
70…支持ボックス
86…支持面
88…支持面
110…ヒンジ支柱延長体孔
112…ヒンジ支柱延長体孔
132…ロック用クリップ溝
134…ロック用クリップ
136…ロック用クリップ孔
Claims (16)
- 大腿骨コンポーネントと、ヒンジ支柱延長体と、脛骨コンポーネントとを備えている人工膝関節において、
大腿骨コンポーネントが該大腿骨コンポーネントに回転可能に接続されているヒンジ支柱を有し、前記ヒンジ支柱が該ヒンジ支柱の長手方向軸線を横切る方向に延びる回転軸線を中心として前記大腿骨コンポーネントに対して回転可能になっており、該ヒンジ支柱が内部に前記ヒンジ支柱延長体を配置するのに適した寸法になっている細長いヒンジ支柱延長体孔を含み、前記ヒンジ支柱延長体が前記ヒンジ支柱延長体孔内に機能可能となるように配置されたときに、前記ヒンジ支柱延長体が、前記ヒンジ支柱延長体孔の第1の端部を通り抜け、前記ヒンジ支柱延長体孔の第2の端部から突出するようになっており、前記ヒンジ支柱延長体孔の前記第1の端部及び前記第2の端部が前記細長いヒンジ支柱延長体孔の両端部からなり、
脛骨コンポーネントが第2のヒンジ支柱延長体孔を含み、人工膝関節が機能可能となるように組み立てられたときに、前記ヒンジ支柱延長体が前記第2のヒンジ支柱延長体孔内に配置されるようになっている人工膝関節。 - 前記人工膝関節が、前記大腿骨コンポーネントと前記脛骨コンポーネントとの間に配置される半月板コンポーネントをさらに備え、
前記大腿骨コンポーネントが顆状支持面を含み、前記半月板コンポーネントが、前記大腿骨コンポーネントの前記顆状支持面と対面している協働支持面と、ヒンジ支柱孔とを含み、前記人工膝関節が機能可能となるように組み立てられたときに、前記ヒンジ支柱が前記ヒンジ支柱孔内に配置されるようになっている、請求項1に記載の人工膝関節。 - 前記ヒンジ支柱延長体の長手方向軸線を中心とする前記半月板コンポーネントの回転を案内するために、前記脛骨コンポーネントが前記半月板コンポーネントの切り抜き部と協働する回転突起を含む、請求項2に記載の人工膝関節。
- 前記回転突起が前記脛骨コンポーネントの脛骨トレイと概略平行に延びているリップ部を含み、前記回転突起のリップ部が前記半月板コンポーネントの前記切り抜き部に形成された対向するリップ部と対面して配置され、前記半月板コンポーネントのリップ部が前記脛骨トレイと前記回転突起のリップ部との間で前記脛骨トレイと垂直な方向に配置される、請求項3に記載の人工膝関節。
- 前記人工膝関節が止めネジをさらに備え、前記細長いヒンジ支柱延長体孔の前記第1の端部にネジ部が形成されており、前記止めネジが前記細長いヒンジ支柱延長体孔の前記ネジ部と係合し、前記ヒンジ支柱延長体がロック用テーパ部を含み、前記ヒンジ支柱延長体孔が協働テーパ部を含み、前記止めネジを前記細長いヒンジ支柱延長体孔にねじ込むことにより、前記ロック用テーパ部を前記協働テーパ部と係合させロックする、請求項1に記載の人工膝関節。
- 前記人工膝関節が前記大腿骨コンポーネントに接続されている支持ボックスをさらに備え、該支持ボックスが前記ヒンジ支柱と前記大腿骨コンポーネントとの間に配置されて、前記ヒンジ支柱が人工膝関節の屈曲及び伸張の際に前記大腿骨コンポーネントと接触しないようになっており、前記支持ボックスが過伸展止めを含むと共に、前記ヒンジ支柱が過伸展止め表面を含み、前記過伸展止めが前記過伸展止め表面に接触して、予め定められた過伸展点を越える前記人工膝関節のさらなる過伸展を防止するようになっている、請求項1に記載の人工膝関節。
- 前記過伸展止めが凸状突起からなる、請求項6に記載の人工膝関節。
- 前記過伸展止め表面が前記細長いヒンジ支柱延長体孔の凹状部分からなる、請求項6に記載の人工膝関節。
- 前記予め定められた過伸展点では、前記人工膝関節の過伸展が4度となる、請求項6に記載の人工膝関節。
- 前記顆状支持面が第1の部分及び第2の部分を含み、該第1の部分が第1の曲率半径を有し、該第2の部分が第2の曲率半径を有しており、前記第1の部分が前記半月板コンポーネントの前記協働支持面と接触しているとき、前記大腿骨コンポーネントが回転軸線を一定に維持し、前記大腿骨コンポーネントの前記第2の部分が前記半月板コンポーネントの前記協働支持面と接触しているとき、前記大腿骨コンポーネントの回転軸線が前記半月板コンポーネントから離れ、前記人工膝関節の過伸展が3度になったときに、前記大腿骨コンポーネントの前記第2の部分が前記半月板コンポーネントと接触するようになっている、請求項2に記載の人工膝関節。
- 前記ヒンジ支柱延長体がネジ部を設けられた孔を含んでいる、請求項1に記載の人工膝関節。
- 第1の端部及び第2の端部を有した細長いヒンジ支柱延長体孔を含んだヒンジ支柱が回転可能に接続されている大腿骨コンポーネントと、
前記ヒンジ支柱の前記ヒンジ支柱延長体孔の前記第1の端部を通って配置され、前記ヒンジ支柱の前記ヒンジ支柱延長体孔の前記第2の端部を通って前記ヒンジ支柱から延びているヒンジ支柱延長体と、
ヒンジ支柱延長体孔を含んでいる脛骨コンポーネントと、
前記大腿骨コンポーネントと前記脛骨コンポーネントとの間に配置される半月板コンポーネントと、を備える人工膝関節であって、
前記ヒンジ支柱が該ヒンジ支柱の長手方向軸線を横切る方向に延びる回転軸線を中心として前記大腿骨コンポーネントに対して回転可能になっており、
前記人工膝関節が機能可能となるように組み立てられたときに、前記ヒンジ支柱延長体が前記脛骨コンポーネントの前記ヒンジ支柱延長体孔内に配置され、前記ヒンジ支柱が、前記脛骨コンポーネントにより、前記ヒンジ支柱延長体の長手方向軸線と垂直な方向への変位に対して完全に拘束を受け、前記大腿骨コンポーネントが前記ヒンジ支柱延長体の前記長手方向軸線を中心として回転可能になっており、
前記大腿骨コンポーネントが顆状支持面を含み、前記半月板コンポーネントが前記大腿骨コンポーネントの前記顆状支持面と接触する協働支持面を含むようになっており、
前記半月板コンポーネントがヒンジ支柱孔を含み、前記人工膝関節が機能可能となるように組み立てられたときに、前記ヒンジ支柱が該ヒンジ支柱孔内に配置され、前記半月板コンポーネントがヒンジ支柱の長手方向軸線を中心として回転可能になる人工膝関節。 - 第1の端部及び第2の端部を有した細長いヒンジ支柱延長体孔を含んだヒンジ支柱が回転可能に接続されている大腿骨コンポーネントと、
前記ヒンジ支柱の前記ヒンジ支柱延長体孔の前記第1の端部を通って配置され、前記ヒンジ支柱の前記ヒンジ支柱延長体孔の前記第2の端部を通って前記ヒンジ支柱から延びているヒンジ支柱延長体と、
ヒンジ支柱延長体孔を含んでいる脛骨コンポーネントと、
前記大腿骨コンポーネントと前記脛骨コンポーネントとの間に配置される半月板コンポーネントと、
前記大腿骨コンポーネントに接続されている支持ボックスと、
を備える人工膝関節であって、
前記ヒンジ支柱が該ヒンジ支柱の長手方向軸線を横切る方向に延びる回転軸線を中心として前記大腿骨コンポーネントに対して回転可能になっており、
前記人工膝関節が機能可能となるように組み立てられたときに、前記ヒンジ支柱延長体が前記脛骨コンポーネントの前記ヒンジ支柱延長体孔内に配置され、前記ヒンジ支柱が、前記脛骨コンポーネントにより、前記ヒンジ支柱延長体の長手方向軸線と垂直な方向への変位に対して完全に拘束を受け、前記大腿骨コンポーネントが前記ヒンジ支柱延長体の前記長手方向軸線を中心として回転可能になっており、
前記大腿骨コンポーネントが顆状支持面を含み、前記半月板コンポーネントが前記大腿骨コンポーネントの前記顆状支持面と接触する協働支持面を含むようになっており、
該支持ボックスが前記ヒンジ支柱と前記大腿骨コンポーネントとの間に配置されて、前記ヒンジ支柱が人工膝関節の屈曲及び伸張の際には前記大腿骨コンポーネントと接触しないようになっており、前記支持ボックスが過伸展止めを含むと共に、前記ヒンジ支柱が過伸展止め表面を含み、前記過伸展止めが前記過伸展止め表面に接触して、予め定められた過伸展点を越える前記人工膝関節のさらなる過伸展を防止するようになっている人工膝関節。 - ヒンジ支柱が回転可能に接続されている大腿骨コンポーネントと、
前記ヒンジ支柱から延びているヒンジ支柱延長体と、
ヒンジ支柱延長体孔を含んでいる脛骨コンポーネントと、
前記大腿骨コンポーネントと前記脛骨コンポーネントとの間に配置される半月板コンポーネントと、を備える人工膝関節であって、
前記ヒンジ支柱が該ヒンジ支柱の長手方向軸線を横切る方向に延びる回転軸線を中心として前記大腿骨コンポーネントに対して回転可能になっており、
前記人工膝関節が機能可能となるように組み立てられたときに、前記ヒンジ支柱延長体が前記脛骨コンポーネントの前記ヒンジ支柱延長体孔内に配置され、前記ヒンジ支柱が、前記脛骨コンポーネントにより、前記ヒンジ支柱延長体の長手方向軸線と垂直な方向への変位に対して完全に拘束を受け、前記大腿骨コンポーネントが前記ヒンジ支柱延長体の前記長手方向軸線を中心として回転可能になっており、
前記大腿骨コンポーネントが顆状支持面を含み、前記半月板コンポーネントが前記大腿骨コンポーネントの前記顆状支持面と接触する協働支持面を含むようになっており、
前記ヒンジ支柱が内部にヒンジ支柱延長体を配置するのに適した寸法になっている細長いヒンジ支柱延長体孔を含んでおり、前記ヒンジ支柱延長体が前記ヒンジ支柱の前記ヒンジ支柱延長体孔内に機能可能となるように配置されたときに、前記ヒンジ支柱延長体が、前記ヒンジ支柱の前記ヒンジ支柱延長体孔の第1の端部を通り抜け、前記ヒンジ支柱の前記ヒンジ支柱延長体孔の第2の端部から突出するようになっており、前記ヒンジ支柱の前記ヒンジ支柱延長体孔の前記第1の端部及び前記第2の端部が前記ヒンジ支柱の前記細長いヒンジ支柱延長体孔の両端部からなる人工膝関節。 - 第1の端部及び第2の端部を有した細長いヒンジ支柱延長体孔を含んだヒンジ支柱が回転可能に接続されている大腿骨コンポーネントと、
前記ヒンジ支柱の前記ヒンジ支柱延長体孔の前記第1の端部を通って配置され、前記ヒンジ支柱の前記ヒンジ支柱延長体孔の前記第2の端部を通って前記ヒンジ支柱から延びているヒンジ支柱延長体と、
第2のヒンジ支柱延長体孔を含み、前記人工膝関節が機能可能となるように組み立てられたときに、前記ヒンジ支柱延長体が前記第2のヒンジ支柱延長体孔内に配置されるようになっている脛骨コンポーネントと、を備える人工膝関節であって、
前記ヒンジ支柱が該ヒンジ支柱の長手方向軸線を横切る方向に延びる回転軸線を中心として前記大腿骨コンポーネントに対して回転可能になっており、
前記人工膝関節が前記大腿骨コンポーネントに接続されている支持ボックスをさらに備え、前記支持ボックスが前記ヒンジ支柱と前記大腿骨コンポーネントとの間に配置されて、前記ヒンジ支柱が人工膝関節の屈曲及び伸張の際には前記大腿骨コンポーネントと接触しないようになっており、前記支持ボックスが過伸展止めを含むと共に、前記ヒンジ支柱が過伸展止め表面を含み、前記過伸展止めが前記過伸展止め表面に接触して、予め定められた過伸展点を越えた前記人工膝関節のさらなる過伸展を防止するようにした人工膝関節。 - ヒンジピンを介してヒンジ支柱が回転可能に接続されている大腿骨コンポーネントと、
ヒンジピン栓と、
前記ヒンジ支柱から延びているヒンジ支柱延長体と、
ヒンジ支柱延長体孔を含み、前記人工膝関節が機能可能となるように組み立てられたときに前記ヒンジ支柱延長体が前記ヒンジ支柱延長体孔内に配置されるようになっている脛骨コンポーネントと、
前記大腿骨コンポーネントと前記脛骨コンポーネントとの間に配置された半月板コンポーネントと、
を備える人工膝関節であって、
前記ヒンジ支柱が該ヒンジ支柱の長手方向軸線を横切る方向に延びる前記ヒンジピンの長手方向軸線を中心として回転可能であり、前記ヒンジピンが第1の端部に六角形状の凹部を含み、該第1の端部が前記大腿骨コンポーネントと同一平面となり、前記ヒンジピン栓が前記六角形状の凹部内に配置され、前記ヒンジピンの前記第1の端部と同一平面になっており、
前記大腿骨コンポーネントが顆状支持面を含み、前記半月板コンポーネントが、前記大腿骨コンポーネントの前記顆状支持面と対面している協働支持面を含み、前記半月板コンポーネントがヒンジ支柱孔を含み、前記人工膝関節が機能可能となるように組み立てられたときに、前記ヒンジ支柱が該ヒンジ支柱孔内に配置されるようになっている人工膝関節。
Applications Claiming Priority (2)
| Application Number | Priority Date | Filing Date | Title |
|---|---|---|---|
| US09/771,061 US6485519B2 (en) | 2001-01-29 | 2001-01-29 | Constrained prosthetic knee with rotating bearing |
| US09/771061 | 2001-01-29 |
Publications (3)
| Publication Number | Publication Date |
|---|---|
| JP2002253586A JP2002253586A (ja) | 2002-09-10 |
| JP2002253586A5 JP2002253586A5 (ja) | 2005-08-11 |
| JP4205346B2 true JP4205346B2 (ja) | 2009-01-07 |
Family
ID=25090569
Family Applications (1)
| Application Number | Title | Priority Date | Filing Date |
|---|---|---|---|
| JP2002020175A Expired - Fee Related JP4205346B2 (ja) | 2001-01-29 | 2002-01-29 | 人工膝関節 |
Country Status (5)
| Country | Link |
|---|---|
| US (2) | US6485519B2 (ja) |
| EP (4) | EP2272468B1 (ja) |
| JP (1) | JP4205346B2 (ja) |
| AU (1) | AU780963B2 (ja) |
| CA (1) | CA2367652C (ja) |
Families Citing this family (106)
| Publication number | Priority date | Publication date | Assignee | Title |
|---|---|---|---|---|
| US6695848B2 (en) | 1994-09-02 | 2004-02-24 | Hudson Surgical Design, Inc. | Methods for femoral and tibial resection |
| US8603095B2 (en) | 1994-09-02 | 2013-12-10 | Puget Bio Ventures LLC | Apparatuses for femoral and tibial resection |
| US6972039B2 (en) * | 1999-03-01 | 2005-12-06 | Biomet, Inc. | Floating bearing knee joint prosthesis with a fixed tibial post |
| US6558426B1 (en) | 2000-11-28 | 2003-05-06 | Medidea, Llc | Multiple-cam, posterior-stabilized knee prosthesis |
| US6485519B2 (en) | 2001-01-29 | 2002-11-26 | Bristol-Myers Squibb Company | Constrained prosthetic knee with rotating bearing |
| US6719800B2 (en) * | 2001-01-29 | 2004-04-13 | Zimmer Technology, Inc. | Constrained prosthetic knee with rotating bearing |
| US6773461B2 (en) * | 2001-01-29 | 2004-08-10 | Zimmer Technology, Inc. | Constrained prosthetic knee with rotating bearing |
| US8062377B2 (en) | 2001-03-05 | 2011-11-22 | Hudson Surgical Design, Inc. | Methods and apparatus for knee arthroplasty |
| JP2005514157A (ja) * | 2001-12-21 | 2005-05-19 | スミス アンド ネフュー インコーポレーテッド | ヒンジ式関節システム |
| WO2003070127A1 (en) * | 2002-02-20 | 2003-08-28 | Nemcomed, Ltd. | Knee arthroplasty prosthesis and method |
| US6902583B2 (en) | 2002-04-25 | 2005-06-07 | Medicinelodge, Inc. | Tripartite attachment mechanism and method for a modular prosthesis |
| US20030204268A1 (en) * | 2002-04-25 | 2003-10-30 | Medicinelodge, Inc. | Binary attachment mechanism and method for a modular prosthesis |
| US6875239B2 (en) | 2002-04-25 | 2005-04-05 | Medicinelodge, Inc. | Modular prosthesis for replacing bone and method |
| US7182786B2 (en) | 2002-04-25 | 2007-02-27 | Zimmer Technology, Inc. | Modular bone implant, tool, and method |
| US7105021B2 (en) * | 2002-04-25 | 2006-09-12 | Scimed Life Systems, Inc. | Implantable textile prostheses having PTFE cold drawn yarns |
| JP4808026B2 (ja) | 2002-08-22 | 2011-11-02 | ヴィクソム ヒューマン バイオニクス インコーポレーテッド | 膝上部肢切断患者用の駆動源付き義足 |
| US7736394B2 (en) | 2002-08-22 | 2010-06-15 | Victhom Human Bionics Inc. | Actuated prosthesis for amputees |
| US6887276B2 (en) | 2002-12-13 | 2005-05-03 | Medicine Lodge, Inc | Modular implant for joint reconstruction and method of use |
| CA2511216C (en) | 2002-12-20 | 2011-02-01 | Smith & Nephew, Inc. | High performance knee prostheses |
| US7025789B2 (en) * | 2003-04-29 | 2006-04-11 | The University Of Hong Kong | Prosthetic device and method for total joint replacement in small joint arthroplasty |
| US7198071B2 (en) | 2003-05-02 | 2007-04-03 | Össur Engineering, Inc. | Systems and methods of loading fluid in a prosthetic knee |
| AU2004281743B2 (en) | 2003-10-17 | 2011-06-09 | Smith & Nephew, Inc. | High flexion articular insert |
| US7261740B2 (en) * | 2003-10-29 | 2007-08-28 | Wright Medical Technology, Inc. | Tibial knee prosthesis |
| US7815689B2 (en) | 2003-11-18 | 2010-10-19 | Victhom Human Bionics Inc. | Instrumented prosthetic foot |
| US20050107889A1 (en) | 2003-11-18 | 2005-05-19 | Stephane Bedard | Instrumented prosthetic foot |
| US8287545B2 (en) | 2004-01-14 | 2012-10-16 | Hudson Surgical Design, Inc. | Methods and apparatus for enhanced retention of prosthetic implants |
| US8021368B2 (en) | 2004-01-14 | 2011-09-20 | Hudson Surgical Design, Inc. | Methods and apparatus for improved cutting tools for resection |
| US8114083B2 (en) | 2004-01-14 | 2012-02-14 | Hudson Surgical Design, Inc. | Methods and apparatus for improved drilling and milling tools for resection |
| US20060030854A1 (en) | 2004-02-02 | 2006-02-09 | Haines Timothy G | Methods and apparatus for wireplasty bone resection |
| US7637959B2 (en) | 2004-02-12 | 2009-12-29 | össur hf | Systems and methods for adjusting the angle of a prosthetic ankle based on a measured surface angle |
| US7753960B2 (en) * | 2004-02-26 | 2010-07-13 | Omni Life Science, Inc. | Modular knee prosthesis |
| JP4681931B2 (ja) * | 2004-04-28 | 2011-05-11 | ビュッシェル−パパス.トラスト | 蝶番式人工膝関節 |
| WO2005110293A2 (en) | 2004-05-07 | 2005-11-24 | Ossur Engineering, Inc. | Magnetorheologically actuated prosthetic knee |
| US20060014677A1 (en) * | 2004-07-19 | 2006-01-19 | Isotechnika International Inc. | Method for maximizing efficacy and predicting and minimizing toxicity of calcineurin inhibitor compounds |
| CA2863933C (en) | 2004-12-22 | 2018-08-07 | Ossur Hf | Systems and methods for processing limb motion |
| US20060142869A1 (en) * | 2004-12-23 | 2006-06-29 | Gross Thomas P | Knee prosthesis |
| US8801802B2 (en) | 2005-02-16 | 2014-08-12 | össur hf | System and method for data communication with a mechatronic device |
| DE102005015598B4 (de) * | 2005-03-24 | 2015-07-30 | Smith & Nephew Orthopaedics Ag | Kniegelenkendoprothese und Protheseset mit einer derartigen Kniegelenkendoprothese |
| SE528516C2 (sv) | 2005-04-19 | 2006-12-05 | Lisa Gramnaes | Kombinerat aktivt och passivt benprotessystem samt en metod för att utföra en rörelsecykel med ett sådant system |
| DE102005022584B4 (de) * | 2005-05-09 | 2007-03-08 | Aesculap Ag & Co. Kg | Gekoppelte Knieendoprothese |
| EP1942843B1 (en) | 2005-09-01 | 2017-03-01 | Össur hf | System and method for determining terrain transitions |
| US8211181B2 (en) * | 2005-12-14 | 2012-07-03 | New York University | Surface guided knee replacement |
| WO2008005905A1 (en) * | 2006-06-30 | 2008-01-10 | Smith & Nephew, Inc. | Anatomical motion hinged prosthesis |
| US7658767B2 (en) | 2006-06-30 | 2010-02-09 | Depuy Products, Inc. | Hinged orthopaedic prosthesis |
| US8114164B2 (en) * | 2006-11-21 | 2012-02-14 | Zafer Termanini | Bicondylar resurfacing prosthesis and method for insertion through direct lateral approach |
| US8974540B2 (en) | 2006-12-07 | 2015-03-10 | Ihip Surgical, Llc | Method and apparatus for attachment in a modular hip replacement or fracture fixation device |
| US8579985B2 (en) | 2006-12-07 | 2013-11-12 | Ihip Surgical, Llc | Method and apparatus for hip replacement |
| CA2671523C (en) | 2006-12-07 | 2013-02-12 | Anatol Podolsky | Method and apparatus for total hip replacement |
| JP5448842B2 (ja) * | 2007-01-10 | 2014-03-19 | バイオメト マニファクチャリング コーポレイション | 膝関節プロテーゼシステムおよび埋込み方法 |
| US8328873B2 (en) | 2007-01-10 | 2012-12-11 | Biomet Manufacturing Corp. | Knee joint prosthesis system and method for implantation |
| US8187280B2 (en) | 2007-10-10 | 2012-05-29 | Biomet Manufacturing Corp. | Knee joint prosthesis system and method for implantation |
| US8163028B2 (en) | 2007-01-10 | 2012-04-24 | Biomet Manufacturing Corp. | Knee joint prosthesis system and method for implantation |
| US8562616B2 (en) | 2007-10-10 | 2013-10-22 | Biomet Manufacturing, Llc | Knee joint prosthesis system and method for implantation |
| US8632600B2 (en) | 2007-09-25 | 2014-01-21 | Depuy (Ireland) | Prosthesis with modular extensions |
| US8128703B2 (en) | 2007-09-28 | 2012-03-06 | Depuy Products, Inc. | Fixed-bearing knee prosthesis having interchangeable components |
| US9204967B2 (en) | 2007-09-28 | 2015-12-08 | Depuy (Ireland) | Fixed-bearing knee prosthesis having interchangeable components |
| US7918893B2 (en) * | 2007-09-30 | 2011-04-05 | Depuy Products, Inc. | Hinged orthopaedic prosthesis |
| US7871442B2 (en) * | 2007-11-30 | 2011-01-18 | Howmedica Osteonics Corp. | Knee prosthesis with four degrees freedom |
| CN102036626B (zh) | 2008-03-24 | 2014-07-02 | 奥瑟Hf公司 | 经股的假肢系统和用于操作该系统的方法 |
| US9119723B2 (en) | 2008-06-30 | 2015-09-01 | Depuy (Ireland) | Posterior stabilized orthopaedic prosthesis assembly |
| US8187335B2 (en) | 2008-06-30 | 2012-05-29 | Depuy Products, Inc. | Posterior stabilized orthopaedic knee prosthesis having controlled condylar curvature |
| US8206451B2 (en) | 2008-06-30 | 2012-06-26 | Depuy Products, Inc. | Posterior stabilized orthopaedic prosthesis |
| US8828086B2 (en) | 2008-06-30 | 2014-09-09 | Depuy (Ireland) | Orthopaedic femoral component having controlled condylar curvature |
| US8236061B2 (en) | 2008-06-30 | 2012-08-07 | Depuy Products, Inc. | Orthopaedic knee prosthesis having controlled condylar curvature |
| US8192498B2 (en) | 2008-06-30 | 2012-06-05 | Depuy Products, Inc. | Posterior cructiate-retaining orthopaedic knee prosthesis having controlled condylar curvature |
| US9168145B2 (en) | 2008-06-30 | 2015-10-27 | Depuy (Ireland) | Posterior stabilized orthopaedic knee prosthesis having controlled condylar curvature |
| EP2272466A1 (en) * | 2009-07-10 | 2011-01-12 | Medizinische Hochschule Hannover | Knee joint prosthesis and method for producing said prosthesis |
| US9011547B2 (en) | 2010-01-21 | 2015-04-21 | Depuy (Ireland) | Knee prosthesis system |
| US8308808B2 (en) | 2010-02-19 | 2012-11-13 | Biomet Manufacturing Corp. | Latent mobile bearing for prosthetic device |
| CN103153237B (zh) | 2010-07-24 | 2016-01-20 | 捷迈有限公司 | 用于膝部假体的非对称胫骨部件 |
| US8545571B2 (en) | 2010-07-30 | 2013-10-01 | Howmedica Osteonics Corp. | Stabilized knee prosthesis |
| CA2808090C (en) | 2010-08-12 | 2018-09-11 | Smith & Nephew, Inc. | Structures for use in orthopaedic implant fixation and methods of installation onto a bone |
| EP3348236B1 (en) | 2010-09-10 | 2019-11-20 | Zimmer, Inc. | Motion facilitating tibial components for a knee prosthesis |
| US8287601B2 (en) | 2010-09-30 | 2012-10-16 | Depuy Products, Inc. | Femoral component of a knee prosthesis having an angled cement pocket |
| US8317870B2 (en) | 2010-09-30 | 2012-11-27 | Depuy Products, Inc. | Tibial component of a knee prosthesis having an angled cement pocket |
| EP4000563A1 (en) | 2011-01-27 | 2022-05-25 | Smith & Nephew, Inc. | Constrained knee prosthesis |
| WO2012145043A2 (en) * | 2011-04-21 | 2012-10-26 | Signal Medical Corporation | Implant with multi-directional pivoting |
| US11771442B2 (en) | 2011-05-13 | 2023-10-03 | Biomet Manufacturing Llc | Bi-cruciate knee system |
| WO2012158604A1 (en) | 2011-05-13 | 2012-11-22 | Biomet Manufacturing Corp. | Bi-cruciate knee system |
| US8617250B2 (en) | 2011-06-17 | 2013-12-31 | Biomet Manufacturing, Llc | Revision knee tibial locking mechanism |
| EP3848005B1 (en) | 2011-11-18 | 2025-04-23 | Zimmer, Inc. | Tibial bearing component for a knee prosthesis with improved articular characteristics |
| US8961612B2 (en) | 2012-08-30 | 2015-02-24 | Biomet Manufacturing, Llc | Knee component having orbital interface boss |
| EP3427702B1 (en) | 2013-02-26 | 2024-12-18 | Össur HF | Prosthetic foot with enhanced stability and elastic energy return |
| GB2512609A (en) * | 2013-04-03 | 2014-10-08 | Fitzbionics Ltd | Total knee replacement prosthesis assembly |
| US9925052B2 (en) | 2013-08-30 | 2018-03-27 | Zimmer, Inc. | Method for optimizing implant designs |
| US9194403B2 (en) | 2014-02-23 | 2015-11-24 | Dylan Pierre Neyme | Modular hinged joint for use with agonist-antagonist tensile inputs |
| DE102014106012B9 (de) | 2014-04-29 | 2015-09-17 | Aesculap Ag | Kniegelenkendoprothese |
| JP5663692B1 (ja) * | 2014-07-17 | 2015-02-04 | 経憲 武井 | 膝継手、並びに、それを用いた義足及びパワーアシスト装置 |
| US10092407B2 (en) * | 2014-09-23 | 2018-10-09 | Tecres S.P.A. | Constrained spacer device for the knee joint |
| KR101707592B1 (ko) * | 2015-03-05 | 2017-02-17 | 주식회사 코렌텍 | 인공슬관절용 인서트 유닛 |
| WO2017053196A1 (en) | 2015-09-21 | 2017-03-30 | Zimmer, Inc. | Prosthesis system including tibial bearing component |
| DE102015119105A1 (de) | 2015-11-06 | 2017-05-11 | Aesculap Ag | Kniegelenkendoprothese |
| EP4541322A3 (en) | 2017-03-10 | 2025-06-18 | Zimmer, Inc. | Tibial prosthesis with tibial bearing component securing feature |
| CA3063415C (en) | 2017-05-12 | 2021-10-19 | Zimmer, Inc. | Femoral prostheses with upsizing and downsizing capabilities |
| US10925743B2 (en) * | 2017-09-26 | 2021-02-23 | Stephen J. Incavo | Knee arthroplasty with modular femoral adapters |
| US11426282B2 (en) | 2017-11-16 | 2022-08-30 | Zimmer, Inc. | Implants for adding joint inclination to a knee arthroplasty |
| WO2019210323A1 (en) | 2018-04-27 | 2019-10-31 | Delta Ortho, Llc | Hinge joint system with distal femoral replacement prosthetic knee |
| US10835380B2 (en) | 2018-04-30 | 2020-11-17 | Zimmer, Inc. | Posterior stabilized prosthesis system |
| US10736748B2 (en) | 2018-05-02 | 2020-08-11 | Depuy Ireland Unlimited Company | Orthopaedic prosthetic system for a hinged-knee prosthesis |
| US11033396B2 (en) | 2019-02-05 | 2021-06-15 | Depuy Ireland Unlimited Company | Orthopaedic prosthetic system for a rotating hinged-knee prosthesis |
| US11116641B2 (en) | 2019-02-05 | 2021-09-14 | Depuy Ireland Unlimited Company | Orthopaedic prosthetic system for a rotating hinged-knee prosthesis |
| US11723775B2 (en) * | 2020-08-12 | 2023-08-15 | Asheesh BEDI | Magnetic medical implants |
| TR202101656A2 (tr) * | 2021-02-03 | 2022-08-22 | Hipokrat Tibbi Malzemeler Imalat Ve Pazarlama Anonim Sirketi | Rotasyonlu menteşeli̇ di̇z protezleri̇ni̇n çalişma prensi̇bi̇nde yeni̇li̇k |
| US20230024863A1 (en) * | 2021-07-23 | 2023-01-26 | Microport Orthopedics Holdings Inc. | Endoprosthetic rotating hinge knee assemblies, subassemblies, and methods |
| US20240207061A1 (en) * | 2022-12-22 | 2024-06-27 | Zimmer, Inc. | Tibial component for a constrained prosthetic knee |
| US20240207056A1 (en) * | 2022-12-22 | 2024-06-27 | Zimmer, Inc. | Constrained prosthetic knee |
Family Cites Families (233)
| Publication number | Priority date | Publication date | Assignee | Title |
|---|---|---|---|---|
| US1504903A (en) | 1924-05-05 | 1924-08-12 | James F Rowley | Artificial foot |
| US2183076A (en) | 1938-09-16 | 1939-12-12 | Joseph Spievak | Artificial ankle joint |
| GB1328497A (en) | 1969-09-16 | 1973-08-30 | Nat Res Dev | Artificial knee joint |
| GB1285460A (en) | 1969-12-24 | 1972-08-16 | Nat Res Dev | Improvements relating to replacement elbow joints |
| FR2076838A5 (ja) | 1970-01-30 | 1971-10-15 | Lyon Ass Arts Et Metiers | |
| US3924277A (en) * | 1971-05-04 | 1975-12-09 | Nat Res Dev | Knee joint prosthesis |
| DE2122390B2 (de) | 1971-05-06 | 1973-08-16 | Aesculap Werke AG vormals Jetter & Scheerer, 7200 Tuttlingen | Kniegelenk-endoprothese |
| DE7141256U (de) | 1971-11-02 | 1974-08-29 | Hartmann E | Gelenk - Prothese |
| GB1349587A (en) | 1971-11-18 | 1974-04-03 | Elson R A | Prosthetic knee joints |
| GB1413477A (en) | 1972-01-05 | 1975-11-12 | Nat Res Dev | Bone joint prosthesis |
| US3824630A (en) | 1972-06-23 | 1974-07-23 | Zimmer Mfg Co | Prosthetic joint for total knee replacement |
| CH555671A (de) | 1972-09-01 | 1974-11-15 | Sulzer Ag | Endo-prothese fuer ein kniegelenk. |
| US3837009A (en) | 1972-12-07 | 1974-09-24 | New York Soc Relief Of Rupture | Knee prosthesis |
| US3813700A (en) | 1973-04-16 | 1974-06-04 | S Tennant | Prosthetic knee device |
| US3909854A (en) | 1973-05-03 | 1975-10-07 | Ysidore M Martinez | Knee implant prosthesis |
| US3918101A (en) | 1973-10-02 | 1975-11-11 | Jean Lagrange | Total knee-joint prosthesis |
| GB1475688A (en) | 1974-04-03 | 1977-06-01 | Silentbloc | Flexible joints |
| GB1514479A (en) | 1974-10-01 | 1978-06-14 | Elson R | Prosthetic joints |
| GB1507309A (en) | 1974-10-14 | 1978-04-12 | Atomic Energy Authority Uk | Prosthetic knee joints |
| GB1457147A (en) | 1974-11-19 | 1976-12-01 | Univ Melbourne | Prosthetic knee joint |
| US3934272A (en) | 1974-11-19 | 1976-01-27 | The University Of Melbourne | Knee prosthesis |
| US3996624A (en) | 1975-02-28 | 1976-12-14 | United States Surgical Corporation | Prosthetic knee joint |
| CA1045752A (en) | 1975-05-26 | 1979-01-09 | Robert W. Jackson | Prosthetic implant |
| US4016606A (en) | 1975-07-14 | 1977-04-12 | Research Corporation | Knee joint prosthesis |
| US4219893A (en) | 1977-09-01 | 1980-09-02 | United States Surgical Corporation | Prosthetic knee joint |
| US4301553A (en) | 1975-08-15 | 1981-11-24 | United States Surgical Corporation | Prosthetic knee joint |
| BR7506468A (pt) | 1975-10-03 | 1975-12-02 | S Eshriqui | Protese de joelho articulada |
| DE2549318C3 (de) | 1975-11-04 | 1981-10-29 | Dadurian, Aram, Dr.Med. | Kniegelenkprothese |
| DE2549819C3 (de) | 1975-11-06 | 1982-04-29 | Sanitätshaus Schütt & Grundei, Werkstätten für Orthopädie-Technik, 2400 Lübeck | Endoprothese für ein Kniegelenk |
| CA1073151A (en) | 1977-01-10 | 1980-03-11 | Bristol-Myers Squibb Company | Prosthetic joint for total knee replacement |
| US4094017A (en) | 1977-02-16 | 1978-06-13 | Larry Stanford Matthews | Knee joint prosthesis with patellar-femoral contact |
| US4136405A (en) | 1977-04-29 | 1979-01-30 | Zimmer U.S.A. | Rotational offset knee prosthesis |
| DE2810748A1 (de) | 1977-05-09 | 1978-11-23 | Hauni Werke Koerber & Co Kg | Kuenstliches gelenk fuer gliedmassen |
| US4216549A (en) | 1977-06-02 | 1980-08-12 | Purdue Research Foundation | Semi-stable total knee prosthesis |
| US4134158A (en) | 1977-08-22 | 1979-01-16 | Laure Prosthetics, Inc. | Knee joint prosthesis |
| DE2744710A1 (de) | 1977-10-05 | 1979-04-19 | Heldt Gert Dipl Ing Dr | Endoprothese eines kniegelenkes |
| US4209861A (en) | 1978-02-22 | 1980-07-01 | Howmedica, Inc. | Joint prosthesis |
| US4224697A (en) | 1978-09-08 | 1980-09-30 | Hexcel Corporation | Constrained prosthetic knee |
| US4215439A (en) | 1978-10-16 | 1980-08-05 | Zimmer, USA | Semi-restraining knee prosthesis |
| FR2445137A1 (fr) | 1978-12-29 | 1980-07-25 | Deaux Ets | Prothese de genou |
| US4217666A (en) | 1979-04-05 | 1980-08-19 | Minnesota Mining And Manufacturing Company | Tibial prosthesis having a U-shaped intramedullary stem |
| US4257129A (en) * | 1979-05-21 | 1981-03-24 | Volz Robert G | Prosthetic knee joint tibial implant |
| US4340978A (en) | 1979-07-02 | 1982-07-27 | Biomedical Engineering Corp. | New Jersey meniscal bearing knee replacement |
| DE2953729A1 (en) | 1979-08-31 | 1982-01-28 | W Brown | Mount to absorb shocks |
| US4262368A (en) | 1979-09-24 | 1981-04-21 | Wright Manufacturing Company | Rotating and hinged knee prosthesis |
| US4358859A (en) | 1979-10-04 | 1982-11-16 | Schurman David J | Articulated prosthetic knee and method for implanting same |
| GB2061730A (en) | 1979-10-26 | 1981-05-20 | Polyzoides A J | Endoprosthetic bone joint devices |
| GB2070939B (en) | 1980-03-11 | 1984-01-11 | Howmedica | Prosthetic joint |
| IE50750B1 (en) | 1980-03-11 | 1986-07-09 | Howmedica | A set for assembly into a modular prosthesis |
| EP0046926B1 (de) | 1980-09-03 | 1985-12-11 | Waldemar Link (GmbH & Co.) | Kniegelenk-Endoprothese |
| US4383337A (en) | 1980-10-22 | 1983-05-17 | Zimmer Usa, Inc. | Elbow prosthesis |
| DE3119841A1 (de) * | 1981-05-19 | 1982-12-16 | GMT GESELLSCHAFT FüR MEDIZINISCHE TECHNIK MBH | Endoprothese eines kniegelenks |
| FR2508793A1 (fr) | 1981-07-06 | 1983-01-07 | Andre Rambert | Prothese totale du genou |
| CA1191301A (en) | 1981-12-07 | 1985-08-06 | Frank M. Lewis | Shock absorbing stop for prosthetic devices |
| US4578081A (en) | 1982-02-17 | 1986-03-25 | Howmedica International, Inc. | Bone prosthesis |
| US4790854A (en) | 1982-02-17 | 1988-12-13 | Howmedica International Inc. | Bone prosthesis assembly |
| GB2120943B (en) | 1982-03-13 | 1985-04-11 | Thackray C F Ltd | Knee prosthesis |
| IE54640B1 (en) | 1982-11-04 | 1989-12-20 | Howmedica | Joint prosthesis |
| US4828564A (en) | 1983-03-22 | 1989-05-09 | National Research Development Corporation | Endoprosthetic bone joint devices |
| DE3315401A1 (de) | 1983-04-28 | 1984-10-31 | Feldmühle AG, 4000 Düsseldorf | Kniegelenkendoprothese |
| DE3334531A1 (de) | 1983-09-23 | 1985-08-01 | orthoplant Endoprothetik GmbH, 2800 Bremen | Endoprothese fuer ein kniegelenk |
| DE3431645A1 (de) | 1984-08-29 | 1986-03-13 | GMT GESELLSCHAFT FüR MEDIZINISCHE TECHNIK MBH | Endoprothese |
| DE3432929C2 (de) | 1984-09-07 | 1986-12-18 | S + G Implants GmbH, 2400 Lübeck | Tibiaprothesenteil einer Kniegelenk-Endoprothese |
| DE3433263A1 (de) | 1984-09-11 | 1986-03-20 | S + G Implants GmbH, 2400 Lübeck | Kniegelenk-endoprothese |
| CH668703A5 (de) | 1985-04-15 | 1989-01-31 | Sulzer Ag | Verbindung zweier implantat-teile. |
| US4655778A (en) | 1985-08-12 | 1987-04-07 | Harrington Arthritis Research Center | Joint prosthesis |
| DE3529894A1 (de) | 1985-08-21 | 1987-03-05 | Orthoplant Endoprothetik | Kniegelenk-endoprothese |
| FR2601873B1 (fr) * | 1986-07-25 | 1994-07-01 | Cuilleron J | Prothese totale intracondylienne du genou |
| FR2604893B1 (fr) | 1986-10-14 | 1995-06-16 | Roulements Soc Nouvelle | Prothese d'articulation du genou |
| US4822366A (en) | 1986-10-16 | 1989-04-18 | Boehringer Mannheim Corporation | Modular knee prosthesis |
| FR2612767B1 (fr) * | 1987-03-23 | 1994-01-21 | Letournel Emile | Prothese totale du genou |
| DE3726969C1 (de) | 1987-08-13 | 1989-03-16 | Friedrichsfeld Gmbh | Kniegelenk-Endoprothese |
| US5194066A (en) | 1988-01-11 | 1993-03-16 | Boehringer Mannheim Corporation | Modular joint prosthesis |
| US4834081A (en) | 1988-01-11 | 1989-05-30 | Boehringer Mannheim Corporation | Tool for removing modular joint prosthesis |
| IT1219818B (it) | 1988-01-22 | 1990-05-24 | Salus Srl | Articolazione artificiale,in particolare articolazione di ginocchio |
| US4888021A (en) | 1988-02-02 | 1989-12-19 | Joint Medical Products Corporation | Knee and patellar prosthesis |
| US5011496A (en) | 1988-02-02 | 1991-04-30 | Joint Medical Products Corporation | Prosthetic joint |
| FR2628316A1 (fr) | 1988-03-08 | 1989-09-15 | Lebeguec Pierre | Prothese totale du genou |
| US4950298A (en) | 1988-04-08 | 1990-08-21 | Gustilo Ramon B | Modular knee joint prosthesis |
| SE468199B (sv) | 1988-04-11 | 1992-11-23 | Astra Ab | Knaeledsprotes |
| US4834758A (en) | 1988-05-26 | 1989-05-30 | New York Society For The Relief Of The Ruptured And Crippled, Maintaining The Hospital For Special Surgery | Bone prosthesis for the leg and thigh |
| US5772661A (en) | 1988-06-13 | 1998-06-30 | Michelson; Gary Karlin | Methods and instrumentation for the surgical correction of human thoracic and lumbar spinal disease from the antero-lateral aspect of the spine |
| US7431722B1 (en) | 1995-02-27 | 2008-10-07 | Warsaw Orthopedic, Inc. | Apparatus including a guard member having a passage with a non-circular cross section for providing protected access to the spine |
| US4944757A (en) | 1988-11-07 | 1990-07-31 | Martinez David M | Modulator knee prosthesis system |
| US4936853A (en) | 1989-01-11 | 1990-06-26 | Kirschner Medical Corporation | Modular knee prosthesis |
| FR2641966B1 (fr) | 1989-01-23 | 1991-05-10 | Implants Instr Ch Fab | Dispositif adaptable aux protheses totales intracondyliennes du genou |
| US5007933A (en) | 1989-01-31 | 1991-04-16 | Osteonics Corp. | Modular knee prosthesis system |
| US5061271A (en) * | 1989-02-27 | 1991-10-29 | Boehringer Mannheim Corporation | Tool for separating components of a modular joint prosthesis |
| US5015255A (en) | 1989-05-10 | 1991-05-14 | Spine-Tech, Inc. | Spinal stabilization method |
| US4938769A (en) | 1989-05-31 | 1990-07-03 | Shaw James A | Modular tibial prosthesis |
| DE3922294C1 (ja) | 1989-07-07 | 1991-01-03 | Eska Medical Luebeck Medizintechnik Gmbh & Co, 2400 Luebeck, De | |
| US5171283A (en) | 1989-07-11 | 1992-12-15 | Biomedical Engineering Trust | Compound shape rotating bearing |
| DE4002424A1 (de) | 1989-07-26 | 1991-02-07 | Orthoplant Endoprothetik | Kniegelenk-endoprothese |
| GB2237200B (en) | 1989-09-27 | 1994-02-23 | Univ London | Knee prosthesis |
| US5139521A (en) | 1990-01-27 | 1992-08-18 | Ingrid Schelhas | Knee prosthesis |
| US5019103A (en) | 1990-02-05 | 1991-05-28 | Boehringer Mannheim Corporation | Tibial wedge system |
| FR2664492A1 (fr) | 1990-07-11 | 1992-01-17 | Bousquet Gilles | Prothese bicondylienne du genou. |
| US5116375A (en) | 1990-08-27 | 1992-05-26 | Hofmann Aaron A | Knee prosthesis |
| US5370701A (en) | 1990-09-28 | 1994-12-06 | Arch Development Corporation | Rotating/sliding contrained prosthetic knee |
| CA2078228C (en) | 1990-11-14 | 2000-04-11 | Lawrence Pottenger | Improved floating bearing prosthetic knee |
| DE4038037B4 (de) | 1990-11-29 | 2010-06-02 | Waldemar Link Gmbh & Co. Kg | Kniegelenkendoprothese |
| DE4102509C2 (de) * | 1991-01-29 | 1996-06-20 | Peter Brehm | Kniegelenkendoprothese |
| US5609639A (en) | 1991-02-04 | 1997-03-11 | Walker; Peter S. | Prosthesis for knee replacement |
| US5358527A (en) | 1991-03-22 | 1994-10-25 | Forte Mark R | Total knee prosthesis with resurfacing and posterior stabilization capability |
| DE4110048C1 (en) | 1991-03-27 | 1992-07-30 | S + G Implants Gmbh, 2400 Luebeck, De | Knee joint prosthesis with femur and tibia portions - has femur condylar shells recessed on ventral side towards shell inside |
| DE4119226A1 (de) | 1991-06-11 | 1992-12-17 | Gmt Medizinische Technik Gmbh | Kniegelenkendoprothese |
| US5395401A (en) | 1991-06-17 | 1995-03-07 | Bahler; Andre | Prosthetic device for a complex joint |
| US5180383A (en) | 1991-10-09 | 1993-01-19 | Haydon Frank A | Method and device for attaching artificial joint implants to the ends of bones |
| DE4141757C1 (ja) | 1991-12-18 | 1993-07-15 | Eska Medical Gmbh & Co, 2400 Luebeck, De | |
| FR2685631A1 (fr) | 1991-12-31 | 1993-07-02 | Cuilleron J | Prothese totale du genou intracondylienne. |
| US5330534A (en) | 1992-02-10 | 1994-07-19 | Biomet, Inc. | Knee joint prosthesis with interchangeable components |
| US5246459A (en) | 1992-02-24 | 1993-09-21 | Elias Sarmed G | Modular tibial support pegs for the tibial component of a prosthetic knee replacement system |
| NZ243181A (en) | 1992-04-23 | 1994-10-26 | Michael John Pappas | Prosthetic joint with guide means to limit articulation of a first element and bearing means to two degrees of freedom |
| US5427586A (en) | 1992-05-07 | 1995-06-27 | Ingrid Schelhas | Knee-joint endoprosthesis |
| US5282867A (en) | 1992-05-29 | 1994-02-01 | Mikhail Michael W E | Prosthetic knee joint |
| US5824102A (en) | 1992-06-19 | 1998-10-20 | Buscayret; Christian | Total knee prosthesis |
| FR2692475B1 (fr) | 1992-06-19 | 2000-04-21 | Montpellier Chirurgie | Prothese totale du genou. |
| FR2692476B1 (fr) | 1992-06-23 | 1994-10-07 | Medinov Sa | Prothèse totale du genou, du type à glissement. |
| US5326368A (en) * | 1992-09-22 | 1994-07-05 | Howmedica, Inc. | Modular acetabular cup |
| FR2696926B1 (fr) | 1992-10-19 | 1994-12-09 | Cuilleron J | Prothèse totale du genou du type intracondylienne. |
| FR2696927B1 (fr) | 1992-10-20 | 1994-12-09 | Implants Instr Ch Fab | Prothèse totale du genou. |
| US5314481A (en) | 1992-11-12 | 1994-05-24 | Wright Medical Technology, Inc. | Hinged knee prosthesis with extended patellar track |
| US5658342A (en) | 1992-11-16 | 1997-08-19 | Arch Development | Stabilized prosthetic knee |
| US5290313A (en) | 1992-11-23 | 1994-03-01 | Zimmer, Inc. | Offset prosthetic stem extension |
| US5549687A (en) | 1992-12-10 | 1996-08-27 | Wright Medical Technology, Inc. | Retrofit posterior stabilizing housing implant for replacement knee prosthesis |
| ATE185062T1 (de) | 1993-02-10 | 1999-10-15 | Sulzer Spine Tech Inc | Werkzeugsatz zur stabilisierung der wirbelsäule |
| US5370700A (en) | 1993-02-19 | 1994-12-06 | Sarkisian; James S. | Prosthetic knee joint |
| GB9305279D0 (en) | 1993-03-15 | 1993-05-05 | Univ London | Total knee replacement prothesis |
| FR2702651B1 (fr) | 1993-03-16 | 1995-04-28 | Erato | Prothèse du genou. |
| RU2080840C1 (ru) | 1993-07-08 | 1997-06-10 | Онкологический научный центр РАМН | Эндопротез коленного сустава и устройство для его фиксации в большеберцовой и бедренной костях (варианты) |
| US5405398A (en) | 1993-08-30 | 1995-04-11 | Intermedics Orthopedics, Inc. | Prosthetic knee with posterior stabilized femoral component |
| FR2711750B1 (fr) | 1993-10-28 | 1995-12-01 | Fii | Dispositif de blocage d'un corps dans un alésage. |
| US5489311A (en) | 1994-01-21 | 1996-02-06 | Joint Medical Products Corporation | Prosthesis with orientable bearing surface |
| GB9415180D0 (en) * | 1994-07-28 | 1994-09-21 | Walker Peter S | Stabilised mobile bearing knee |
| US6117175A (en) * | 1994-08-22 | 2000-09-12 | Bosredon; Jean | Spherical knee joint prosthesis |
| DE9414970U1 (de) | 1994-09-15 | 1994-12-22 | Diehl, Klaus, Prof. Dr., 66123 Saarbrücken | Teilgekoppelte Kniegelenksprothese |
| DE4434806B4 (de) | 1994-09-29 | 2007-05-24 | Peter Brehm | Kniegelenksprothese |
| US5549689A (en) | 1994-11-28 | 1996-08-27 | Epstein; Norman | Prosthetic knee |
| US5702458A (en) * | 1994-12-09 | 1997-12-30 | New York Society For The Ruptured And Crippled Maintaining The Hospital For Special Surgery | Joint prosthesis |
| US5824096A (en) * | 1994-12-12 | 1998-10-20 | Biomedical Engineering Trust I | Hinged knee prosthesis with condylar bearing |
| DE69531259T2 (de) * | 1994-12-16 | 2004-05-19 | Exactech, Inc., Gainesville | Hohle deckel für prosthetische implantate |
| JP3406718B2 (ja) | 1994-12-26 | 2003-05-12 | 京セラ株式会社 | 人工膝関節 |
| DE59509363D1 (de) * | 1995-01-31 | 2001-08-02 | Sulzer Orthopaedie Ag Baar | Gelenkprothese, insbesondere Kniegelenkprothese |
| US5609642A (en) | 1995-02-15 | 1997-03-11 | Smith & Nephew Richards Inc. | Tibial trial prosthesis and bone preparation system |
| US5609643A (en) | 1995-03-13 | 1997-03-11 | Johnson & Johnson Professional, Inc. | Knee joint prosthesis |
| US5683468A (en) | 1995-03-13 | 1997-11-04 | Pappas; Michael J. | Mobile bearing total joint replacement |
| US5776201A (en) * | 1995-10-02 | 1998-07-07 | Johnson & Johnson Professional, Inc. | Modular femoral trial system |
| PT791344E (pt) | 1996-02-21 | 2002-01-30 | Plus Endoprothetik Ag | Endoprotese de articulacao do joelho |
| DE19606462C1 (de) | 1996-02-21 | 1997-10-16 | Plus Endoprothetik Ag | Kniegelenkendoprothese |
| GB9609609D0 (en) | 1996-05-08 | 1996-07-10 | Midland International Orthopae | Knee prosthesis |
| GB9611059D0 (en) | 1996-05-28 | 1996-07-31 | Howmedica | Tibial element for a replacement knee prosthesis |
| ES2120367B1 (es) | 1996-06-13 | 1999-05-16 | Levante Ind Quirurgicas | Rodilla de tumoracion. |
| JPH1014935A (ja) * | 1996-07-02 | 1998-01-20 | Homuzu Giken:Kk | 生体内埋設部材用被覆部材及び生体内埋設部材 |
| US5964808A (en) * | 1996-07-11 | 1999-10-12 | Wright Medical Technology, Inc. | Knee prosthesis |
| FR2751204B1 (fr) | 1996-07-16 | 1999-02-26 | Landanger Camus Sa | Prothese de genou, en particulier prothese de reprise |
| US6171342B1 (en) * | 1996-07-23 | 2001-01-09 | Depuy Orthopaedics, Inc. | Medical fastening system |
| DE59707850D1 (de) | 1997-01-10 | 2002-09-05 | Sulzer Orthopaedie Ag Baar | Tibiaplattform für ein künstliches Kniegelenk |
| US5766257A (en) * | 1997-01-28 | 1998-06-16 | Implant Manufacturing And Testing Corporation | Artificial joint having natural load transfer |
| FR2760352B3 (fr) | 1997-03-10 | 1999-04-16 | Philippe Berret | Prothese totale du genou |
| US6099571A (en) | 1997-07-16 | 2000-08-08 | Knapp; John G. | Joint prosthesis |
| DE59711302D1 (de) | 1997-10-28 | 2004-03-18 | Ct Pulse Orthopedics Ltd | Kniegelenkprothese |
| FR2771283B1 (fr) * | 1997-11-24 | 2000-03-03 | Implants & Instr Chirurg | Implant tibial pour prothese du genou |
| EP0923916A1 (de) | 1997-12-19 | 1999-06-23 | Sulzer Orthopädie AG | Kniegelenkprothese |
| DE19809041A1 (de) | 1998-03-04 | 1999-09-09 | Engelbrecht | Kniegelenkendoprothese |
| FR2776919B1 (fr) | 1998-04-02 | 2000-09-15 | Beguec Pierre Le | Prothese totale de genou a charniere |
| FR2777453B3 (fr) | 1998-04-20 | 2000-05-12 | Andre Raoult | Prothese totale du genou |
| US6090144A (en) | 1998-05-12 | 2000-07-18 | Letot; Patrick | Synthetic knee system |
| US6428577B1 (en) | 1998-05-20 | 2002-08-06 | Smith & Nephew, Inc. | Mobile bearing knee prosthesis |
| US6126692A (en) | 1998-06-25 | 2000-10-03 | New York Society For The Relief Of The Ruptured And Crippled Maintaining The Hospital For Special Surgery | Retaining mechanism for a modular tibial component of a knee prosthesis |
| US6080195A (en) | 1998-07-08 | 2000-06-27 | Johnson & Johnson Professional, Inc. | Rotatable and translatable joint prosthesis with posterior stabilization |
| US6143034A (en) | 1998-07-30 | 2000-11-07 | Sulzer Orthopedics Inc. | Implantable hinged knee prosthesis having tibial baseplate |
| US6443991B1 (en) | 1998-09-21 | 2002-09-03 | Depuy Orthopaedics, Inc. | Posterior stabilized mobile bearing knee |
| US6162255A (en) | 1998-10-15 | 2000-12-19 | Depuy Orthopaedics, Inc. | Stem offset mechanism for joint prosthesis |
| US6500208B1 (en) | 1998-10-16 | 2002-12-31 | Biomet, Inc. | Nonmodular joint prosthesis convertible in vivo to a modular prosthesis |
| US6306171B1 (en) | 1998-12-09 | 2001-10-23 | Iowa State University Research Foundation, Inc. | Total elbow arthroplasty system |
| FR2787992B1 (fr) | 1999-01-04 | 2001-04-20 | Aesculap Sa | Prothese tibiale du genou a rotule a double inserts |
| US6306172B1 (en) | 1999-01-28 | 2001-10-23 | Johnson & Johnson Professional, Inc. | Modular tibial insert for prosthesis system |
| US6361564B1 (en) | 1999-02-02 | 2002-03-26 | Aesculap | Total knee joint comprising an insert movable relative to a tenon |
| US6972039B2 (en) | 1999-03-01 | 2005-12-06 | Biomet, Inc. | Floating bearing knee joint prosthesis with a fixed tibial post |
| US6629999B1 (en) | 1999-03-08 | 2003-10-07 | Louis A. Serafin, Jr. | Modular joint |
| US6267763B1 (en) | 1999-03-31 | 2001-07-31 | Surgical Dynamics, Inc. | Method and apparatus for spinal implant insertion |
| FR2792826B1 (fr) * | 1999-04-28 | 2001-10-12 | Depuy France | Prothese totale de genou a charniere et rattrapage automatique d'usure |
| FR2793676B1 (fr) | 1999-05-18 | 2001-08-24 | Depuy France | Prothese totale de genou a charniere modulaire |
| FR2793677B1 (fr) | 1999-05-18 | 2001-08-24 | Depuy France | Prothese totale de genou a charniere et manchon de comblement osseux |
| SI20527A (sl) | 1999-06-29 | 2001-10-31 | Kaneka Corporation | Postopek za selektivno laktonizacijo |
| US6319283B1 (en) | 1999-07-02 | 2001-11-20 | Bristol-Myers Squibb Company | Tibial knee component with a mobile bearing |
| ES2221610T3 (es) | 1999-09-24 | 2005-01-01 | Centerpulse Orthopedics Ltd. | Pieza de tibia para una protesis de la articulacion de la rodilla, y kit con una pieza de tibia de este tipo. |
| US6620198B2 (en) | 1999-10-07 | 2003-09-16 | Exactech, Inc. | Composite bearing inserts for total knee joints |
| ATE258773T1 (de) | 1999-11-09 | 2004-02-15 | Link Waldemar Gmbh Co | Knieprothesensystem |
| ATE440569T1 (de) | 1999-12-13 | 2009-09-15 | Zimmer Gmbh | Bausatz für eine kniegelenkprothese |
| EP1108403B1 (de) | 1999-12-13 | 2009-08-26 | Zimmer GmbH | Bausatz für eine Kniegelenkprothese |
| US6491726B2 (en) | 2000-03-08 | 2002-12-10 | Biomedical Engineering Trust I | Posterior stabilized prosthetic knee replacement with bearing translation and dislocation prevention features |
| US6296666B1 (en) | 2000-03-13 | 2001-10-02 | Encore Medical Corporation | Mobile bearing knee with center post |
| DE10012059C2 (de) | 2000-03-14 | 2002-10-24 | Saint Paul Bernd | Endoprothese für ein Kniegelenk |
| ES2222970T3 (es) | 2000-03-21 | 2005-02-16 | Zimmer Gmbh | Articulacion artificial de dedo. |
| US6436145B1 (en) | 2000-06-02 | 2002-08-20 | Zimmer, Inc. | Plug for a modular orthopaedic implant and method for assembly |
| EP1331904B1 (en) | 2000-07-20 | 2005-06-01 | Hayes Medical Inc. | Bimetal tibial component construct for knee joint prosthesis |
| US6447549B1 (en) | 2000-10-06 | 2002-09-10 | Sulzer Orthopedics Inc. | Modular knee prosthesis system |
| DE10103359C2 (de) * | 2001-01-25 | 2003-11-27 | Ruediger Thrun | Vorrichtung und Verfahren zum Reinigen von Lebensmitteln oder Produktionsmitteln |
| US6719800B2 (en) | 2001-01-29 | 2004-04-13 | Zimmer Technology, Inc. | Constrained prosthetic knee with rotating bearing |
| US6773461B2 (en) | 2001-01-29 | 2004-08-10 | Zimmer Technology, Inc. | Constrained prosthetic knee with rotating bearing |
| US6485519B2 (en) | 2001-01-29 | 2002-11-26 | Bristol-Myers Squibb Company | Constrained prosthetic knee with rotating bearing |
| EP1252870A1 (de) | 2001-04-25 | 2002-10-30 | Waldemar Link (GmbH & Co.) | Knieprothese mit einem Beugescharnier |
| EP1252869A1 (de) | 2001-04-25 | 2002-10-30 | Waldemar Link (GmbH & Co.) | Knieprothese mit Rotationslager |
| EP1269938A1 (de) | 2001-06-27 | 2003-01-02 | Waldemar Link (GmbH & Co.) | Gekoppelte Knieprothese mit Rotationslager |
| JP2005514157A (ja) | 2001-12-21 | 2005-05-19 | スミス アンド ネフュー インコーポレーテッド | ヒンジ式関節システム |
| DE10200263B4 (de) | 2002-01-07 | 2007-01-25 | Plus Orthopedics Ag | Tibiakomponente einer Kniegelenkendoprothese |
| US20040002767A1 (en) | 2002-06-28 | 2004-01-01 | Joseph Wyss | Modular knee joint prosthesis |
| US7070622B1 (en) | 2002-07-03 | 2006-07-04 | Biomet, Inc. | Prosthesis having a modular soft tissue fixation mechanism |
| EP1384454A1 (de) | 2002-07-26 | 2004-01-28 | WALDEMAR LINK GmbH & Co. KG | Knieprothese |
| US7175665B2 (en) | 2002-09-09 | 2007-02-13 | Depuy Products, Inc. | Universal tibial augment |
| US20040054416A1 (en) | 2002-09-12 | 2004-03-18 | Joe Wyss | Posterior stabilized knee with varus-valgus constraint |
| CA2511216C (en) | 2002-12-20 | 2011-02-01 | Smith & Nephew, Inc. | High performance knee prostheses |
| US7753960B2 (en) | 2004-02-26 | 2010-07-13 | Omni Life Science, Inc. | Modular knee prosthesis |
| JP4681931B2 (ja) | 2004-04-28 | 2011-05-11 | ビュッシェル−パパス.トラスト | 蝶番式人工膝関節 |
| US7172628B2 (en) | 2004-07-27 | 2007-02-06 | Lonnie Jay Lamprich | Spinal disc prosthesis and methods |
| US7449028B2 (en) | 2004-10-29 | 2008-11-11 | Depuy Products, Inc. | Modular total elbow prosthesis, humeral component and associated kit |
| GB0503536D0 (en) | 2005-02-21 | 2005-03-30 | Kriek Hans R | Joint devices |
| US7357817B2 (en) | 2005-05-19 | 2008-04-15 | Howmedica Osteonics Corp. | Modular keel tibial component |
| JP5265372B2 (ja) | 2005-10-31 | 2013-08-14 | デピュイ・プロダクツ・インコーポレイテッド | モジュラー固定式および可動式ベアリングプロテーゼシステム |
| US7658767B2 (en) | 2006-06-30 | 2010-02-09 | Depuy Products, Inc. | Hinged orthopaedic prosthesis |
| US8562616B2 (en) | 2007-10-10 | 2013-10-22 | Biomet Manufacturing, Llc | Knee joint prosthesis system and method for implantation |
| US8163028B2 (en) | 2007-01-10 | 2012-04-24 | Biomet Manufacturing Corp. | Knee joint prosthesis system and method for implantation |
| JP5448842B2 (ja) | 2007-01-10 | 2014-03-19 | バイオメト マニファクチャリング コーポレイション | 膝関節プロテーゼシステムおよび埋込み方法 |
| US8128703B2 (en) | 2007-09-28 | 2012-03-06 | Depuy Products, Inc. | Fixed-bearing knee prosthesis having interchangeable components |
| US8470047B2 (en) | 2007-09-25 | 2013-06-25 | Depuy (Ireland) | Fixed-bearing knee prosthesis |
| US7918893B2 (en) | 2007-09-30 | 2011-04-05 | Depuy Products, Inc. | Hinged orthopaedic prosthesis |
| US7871442B2 (en) | 2007-11-30 | 2011-01-18 | Howmedica Osteonics Corp. | Knee prosthesis with four degrees freedom |
| US8206451B2 (en) | 2008-06-30 | 2012-06-26 | Depuy Products, Inc. | Posterior stabilized orthopaedic prosthesis |
| US8187335B2 (en) | 2008-06-30 | 2012-05-29 | Depuy Products, Inc. | Posterior stabilized orthopaedic knee prosthesis having controlled condylar curvature |
| US7981159B2 (en) | 2008-07-16 | 2011-07-19 | Depuy Products, Inc. | Antero-posterior placement of axis of rotation for a rotating platform |
| US8529631B2 (en) | 2008-07-18 | 2013-09-10 | Zimmer, Gmbh | Base component for a tibial implant |
| US8012216B2 (en) | 2008-10-17 | 2011-09-06 | Biomet Manufacturing Corp. | High flexion tibial tray |
-
2001
- 2001-01-29 US US09/771,061 patent/US6485519B2/en not_active Expired - Lifetime
-
2002
- 2002-01-15 CA CA2367652A patent/CA2367652C/en not_active Expired - Lifetime
- 2002-01-21 AU AU11965/02A patent/AU780963B2/en not_active Ceased
- 2002-01-25 EP EP10012581A patent/EP2272468B1/en not_active Expired - Lifetime
- 2002-01-25 EP EP04012041.2A patent/EP1447060B1/en not_active Expired - Lifetime
- 2002-01-25 EP EP02250512.7A patent/EP1226800B1/en not_active Revoked
- 2002-01-25 EP EP10012582.2A patent/EP2272469B1/en not_active Expired - Lifetime
- 2002-01-29 JP JP2002020175A patent/JP4205346B2/ja not_active Expired - Fee Related
-
2010
- 2010-05-07 US US12/776,224 patent/USRE44476E1/en not_active Expired - Lifetime
Also Published As
| Publication number | Publication date |
|---|---|
| JP2002253586A (ja) | 2002-09-10 |
| EP2272468A2 (en) | 2011-01-12 |
| EP1226800B1 (en) | 2014-07-02 |
| USRE44476E1 (en) | 2013-09-03 |
| EP1226800A2 (en) | 2002-07-31 |
| EP2272469A2 (en) | 2011-01-12 |
| EP1226800A3 (en) | 2004-01-07 |
| AU780963B2 (en) | 2005-04-28 |
| EP2272468B1 (en) | 2012-05-09 |
| US6485519B2 (en) | 2002-11-26 |
| EP2272469A3 (en) | 2011-01-19 |
| EP1447060A3 (en) | 2006-03-22 |
| EP2272469B1 (en) | 2015-07-01 |
| EP1447060A2 (en) | 2004-08-18 |
| EP1447060B1 (en) | 2013-11-06 |
| AU1196502A (en) | 2002-08-01 |
| EP2272468A3 (en) | 2011-01-19 |
| CA2367652A1 (en) | 2002-07-29 |
| CA2367652C (en) | 2010-09-14 |
| US20020103541A1 (en) | 2002-08-01 |
Similar Documents
| Publication | Publication Date | Title |
|---|---|---|
| JP4205346B2 (ja) | 人工膝関節 | |
| US6719800B2 (en) | Constrained prosthetic knee with rotating bearing | |
| US6773461B2 (en) | Constrained prosthetic knee with rotating bearing | |
| US5951603A (en) | Rotatable joint prosthesis with axial securement | |
| US6413279B1 (en) | Floating bearing knee joint prosthesis with a fixed tibial post | |
| US6206926B1 (en) | Prosthetic knee joint with enhanced posterior stabilization and dislocation prevention features | |
| EP0904749B1 (en) | Joint prosthesis having controlled rotation | |
| EP1023881A2 (en) | Modular tibial insert for prosthesis system | |
| EP1591083A1 (en) | Prosthetic knee | |
| JPH10314197A (ja) | 頸骨補綴装置並びにその組立方法 | |
| EP0916321B1 (en) | Prosthetic knee joint with enhanced posterior stabilization and dislocation prevention features | |
| US20260053630A1 (en) | Total Stabilizing Knee Joint Prosthesis | |
| JP2000000256A (ja) | 脛骨補綴装置並びにその組立方法 |
Legal Events
| Date | Code | Title | Description |
|---|---|---|---|
| A521 | Request for written amendment filed |
Free format text: JAPANESE INTERMEDIATE CODE: A523 Effective date: 20050127 |
|
| A621 | Written request for application examination |
Free format text: JAPANESE INTERMEDIATE CODE: A621 Effective date: 20050127 |
|
| A131 | Notification of reasons for refusal |
Free format text: JAPANESE INTERMEDIATE CODE: A131 Effective date: 20080219 |
|
| A601 | Written request for extension of time |
Free format text: JAPANESE INTERMEDIATE CODE: A601 Effective date: 20080516 |
|
| A602 | Written permission of extension of time |
Free format text: JAPANESE INTERMEDIATE CODE: A602 Effective date: 20080521 |
|
| A521 | Request for written amendment filed |
Free format text: JAPANESE INTERMEDIATE CODE: A523 Effective date: 20080815 |
|
| TRDD | Decision of grant or rejection written | ||
| A01 | Written decision to grant a patent or to grant a registration (utility model) |
Free format text: JAPANESE INTERMEDIATE CODE: A01 Effective date: 20080916 |
|
| A01 | Written decision to grant a patent or to grant a registration (utility model) |
Free format text: JAPANESE INTERMEDIATE CODE: A01 |
|
| A61 | First payment of annual fees (during grant procedure) |
Free format text: JAPANESE INTERMEDIATE CODE: A61 Effective date: 20081016 |
|
| FPAY | Renewal fee payment (event date is renewal date of database) |
Free format text: PAYMENT UNTIL: 20111024 Year of fee payment: 3 |
|
| R150 | Certificate of patent or registration of utility model |
Free format text: JAPANESE INTERMEDIATE CODE: R150 Ref document number: 4205346 Country of ref document: JP Free format text: JAPANESE INTERMEDIATE CODE: R150 |
|
| FPAY | Renewal fee payment (event date is renewal date of database) |
Free format text: PAYMENT UNTIL: 20111024 Year of fee payment: 3 |
|
| FPAY | Renewal fee payment (event date is renewal date of database) |
Free format text: PAYMENT UNTIL: 20121024 Year of fee payment: 4 |
|
| R250 | Receipt of annual fees |
Free format text: JAPANESE INTERMEDIATE CODE: R250 |
|
| FPAY | Renewal fee payment (event date is renewal date of database) |
Free format text: PAYMENT UNTIL: 20131024 Year of fee payment: 5 |
|
| R250 | Receipt of annual fees |
Free format text: JAPANESE INTERMEDIATE CODE: R250 |
|
| R250 | Receipt of annual fees |
Free format text: JAPANESE INTERMEDIATE CODE: R250 |
|
| R250 | Receipt of annual fees |
Free format text: JAPANESE INTERMEDIATE CODE: R250 |
|
| R250 | Receipt of annual fees |
Free format text: JAPANESE INTERMEDIATE CODE: R250 |
|
| R250 | Receipt of annual fees |
Free format text: JAPANESE INTERMEDIATE CODE: R250 |
|
| R250 | Receipt of annual fees |
Free format text: JAPANESE INTERMEDIATE CODE: R250 |
|
| R250 | Receipt of annual fees |
Free format text: JAPANESE INTERMEDIATE CODE: R250 |
|
| R250 | Receipt of annual fees |
Free format text: JAPANESE INTERMEDIATE CODE: R250 |
|
| R250 | Receipt of annual fees |
Free format text: JAPANESE INTERMEDIATE CODE: R250 |
|
| LAPS | Cancellation because of no payment of annual fees |