JP4189508B2 - 遊技機とその図柄表示装置 - Google Patents

遊技機とその図柄表示装置 Download PDF

Info

Publication number
JP4189508B2
JP4189508B2 JP2001333241A JP2001333241A JP4189508B2 JP 4189508 B2 JP4189508 B2 JP 4189508B2 JP 2001333241 A JP2001333241 A JP 2001333241A JP 2001333241 A JP2001333241 A JP 2001333241A JP 4189508 B2 JP4189508 B2 JP 4189508B2
Authority
JP
Japan
Prior art keywords
belt
symbol
display
liquid crystal
symbol display
Prior art date
Legal status (The legal status is an assumption and is not a legal conclusion. Google has not performed a legal analysis and makes no representation as to the accuracy of the status listed.)
Expired - Fee Related
Application number
JP2001333241A
Other languages
English (en)
Other versions
JP2003135745A (ja
Inventor
高明 市原
真次 六鹿
Current Assignee (The listed assignees may be inaccurate. Google has not performed a legal analysis and makes no representation or warranty as to the accuracy of the list.)
Daiichi Co Ltd
Original Assignee
Daiichi Shokai Co Ltd
Priority date (The priority date is an assumption and is not a legal conclusion. Google has not performed a legal analysis and makes no representation as to the accuracy of the date listed.)
Filing date
Publication date
Application filed by Daiichi Shokai Co Ltd filed Critical Daiichi Shokai Co Ltd
Priority to JP2001333241A priority Critical patent/JP4189508B2/ja
Publication of JP2003135745A publication Critical patent/JP2003135745A/ja
Application granted granted Critical
Publication of JP4189508B2 publication Critical patent/JP4189508B2/ja
Anticipated expiration legal-status Critical
Expired - Fee Related legal-status Critical Current

Links

Images

Landscapes

  • Pinball Game Machines (AREA)
  • Display Devices Of Pinball Game Machines (AREA)

Description

【0001】
【発明の属する技術分野】
本発明は、遊技機に関するものである。特に、図柄を表示する技術に関するものである。
【0002】
【従来の技術】
遊技状態に応じて図柄を表示する遊技演出を行う遊技機が知られている。遊技機の一種であるパチンコ機では、所定領域へのパチンコ球の入賞、あるいは通過が行われると、図柄表示器に表示される図柄が変動し、その後に停止する図柄の表示態様によって遊技者に特典が付与される。図柄表示器には、液晶表示器が多く用いられている。
【0003】
【発明が解決しようとする課題】
しかしながら、上記の図柄表示器に表示される図柄の変動は、平面的に行われるのでその動きが単調にならざるを得ず、面白さに欠けるものであった。
【0004】
本発明は、かかる問題を解決するためになされたものであり、図柄の変動態様が面白い遊技機を提供することを課題とする。
【0005】
【課題を解決するための手段および作用と効果】
請求項1に記載の遊技機は、遊技球が発射されるとともにほぼ矩形形状の開口を有する盤面と、盤面を正面視した場合にほぼ矩形形状の外郭を有するとともに盤面の前記開口に嵌まり込む枠体と、盤面を正面視した場合に枠体の内部に配置される液晶面を有する第1の表示器と、第2の表示器とを備える。その第2の表示器は、盤面を正面視した場合に枠体の内部に配置されるとともに枠体の四隅のそれぞれに配置されるローラと、それらのローラに架かっているとともに内面に図柄が配された閉じたベルトと、ローラを回転させることによってベルトを周方向に回転させる回転手段とを有する。ベルトは、盤面を正面視した場合に第1の表示器の液晶面に重複しない状態で第1の表示器の液晶面を取り囲んでいる。ベルトは、盤面を正面視した場合に第1の表示器の液晶面より手前側に配置される。
このように構成されていると、遊技者は、ベルトの回転にともなって3次元的に移動するベルト内面の図柄の変動態様に面白さを感じながら遊技を楽しむことができる
【0006】
請求項1に記載の遊技機において、盤面に設けられている始動口をさらに備え、遊技球が始動口に入賞すると、第1の表示器は、前記液晶面に図柄を変動表示させることが好ましい(請求項2)
【0018】
【発明の実施の形態】
(第1実施形態)
本発明を遊技機の一種であるパチンコ機10に適用した第1実施形態を図1〜図12を参照しながら説明する。
まず最初に、パチンコ機10の構成を簡単に説明する。図1に示されているように、パチンコ機10の下部には、遊技者が操作してパチンコ球を打ち出すハンドル38が設けられている。平板状の盤面12には、上方に向かって円弧状に延びるレール44、図柄表示装置14、第1種始動口30、大入賞口34、ゲート17、入賞口18等が装着されている。また、図示を省略する多数の釘が盤面12に打ち付けられている。
盤面12の中央に装着されている図柄表示装置14は、液晶ディスプレーである液晶図柄表示器22と、この液晶図柄表示器22を取り囲むように装着されているベルト図柄表示器61等から構成されている(液晶図柄表示器22とベルト図柄表示器61については、後述にて詳細に説明する)。
【0019】
第1種始動口30は、図1に示されているように、2枚の可動翼片30aを有している。可動翼片30aは、通常は垂直に配置されているが、所定条件(後述する)が成立した場合には外方に開いて第1種始動口30にパチンコ球が入賞しやすいようにする。また、第1種始動口30の内部には、パチンコ球の入賞を検知する始動口センサ56が設けられている。第1種始動口30の下方に配置されている大入賞口34は、下辺を軸として前方側に開く矩形板状の開閉扉36を備えている。開閉扉36は、盤面12の裏側に装着されているソレノイド50と連結されており、ソレノイド50に駆動されてその開閉が行われる。また、大入賞口34の内部には特別入賞区域であるVゾーン(図示省略)が設けられている。
【0020】
盤面12の左側に配置されているゲート17の内部には、ゲートセンサ54が装着されている。ゲートセンサ54は、ゲート17を通過するパチンコ球を検知する機能を有している。パチンコ機10の裏側にはスピーカ26が装着されている。また、盤面12の各所や周囲には電球やLEDによって発光する複数のランプ27が配置されている。盤面12に3つ設けられている風車25は、軸回りに回転可能とされている。
【0021】
遊技機10の裏側には、図示を省略するメイン制御部100と表示制御部200が装着されている。第1種始動口30の始動口センサ56や、ゲート17のゲートセンサ54等がパチンコ球の入賞や通過を検知すると、その検知信号はメイン制御部100に送信されて処理される。そして、制御信号がメイン制御部100から直接出力されたり、表示制御部200を経由して出力されたりする。メイン制御部100や表示制御部200から出力される制御信号は、液晶図柄表示器22、ベルト図柄表示器61、ソレノイド50、スピーカ26、ランプ27等の制御を行う。なお、メイン制御部100、表示制御部200の構成や、その内部で実行される処理動作については、後述にて詳細に説明する。
パチンコ機10の下部には、賞球や貸し球を一時的に貯めておく下皿40、球抜きレバー33、賞球の受け皿である上皿46、灰皿42等が装着されている。球抜きレバー33を横方向にスライドさせると、下皿40の底面が開放され、下皿40からパチンコ球を抜くことができる。
【0022】
パチンコ機10の動作全般を簡単に説明する。
遊技者がハンドル38を操作してパチンコ球を打ち出すと、パチンコ球はレール44に沿って盤面12の上部に達し、盤面12に多数打ち付けられている釘に衝突して頻繁にその方向を変えながら落下する。風車25はパチンコ球が当たると回転し、パチンコ球の落下方向を急変させる。第1種始動口30へのパチンコ球の入賞を始動口センサ56が検知すると、5個の賞球が払い出されるとともに液晶図柄表示器22に特別図柄が変動表示され、その後に停止される。そして、その停止図柄が所定の組合せの場合には、パチンコ機10は大当たり状態に移行する。また、液晶図柄表示器22に表示される特別図柄が所定の停止図柄の場合には、ベルト図柄表示器61が動作する場合がある(ベルト図柄表記器61の動作については、後述にて詳細に説明する)
【0023】
パチンコ機10が大当たり遊技状態に移行すると、通常は閉じられている大入賞口34の開閉扉36がソレノイド50に駆動されて開放される。開放された開閉扉36は、開放されてからパチンコ球が10個入賞するか、開放されてから30秒が経過するかのいずれかが成立した場合に閉じられる。開閉扉36が開放されている間に大入賞口34内のVゾーンをパチンコ球が通過した場合には、開閉扉36は閉じられた後に再び開放される。このようにして繰り返される開閉扉36の開閉は最大16回継続され、開放された開閉扉36に入賞するパチンコ球1個に対して15個のパチンコ球が払い出される。このため、パチンコ機10が大当たり遊技状態に移行すると、2000個以上の賞球が払い出される。
また、パチンコ球がゲート17を通過したことをゲートセンサ54が検知すると、液晶図柄表示器22の左下部に表示される普通図柄表示部19で複数の普通図柄が変動する。そして、この普通図柄が所定の組合せとなった場合に第1種始動口30の可動翼片30aが1秒間開放され、パチンコ球が入賞しやすくなる。なお、スピーカ26やランプ27は、遊技の進行に応じて様々な音や光を発して遊技者を楽しませる。
【0024】
ベルト図柄表示器61について説明する。ベルト図柄表示器61は、図2に良く示されているように、1つの駆動ローラ65、3つのフリーローラ66、駆動ローラ65を駆動する電動モータ62、駆動ローラ65とフリーローラ66に張り渡されたベルト63、枠体67等から構成されている。
図2〜図4に示されているように、液晶図柄表示器22を囲むようにして平面形が矩形状の枠体67が設けられている。枠体67は、外枠67aと内枠67bと前枠67cを有しており、内枠67bは透明とされている。内枠67bの下部中央に方形状の表示窓84が設けられている。なお、図2、図4においては、枠体67の内部を示すために前枠67cを省略して図示している。
【0025】
ベルト63は、枠体67内の四隅に配置される駆動ローラ65と3つのフリーローラ66に張り渡されている。ベルト63は透光性の素材から形成されており、図4に示されているように、その内面に0〜9の数字であるベルト図柄89が配されている。ベルト図柄89は、内枠67bと表示窓84を通して視認することができる。
表示窓84の下方にベルト63を挟んでライト86が設けられている。ライト86が点灯されると、ベルト63のベルト図柄89が表示窓84に照らし出される。
【0026】
図3に良く示されているように、駆動ローラ65の裏側に電動モータ62が装着されている。電動モータ62の駆動シャフト62aには、円盤状の回転スリット69と歯車81が固定されている。回転スリット69の外周部には、周方向に等間隔にスリット(切り欠き)が形成されている。回転スリット69外周部を挟み込むようにしてフォトセンサ68が配置されている。フォトセンサ68には発光素子と受光素子が組み込まれている。受光素子は、回転スリット69のスリットが発光素子の発光を通過させることと、スリット以外の部分が発光を遮ることによる受光の有無を検知し、検知信号とし表示制御部200に送信する。歯車81は、さらに大径な歯車82に噛み合わされている。歯車82と駆動ローラ65はシャフト83によって結合されている。
以上説明したようにベルト図柄表示器61が構成されているので、電動モータ62が駆動されると、歯車(81、82)を介して駆動ローラ65が回転され、ベルト63はローラ(65、66)に張り渡された状態で回転される。
【0027】
なお、ベルト63と駆動ローラ65とのスリップを防止するためにベルト63には適度なテンション(張り)が与えられている。また、さらに確実にスリップを防止するために、例えば、ベルト63と駆動ローラ65を歯付きとしてお互いに噛み合うようにしてもよいし、ベルト63にパーフォレーション(映画フイルムに形成されているような噛み合い穴)を形成し、駆動ローラ65にパーフォレーションと噛み合う歯を設けてもよい。
なお、ベルト63の回転位置を直接検知するように構成することもできる。ベルト63の回転位置の直接検知は、例えば、ベルト63に施したマーキングを光学センサで読み取ることにより行うことができる。また、ベルト63に磁気的マーキングを施し、これを磁気センサで読み取るように構成することもできる。
【0028】
パチンコ機10を制御するメイン制御部100と表示制御部200について図5を参照しながら説明する。
メイン制御部100は、CPU102(中央演算装置)、このCPU102にBUS114(情報伝達回路)を介して接続されるROM104(読み出し専用メモリ)、RAM106(読み書き可能メモリ)、入力処理回路108、出力処理回路110、通信制御回路112、音制御回路120、ランプ制御回路122等から構成されている。CPU102は、パチンコ機10で行われる種々の遊技をROM104に格納されている遊技制御プログラムを実行することにより制御する。この遊技制御プログラムには、後述するコマンドデータの生成や、生成されたコマンドデータを表示制御部200に送信する処理等を実現するためのプログラムも包含されている。RAM106には、メイン制御部100で実行される処理過程において生成される各種データや入力信号等の情報が一時的に保存される。
【0029】
入力処理回路108は、始動口センサ56やゲートセンサ54等からの信号を受信し、その信号をメイン制御部100内で処理可能なデータ形式に変換する。通信制御回路112は、表示制御部200にコマンドデータを送信する。出力処理回路110は、CPU102からBUS114を介して送信されてきた駆動データを受信してソレノイド50等へ駆動信号を出力する。なお、入力処理回路108と出力処理回路110には、各種のセンサや駆動装置が接続されているが、図5においては始動口センサ56、ゲートセンサ54、ソレノイド56を代表として図示し、これら以外については省略している。
また、CPU102からのコマンド信号が音制御回路120、ランプ制御回路122を介して出力され、スピーカ26から音を出させたり、ランプ27を点灯させたりする。
【0030】
表示制御部200は、メイン制御部100からコマンドデータを受信し、このコマンドデータを処理して液晶図柄表示器22やベルト図柄表示器61を制御する。表示制御部200は、CPU202、ROM204、RAM206、通信制御回路208、表示制御回路210、入出力処理回路220等から構成されており、これらはBUS212を介して接続されている。
通信制御回路208は、メイン制御部100の通信制御回路112からコマンドデータを受信し、これをCPU202に送信する。CPU202は、ROM204に格納されている制御プログラムに従って動作し、メイン制御部100から送信されてきたコマンドデータに基づいて液晶図柄表示器22に表示される特別図柄やベルト図柄表示器61の制御を行う。
【0031】
これらの制御を具体的に説明すると、CPU202は受信したコマンドデータを処理して表示制御回路210にコマンドを出力し、表示制御回路210はそのコマンドに応じた所定の図柄データをROM204から読み込む。そして、表示制御回路210は、ROM204から読み込んだ図柄データを処理して、液晶図柄表示器22に特別図柄を表示させるための表示信号を出力する。
また、同時にCPU202は、受信したコマンドデータと入出力処理回路220を介して入力されるフォトセンサ68の検知信号に基づいて、電動モータ62を駆動するための駆動データを生成する。具体的には、フォトセンサ68から出力された検知信号から、電動モータ62のシャフト62aの回転位置(どれだけ回転したか)を算出する。シャフト62aの回転位置が算出されると、これからベルト63の回転位置を求めることができる。ベルト63の回転位置が求められると、CPU202は入出力処理回路220を介して制御信号を電動モータに出力する。このようにして電動モータ62が制御され、ベルト図柄表示器61のベルト63の回転、停止が行われる。
RAM206には、表示制御部200で行われる処理で生成される種々のデータや入出力信号等の情報が一時的に保存される。
【0032】
液晶図柄表示器22での特別図柄の変動表示や、ベルト図柄表示器61のベルト63の回転動作を実現させる処理手順を説明する。
まず、メイン制御部100で実行される処理手順について説明する。図6のフローチャートに示されているように、最初に、第1種始動口30にパチンコ球が入賞したか否かの判別が行われる(S01)。この判別は、具体的には、メイン制御部100の入力処理回路108が始動口センサ56からの信号を受信したか否かによって行われる。第1種始動口30にパチンコ球が入賞していない場合(S01でNOの場合)には、そのままメイン制御部100の処理が終了される。S01において第1種始動口30に入賞していると判別された場合(YESの場合)には、S02に移行して大当たり抽選が行われる。この大当たり抽選とは、大当たりか否かの判定を行う大当たり乱数を取得することである。
【0033】
S02で大当たり抽選が行われた後に、抽選された大当たり乱数があらかじめ設定されている大当たり値と照合され、大当たりか否かが判別される(S03)。大当たりであった場合(S03でYESの場合)には、S04に移行して大当たり図柄用乱数を抽選することにより大当たり図柄が決定される。ここで決定される大当たり図柄とは、例えば特別図柄の「7・7・7」や「3・3・3」である。なお、特別図柄は、液晶図柄表示器22に3つ横に並んで表示される(3つの特別図柄を、それぞれ左図柄72、中図柄73、右図柄74とする)。S03で大当たりでなかった場合(NOの場合)には、S07に移行してリーチであるか否かの判別が行われる。リーチであるか否かの判別は、リーチ乱数を取得して、このリーチ乱数をあらかじめ設定されているリーチ値と照合することにより行われる。なお、ここでリーチとは、3つの特別図柄の内の2つが停止して揃っており、残りの特別図柄が変動中で、残りの特別図柄が停止する図柄によっては3つの特別図柄が揃って大当たりとなる可能性がある状態を意味する。
【0034】
S07でリーチであると判別された場合(YESの場合)には、S09に移行してリーチでハズレとなる特別図柄(例えば、左図柄72と右図柄74が揃っていて中図柄73が揃わない状態(例えば「7・5・7」)が決定される。S07でリーチでないと判別された場合(NOの場合)には、S08に移行してリーチでないハズレの特別図柄(例えば「3・5・8」)が決定される。なお、リーチでハズレとなる特別図柄や、リーチでないハズレの特別図柄は、それぞれリーチハズレ用乱数、バズレ用乱数が抽選されることにより決定される。
上述した処理により液晶図柄表示器22に最終的に表示される特別図柄が決定されると、変動パターン用乱数が抽選されることにより変動パターンが決定される(S05)。ここで変動パターンとは、特別図柄の変動開始から停止までの変動態様を意味する。また、変動パターンには、スピーカ26が出す音、ランプ27の点灯、特別図柄の背景に表示されるキャラクタ等の背景図柄の変化や変動も含まれている。S05で変動パターンが決定されると、メイン制御部100は、S04、S05、S08、S09の各ステップで決定された結果に基づいてコマンドを生成し、表示制御部200に送信する(S06)。
【0035】
続いて、表示制御部200で実行される処理について説明する。図7のフローチャートに示されているように、表示制御部200においては、最初にメイン制御部100からのコマンドデータ(図6のS06でメイン制御部100が送信したコマンドデータ)を受信したか否かが判別される(S10)。この判別は、表示制御部200の通信制御回路208がメイン制御部100からのコマンドデータを受信したか否かによって行われる。
S10でコマンドデータを受信していない場合(NOの場合)には、そのまま表示制御部200の処理が終了される。コマンドデータを受信している場合(S10でYESの場合)には、S11に移行してリーチであるか否かが判別される。この判別は、メイン制御部100から送信されてきたコマンドデータで指定された左図柄72、中図柄73、右図柄74の内の2つが揃っている場合にはリーチ、揃っていない場合にはリーチではないとされることにより行われる。
【0036】
S11でリーチであると判別された場合(YESの場合)には、リーチアクション乱数が抽選されてリーチアクションが決定される(S12)。リーチアクションが決定されると、そのリーチアクションおよびメイン制御部100から送信されてきたコマンドデータに基づいて液晶図柄表示器22の特別図柄が変動されてリーチとなった後に停止されるリーチ変動処理が行われる(S13)。また、抽選されたリーチアクションによっては、ベルト図柄表示器61が回転する再抽選動作も行われる(この動作については、後述する図柄の具体的な変動態様において詳細に説明する)。
S11でリーチでないと判別された場合(NOの場合)には、液晶図柄表示器22の特別図柄が変動され、その後に停止される。
【0037】
図柄表示装置14の液晶図柄表示器22とベルト図柄表示器61で行われる変動態様の一例を図8〜図12を参照しながら説明する。
なお、以下において説明する一例は、液晶図柄表示器22に変動表示された特別図柄がリーチ状態後にハズレとなり、その後に再抽選動作が行われてベルト図柄表示器61が回転され、最後に大当たりとなる場合である。
【0038】
第1種始動口30にパチンコ球が入賞すると、図8に示されているように、液晶図柄表示器22に表示されている特別図柄(左図柄72、中図柄73、右図柄74)が変動を開始する。なお、図8において図示されている下向きの矢印は、特別図柄が上から下に向かって高速でスクロールされている状態を表している。特別図柄がスクロールされていると、遊技者は、個々の図柄を識別して視認することはできない。
左図柄72、中図柄73、右図柄74が変動された後の所定のタイミングで、左図柄72が停止され、次いで右図柄74が停止される。図9に示されているように、左図柄72と右図柄74の停止図柄は、「4」であり、リーチ状態が形成される。そして、図10に示されているように、リーチ状態が形成された後に中図柄73が「8」で停止される。このようにして停止された左図柄72、中図柄73、右図柄74の組合せ「4・8・4」はハズレである。
なお、液晶図柄表示器22には、左図柄72、中図柄73、右図柄74以外にも、種々のキャラクタ(例えば、空想上の動物)や背景等が表示される演出が行われ、遊技の雰囲気を盛り上げる。
【0039】
ハズレの組合せ(「4・8・4」)で左図柄72、中図柄73、右図柄74が停止された後に再抽選動作が行われる。再抽選動作では、図11に示されているように中図柄73が消失し、これと同時に左図柄72と右図柄74が同一の他の図柄に変化する(図11の例では「4」→「7」)。また、中図柄73の消失と、左図柄72および右図柄74の変化と同時に、ベルト図柄表示器61のベルト63が、図4において矢印87で示されている方向に回転を開始する。回転するベルト63の内面に描かれているベルト図柄89は、枠体67の透明な内枠67bと表示窓84を通して視認することができる。ベルト63が回転される際にはライト86が点灯され、表示窓84内のベルト図柄89が照らし出されて容易に視認できるようになる。
【0040】
回転していたベルト図柄表示器61のベルト63は、徐々に回転速度が遅くなり最後に停止する。本例では、図4に示されているように、ベルト63停止時に表示窓84に表示されるベルト図柄89は「7」になる。表示窓84に表示されるベルト図柄89が「7」になると、図12に示されているように、それまで消失していた液晶図柄表示器22の中図柄73に表示窓84のベルト図柄89と同じ「7」が表示される。このようにして、液晶図柄表示器22に停止表示される左図柄72、中図柄73、右図柄74は、大当たりの組合せである「7・7・7」となり、パチンコ機10は大入賞口34の開閉扉36が開放される大当たり遊技状態に移行する。
【0041】
以上述べてきたように、本実施の形態の図柄表示装置14は、液晶図柄表示器22とベルト図柄表示器61とを有しており、これらの表示器に表示される図柄を互いに関連付けながら図柄変動を行うという変化に富んだ変動態様を実現することができる。また、ベルト63の内面に描かれているベルト図柄89は、枠体67の透明な内枠67bを通して視認することができる。このため、ベルト63が回転している状態では、遊技者はベルト63内面のベルト図柄89を視認してその動きを把握しながら、どのベルト図柄89が表示窓84に停止表示されるかに期待感を盛り上げ、遊技を楽しむことができる。
【0042】
(第2実施形態)
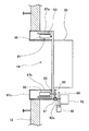
本発明の第2実施形態を説明する。図13は、図柄表示装置14の断面を図示しており、第1実施形態の図3に対応している。
図13に示されているように、本実施形態のベルト図柄表示器61は、その下部よりも上部の方が盤面12の前方側(図3の左側)に位置するように傾斜して装着されている。このようにベルト図柄表示装置61が傾斜して装着されていると、ベルト63の下部内面をより視認しやすくなる。
【0043】
以上、本発明の具体例を詳細に説明したが、これらは例示にすぎず、特許請求の範囲を限定するものではない。特許請求の範囲に記載の技術には、以上に例示した具体例を様々に変形、変更したものが含まれる。
また、本明細書または図面に説明した技術要素は、単独であるいは各種の組み合わせによって技術的有用性を発揮するものであり、出願時の請求項記載の組み合わせに限定されるものではない。また、本明細書または図面に例示した技術は複数目的を同時に達成するものであり、そのうちの一つの目的を達成すること自体で技術的有用性を持つものである。
従って、例えば以下に記載するように構成することもできる。
【0044】
(1)ベルトに配されるベルト図柄は、数字に限られるものではなく、例えば、キャラクタや、メッセージ(例えば、「リーチ中」、「確変中」)や、広告等であってもよい。
このように、ベルト図柄に様々な図柄を配することにより、多くの視認情報を遊技者に与えることができる。
【0045】
(2)ベルト図柄は、ベルト外面のみ、あるいはベルト内面と外面の両面に配して視認できるようにしても良い。ベルト両面にベルト図柄を配する場合には、内面と外面のベルト図柄が同じでもよいし、異なっていても良い。
このように構成することにより、種々の変化に富んだ遊技演出が可能となる。
また、液晶図柄表示器で行われる図柄演出に対して関連付けるベルト図柄をベルト外面の図柄と内面の図柄とに切り換えるようにしてもよい。このようにすると、より変化が大きい図柄変動態様を実現することができる。
【0046】
(3)ベルトの回転方向や回転速度を変化させてもよい。
例えば、回転しているベルトを一旦停止し、停止する前とは逆方向に回転させる。このようにすると、ベルトの変動態様がより面白くなる。
【0049】
(6)ベルトをねじった形状(メビウスの帯)とすることもできる。
ベルトをこのように構成すると、ベルト図柄が内面に表れたり、外面に表れたりするので、変化に富んだ変動態様を実現することができる。
【0051】
(8)ベルト図柄の全てを必ずしも視認可能としなくてもよい。例えば、内枠の一部のみを透明としてもよい。
このように構成すると、ベルトの回転にともなってベルト図柄が表れたり隠れたりするので、ベルト図柄の変動態様の変化がより大きくなる。
【0052】
(9)表示窓にシャッターを設け、表示窓を開閉可能にしてもよい。
表示窓を開閉可能にすると、表示窓にベルト図柄が見えたり、隠れたりする変化が大きい変動態様を実現できる。
【0053】
(10)ベルト図柄表示器を遊技機の前面の外郭に対して直角になるように配置してもよい。
例えば、スロットマシン前面枠に設けられて抽選ドラムが表示される抽選領域窓の外周に、前面枠に対してベルト面が直角となるようにベルト図柄表示器を取付ける。このように構成すると、スロットマシンの前面枠に設けられる抽選領域窓や他の操作部の配置に影響を与えることなく、図柄演出部を前面枠に付加することができる。
【0054】
(13)ベルト図柄表示器の表示窓は複数設けてもよい。例えば、枠体の下部、右側部、左側部の3箇所に表示窓を設ける。
このように構成すると、表示窓の位置と、ここに停止表示される図柄の種類を対応付け、これによって、例えば特典や期待度を異ならせることができる。従って、より変化が大きい遊技演出が可能となる。
【図面の簡単な説明】
【図1】本発明の第1実施形態に係る遊技機の正面図。
【図2】本発明の第1実施形態に係る図柄表示装置の正面図。
【図3】図2のIII―III線断面図。
【図4】本発明の第1実施形態に係る図柄表示装置の斜視図。
【図5】本発明の第1実施形態に係るメイン制御部と表示制御部の系統図。
【図6】本発明の第1実施形態に係るメイン制御部で行われる処理のフローチャート。
【図7】本発明の第1実施形態に係る表示制御部で行われる処理のフローチャート。
【図8】本発明の第1実施形態に係る液晶図柄表示器に表示される特別図柄の変動態様の説明図。
【図9】同上。
【図10】同上。
【図11】同上。
【図12】同上。
【図13】本発明の第2実施形態に係る図柄表示装置の断面図。
【符号の説明】
10:パチンコ機
12:盤面
14:図柄表示装置
17:ゲート
18:入賞口
22:液晶図柄表示器
25:風車
26:スピーカ
27:ランプ
30:第1種始動口、30a:可動翼片
33:球抜きレバー
34:大入賞口
36:開閉扉
38:ハンドル
40:下皿
42:灰皿
44:レール
46:上皿
50:ソレノイド
54:ゲートセンサ
56:始動口センサ
61:ベルト図柄表示器
62:電動モータ、62a:駆動シャフト
63:ベルト
65:駆動ローラ
66:フリーローラ
67:枠体、67a:外枠、67b:内枠、67c:前枠
68:フォトセンサ
69:回転スリット
72:左図柄
73:中図柄
74:右図柄
81、82:歯車
83:シャフト
84:表示窓
86:ライト
89:ベルト図柄
100:メイン制御部
102:CPU
104:ROM
106:RAM
108:入力処理回路
110:出力処理回路
112:通信制御回路
114:BUS
120:音制御回路
122:ランプ制御回路
200:表示制御部
202:CPU
204:ROM
206:RAM
208:通信制御回路
210:表示制御回路
212:BUS
220:入出力処理回路

Claims (2)

  1. 遊技球が発射されるとともに、ほぼ矩形形状の開口を有する盤面と、
    盤面を正面視した場合にほぼ矩形形状の外郭を有するとともに、盤面の前記開口に嵌まり込む枠体と、
    盤面を正面視した場合に枠体の内部に配置される液晶面を有する第1の表示器と、
    第2の表示器とを備え、
    その第2の表示器は、盤面を正面視した場合に枠体の内部に配置されるとともに枠体の四隅のそれぞれに配置されるローラと、それらのローラに架かっているとともに内面に図柄が配された閉じたベルトと、ローラを回転させることによってベルトを周方向に回転させる回転手段とを有し、
    ベルトは、盤面を正面視した場合に第1の表示器の液晶面に重複しない状態で第1の表示器の液晶面を取り囲んでおり、
    ベルトは、盤面を正面視した場合に第1の表示器の液晶面より手前側に配置される
    ことを特徴とする遊技機。
  2. 盤面に設けられている始動口をさらに備え、
    遊技球が始動口に入賞すると、第1の表示器は、前記液晶面に図柄を変動表示させる
    ことを特徴とする請求項1に記載の遊技機。
JP2001333241A 2001-10-30 2001-10-30 遊技機とその図柄表示装置 Expired - Fee Related JP4189508B2 (ja)

Priority Applications (1)

Application Number Priority Date Filing Date Title
JP2001333241A JP4189508B2 (ja) 2001-10-30 2001-10-30 遊技機とその図柄表示装置

Applications Claiming Priority (1)

Application Number Priority Date Filing Date Title
JP2001333241A JP4189508B2 (ja) 2001-10-30 2001-10-30 遊技機とその図柄表示装置

Publications (2)

Publication Number Publication Date
JP2003135745A JP2003135745A (ja) 2003-05-13
JP4189508B2 true JP4189508B2 (ja) 2008-12-03

Family

ID=19148542

Family Applications (1)

Application Number Title Priority Date Filing Date
JP2001333241A Expired - Fee Related JP4189508B2 (ja) 2001-10-30 2001-10-30 遊技機とその図柄表示装置

Country Status (1)

Country Link
JP (1) JP4189508B2 (ja)

Also Published As

Publication number Publication date
JP2003135745A (ja) 2003-05-13

Similar Documents

Publication Publication Date Title
JPH08173594A (ja) スロットマシン
JPH11114164A (ja) 遊技機
JP2012080999A (ja) 遊技機
JP2010051355A (ja) 遊技台
JP2008029624A (ja) パチンコ遊技機
JP2010063784A (ja) 遊技機
JP5859747B2 (ja) パチンコ機
JP2003033468A (ja) 遊技機
JP2005066116A (ja) 遊技機
JP4854446B2 (ja) 遊技機用表示装置
JP2003290492A (ja) 遊技機
JP2007061465A (ja) 回胴式遊技機
JP4189508B2 (ja) 遊技機とその図柄表示装置
JP2005144004A (ja) 遊技機
JP2006020958A (ja) 遊技機用表示装置
JP3168115B2 (ja) 遊技機
JPH0639109A (ja) パチンコ機
JP4377151B2 (ja) 遊技機
JP2010268867A (ja) 遊技機
JP4034444B2 (ja) 遊技機
JP2003000870A (ja) 遊技機
JPH067498A (ja) 回胴式遊戯機
JP2672344B2 (ja) パチンコ機
JP2002085727A (ja) 図柄表示装置を備えた遊技機
JPH062177B2 (ja) 回胴式遊戯機

Legal Events

Date Code Title Description
A621 Written request for application examination

Free format text: JAPANESE INTERMEDIATE CODE: A621

Effective date: 20041028

A977 Report on retrieval

Free format text: JAPANESE INTERMEDIATE CODE: A971007

Effective date: 20080326

A131 Notification of reasons for refusal

Free format text: JAPANESE INTERMEDIATE CODE: A131

Effective date: 20080415

A521 Written amendment

Free format text: JAPANESE INTERMEDIATE CODE: A523

Effective date: 20080610

TRDD Decision of grant or rejection written
A01 Written decision to grant a patent or to grant a registration (utility model)

Free format text: JAPANESE INTERMEDIATE CODE: A01

Effective date: 20080729

A01 Written decision to grant a patent or to grant a registration (utility model)

Free format text: JAPANESE INTERMEDIATE CODE: A01

A61 First payment of annual fees (during grant procedure)

Free format text: JAPANESE INTERMEDIATE CODE: A61

Effective date: 20080825

FPAY Renewal fee payment (event date is renewal date of database)

Free format text: PAYMENT UNTIL: 20110926

Year of fee payment: 3

R150 Certificate of patent or registration of utility model

Free format text: JAPANESE INTERMEDIATE CODE: R150

FPAY Renewal fee payment (event date is renewal date of database)

Free format text: PAYMENT UNTIL: 20140926

Year of fee payment: 6

FPAY Renewal fee payment (event date is renewal date of database)

Free format text: PAYMENT UNTIL: 20140926

Year of fee payment: 6

S531 Written request for registration of change of domicile

Free format text: JAPANESE INTERMEDIATE CODE: R313531

FPAY Renewal fee payment (event date is renewal date of database)

Free format text: PAYMENT UNTIL: 20140926

Year of fee payment: 6

R350 Written notification of registration of transfer

Free format text: JAPANESE INTERMEDIATE CODE: R350

R250 Receipt of annual fees

Free format text: JAPANESE INTERMEDIATE CODE: R250

LAPS Cancellation because of no payment of annual fees