JP4178917B2 - 複室容器 - Google Patents
複室容器 Download PDFInfo
- Publication number
- JP4178917B2 JP4178917B2 JP2002327173A JP2002327173A JP4178917B2 JP 4178917 B2 JP4178917 B2 JP 4178917B2 JP 2002327173 A JP2002327173 A JP 2002327173A JP 2002327173 A JP2002327173 A JP 2002327173A JP 4178917 B2 JP4178917 B2 JP 4178917B2
- Authority
- JP
- Japan
- Prior art keywords
- symbol
- chamber container
- partition wall
- symbol display
- printed
- Prior art date
- Legal status (The legal status is an assumption and is not a legal conclusion. Google has not performed a legal analysis and makes no representation as to the accuracy of the status listed.)
- Expired - Fee Related
Links
- 238000005192 partition Methods 0.000 claims abstract description 85
- 229920003002 synthetic resin Polymers 0.000 claims abstract description 10
- 239000000057 synthetic resin Substances 0.000 claims abstract description 10
- 238000003466 welding Methods 0.000 claims abstract description 10
- 238000000926 separation method Methods 0.000 claims description 20
- 230000015572 biosynthetic process Effects 0.000 claims 1
- 238000004891 communication Methods 0.000 abstract description 11
- 239000003814 drug Substances 0.000 description 12
- 229940079593 drug Drugs 0.000 description 11
- 238000000034 method Methods 0.000 description 11
- 239000000243 solution Substances 0.000 description 9
- 238000002844 melting Methods 0.000 description 6
- 230000008018 melting Effects 0.000 description 6
- 239000000126 substance Substances 0.000 description 5
- 238000002360 preparation method Methods 0.000 description 4
- 239000000203 mixture Substances 0.000 description 3
- 238000000465 moulding Methods 0.000 description 3
- 239000000725 suspension Substances 0.000 description 3
- 230000000694 effects Effects 0.000 description 2
- 210000003734 kidney Anatomy 0.000 description 2
- 239000010410 layer Substances 0.000 description 2
- -1 polyethylene Polymers 0.000 description 2
- 238000007639 printing Methods 0.000 description 2
- 239000002356 single layer Substances 0.000 description 2
- 238000011282 treatment Methods 0.000 description 2
- CBENFWSGALASAD-UHFFFAOYSA-N Ozone Chemical compound [O-][O+]=O CBENFWSGALASAD-UHFFFAOYSA-N 0.000 description 1
- 239000004698 Polyethylene Substances 0.000 description 1
- 239000004743 Polypropylene Substances 0.000 description 1
- BZHJMEDXRYGGRV-UHFFFAOYSA-N Vinyl chloride Chemical compound ClC=C BZHJMEDXRYGGRV-UHFFFAOYSA-N 0.000 description 1
- 239000000853 adhesive Substances 0.000 description 1
- 230000001070 adhesive effect Effects 0.000 description 1
- 230000004075 alteration Effects 0.000 description 1
- 239000003963 antioxidant agent Substances 0.000 description 1
- 230000003078 antioxidant effect Effects 0.000 description 1
- 229920001577 copolymer Polymers 0.000 description 1
- 238000003851 corona treatment Methods 0.000 description 1
- 238000001514 detection method Methods 0.000 description 1
- 239000000385 dialysis solution Substances 0.000 description 1
- 238000009820 dry lamination Methods 0.000 description 1
- 238000007765 extrusion coating Methods 0.000 description 1
- 238000001914 filtration Methods 0.000 description 1
- 238000007646 gravure printing Methods 0.000 description 1
- 239000012760 heat stabilizer Substances 0.000 description 1
- 238000001802 infusion Methods 0.000 description 1
- 238000007641 inkjet printing Methods 0.000 description 1
- 238000009940 knitting Methods 0.000 description 1
- 239000007788 liquid Substances 0.000 description 1
- 238000002156 mixing Methods 0.000 description 1
- 238000007645 offset printing Methods 0.000 description 1
- 229920001200 poly(ethylene-vinyl acetate) Polymers 0.000 description 1
- 229920000728 polyester Polymers 0.000 description 1
- 229920000573 polyethylene Polymers 0.000 description 1
- 229920000098 polyolefin Polymers 0.000 description 1
- 229920001155 polypropylene Polymers 0.000 description 1
- 239000000843 powder Substances 0.000 description 1
- 238000003825 pressing Methods 0.000 description 1
- 238000007789 sealing Methods 0.000 description 1
- 239000007787 solid Substances 0.000 description 1
- 238000003860 storage Methods 0.000 description 1
- 238000004381 surface treatment Methods 0.000 description 1
- 229920005992 thermoplastic resin Polymers 0.000 description 1
- 239000006097 ultraviolet radiation absorber Substances 0.000 description 1
- 238000007740 vapor deposition Methods 0.000 description 1
Images
Classifications
-
- A—HUMAN NECESSITIES
- A61—MEDICAL OR VETERINARY SCIENCE; HYGIENE
- A61J—CONTAINERS SPECIALLY ADAPTED FOR MEDICAL OR PHARMACEUTICAL PURPOSES; DEVICES OR METHODS SPECIALLY ADAPTED FOR BRINGING PHARMACEUTICAL PRODUCTS INTO PARTICULAR PHYSICAL OR ADMINISTERING FORMS; DEVICES FOR ADMINISTERING FOOD OR MEDICINES ORALLY; BABY COMFORTERS; DEVICES FOR RECEIVING SPITTLE
- A61J1/00—Containers specially adapted for medical or pharmaceutical purposes
- A61J1/14—Details; Accessories therefor
- A61J1/20—Arrangements for transferring or mixing fluids, e.g. from vial to syringe
- A61J1/2093—Containers having several compartments for products to be mixed
-
- A—HUMAN NECESSITIES
- A61—MEDICAL OR VETERINARY SCIENCE; HYGIENE
- A61J—CONTAINERS SPECIALLY ADAPTED FOR MEDICAL OR PHARMACEUTICAL PURPOSES; DEVICES OR METHODS SPECIALLY ADAPTED FOR BRINGING PHARMACEUTICAL PRODUCTS INTO PARTICULAR PHYSICAL OR ADMINISTERING FORMS; DEVICES FOR ADMINISTERING FOOD OR MEDICINES ORALLY; BABY COMFORTERS; DEVICES FOR RECEIVING SPITTLE
- A61J1/00—Containers specially adapted for medical or pharmaceutical purposes
- A61J1/05—Containers specially adapted for medical or pharmaceutical purposes for collecting, storing or administering blood, plasma or medical fluids ; Infusion or perfusion containers
- A61J1/10—Bag-type containers
-
- B—PERFORMING OPERATIONS; TRANSPORTING
- B65—CONVEYING; PACKING; STORING; HANDLING THIN OR FILAMENTARY MATERIAL
- B65D—CONTAINERS FOR STORAGE OR TRANSPORT OF ARTICLES OR MATERIALS, e.g. BAGS, BARRELS, BOTTLES, BOXES, CANS, CARTONS, CRATES, DRUMS, JARS, TANKS, HOPPERS, FORWARDING CONTAINERS; ACCESSORIES, CLOSURES, OR FITTINGS THEREFOR; PACKAGING ELEMENTS; PACKAGES
- B65D81/00—Containers, packaging elements, or packages, for contents presenting particular transport or storage problems, or adapted to be used for non-packaging purposes after removal of contents
- B65D81/32—Containers, packaging elements, or packages, for contents presenting particular transport or storage problems, or adapted to be used for non-packaging purposes after removal of contents for packaging two or more different materials which must be maintained separate prior to use in admixture
- B65D81/3261—Flexible containers having several compartments
- B65D81/3266—Flexible containers having several compartments separated by a common rupturable seal, a clip or other removable fastening device
-
- A—HUMAN NECESSITIES
- A61—MEDICAL OR VETERINARY SCIENCE; HYGIENE
- A61J—CONTAINERS SPECIALLY ADAPTED FOR MEDICAL OR PHARMACEUTICAL PURPOSES; DEVICES OR METHODS SPECIALLY ADAPTED FOR BRINGING PHARMACEUTICAL PRODUCTS INTO PARTICULAR PHYSICAL OR ADMINISTERING FORMS; DEVICES FOR ADMINISTERING FOOD OR MEDICINES ORALLY; BABY COMFORTERS; DEVICES FOR RECEIVING SPITTLE
- A61J1/00—Containers specially adapted for medical or pharmaceutical purposes
- A61J1/14—Details; Accessories therefor
- A61J1/20—Arrangements for transferring or mixing fluids, e.g. from vial to syringe
- A61J1/2003—Accessories used in combination with means for transfer or mixing of fluids, e.g. for activating fluid flow, separating fluids, filtering fluid or venting
- A61J1/202—Separating means
- A61J1/2024—Separating means having peelable seals
-
- B—PERFORMING OPERATIONS; TRANSPORTING
- B65—CONVEYING; PACKING; STORING; HANDLING THIN OR FILAMENTARY MATERIAL
- B65D—CONTAINERS FOR STORAGE OR TRANSPORT OF ARTICLES OR MATERIALS, e.g. BAGS, BARRELS, BOTTLES, BOXES, CANS, CARTONS, CRATES, DRUMS, JARS, TANKS, HOPPERS, FORWARDING CONTAINERS; ACCESSORIES, CLOSURES, OR FITTINGS THEREFOR; PACKAGING ELEMENTS; PACKAGES
- B65D2203/00—Decoration means, markings, information elements, contents indicators
-
- B—PERFORMING OPERATIONS; TRANSPORTING
- B65—CONVEYING; PACKING; STORING; HANDLING THIN OR FILAMENTARY MATERIAL
- B65D—CONTAINERS FOR STORAGE OR TRANSPORT OF ARTICLES OR MATERIALS, e.g. BAGS, BARRELS, BOTTLES, BOXES, CANS, CARTONS, CRATES, DRUMS, JARS, TANKS, HOPPERS, FORWARDING CONTAINERS; ACCESSORIES, CLOSURES, OR FITTINGS THEREFOR; PACKAGING ELEMENTS; PACKAGES
- B65D2203/00—Decoration means, markings, information elements, contents indicators
- B65D2203/12—Audible, olfactory or visual signalling means
Landscapes
- Health & Medical Sciences (AREA)
- Pharmacology & Pharmacy (AREA)
- Life Sciences & Earth Sciences (AREA)
- Animal Behavior & Ethology (AREA)
- General Health & Medical Sciences (AREA)
- Public Health (AREA)
- Veterinary Medicine (AREA)
- Engineering & Computer Science (AREA)
- Mechanical Engineering (AREA)
- Fluid Mechanics (AREA)
- Physics & Mathematics (AREA)
- Hematology (AREA)
- Medical Preparation Storing Or Oral Administration Devices (AREA)
- Package Specialized In Special Use (AREA)
- Bag Frames (AREA)
- Packages (AREA)
- Physical Deposition Of Substances That Are Components Of Semiconductor Devices (AREA)
- Sampling And Sample Adjustment (AREA)
- Piezo-Electric Or Mechanical Vibrators, Or Delay Or Filter Circuits (AREA)
- Devices For Use In Laboratory Experiments (AREA)
- Table Devices Or Equipment (AREA)
Description
【発明が属する技術分野】
本発明は、使用直前に複数の薬剤を混合しうる複数の室を有する容器に関する。より詳細には、本発明は、医療従事者が薬剤を混合するために複数の室が連通されたことを見知しうる容器に関する。
【0002】
【従来の技術】
従来、混合した状態では変質などにより保存性が悪くなる薬剤や薬液を、使用直前に無菌混合する為に、複室容器が用いられている。これは、容易に剥離可能な隔壁によって区画される複数の室に、複数の内容物を別々に保存しておき、使用直前に容器を手で圧縮して隔壁を剥離させ、複数の室を連通させて内容物を無菌混合させるというものである(例えば、特許文献1参照)。
しかし、このような複室容器は一つの室に排出口が設けられており、隔壁の剥離を怠ってしまっていても薬液の投与作業が行えるため、各室に収容される内容物の混合を忘れたまま薬液を患者に投与してしまう危険性がある。
【0003】
そこで、上記問題点を解決するために、複室容器使用時に医療従事者の注意を隔壁付近に向けさせる工夫がなされた容器が開発されている(例えば、特許文献2参照)。この容器は、隔壁で区画された1室が容器の懸架孔内に設けられている。複室容器使用時に、医療従事者は容器を懸架しようとして懸架孔を確認するため、その際に隔壁が剥離されて各室が連通されているかどうかを必然的に確認することができる。
しかし、前記複室容器は、特に小容量の薬剤室の連通忘れを防止することを目的としており、小さな懸架孔内に設けることのできる室の容量には制限がある。また、医療従事者は複数の患者の処置を同時に行うことがあり、使用のための準備を行い始めた複室容器を一旦放置したまま他の作業を行い、その後複室容器の使用準備を再開する場合や、別の医療従事者が使用準備を再開する場合もある。このような場合においては、隔壁の剥離が完了したと勘違いして、複数の室が連通されていない状態で患者への薬液投与を開始してしまう危険がある。しかし、前記複室容器は、医療従事者の注意を隔壁に向けることはできても、隔壁が剥離されて各室が連通されたかどうかを即座に確認できるものではない。
【0004】
【特許文献1】
特公平6−26563号公報
【特許文献2】
特開2000−5275号公報
【0005】
【発明が解決しようとする課題】
上記事情に鑑み、本発明は剥離可能な隔壁が剥離されたかどうかを表示し、複室容器使用時に医療従事者が各室の連通状態を瞬時に見知しうる複室容器を提供することを目的とする。
【0006】
【課題を解決するための手段】
本発明者らは、上記課題を解決するために種々鋭意検討した結果、対向するフィルムの隔壁形成部に、隔壁が剥離されたことを複室容器外表面に表示しうる手段を設けることにより、上記課題を解決する複室容器を提供できることを見出した。
【0007】
すなわち本発明は、合成樹脂製フィルムからなり、該フィルムの対向する一部を熱溶着して形成される剥離可能な隔壁により複数の室に区画された複室容器において、該隔壁の剥離を複室容器外表面に表示しうる手段が設けられてなる複室容器であって、前記隔壁の剥離を表示しうる手段は、対向するフィルムの一方の隔壁形成部の外表面に設けられ、複数の室が連通していることを表す記号が印刷された記号表示部と、他方の隔壁形成部の外表面に設けられ、記号表示部の記号を見えない程度に遮蔽する記号遮蔽部とからなり、前記隔壁が形成される時は、該記号表示部と該記号遮蔽部が重なり合い、記号が記号遮蔽部によって外表面に表示されることを妨げられており、前記隔壁が剥離された時は、該記号表示部と該記号遮蔽部が離間して該記号表示部の記号が外表面に表示されることを特徴とする複室容器である。
【0008】
【作用】
本発明の複室容器は、剥離可能な隔壁により複数の室に区画されており、各室には、混合した状態で保存できない薬剤や薬液がそれぞれ収容される。該複室容器使用時には、各室を外部から圧迫する等により隔壁を剥離し、各室を連通させて各室内に収容された薬剤や薬液を混合する。この時、本発明の複室容器を形成するフィルムの隔壁形成部には、隔壁が剥離されたことを複室容器外表面に表示する手段が設けられており、医療従事者は隔壁が剥離されると同時に、各室が連通されたことを見知できる。また、該複室容器に隔壁の剥離を表示する手段が設けられたことにより、医療従事者が複室容器の使用準備の途中で該複室容器を一旦放置し、その後本人または他人が使用準備を再開した場合であっても、複室容器の各室が連通されているかどうかを即座に見知することが可能である。
【0009】
【発明の実施の形態】
以下に、本発明の複室容器を添付図面に示す好適な実施例に基づいて詳細に説明するが、本発明はこれらの説明に限定されるものではない。
図1は本発明の複室容器の一実施例を示す側面図である。また、図2は本発明の複室容器の隔壁部分の一実施例を示す拡大断面図であり、図3は本発明の複室容器の隔壁部分の他の実施例を示す拡大断面図である。さらに、図4〜8は本発明の複室容器に設けられる隔壁の剥離を表示しうる手段の実施例を示す説明図である。
【0010】
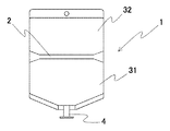
図1に示されるように、本発明の複室容器1は、剥離可能な隔壁2によって例えば2つの室31および32に区画されており、一方の室31には複室容器内部の薬剤や薬液を排出する排出口4が設けられている。該複室容器1に設けられる室の数は、混合しようとする薬剤または薬液の数によって変更されることが可能である。また、排出口の数や位置、形状についても、複室容器内で調製される薬液の種類や用途に応じて適宜変更される。
【0011】
複室容器1は合成樹脂製フィルムから形成される。該合成樹脂としては、ポリエチレン、ポリプロピレン等のポリオレフィンや、これらの部分架橋物、エチレン−酢酸ビニル共重合体、ポリエステル、軟質塩化ビニル、あるいはこれらの混合物や共重合体などがあげられる。前記合成樹脂製フィルムは、該合成樹脂の他に、熱安定剤や酸化防止剤、紫外線吸収剤等を含有するものであってもよいし、オゾン処理、コロナ処理、蒸着処理などの表面処理が施されたものであってもよい。
また該合成樹脂製フィルムは単層フィルムであっても、多層フィルムであってもよい。該単層フィルムは、好ましくは肉厚が5〜500μmであって、Tダイ成形、インフレーション成形等、一般の熱可塑性樹脂に用いられる方法により作製される。該多層フィルムは、好ましくは肉厚が10〜500μmであって、共押出し成形、ドライラミネート、押出コーティングなどの方法によりフィルムが作製される。
【0012】
前記合成樹脂は、前記成形方法によって筒状または板状のフィルムに成形される。筒状フィルムの場合は適当な長さに切断され、板状フィルムの場合は2枚のフィルムを重ねて、該フィルムの対向する一部を熱溶着することにより剥離可能な隔壁2が形成される。該熱溶着は、例えば最内層のフィルムに含まれる成分の内、最も低い融点を持つ成分の融点よりも高い温度で、且つ最も高い融点を持つ成分の融点よりも低い温度で行われる。
前記隔壁2が形成された筒状フィルムまたは2枚の板状フィルムは、例えば最内層のフィルムに含まれる成分の内、最も高い融点を持つ成分の融点よりも高い温度でその縁部を剥離不可能に熱融着することにより、複室容器1が形成される。
ここで、該熱溶着の方法としては、熱金型による溶着、超音波溶着、高周波溶着などの方法が使用できる。
【0013】
上記方法により形成される複室容器1は、縁部の熱溶着前か、または該縁部の熱溶着後に排出口4などの開口部から、内容物が充填される。該内容物は、人工腎臓用透析液、濾過型人工腎臓用置換液、輸液製剤の他、液体に限らず、粉体、固体などであってもよい。
前記複室容器1は、隔壁2により区画された室31、32のいずれかを手などで圧縮することにより、該隔壁2を剥離させ、複数の室31、32を連通させて複数の内容物を混合させる。
【0014】
本発明の複室容器1は、図2に示されるように対向するフィルム11および12の両方の隔壁形成部に、隔壁の剥離を表示しうる手段が設けられている。該隔壁の剥離を表示しうる手段とは、複室容器1の隔壁2が剥離された時にのみ、それを複室容器1の外表面に表示する手段を意味する。
該手段としては、例えば、対向するフィルムの一方11の隔壁形成部に設けられる記号表示部51と、対向するフィルムの他方12の隔壁形成部に設けられる記号遮蔽部52とからなるものが挙げられる。前記隔壁2が形成される時、すなわち対向するフィルム11および12が重なり合っている時は、該記号表示部51と記号遮蔽部52も重なり合っており、該記号表示部51の記号は該記号遮蔽部52によって、複室容器1の外表面に表示されることを妨げられている。一方、前記隔壁2が剥離されたとき、すなわち対向するフィルム11および12が離間した時は、該記号表示部51と記号遮蔽部52も離間しており、該記号表示部51の記号が複室容器外表面に表示される。これにより、複室容器1が戴置されている、あるいは懸架されている等、いかなる状態で配置されていても、隔壁2が剥離されて複数の室が連通したことが医療従事者に容易に見知されうる。
【0015】
前記隔壁の剥離を複室容器外表面に表示しうる手段の具体例について、図4〜8を用いて以下に説明する。
隔壁の剥離を表示しうる手段の一実施例としては、図4に示されるように、対向するフィルムの一方11の隔壁形成部には、複室容器1の複数の室が連通している事を表す記号として「開」という文字が印刷された記号表示部51が設けられている。また、対向するフィルムの他方12の隔壁形成部には、該記号表示部51の記号を遮蔽しうるように、該記号と同色で、かつ記号が印刷された面積よりも大きい面積を有するように塗りつぶされた記号遮蔽部52が設けられている。
隔壁2が形成される時、すなわち対向するフィルム11および12が重なり合っている時は、該記号表示部51と記号遮蔽部52も重なり合っているため、該記号表示部51の「開」という文字は該記号遮蔽部52の塗りつぶしによって見えないようになっている。一方、前記隔壁2が剥離された時、すなわち対向するフィルム11および12が離間した時は、該記号表示部51と記号遮蔽部52も離間しているため、該記号表示部51の「開」という文字は複室容器1の外表面に表示される。医療従事者は、複室容器1の外表面に表示される「開」という文字を見知し、隔壁2が剥離されて複数の室が連通した状態であることを即座に認識しうる。
【0016】
前記記号表示部51の記号は、図4に示すような「開」等の日本語表記に限らず、「open」等の英語表記であってもよいし、また文字以外に図6に示すような矢印等の図形が用いられてもよく、隔壁が剥離されていること、または複数の室が連通していることが瞬時に見知されるような記号であれば特に限定されない。
【0017】
前記隔壁の剥離を表示しうる手段の他の例を図5に示す。すなわち、該記号表示部51には、隔壁2が剥離されていること、または複数の室が連通していることを表示する記号の他に、背景として編みかけ模様が印刷され、該記号遮蔽部52には、該記号表示部51の背景の網掛け模様の隙間を塗りつぶすような模様が印刷される。
このような手段を用いた場合も、隔壁2が形成される時は、該記号表示部51の記号が表示されず、該隔壁2が剥離された時に、初めて該記号が複室容器1の外表面に表示される。
【0018】
また、前記隔壁の剥離を表示しうる手段の他の例として、図6に示すものもあげられる。すなわち、該記号表示部51には記号が印刷され、該記号遮蔽部52には、該記号表示部51の記号を白抜きにした図形が印刷される。
このような手段によれば、該記号表示部51の記号は元より、該記号遮蔽部52もまた記号を表示することになり、複室容器1の表裏どちらから見ても、隔壁が剥離されていること、または複数の室が連通していることが瞬時に見知されて好ましい。該記号遮蔽部52は、図6に示すように記号表示部51の記号を白抜きにした図形が印刷されたものだけでなく、図5に示すように、記号遮蔽部52の背景が塗りつぶされていない場合に、記号表示部51の記号を印刷したものであっても、同様の効果を生ずる。
【0019】
さらに他の隔壁の剥離を表示しうる手段を図7に示す。すなわち、該記号表示部51には、記号の他に背景として一つの方向に平行に配置される複数の線が印刷され、該記号遮蔽部52には、該記号表示部51の背景に用いられる線とは異なる方向、好ましくは該線と垂直に交わる方向に平行に配置される複数の線が印刷される。
このように、該記号遮蔽部52は、図5および図6に示されるように該記号表示部51の記号を必ずしも完全に塗りつぶす必要はなく、該記号が見えない程度に遮蔽されるものであればよい。
【0020】
また、前記隔壁の剥離を表示しうる手段としては、図6における記号表示部51の記号自体を網掛け模様とし、記号遮蔽部の記号の白抜き部分を、該記号表示部の網掛け模様の隙間を塗りつぶすような模様とした、図8に示される手段もあげられる。
このような手段によっても、該記号表示部51および該記号遮蔽部52の両方が記号を表示することになり、複室容器1の表裏どちらから見ても、隔壁が剥離されていること、または複数の室が連通していることが瞬時に見知される。
【0021】
上記したように、図4〜図8に示される隔壁の剥離を表示しうる手段の実施例においては、記号表示部51、記号遮蔽部52における記号および背景の色については、特に限定されないが、記号遮蔽部52によって記号が遮蔽しやすい濃厚色か、または医療従事者による見知をなるべく瞬時に行い得るよう目立つ色を用いることが好ましい。記号と背景の色が同一の場合には、その濃度を異なるものにしてもよい。
また、前記記号表示部51および記号遮蔽部52の設けられる面積は、対向するフィルムの隔壁形成部に収まる大きさであれば特に限定されないが、医療従事者による見知を遅らせない程度に十分に大きいものが好ましい。
なお、前記記号表示部51および記号遮蔽部52の印刷方法としては、グラビア印刷、オフセット印刷、ホットスタンプ、インクジェット印刷等、従来のフィルムや容器に使用されている印刷方法が用いられる。
【0022】
図4〜8に示される記号表示部51および記号遮蔽部52は、図2に示すように対向するフィルム11および12の隔壁形成部に直接印刷されていてもよいし、図3に示すように、別途用意されたフィルムに印刷したものを、対向するフィルム11および12の隔壁形成部の外表面に貼付してもよい。該貼付方法としては、熱溶着や接着剤による接着等、公知の方法が用いられる。
【0023】
【発明の効果】
本発明の複室容器は、対向するフィルムの隔壁形成部に、隔壁が剥離されたことを複室容器外表面に表示しうる手段が設けられているため、該隔壁が剥離され、複数の室が連通されたかどうかを、医療従事者が瞬時に見知することが可能である。また、該隔壁が剥離されたことを表示する手段を、複室容器の表裏両方の外表面に表示させることにより、該複室容器がいかなる状態で戴置あるいは懸架されていても、またその後複室容器の隔壁を剥離した医療従事者本人または他人が該複室容器を使用する場合であっても、該隔壁が剥離されていることを即座に見知することができる。
【図面の簡単な説明】
【図1】 本発明の複室容器の一実施例を示す側面図である。
【図2】 本発明の複室容器の隔壁部分の一実施例を示す拡大断面図である。
【図3】 本発明の複室容器の隔壁部分の他の実施例を示す拡大断面図である。
【図4】 本発明の複室容器に設けられる隔壁の剥離を表示しうる手段の一実施例を示す説明図である。
【図5】 本発明の複室容器に設けられる隔壁の剥離を表示しうる手段の他の実施例を示す説明図である。
【図6】 本発明の複室容器に設けられる隔壁の剥離を表示しうる手段の他の実施例を示す説明図である。
【図7】 本発明の複室容器に設けられる隔壁の剥離を表示しうる手段の他の実施例を示す説明図である。
【図8】 本発明の複室容器に設けられる隔壁の剥離を表示しうる手段の他の実施例を示す説明図である。
【符号の説明】
1 複室容器
2 隔壁
31、32 室
11、12 合成樹脂製フィルム
51 記号表示部
52 記号遮蔽部
Claims (5)
- 合成樹脂製フィルムからなり、該フィルムの対向する一部を熱溶着して形成される剥離可能な隔壁により複数の室に区画された複室容器において、該隔壁の剥離を複室容器外表面に表示しうる手段が設けられてなる複室容器であって、前記隔壁の剥離を表示しうる手段は、対向するフィルムの一方の隔壁形成部の外表面に設けられ、複数の室が連通していることを表す記号が印刷された記号表示部と、他方の隔壁形成部の外表面に設けられ、記号表示部の記号を見えない程度に遮蔽する記号遮蔽部とからなり、前記隔壁が形成される時は、該記号表示部と該記号遮蔽部が重なり合い、記号が記号遮蔽部によって外表面に表示されることを妨げられており、前記隔壁が剥離された時は、該記号表示部と該記号遮蔽部が離間して該記号表示部の記号が外表面に表示されることを特徴とする複室容器。
- 前記記号遮蔽部は、記号表示部の記号が印刷された面積よりも大きい面積を有するように塗りつぶされてなる請求項1記載の複室容器。
- 前記記号表示部には、記号の他に背景模様が印刷され、記号遮蔽部には前記背景模様の隙間を塗りつぶすような模様が印刷されてなる請求項1記載の複室容器。
- 前記記号遮蔽部がさらに、隔壁が剥離されたときに記号を表示しうるものである請求項3記載の複室容器。
- 前記記号遮蔽部には、記号表示部の記号を白抜きにした図形が印刷されてなる請求項1記載の複室容器。
Priority Applications (8)
| Application Number | Priority Date | Filing Date | Title |
|---|---|---|---|
| JP2002327173A JP4178917B2 (ja) | 2002-11-11 | 2002-11-11 | 複室容器 |
| AU2003280656A AU2003280656A1 (en) | 2002-11-11 | 2003-10-30 | Plural-chamber container |
| KR20057008245A KR100863525B1 (ko) | 2002-11-11 | 2003-10-30 | 복실용기(復室容器) |
| PCT/JP2003/013959 WO2004043327A1 (ja) | 2002-11-11 | 2003-10-30 | 複室容器 |
| US10/534,491 US7293646B2 (en) | 2002-11-11 | 2003-10-30 | Plural-chamber container |
| EP03770051A EP1561448B1 (en) | 2002-11-11 | 2003-10-30 | Plural-chamber container |
| AT03770051T ATE448767T1 (de) | 2002-11-11 | 2003-10-30 | Mehrkammerbehälter |
| DE60330177T DE60330177D1 (de) | 2002-11-11 | 2003-10-30 | Mehrkammerbehälter |
Applications Claiming Priority (1)
| Application Number | Priority Date | Filing Date | Title |
|---|---|---|---|
| JP2002327173A JP4178917B2 (ja) | 2002-11-11 | 2002-11-11 | 複室容器 |
Publications (2)
| Publication Number | Publication Date |
|---|---|
| JP2004159778A JP2004159778A (ja) | 2004-06-10 |
| JP4178917B2 true JP4178917B2 (ja) | 2008-11-12 |
Family
ID=32310511
Family Applications (1)
| Application Number | Title | Priority Date | Filing Date |
|---|---|---|---|
| JP2002327173A Expired - Fee Related JP4178917B2 (ja) | 2002-11-11 | 2002-11-11 | 複室容器 |
Country Status (8)
| Country | Link |
|---|---|
| US (1) | US7293646B2 (ja) |
| EP (1) | EP1561448B1 (ja) |
| JP (1) | JP4178917B2 (ja) |
| KR (1) | KR100863525B1 (ja) |
| AT (1) | ATE448767T1 (ja) |
| AU (1) | AU2003280656A1 (ja) |
| DE (1) | DE60330177D1 (ja) |
| WO (1) | WO2004043327A1 (ja) |
Families Citing this family (20)
| Publication number | Priority date | Publication date | Assignee | Title |
|---|---|---|---|---|
| EP1669051A4 (en) * | 2003-09-30 | 2011-06-15 | Nipro Corp | MEDICAL CONTAINER AND METHOD OF USE THEREOF |
| US8336705B2 (en) | 2003-12-02 | 2012-12-25 | Fuso Pharmaceuticals Industries, Ltd. | Multi-chamber container |
| JP4606084B2 (ja) * | 2004-07-29 | 2011-01-05 | 扶桑薬品工業株式会社 | 複室容器 |
| JP4678187B2 (ja) * | 2004-12-28 | 2011-04-27 | ニプロ株式会社 | 複室容器 |
| US7935070B2 (en) | 2005-01-28 | 2011-05-03 | Fresenius Medical Care North America | Systems and methods for dextrose containing peritoneal dialysis (PD) solutions with neutral pH and reduced glucose degradation product |
| BRPI0617965A2 (pt) * | 2005-10-05 | 2011-08-09 | Dow Global Technologies Inc | composição de camada de selagem descascável |
| US20070209951A1 (en) * | 2006-03-13 | 2007-09-13 | Baylor College Of Medicine | Multi-chamber container |
| JP4878996B2 (ja) * | 2006-11-20 | 2012-02-15 | 大和グラビヤ株式会社 | 鉄道レール支持用パッド |
| JP4878997B2 (ja) * | 2006-11-20 | 2012-02-15 | 大和グラビヤ株式会社 | 橋枕木支持用パッド |
| KR100799354B1 (ko) * | 2007-11-08 | 2008-01-30 | 주식회사 인포피아 | 시약용기 |
| JP5238532B2 (ja) * | 2009-01-30 | 2013-07-17 | 株式会社細川洋行 | 医療用複室容器、これを用いた薬剤混合の認識方法、及び薬剤入り医療用複室容器 |
| US9585810B2 (en) | 2010-10-14 | 2017-03-07 | Fresenius Medical Care Holdings, Inc. | Systems and methods for delivery of peritoneal dialysis (PD) solutions with integrated inter-chamber diffuser |
| WO2013156041A1 (en) | 2012-04-18 | 2013-10-24 | Carl Zeiss Smt Gmbh | A microlithographic apparatus and a method of changing an optical wavefront in an objective of such an apparatus |
| US9956068B2 (en) | 2012-09-28 | 2018-05-01 | Covidien Lp | Package for a surgical repair kit |
| JP6231419B2 (ja) * | 2014-03-28 | 2017-11-15 | テルモ株式会社 | 医療用複室容器 |
| EP3195845A1 (en) * | 2016-01-21 | 2017-07-26 | B. Braun Melsungen AG | Pharmacy bag with integrated flush option |
| KR101868908B1 (ko) * | 2016-02-26 | 2018-06-19 | 이상운 | 수액백용 롤 프린팅 장치 |
| DE102018116787A1 (de) * | 2018-07-11 | 2020-01-16 | Fresenius Medical Care Deutschland Gmbh | Mehrkammerbeutel für medizinische Zwecke und Verfahren zur Erkennung des Zustandes einer auftrennbaren Naht eines Mehrkammerbeutels für medizinische Zwecke |
| JP7281889B2 (ja) * | 2018-10-22 | 2023-05-26 | 大成ラミック株式会社 | 易剥離部の開封表示付包装袋および易剥離部の開封確認方法 |
| DE102023102598A1 (de) * | 2023-02-02 | 2024-08-08 | Fresenius Medical Care Deutschland Gmbh | Mehrkammerbeutel zur Herstellung von Dialysat |
Family Cites Families (15)
| Publication number | Priority date | Publication date | Assignee | Title |
|---|---|---|---|---|
| IT1159357B (it) | 1983-02-08 | 1987-02-25 | Olivetti & Co Spa | Procedimento ed apparecchiature per la fabbricazione di elementi profilati di materiale deformabile particolarmente per dispositivi stampanti a getto di inchiostro |
| JPS61107767U (ja) * | 1984-12-19 | 1986-07-08 | ||
| US4709396A (en) * | 1985-12-24 | 1987-11-24 | John H. Harland Company | Tamper-evident envelope with indicia underlying cohesive layers |
| JPH0626563B2 (ja) * | 1986-07-10 | 1994-04-13 | 株式会社新素材総合研究所 | 医療用容器及びその製造方法 |
| JP2675075B2 (ja) * | 1988-06-10 | 1997-11-12 | 株式会社新素材総合研究所 | 内容物入り容器 |
| US5103979A (en) * | 1989-10-11 | 1992-04-14 | Oscar Mayer Foods Corp. | Package having peel seal tamper-evidence message |
| US5064664A (en) * | 1990-04-04 | 1991-11-12 | Oscar Mayer Foods Corporation | Package having engraved lettering peel seal tamper-evidence message |
| JP3091069B2 (ja) * | 1992-12-28 | 2000-09-25 | 三井化学株式会社 | 樹脂積層体およびその用途 |
| DE4447626C5 (de) * | 1994-03-29 | 2007-01-25 | Fresenius Ag | Medizinischer Mehrkammerbeutel |
| JP4263781B2 (ja) | 1998-06-17 | 2009-05-13 | テルモ株式会社 | 輸液用容器 |
| JP2000262589A (ja) | 1999-03-16 | 2000-09-26 | Jms Co Ltd | 複室容器 |
| JP4476435B2 (ja) * | 1999-07-22 | 2010-06-09 | 株式会社細川洋行 | 仕切部材、複室輸液容器および薬剤入り複室輸液容器の製造方法 |
| JP3886321B2 (ja) * | 2000-04-17 | 2007-02-28 | 大和グラビヤ株式会社 | 包装用袋 |
| US20020066678A1 (en) * | 2000-08-30 | 2002-06-06 | Igal Sharon | Seal tamper indicator for multi-compartment packaging |
| US20030133630A1 (en) * | 2002-01-16 | 2003-07-17 | Chung-Hsiang Wang | Packaging device with fake-proof adhesive tape |
-
2002
- 2002-11-11 JP JP2002327173A patent/JP4178917B2/ja not_active Expired - Fee Related
-
2003
- 2003-10-30 DE DE60330177T patent/DE60330177D1/de not_active Expired - Lifetime
- 2003-10-30 KR KR20057008245A patent/KR100863525B1/ko not_active Expired - Fee Related
- 2003-10-30 EP EP03770051A patent/EP1561448B1/en not_active Expired - Lifetime
- 2003-10-30 WO PCT/JP2003/013959 patent/WO2004043327A1/ja not_active Ceased
- 2003-10-30 AU AU2003280656A patent/AU2003280656A1/en not_active Abandoned
- 2003-10-30 AT AT03770051T patent/ATE448767T1/de not_active IP Right Cessation
- 2003-10-30 US US10/534,491 patent/US7293646B2/en not_active Expired - Fee Related
Also Published As
| Publication number | Publication date |
|---|---|
| KR100863525B1 (ko) | 2008-10-15 |
| EP1561448B1 (en) | 2009-11-18 |
| EP1561448A1 (en) | 2005-08-10 |
| US7293646B2 (en) | 2007-11-13 |
| US20060065565A1 (en) | 2006-03-30 |
| KR20050074567A (ko) | 2005-07-18 |
| DE60330177D1 (de) | 2009-12-31 |
| ATE448767T1 (de) | 2009-12-15 |
| WO2004043327A1 (ja) | 2004-05-27 |
| JP2004159778A (ja) | 2004-06-10 |
| EP1561448A4 (en) | 2008-01-23 |
| AU2003280656A1 (en) | 2004-06-03 |
Similar Documents
| Publication | Publication Date | Title |
|---|---|---|
| JP4178917B2 (ja) | 複室容器 | |
| ES2132091T5 (es) | Recipiente flexible para medicamentos con compartimientos multiples. | |
| JP4096200B2 (ja) | 医療用複室容器及びこれを収容する収容袋 | |
| EP0619998A1 (en) | Peelable seal and container having same | |
| US20120312714A1 (en) | Tactile and low-vision indication packaging system and apparatus | |
| JP2001522655A (ja) | 優先断裂式シールを伴う可撓多数コンパートメント医用容器 | |
| CN100594872C (zh) | 医疗用容器 | |
| TWI401076B (zh) | 醫療用多室容器之弱密封部的補強方法 | |
| JPH09117489A (ja) | 点滴用包装容器の汚染防止袋 | |
| JP2002255199A (ja) | 流動食用の注出口付きパウチ | |
| JP4678187B2 (ja) | 複室容器 | |
| US8920590B1 (en) | Tamper evident seal for a medical container | |
| CN101316569A (zh) | 医疗用多室容器的弱密封部的加强方法 | |
| JP4273962B2 (ja) | 可撓性複室容器 | |
| JP4649854B2 (ja) | 薬剤バッグ | |
| TWI328448B (en) | Medical liquid container and preparation-containing medical liquid container | |
| JPWO2005089697A1 (ja) | 経腸栄養バッグ | |
| JP4179218B2 (ja) | 医療用容器 | |
| JP2004305722A (ja) | 薬剤バッグ | |
| JP5078370B2 (ja) | 医療用容器 | |
| JP4930138B2 (ja) | 医療用複室容器 | |
| CN121038764A (zh) | 医用袋及其制造方法 | |
| JP2015009855A (ja) | 経口摂取品包装体 | |
| JP3158501U (ja) | 医療用複室容器 | |
| JP2000000286A (ja) | X線装置で視認可能なプレススルーパック包装体 |
Legal Events
| Date | Code | Title | Description |
|---|---|---|---|
| A621 | Written request for application examination |
Free format text: JAPANESE INTERMEDIATE CODE: A621 Effective date: 20040921 |
|
| A131 | Notification of reasons for refusal |
Free format text: JAPANESE INTERMEDIATE CODE: A131 Effective date: 20070918 |
|
| A521 | Request for written amendment filed |
Free format text: JAPANESE INTERMEDIATE CODE: A523 Effective date: 20071116 |
|
| A131 | Notification of reasons for refusal |
Free format text: JAPANESE INTERMEDIATE CODE: A131 Effective date: 20080331 |
|
| A521 | Request for written amendment filed |
Free format text: JAPANESE INTERMEDIATE CODE: A523 Effective date: 20080508 |
|
| TRDD | Decision of grant or rejection written | ||
| A01 | Written decision to grant a patent or to grant a registration (utility model) |
Free format text: JAPANESE INTERMEDIATE CODE: A01 Effective date: 20080805 |
|
| A01 | Written decision to grant a patent or to grant a registration (utility model) |
Free format text: JAPANESE INTERMEDIATE CODE: A01 |
|
| A61 | First payment of annual fees (during grant procedure) |
Free format text: JAPANESE INTERMEDIATE CODE: A61 Effective date: 20080818 |
|
| R150 | Certificate of patent or registration of utility model |
Ref document number: 4178917 Country of ref document: JP Free format text: JAPANESE INTERMEDIATE CODE: R150 Free format text: JAPANESE INTERMEDIATE CODE: R150 |
|
| FPAY | Renewal fee payment (event date is renewal date of database) |
Free format text: PAYMENT UNTIL: 20110905 Year of fee payment: 3 |
|
| FPAY | Renewal fee payment (event date is renewal date of database) |
Free format text: PAYMENT UNTIL: 20110905 Year of fee payment: 3 |
|
| FPAY | Renewal fee payment (event date is renewal date of database) |
Free format text: PAYMENT UNTIL: 20140905 Year of fee payment: 6 |
|
| R250 | Receipt of annual fees |
Free format text: JAPANESE INTERMEDIATE CODE: R250 |
|
| R250 | Receipt of annual fees |
Free format text: JAPANESE INTERMEDIATE CODE: R250 |
|
| R250 | Receipt of annual fees |
Free format text: JAPANESE INTERMEDIATE CODE: R250 |
|
| R250 | Receipt of annual fees |
Free format text: JAPANESE INTERMEDIATE CODE: R250 |
|
| LAPS | Cancellation because of no payment of annual fees |