JP4178317B2 - 自在継手と軸との連結構造 - Google Patents

自在継手と軸との連結構造 Download PDF

Info

Publication number
JP4178317B2
JP4178317B2 JP2003160874A JP2003160874A JP4178317B2 JP 4178317 B2 JP4178317 B2 JP 4178317B2 JP 2003160874 A JP2003160874 A JP 2003160874A JP 2003160874 A JP2003160874 A JP 2003160874A JP 4178317 B2 JP4178317 B2 JP 4178317B2
Authority
JP
Japan
Prior art keywords
shaft
yoke
universal joint
side plates
bottom plate
Prior art date
Legal status (The legal status is an assumption and is not a legal conclusion. Google has not performed a legal analysis and makes no representation as to the accuracy of the status listed.)
Expired - Fee Related
Application number
JP2003160874A
Other languages
English (en)
Other versions
JP2004360814A (ja
Inventor
博二 植田
Current Assignee (The listed assignees may be inaccurate. Google has not performed a legal analysis and makes no representation or warranty as to the accuracy of the list.)
JTEKT Corp
Original Assignee
JTEKT Corp
Priority date (The priority date is an assumption and is not a legal conclusion. Google has not performed a legal analysis and makes no representation as to the accuracy of the date listed.)
Filing date
Publication date
Application filed by JTEKT Corp filed Critical JTEKT Corp
Priority to JP2003160874A priority Critical patent/JP4178317B2/ja
Publication of JP2004360814A publication Critical patent/JP2004360814A/ja
Application granted granted Critical
Publication of JP4178317B2 publication Critical patent/JP4178317B2/ja
Anticipated expiration legal-status Critical
Expired - Fee Related legal-status Critical Current

Links

Images

Landscapes

  • Steering Controls (AREA)

Description

【0001】
【発明の属する技術分野】
本発明は、軸心が交叉、又は偏心した2軸を回転伝達可能に連結すべく用いられる自在継手と軸との連結構造に関する。
【0002】
【従来の技術】
自在継手(ユニバーサルジョイント)は、二股に分岐したフォーク状のピン受けアームを一側に備える一対のヨークを夫々のピン受けアームが略直角をなして交叉するように向き合わせ、これらを十字形のクロスピンにより連結してなる公知の機械要素であり、夫々のヨークに対象となる2軸を各別に連結固定することにより、軸心が交叉、又は偏心した2軸を回転伝達可能に連結すべく、多くの産業分野において用いられている。
【0003】
このような自在継手は、例えば、車両の操舵装置において、操舵部材としてのステアリングホイールの操作に応じて回転する操舵軸と舵取機構の入力軸との連結に用いられているが、この操舵軸と入力軸とは、車室の内外に各別に取付けられており、軸長方向位置が固定されたこれらの操舵軸及び入力軸の軸端部に対して夫々のヨークを後付けすることが要求される。そこで、少なくとも一方のヨークが、相対向する2枚の側板の一側を底板により連絡してなる略U字形断面を有して構成された自在継手が用いられている(例えば、特許文献1参照)。
【0004】
図4は、この種のヨークと軸との連結構造の説明図である。図示の如くヨーク60は、互いに対向する2枚の側板61,61の一側をアーチ形に湾曲する底板62により連絡し、他側が開放された略U字形断面を有しており、側板61,61には、底板62から離れた位置に厚さ方向に貫通するボルト孔63,63が形成されている。このようなヨーク60に連結される軸7は、側板61,61の間への嵌め込みが可能な2面幅を備える小判形断面を有しており、図4(a)中に矢符にて示す如く、ヨーク60の側板61,61間に開口側から嵌め込まれ、図4(b)に示す如く、底板62の内面に一側を当接させた状態とされ、一方の側板61の外側からボルト孔63,63に固定ボルト8を通し、他方の側板61の外側への固定ボルト8の突出部に締め付けナット80を締め付けることにより連結されている。
【0005】
このような連結は、軸7の径方向外側からヨーク60を嵌め込むことにより実現されるから、軸長方向位置が固定された軸7に対する後付けが可能である。ヨーク60の側板61,61間に嵌め込まれた軸7は、固定ボルト8の締め付けにより接近する側板61,61の対向面間に挾圧固定される。
【0006】
【特許文献1】
特開平10−9281号公報
【0007】
【発明が解決しようとする課題】
ところが、以上の如きヨーク60と軸7との連結構造においては、固定ボルト8の締め付けが側板61,61の開口側において行われるため、図4(b)中にAとして示す如く、この締め付け部から離れて位置する底板62の近傍では、側板61,61の内面と軸7との間にギャップが残った状態となり、この状態で軸7が回転せしめられたとき、側板61,61間に嵌め込まれた軸7が前記ギャップの範囲内でガタ付き、両者の衝突に伴うガタ音が発生するという問題があり、更に、前述した如く車両の操舵装置に適用された場合、ステアリングホイールから舵取機構への伝動に前記ガタ付きの影響が生じ、例えば、ステアリングホイールの切り返し時に舵取機構の反応が遅れ、操舵感の悪化を招来する虞れがある。
【0008】
このようなガタ付きの問題を解消するため、特許文献1においては、側板61,61の対向間隔を開口側に向けて広くし、更に、側板61,61の厚さを底板62と連絡部の近傍において薄くしておき、固定ボルト8の締め付けによる側板61,61での軸7の挾圧が、底板62の側から開口側に向けて進行するようにした構成が採用されているが、この構成においては、側板61,61の対向間隔、及び薄肉部の肉厚の最適化が難しく、十分なガタ付きの防止効果は得られない。
【0009】
本発明は斯かる事情に鑑みてなされたものであり、自在継手のヨークの側板間に嵌め込まれる軸の軸端部を、側板の締め付け部から離れた位置にある底板の近傍においてもガタ付きなく固定することができ、このガタ付きに伴う不具合の発生を有効に防止し得る自在継手と軸との連結構造を提供することを目的とする。
【0010】
【課題を解決するための手段】
本発明の第1発明に係る自在継手と軸との連結構造は、相対向する2枚の側板の一側を底板により連絡してなる略U字形断面のヨークを備える自在継手と連結対象となる軸とを連結すべく、該軸の軸端部を前記ヨークの側板間に他側の開口を経て嵌め込み、前記底板から離れた位置にて側板を貫通する固定ボルトの締め付けにより、前記軸端部に設けた2面幅部を前記側板間に挾圧固定する自在継手と軸との連結構造において、前記ヨークの底板の内面に矩形断面を有する凹溝を、前記軸の軸端部の外面に前記凹溝に係合可能な凸条を夫々設け、前記固定ボルトの締め付けにより前記凹溝の幅を減じ、前記凸条を挾持させてあることを特徴とする。
【0011】
本発明においては、略U字形断面を有するヨークの2枚の側板を連絡する底板の内面に矩形断面を有する凹溝を設け、2枚の側板間に嵌め込まれる軸の軸端部の外面に設けた凸条を係合させておき、この後に行われる固定ボルトの締め付けにより、前記軸の軸端部に2面幅を有して設けた当て面をヨークの側板の内面間に挾圧固定する際に、前記凹溝の幅を減じて前記凸条を挾持させ、締め付け位置から離れて位置するヨークの底板近傍での軸端部のガタ付きを防止する。
【0012】
また本発明の第2発明に係る自在継手と軸との連結構造は、第1発明における凹溝が、前記側板間の略中央に軸長方向に延設してあることを特徴とする。
【0013】
本発明においては、ヨークの底板に設ける凹溝を2枚の側板の略中央に位置して軸長方向に延設し、固定ボルトの締め付けによる凹溝の減幅を効果的に生ぜしめ、該凹溝に係合する凸条を確実に挾持してガタ付きの防止効果を高める。
【0014】
【発明の実施の形態】
以下本発明をその実施の形態を示す図面に基づいて詳述する。図1は、車両の操舵装置における自在継手の使用状態の説明図である。図中1は、操舵部材としてのステアリングホイールの操作に応じて回転する操舵軸であり、また2は、舵取機構への回転入力のための入力軸(例えば、ラックピニオン式舵取機構のピニオン軸)である。
【0015】
操舵軸1は、車室の内部に位置決めされたステアリングホイールから下方に向けて延設され、また入力軸2は、車室の外部に固定支持された舵取機構から上方に向けて延設されており、軸心を交叉及び偏心させて対向する操舵軸1及び入力軸2の軸端部10,20の連結に、図示の如く、両端に自在継手3,3を備える中間軸4が用いられている。
【0016】
自在継手3,3は、二股に分岐したフォーク状のピン受けアーム32,33を一側に連設してなる各一対のヨーク30,31を備えており、これらのヨーク30,31を夫々のピン受けアーム32,33が略直角をなして交叉するように向き合わせ、両アーム32,33の先端を十字形のクロスピン34により連結して構成されている。
【0017】
このような自在継手3,3は、円筒形をなす一側のヨーク31,31を中間軸4の両端部に夫々外嵌固定し、該中間軸4と一体化されている。操舵軸1と入力軸2との中間軸4による連結は、両端の自在継手3,3の他側のヨーク30,30を、図1中に矢符により示す如く、操舵軸1の軸端部10及び入力軸2の軸端部20の夫々に径方向の外側から嵌め込み、各別に保持させることにより実現されており、このような連結を可能とするために、前記ヨーク30,30及び軸端部10,20は、以下に示す特徴的な構成を有している。
【0018】
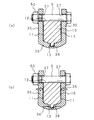
図2は、自在継手3のヨーク30と軸(図においては操舵軸1)との連結部分の斜視図である。図示の如くヨーク30は、略平行をなして対向する2枚の側板35,35の一側をアーチ形に湾曲する底板36により連絡し、他側が開放された略U字形の断面形状を有している。側板35,35には、底板36から離れて互いに対向する位置に、夫々を厚さ方向に貫通するボルト孔37,37が形成されており、また底板36の内面には、側板35,35間の略中央部に、これらの側板35,35と略平行をなして延びる矩形断面の凹溝38が形成されている。
【0019】
このようなヨーク30に連結される操舵軸1の軸端部10は、側板35,35間への嵌め込みが可能な2面幅を有して平坦化された当て面11,11を備える小判形断面に成形されている。当て面11,11の一側の連絡部には、軸長方向の中途部を略直交する向きに横切る半円形の押え溝12が形成されており、他側の連絡部には、軸長方向に延びる凸条13が、ヨーク30の底板36に形成された凹溝38への嵌め込みが可能な幅を有して形成されている。
【0020】
このような軸端部10とヨーク30との連結は、まずヨーク30と軸端部10とを、図2(a)に示す如く、ヨーク30の側板35,35間の開口部が軸端部10の凸条13の形成部に対面するように位置決めし、次いで、ヨーク30を軸端部10に、軸端部10の当て面11,11をヨーク30の側板35,35の内面に沿わせるように嵌め込んだ後、側板35,35に設けられたボルト孔37,37に、一方の側板35の外側から固定ボルト5を通し、他方の側板35の外側に突出する固定ボルト5のねじ部に締め付けナット50を螺合して締め付けることにより、側板35,35間に軸端部10の当て面11,11を挾圧せしめ、図2(b)に示す如く実現される。
【0021】
なおこのとき、軸端部10に設けられた押え溝12は、側板35,35間にてボルト孔37,37の形成位置に整合され、前述の如く挿通される固定ボルト5の中途部に係合せしめられており、該固定ボルト5とヨーク30の底板36との間に軸端部10を挾持し、該軸端部10を、側板35,35の開口側及び軸長方向への抜け出し不可に拘束する作用をなす。
【0022】
図3は、以上の如く実現される操舵軸1の軸端部10と自在継手3のヨーク30との連結構造の説明図であり、図3(a)は、固定ボルト5の締め付け前の状態を示し、図3(b)は、固定ボルト5の締め付け後の状態を示している。
【0023】
前述の如く、ヨーク30の側板35,35間への軸端部10の嵌め込みは、軸端部10に設けられた当て面11,11を側板35,35に沿わせてなされており、この嵌め込みの後の当て面11,11は、図3(a)に示す如く、嵌め込みのために必要なわずかなギャップを隔ててヨーク30の側板35,35の内面に対向しており、その後になされる固定ボルト5及び締め付けナット50の締め付けにより対向幅を減じる側板35,35により、図3(b)中に白抜矢符にて示す如く挾圧固定される。
【0024】
このとき、側板35,35による当て面11,11の挾圧強さは、固定ボルト5の締め付け位置に近い側板35,35の開口側においては強いが、締め付け位置から離れて位置する底板36の近傍においては弱いため、図3(b)に示す如く、側板35,35の内面と当て面11,11との間にギャップが残り、このギャップの幅内にて軸端部10がガタ付く虞れがある。
【0025】
ここで操舵軸1の軸端部10には、当て面11,11の一側の連絡部に凸条13が突設されており、この軸端部10が嵌め込まれるヨーク30の底板36には、側板35,35間の略中央に凹溝38が形成されている。ヨーク30の軸端部10への嵌め込みは、前述の如く、凸条13の突設側からなされており、この嵌め込みの後に凸条13は、ヨーク30の底板36に形成された凹溝38と図3(a)に示す如く係合する。この状態で固定ボルト5の締め付けがなされた場合、締め付けに伴う底板36の撓みにより凹溝38は、開口幅を減じるように変形し、図3(b)中に矢符により示す如く、内部に係合する凸条13の両側に押し付けられることとなり、底板36の近傍において生じる軸端部10のガタ付きは、凸条13を両側から挾持する凹溝38によって確実に阻止され、操舵軸1の軸端部10と自在継手3のヨーク30とは、ガタ付きの虞れなく連結される。
【0026】
この連結は、固定ボルト5及び締め付けナット50の単純な締め付けにより簡易に実現することができ、また、締め付け荷重を高精度に管理することなくガタ付きのない良好な連結がなされる。
【0027】
なお凹溝38は、底板26の内面の適宜位置に設けることが可能であるが、固定ボルト5に締め付けによる減幅を効果的に生ぜしめ、軸端部10の凸条13の挾持を確実に行わせるためには、以上の実施の形態に示す如く、2枚の側板35,35の略中央に軸長方向に延設するのが望ましい。また、以上の実施の形態においては、各1つの凸条13及び凹溝38を設けてあるが、各複数の凸条13及び凹溝38を設け、これらを各別に係合させる構成としてもよい。
【0028】
図1に示す操舵装置において、舵取機構への入力軸2の軸端部20と同側の自在継手3のヨーク30との連結も全く同様に実現されており、このような連結がなされた操舵装置においては、操舵軸1から中間軸4を介してなされる入力軸2への回転伝達が、ガタ音の発生、及びガタ付きに伴う応答遅れを生じることなく行われ、良好な操舵感が得られるようになる。
【0029】
なお、以上の実施の形態においては、車両の操舵装置への適用例について述べたが、本発明に係る自在継手と軸との連結構造は、略U字形断面を有するヨークを備える自在継手を用い、予め位置が定められた軸の軸端部同士を連結する用途全般に適用可能であり、同様の効果が得られることは言うまでもない。
【0030】
【発明の効果】
以上詳述した如く本発明に係る自在継手と軸との連結構造においては、自在継手のヨークの側板間に嵌め込まれた軸の2面幅部がヨークの底板近傍でガタ付くことを防止することができ、このガタ付きに伴う、ガタ音、応答遅れ等の不具合の発生を有効に防止して、自在継手により連結された軸間での伝動を良好に行わせることが可能となる等、本発明は優れた効果を奏する。
【図面の簡単な説明】
【図1】車両の操舵装置における自在継手の使用状態の説明図である。
【図2】自在継手のヨークと軸との連結部分の斜視図である。
【図3】自在継手のヨークと軸との連結構造の説明図である。
【図4】自在継手のヨークと軸との従来の連結構造の説明図である。
【符号の説明】
1 操舵軸(軸)
2 入力軸(軸)
3 自在継手
5 固定ボルト
10 軸端部
13 凸条
20 軸端部
30 ヨーク
35 側板
36 底板
38 凹溝

Claims (2)

  1. 相対向する2枚の側板の一側を底板により連絡してなる略U字形断面のヨークを備える自在継手と連結対象となる軸とを連結すべく、該軸の軸端部を前記ヨークの側板間に他側の開口を経て嵌め込み、前記底板から離れた位置にて側板を貫通する固定ボルトの締め付けにより、前記軸端部に設けた2面幅部を前記側板間に挾圧固定する自在継手と軸との連結構造において、
    前記ヨークの底板の内面に矩形断面を有する凹溝を、前記軸の軸端部の外面に前記凹溝に係合可能な凸条を夫々設け、前記固定ボルトの締め付けにより前記凹溝の幅を減じ、前記凸条を挾持させてあることを特徴とする自在継手と軸との連結構造。
  2. 前記凹溝は、前記側板間の略中央に軸長方向に延設してある請求項1記載の自在継手と軸との連結構造。
JP2003160874A 2003-06-05 2003-06-05 自在継手と軸との連結構造 Expired - Fee Related JP4178317B2 (ja)

Priority Applications (1)

Application Number Priority Date Filing Date Title
JP2003160874A JP4178317B2 (ja) 2003-06-05 2003-06-05 自在継手と軸との連結構造

Applications Claiming Priority (1)

Application Number Priority Date Filing Date Title
JP2003160874A JP4178317B2 (ja) 2003-06-05 2003-06-05 自在継手と軸との連結構造

Publications (2)

Publication Number Publication Date
JP2004360814A JP2004360814A (ja) 2004-12-24
JP4178317B2 true JP4178317B2 (ja) 2008-11-12

Family

ID=34053530

Family Applications (1)

Application Number Title Priority Date Filing Date
JP2003160874A Expired - Fee Related JP4178317B2 (ja) 2003-06-05 2003-06-05 自在継手と軸との連結構造

Country Status (1)

Country Link
JP (1) JP4178317B2 (ja)

Families Citing this family (2)

* Cited by examiner, † Cited by third party
Publication number Priority date Publication date Assignee Title
JP5273129B2 (ja) * 2010-11-15 2013-08-28 日本精工株式会社 継手と軸の結合構造
CN113202878A (zh) * 2021-05-06 2021-08-03 杭州正强传动股份有限公司 一种万向节叉

Also Published As

Publication number Publication date
JP2004360814A (ja) 2004-12-24

Similar Documents

Publication Publication Date Title
JPWO2003095286A1 (ja) ステアリング装置
US20070237571A1 (en) Universal joint
CN103842676A (zh) 用于将转向柱连接到转向齿轮箱的设备
JP2004278698A (ja) 軸体と軸継手との結合構造
JP5217861B2 (ja) 連結構造およびステアリング装置
JP4178317B2 (ja) 自在継手と軸との連結構造
JP5156629B2 (ja) 自在継手用ヨーク
JP3658855B2 (ja) シャフトと自在継手のヨークとの結合部
JP2004232701A (ja) 軸体と軸継手との結合構造
JP4531692B2 (ja) 自在継手用ヨーク
WO2006022279A1 (ja) レバースイッチの取付構造
JP2004360856A (ja) 自在継手と軸との連結構造
JP4687981B2 (ja) 自在継手のヨークとシャフトとの結合構造
JP5163683B2 (ja) 継手のヨークと回転軸との結合装置及びその組立方法
JP2007255533A (ja) 自在継手のヨークとシャフトとの連結構造、およびパワーステアリング装置
JP4134938B2 (ja) シャフトと自在継手のヨークとの結合部
JP2006022869A (ja) 自在継手
JP2010084897A (ja) 継手およびシャフトと継手との連結方法
JP2007292188A (ja) 自在継手のヨークとシャフトの結合構造
JP3556748B2 (ja) 自在継手のヨークと軸との結合構造
JP2014169732A (ja) シャフトと自在継手のヨークの結合構造及び車両用操舵装置
EP1632419B1 (en) Joint section between shaft and universal joint yoke
JP2005133790A (ja) シャフトと自在継手のヨークの結合構造
JP2007263313A (ja) 自在継手のヨークとシャフトの結合構造
JP2009079677A (ja) ステアリング装置におけるヨーク及び回転軸の結合構造

Legal Events

Date Code Title Description
A621 Written request for application examination

Free format text: JAPANESE INTERMEDIATE CODE: A621

Effective date: 20060524

A977 Report on retrieval

Free format text: JAPANESE INTERMEDIATE CODE: A971007

Effective date: 20080121

A131 Notification of reasons for refusal

Free format text: JAPANESE INTERMEDIATE CODE: A131

Effective date: 20080122

A521 Written amendment

Free format text: JAPANESE INTERMEDIATE CODE: A523

Effective date: 20080324

TRDD Decision of grant or rejection written
A01 Written decision to grant a patent or to grant a registration (utility model)

Free format text: JAPANESE INTERMEDIATE CODE: A01

Effective date: 20080729

A01 Written decision to grant a patent or to grant a registration (utility model)

Free format text: JAPANESE INTERMEDIATE CODE: A01

A61 First payment of annual fees (during grant procedure)

Free format text: JAPANESE INTERMEDIATE CODE: A61

Effective date: 20080811

R150 Certificate of patent or registration of utility model

Free format text: JAPANESE INTERMEDIATE CODE: R150

FPAY Renewal fee payment (event date is renewal date of database)

Free format text: PAYMENT UNTIL: 20110905

Year of fee payment: 3

FPAY Renewal fee payment (event date is renewal date of database)

Free format text: PAYMENT UNTIL: 20110905

Year of fee payment: 3

FPAY Renewal fee payment (event date is renewal date of database)

Free format text: PAYMENT UNTIL: 20120905

Year of fee payment: 4

FPAY Renewal fee payment (event date is renewal date of database)

Free format text: PAYMENT UNTIL: 20130905

Year of fee payment: 5

LAPS Cancellation because of no payment of annual fees