JP4169983B2 - 多方向入力装置 - Google Patents
多方向入力装置 Download PDFInfo
- Publication number
- JP4169983B2 JP4169983B2 JP2002038647A JP2002038647A JP4169983B2 JP 4169983 B2 JP4169983 B2 JP 4169983B2 JP 2002038647 A JP2002038647 A JP 2002038647A JP 2002038647 A JP2002038647 A JP 2002038647A JP 4169983 B2 JP4169983 B2 JP 4169983B2
- Authority
- JP
- Japan
- Prior art keywords
- contact
- movable contact
- fixed contact
- housing
- pressing
- Prior art date
- Legal status (The legal status is an assumption and is not a legal conclusion. Google has not performed a legal analysis and makes no representation as to the accuracy of the status listed.)
- Expired - Fee Related
Links
- 230000002093 peripheral effect Effects 0.000 claims description 25
- 230000005489 elastic deformation Effects 0.000 claims description 19
- 239000013013 elastic material Substances 0.000 claims description 11
- 239000002184 metal Substances 0.000 claims description 8
- 239000000428 dust Substances 0.000 description 7
- 229920001971 elastomer Polymers 0.000 description 7
- 229920003002 synthetic resin Polymers 0.000 description 7
- 239000000057 synthetic resin Substances 0.000 description 7
- 239000011810 insulating material Substances 0.000 description 6
- 239000007769 metal material Substances 0.000 description 5
- 229920005989 resin Polymers 0.000 description 4
- 239000011347 resin Substances 0.000 description 4
- 239000000758 substrate Substances 0.000 description 4
- 238000001514 detection method Methods 0.000 description 3
- 238000005452 bending Methods 0.000 description 2
- 238000000034 method Methods 0.000 description 2
- 238000012986 modification Methods 0.000 description 2
- 230000004048 modification Effects 0.000 description 2
- 229920002379 silicone rubber Polymers 0.000 description 2
- 238000004891 communication Methods 0.000 description 1
- 239000002131 composite material Substances 0.000 description 1
- 125000004122 cyclic group Chemical group 0.000 description 1
- 230000000694 effects Effects 0.000 description 1
- 239000000463 material Substances 0.000 description 1
- 238000000465 moulding Methods 0.000 description 1
- 230000007935 neutral effect Effects 0.000 description 1
- 238000007789 sealing Methods 0.000 description 1
Images
Landscapes
- Switches With Compound Operations (AREA)
Description
【発明の属する技術分野】
本発明は、コンピュータや携帯情報端末装置などへの情報入力装置に係わるものであり、特に操作部材のスライド操作によりスライド方向に対応した検出信号を発生する多方向入力装置の構造に関する。
【0002】
【従来の技術】
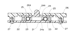
従来の多方向入力装置の構造としては、図5乃至図7に示すものがある。図5は多方向入力装置の縦断面図、図6は固定接点及び可動接点の配設状態を示す平面図、図7は図6の変形例を示す平面図である。
【0003】
図5、6に示すように、回路基板21は、絶縁性の樹脂基板からなり、この回路基板21の表面側には、導電性の金属材で円柱状に突出して形成された個別固定接点22が、縦横方向に一対ずつ対向されて配設されている。また、それぞれの前記個別固定接点22同士の間には、合成樹脂などの絶縁材で同じく円柱状に形成された絶縁ボス23が、対角線上に一対ずつ対向されて固着されたものとなっている。
【0004】
操作部材24は、合成樹脂などの絶縁材で形成されており、平板状の基板部と、この基板部の上側に設けられた操作つまみ部24aと、基板部の下側に突出して設けられた環状ボス24bとから構成されている。また、前記環状ボス24bの外周には、弾性体の導電性ゴムなどから環状に形成された共通接点25が取り付けられたものとなっている。
【0005】
前記操作部材24は、前記環状ボス24bが前記絶縁ボス23の内側に配置されて、前記回路基板21の上面に載置されるものとされ、この場合には、前記共通接点25の外周が、複数の前記絶縁ボス23と係合して位置決めされることにより、前記操作部材24及び共通接点25が初期位置に保持されるものとなっている。また、この時、前記絶縁ボス23によって前記共通接点25を前記個別固定接点22から離れた位置に保持するものとなっている。(スイッチオフ状態)
【0006】
この状態から、前記操作部材24を所望の方向(縦横方向)にスライド操作させると、弾性体の導電性ゴムなどで形成された環状の前記共通接点25が、弾性変形して撓むことにより前記絶縁ボス23間に入り込むことで、このスライド方向に対応した前記個別固定接点22と前記共通接点25が導通して操作方向を検出するものとなっている。(スイッチオン状態)
【0007】
なお、前記共通接点25は、前記操作部材24をスライド操作させた後に、この操作部材24を初期位置(中立位置)に復帰させるための付勢部材(復帰ばね)の役目も兼ね備えたものとなっている。
【0008】
ケース26は、合成樹脂などの絶縁材で形成されており、中央に前記操作部材24の操作つまみ部24aを挿通して外方に突出させる窓孔26aが設けられている。このケース26が、前記回路基板21の上面側にネジ27などで固着されて前記操作部材の上面側を覆うことで、前記操作部材24の飛び出しを防止している。
【0009】
図7は、前記回路基板21に、前記個別固定接点22を縦横方向に一対ずつ対向して配置したものに加えて、斜め方向にも一対ずつ対向して配置した構成を示しており、この場合、前記絶縁ボス23も前記個別固定接点22に対応してそれぞれの間に形成され固着されたものとなっている。
【0010】
この構成によれば、縦横方向のスライド操作に加えて、斜め方向のスライド操作に対応した操作方向の検出が可能となり、より多くの方向の検出が可能となっている。
【0011】
【発明が解決しようとする課題】
しかしながら、上述した従来の多方向入力装置の構造においては、前記絶縁ボス23で、環状の導電性ゴムからなる前記共通接点25をオフ状態である初期位置に保持し、前記操作部材24の初期位置への復帰を、前記共通接点25の導電性ゴムの弾性付勢力で行っていたため、弾性復元力が小さく、操作時の作動力や移動量を大きくできないという問題があった。
【0012】
また、前記ケース26の窓孔26aや前記回路基板21との隙間を通して、前記個別固定接点22や前記共通接点25内へ塵埃などが侵入してしまい、接触が不安定になるという問題があった。
【0013】
したがって、本発明では上述した問題点を解決し、操作時の作動力や移動量を大きくできて操作性が向上すると共に、耐塵埃性を向上できる多方向入力装置の構造を提供することを目的とする。
【0014】
【課題を解決するための手段】
上記課題を解決するために本発明では第1の手段として、収納部を有し、この収納部の内側面に、共通固定接点と複数の個別固定接点が略円形状に交互に配設されると共に、前記収納部の前記共通固定接点及び複数の前記個別固定接点の内部側の内底面に押圧操作用固定接点が配設されたハウジングと、操作部及び弾性変形部を有し、弾性付勢力に富んだ絶縁性の弾性材からなる操作部材と、前記操作部と前記ハウジングとの摺動部分に配設されたスライド部材と、前記操作部材に保持され前記収納部内にスライド移動可能に収納された導電性の弾性材からなる可動接点と、前記押圧操作用固定接点と対向して接離可能に設けられた押圧接点と、前記スライド部材の中央に設けられた開口部内に昇降可能に嵌合され、前記押圧接点を押圧する押釦とを備え、前記可動接点を円環状に形成し、前記押釦の外周にはリング状の可動接点保持体が回転可能に挿通され、前記可動接点が、前記可動接点保持体の外周面に保持されて、前記可動接点保持体によって前記操作部材の操作部の下端側に回動可能に保持されており、前記操作部を所望の方向へスライド操作させることにより、前記弾性変形部を弾性変形させて前記可動接点を前記共通固定接点と前記個別固定接点とに選択的に接触させ、スライド操作の解除時には、前記操作部を前記弾性変形部の弾性復元力により初期位置に復帰させると共に、前記操作部材及び前記押釦で、前記収納部内に配設された前記共通固定接点と前記個別固定接点、及び前記可動接点とを覆って密閉したことを特徴とする。
【0015】
また、第2の手段として、前記スライド部材は金属板からなることを特徴とする。
【0017】
また、第3の手段として、前記開口部と前記押釦の上部に位置する、前記操作部の上面側には、防塵用のシール部材を形成したことを特徴とする。
【0019】
【発明の実施の形態】
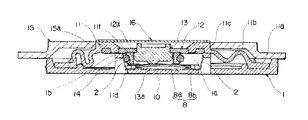
以下、本発明の実施形態を図1乃至図4に示す。図1は多方向入力装置の縦断面図、図2は操作つまみ部を外した状態の平面図、図3はハウジングの収納部の共通固定接点及び個別固定接点の配設部分を示す部分平面図、図4は操作部材の動作状態を示す縦断面図である。
【0020】
図において、ハウジング1は、合成樹脂などの絶縁材で上面が開口された略円形状の箱形に形成されており、このハウジング1の中央には、さらに円環状の壁部1bで囲まれた有底状の収納部1aが設けられている。この収納部1aの前記壁部1bの内側面には、導電性の金属材からなる第1の共通固定接点2が対向された状態で一対配設されており、また、前記第1の共通固定接点2とは直交する方向に導電性の金属材からなる第2の共通固定接点3が対向された状態で一対配設されている。また、前記第1及び第2の共通固定接点2、3の中間には、同じく導電性の金属材からなる個別固定接点4a、4b、4c、4dがそれぞれ離間して配設されたものとなっている。
【0021】
また、前記第1及び第2の共通固定接点2、3、及び前記個別固定接点4a、4b、4c、4dの他端側は、前記ハウジング1の内底部を通って前記ハウジング1の外側面から外方へ突出されており、この他端側には、図示しない電子機器などの回路基板の回路パターンなどへ接続される、接続端子5、6、及び7a、7b、7c、7dが設けられている。
【0022】
また、前記収納部1aの中央には、導電性の金属材からなる押圧操作用固定接点8が配設されている。この押圧操作用固定接点8は、中央固定接点8aと、周辺固定接点8bとから構成されており、前記中央固定接点8aは独立して配設されているが、前記周辺固定接点8bは前記第1の共通固定接点2と連接されて導通された状態となっている。
【0023】
また、前記中央固定接点8aの他端側は、前記ハウジング1の内底部を通って前記ハウジング1の外側面から外方に突出されており、この他端側には、図示しない電子機器などの回路基板の回路パターンなどへ接続される、接続端子9が設けられている。
【0024】
前記押圧操作用固定接点8には、導電性の円盤状の金属板からなる押圧接点10が配設されており、この押圧接点10は、中央が膨出したドーム状に形成されている。前記押圧接点10は、前記中央固定接点8a、及び前記周辺固定接点8bの上面側に被さるように配設されており、このとき、前記押圧接点10の周縁部は、前記周辺固定接点8bと常時接触し、かつドーム状の頂部は、前記中央固定接点8aと一定の間隔が保持され対向した状態となっている。この状態では前記中央固定接点8a、及び周辺固定接点8bはオフ状態となっている。
【0025】
また、前記ハウジング1には、上面が開口された略円形状の箱形の内周部の近傍で、十字方向の四隅部に、上方に突出した略円弧状からなる突起部1cが形成されている。この突起部1cに後述する操作部材11の基盤部11aが係合されて位置決め固定されるものとなっている。
【0026】
操作部材11は、例えばシリコンゴムなどの弾性付勢(復元)力に富んでいる絶縁性の弾性材で形成されており、撓むことにより前記ハウジング1にスライド移動可能なように収納されている。この操作部材11には、略円盤状からなる基盤部11aと、この基盤部11aに連設されて略S字状に屈曲して形成された弾性変形自在な弾性変形部11bと、この弾性変形部11bの上面側に突出して形成された操作部11cとが、それぞれ形成されている。
【0027】
前記基盤部11aの十字方向の四隅部には、係合孔11eが設けられており、前記操作部材11が前記ハウジング1に係合される時には、この係合孔11eと前記ハウジング1に設けられた前記突起部1cとが係合して位置決めされるものとなっている。
【0028】
このように、前記操作部材11には、前記ハウジング1に係合される場合に、内底面に位置決め固定される前記基盤部11aを形成しており、前記操作部11cと前記基盤部11aとの間には、変形自在な前記弾性変形部11bを形成するようにしているので、前記操作部材11が前記弾性変形部11bによって容易に押圧変形が行えることから、操作時に大きな作動力を得ることができるものとなっている。
【0029】
また、前記基盤部11aに設けられた前記係合孔11eを、前記ハウジング1に設けられた前記突起部1cに係合することで簡単に固定することができ、前記基盤部11aと前記弾性変形部11bとで前記操作部11cを容易に初期位置に保持することができるものとなっている。
【0030】
また、前記操作部11cの下面側には、金属板などからなるスライド部材12が接着あるいはインサート成形などの方法で一体に固着されている。このスライド部材12は、前記操作部11cがスライド操作される際に、前記収納部1aの上面の摺動部と摺動するものとなっている。
【0031】
このように、前記操作部材11に、前記操作部11cと前記ハウジング1との摺動部分に金属板からなる前記スライド部材12を配設するようにしたので、両者の摺動部分が樹脂と金属との摺動による低摩擦部材の構成となるため、スライド移動をスムーズに行うことができ良好な操作性が得られるものとなる。
【0032】
また、前記操作部11cの中央には、前記スライド部材12を貫通する開口部12aが形成されており、この開口部12aには、合成樹脂などの絶縁材からなる押釦13が昇降可能に嵌合されたものとなっている。また、前記押釦13の下端部には、前記押圧接点10を押圧する押圧突部13aが形成されている。また、前記押釦13の外周には、合成樹脂などからなるリング上の可動接点保持体11dの開口部11fが回転可能に挿通されており、前記スライド部材12の下面の前記収納部1a内に配置されている。
【0033】
また、前記押圧突部13aは、前記押圧操作用固定接点8の上面側に配設された前記押圧接点10の頂部に当接された状態で前記ハウジング1の収納部1aに収納されており、前記押釦13の押圧操作に伴って前記押圧突部13aが前記押圧接点10の頂部を押圧することにより、前記押圧接点10を介して前記中央固定接点8aと周辺固定接点8b同士を導通させるものとなっている。
【0034】
このように、前記ハウジング1の収納部1aの内底面に、前記押圧操作用固定接点8を配設すると共に、前記スライド部材12及び前記可動接点保持体11dに、前記開口部12a及び11fを形成し、この開口部12a、11f内に昇降可能な前記押釦13を配置するようにしたので、縦横方向、斜め方向のスライド方向の操作に加えて、プッシュ方向の操作も可能となるため、多方向の複合操作が可能となっている。
【0035】
また、前記操作部材11には、前記可動接点保持体11dの外周面に、例えば導電ゴムなどの導電性の弾性材からなる可動接点14が保持されている。この可動接点14は、前記可動接点保持体11dの外周面に沿って円環状となるように形成されたものとなっている。これにより、前記可動接点14は、前記可動接点保持体11dによって前記押釦13の外周面に回動可能に保持されたものとなっている。
【0036】
このように、前記可動接点14が前記可動接点保持体11dを介して前記押釦13の外周面に回動可能に保持されているので、万一、前記可動接点14が前記第1及び第2の共通固定接点2、3、及び前記個別固定接点4a、4b、4c、4dに押し付けられた状態で、後述する操作つまみ部15が回転操作されたとしても、前記操作部材11のみ回転することになるので、前記可動接点14が剥がれたり損傷したりするのを防止することができるものとなっている。
【0037】
前記操作部材11が前記ハウジング1に係合される際には、前記可動接点保持体11dは、前記ハウジング1の収納部1aに収納されるものとなっている。この時、前記可動接点14は、前記収納部1aの内側面に配設された前記第1及び第2の共通固定接点2、3、及び複数の前記個別固定接点4a、4b、4c、4dと対向して配設されるものとなっている。そして、前記操作部材11の操作部11cを所望の方向へスライド操作させることにより、前記可動接点14が接触して変形するのに伴って、前記可動接点14を介して前記第1及び第2の共通固定接点2、3と複数の前記個別可動接点4a、4b、4c、4dとを選択的に導通させるものとなっている。
【0038】
このように、前記可動接点14を、導電ゴムなどの導電性の弾性材で円環状に形成すると共に、前記操作部材11を所望の方向へスライド操作させることにより、前記可動接点14の外周部と前記第1及び第2の共通固定接点2、3と複数の前記個別可動接点4a、4b、4c、4dとを選択的に接触させるようにしたので、前記操作部材11の操作方向は、縦横方向の4方向に加えて、斜め方向の8方向、さらには斜め上下方向の16方向に操作した場合においても、各操作方向に対する検出が可能となることから、多方向の検出が容易に行えるものとなる。
【0039】
また、前記可動接点14を円環状に形成して、前記第1及び第2の共通固定接点2、3、及び複数の前記個別固定接点4a、4b、4c、4dを前記ハウジング1の収納部1aの内側面に沿って略円状にそれぞれ配置するようにしてあるので、前記操作部材11の縦横方向、及び斜め方向の操作に対応して、円環状の前記可動接点14が円滑に弾性変形するように形成されていることから、所望の操作方向に対する検出が確実に行えるものとなっている。
【0040】
操作つまみ部15は、合成樹脂などの絶縁材により円形ないし方形の略板状に形成されており、この中央には前記操作部材11の操作部11cが嵌合される嵌合孔15aが形成されている。この操作つまみ部15が、前記操作部材11の操作部11cに嵌合され、前記ハウジング1にスライド操作可能に取り付けられており、この操作つまみ部15を任意の方向にスライド操作させることによって、前記操作部材11が前記ハウジング1内をスライド移動するようになっている。
【0041】
また、前記操作部材11の操作部11cの中央に配置された、前記押釦13が押圧された場合には、前記押釦13は前記操作部11に設けられた前記スライド部材12及び可動接点保持体11dの前記開口部12a、11fにガイドされて押圧方向(下方)へ移動されることとなり、前記操作部材11は、前記操作つまみ部15による任意のスライド方向へのスライド操作に加えて押圧方向への押圧操作も可能となり、多方向の入力操作が可能となっている。
【0042】
また、前記スライド部材12と可動接点保持体11dの前記開口部12a、11fと、前記押釦13の上部に位置する前記操作部11cの上面側には、薄板状の樹脂シートなどからなるシール部材16が接着などの方法で固着されている。このシール部材16で開口部上面を覆うようにしたので、プッシュ操作部である前記押釦13と、前記開口部12a、11fとの隙間を塞ぐことができるため、接点部への塵埃の侵入を防止することができるものとなっている。
【0043】
次に、上記の実施例における多方向入力装置の動作について図1、図3、図4に基づいて説明する。
まず、スイッチの押圧(押し込み)操作時には、図1に示すように前記操作部材11の前記押釦13の上面を指などで縦方向(図示下方向)に押圧すると、前記押釦13は前記スライド部材12及び可動接点保持体11dの前記開口部12a、11f内を縦方向へ移動し、前記押釦13が前記押圧操作用固定接点8上の前記押圧接点10の頂部を押圧する。この時、前記押圧接点10は、ドーム状の膨出した前記頂部が反転されて、前記中央固定接点8aと接触することで、前記中央固定接点8aと周辺固定接点8b同士が前記押圧接点10を介して導通し前記押圧操作用固定接点8がオン状態となる。
【0044】
この状態から、指の押圧を除去すると、前記押圧接点10が自らの反転により初期状態に復帰してオフ状態となるのに合わせて、前記押釦13も初期位置に復帰するものとなる。
【0045】
次に、スイッチのスライド操作時について図3、図4で説明する。
まず、前記操作つまみ部15を指などで横方向(図4の左方向)にスライドさせると、前記操作部材11の操作部11cが、前記操作つまみ部15に追従して横方向(図4の左方向)にスライドする。この時、前記スライド部材12及び押釦13を介して前記可動接点保持体11dも連動してスライドし、その外周面に保持された前記可動接点14は、円環状の外周部が、横方向(図3の左方向)の前記ハウジング1の収納部1a内側面に配設された前記第1の共通固定接点2と個別固定接点4dとに接触するものとなる。そして、前記第1の共通固定接点2と個別固定接点4d同士が前記可動接点14を介して導通してオン状態となる。
【0046】
この状態から、指の横方向(図4の左方向)の押圧を除去すると、前記操作部11cが前記弾性変形部11bの弾性復元力により初期位置に復帰するのに合わせて、前記可動接点14が初期状態に復帰してオフ状態となる。
尚、横方向、にスライドさせる動作は、左右どちらの方向でも可能であり、このときの動作は上記と同様に行われるため、図示右方向の説明は省略する。
【0047】
次に、前記操作つまみ部15を指などで縦方向(図3の上方向)にスライドさせると、前記操作部材11の操作部11cが、前記操作つまみ部15に追従して縦方向(図3の上方向)にスライドする。この時、前記スライド部材12及び押釦13を介して前記可動接点保持体11dも連動してスライドし、その外周面に保持された前記可動接点14は、円環状の外周部が、縦方向(図3の上方向)の前記ハウジング1の収納部1a内側面に配設された前記第2の共通固定接点3と個別固定接点4aとに接触するものとなる。そして、前記第2の共通固定接点3と個別固定接点4a同士が前記可動接点14を介して導通してオン状態となる。
【0048】
この状態から、指の縦方向(図3の上方向)の押圧を除去すると、前記操作部11cが前記弾性変形部11bの弾性復元力により初期位置に復帰するのに合わせて、前記可動接点14が初期状態に復帰してオフ状態となる。
尚、縦方向、にスライドさせる動作は、上下どちらの方向でも可能であり、このときの動作は上記と同様に行われるため、図示下方向の説明は省略する。
【0049】
次に、前記操作つまみ部15を指などで斜め方向(図3の左上方向)にスライドさせると、前記操作部材11の操作部11cが、前記操作つまみ部15に追従して斜め方向(図3の左上方向)にスライドする。この時、連動してスライドした前記可動接点保持体11dの外周面に保持された前記可動接点14は、円環状の外周部が、斜め方向(図3の左上方向)の前記ハウジング1の収納部1a内側面に配設された前記第1の共通固定接点2と個別固定接点4aとに接触するものとなる。そして、前記第1の共通固定接点2と個別固定接点4a同士が前記可動接点14を介して導通してオン状態となる。
【0050】
この状態から、指の斜め方向(図3の左上方向)の押圧を除去すると、前記操作部11cが前記弾性変形部11bの弾性復元力により初期位置に復帰するのに合わせて、前記可動接点14が初期状態に復帰してオフ状態となる。
尚、斜め方向、にスライドさせる動作は、左上、左下、右上、右下のどの方向でも可能であり、このときの動作は上記と同様に行われるため、他の斜め方向の説明は省略する。
【0051】
次に、前記操作つまみ部15を指などでさらに斜め上方向(図3の北北西方向)にスライドさせると、前記操作部材11の操作部11cが、前記操作つまみ部15に追従して斜め上方向(図3の北北西方向)にスライドする。この時、連動してスライドした前記可動接点保持体11dの外周面に保持された前記可動接点14は、円環状の外周部が、斜め上方向(図3の北北西方向)の前記ハウジング1の収納部1a内側面に配設された前記個別固定接点4aと、この両側に配設された前記第1の共通固定接点2及び第2の共通固定接点3とにそれぞれ接触するものとなる。そして、前記個別固定接点4aと、前記第1の共通固定接点2と第2の共通固定接点3のそれぞれが前記可動接点14を介して導通してオン状態となる。
【0052】
この状態から、指の斜め上方向(図3の北北西方向)の押圧を除去すると、前記操作部11cが前記弾性変形部11bの弾性復元力により初期位置に復帰するのに合わせて、前記可動接点14が初期状態に復帰してオフ状態となる。
尚、斜め上方向、にスライドさせる動作は、北北西、西北西、北北東、東北東、東南東、南南東、南南西、西南西のどの方向でも可能であり、このときの動作は上記と同様に行われるため、他の斜め上下方向の説明は省略する。
【0053】
上記構成によれば、スイッチの導通部を導電ゴムなどの導電性の弾性材からなる前記可動接点14で得ると共に、操作時の作動力をシリコンゴムなどからなる弾性付勢(復元)力が大きい前記操作部材11側で確保する構成としたので、操作時の作動力や移動量を大きく設定することができると共に、操作性を向上させることができるものとなっている。
【0054】
また、前記ハウジング1の収納部1aに配設された、前記第1及び第2の共通固定接点2、3、及び前記個別固定接点4a、4b、4c、4d、や前記押圧操作用固定接点8などからなる接点部を、前記弾性変形部11bを有する前記操作部材11で覆って密閉する構成としたので、接点部内へ塵埃などが侵入するおそれがなく、耐塵埃性の向上が図れるものとなっている。
【0055】
【発明の効果】
以上説明したように、本発明の多方向入力装置の構造は、収納部を有し、この収納部の内側面に、共通固定接点と複数の個別固定接点が略円形状に交互に配設されると共に、収納部の共通固定接点及び複数の個別固定接点の内部側の内底面に押圧操作用固定接点が配設されたハウジングと、操作部及び弾性変形部を有し、弾性付勢力に富んだ絶縁性の弾性材からなる操作部材と、操作部とハウジングとの摺動部分に配設されたスライド部材と、操作部材に保持され収納部内にスライド移動可能に収納された導電性の弾性材からなる可動接点と、押圧操作用固定接点と対向して接離可能に設けられた押圧接点と、スライド部材の中央に設けられた開口部内に昇降可能に嵌合され、押圧接点を押圧する押釦とを備え、可動接点を円環状に形成し、押釦の外周にはリング状の可動接点保持体が回転可能に挿通され、可動接点が、可動接点保持体の外周面に保持されて、可動接点保持体によって操作部材の操作部の下端側に回動可能に保持されており、操作部を所望の方向へスライド操作させることにより、弾性変形部を弾性変形させて可動接点を共通固定接点と個別固定接点とに選択的に接触させ、スライド操作の解除時には、操作部を弾性変形部の弾性復元力により初期位置に復帰させると共に、操作部材及び押釦で、収納部内に配設された共通固定接点と個別固定接点、及び可動接点とを覆って密閉したことから、作動力を弾性付勢力の大きい操作部材側で確保し、導通部を導電性の弾性材からなる可動接点で得る構成としたので、操作時の作動力や移動量を大きくでき、操作性が向上する。また、弾性変形部を有する操作部材で接点部を覆って密閉したので、耐塵埃性の向上が図れる。
【0056】
また、スライド部材は金属板からなり、操作部材には、操作部とハウジングとの摺動部分にスライド部材を配設したことから、両者の摺動部分が樹脂と金属との摺動による低摩擦部材の構成となるので、スライド移動をスムーズに行うことができ良好な操作性が得られる。
【0057】
また、ハウジングの収納部の内底面に、押圧操作用固定接点を配設すると共に、スライド部材に、開口部を形成し、この開口部内に昇降可能な押釦を配置したことから、縦横方向、斜め方向のスライド方向の操作に加えて、プッシュ方向の操作も可能となるため、多方向の複合操作が可能となる。
【0058】
また、開口部と押釦の上部に位置する、操作部の上面側には、防塵用のシール部材を形成したことから、プッシュ操作部である押釦と開口部との隙間を塞ぐことができるので、接点部への塵埃の侵入を防止することができる。
【0059】
また、可動接点を、円環状に形成すると共に、操作部材の操作部の下端側に回動可能に保持したことから、可動接点が固定接点に押し付けられた状態で、操作つまみが回転操作されたとしても、操作部材のみ回転するので、可動接点が剥がれたり損傷するのを防止することができる。
【図面の簡単な説明】
【図1】本発明の実施形態である多方向入力装置を示す縦断面図である。
【図2】本発明の同じく操作つまみ部を外した状態を示す平面図である。
【図3】本発明の同じくハウジングの収納部の共通固定接点及び個別固定接点の配設部分を示す部分平面図である。
【図4】本発明の同じく操作部材の動作状態を示す縦断面図である。
【図5】従来の多方向入力装置を示す縦断面図である。
【図6】従来の固定接点及び可動接点の配設状態を示す平面図である。
【図7】従来の図6の変形例を示す平面図である。
【符号の説明】
1 ハウジング
1a 収納部
1b 立壁
1c 突起部
2 第1の共通固定接点
3 第2の共通固定接点
4a,4b,4c,4d 個別固定接点
5 接続端子
6 接続端子
7a,7b,7c,7d 接続端子
8 押圧操作用固定接点
8a 中央固定接点
8b 周辺固定接点
9 接続端子
10 押圧接点
11 操作部材
11a 基盤部
11b 弾性変形部
11c 操作部
11d 可動接点保持体
11e 係合孔
11f 開口部
12 スライド部材
12a 開口部
13 押釦
13a 押圧突部
14 可動接点
15 操作つまみ部
15a 嵌合孔
16 シール部材
Claims (3)
- 収納部を有し、この収納部の内側面に、共通固定接点と複数の個別固定接点が略円形状に交互に配設されると共に、前記収納部の前記共通固定接点及び複数の前記個別固定接点の内部側の内底面に押圧操作用固定接点が配設されたハウジングと、操作部及び弾性変形部を有し、弾性付勢力に富んだ絶縁性の弾性材からなる操作部材と、前記操作部と前記ハウジングとの摺動部分に配設されたスライド部材と、前記操作部材に保持され前記収納部内にスライド移動可能に収納された導電性の弾性材からなる可動接点と、前記押圧操作用固定接点と対向して接離可能に設けられた押圧接点と、前記スライド部材の中央に設けられた開口部内に昇降可能に嵌合され、前記押圧接点を押圧する押釦とを備え、前記可動接点を円環状に形成し、前記押釦の外周にはリング状の可動接点保持体が回転可能に挿通され、前記可動接点が、前記可動接点保持体の外周面に保持されて、前記可動接点保持体によって前記操作部材の操作部の下端側に回動可能に保持されており、前記操作部を所望の方向へスライド操作させることにより、前記弾性変形部を弾性変形させて前記可動接点を前記共通固定接点と前記個別固定接点とに選択的に接触させ、スライド操作の解除時には、前記操作部を前記弾性変形部の弾性復元力により初期位置に復帰させると共に、前記操作部材及び前記押釦で、前記収納部内に配設された前記共通固定接点と前記個別固定接点、及び前記可動接点とを覆って密閉したことを特徴とする多方向入力装置。
- 前記スライド部材は金属板からなることを特徴とする請求項1記載の多方向入力装置。
- 前記開口部と前記押釦の上部に位置する、前記操作部の上面側には、防塵用のシール部材を形成したことを特徴とする請求項1又は2記載の多方向入力装置。
Priority Applications (3)
| Application Number | Priority Date | Filing Date | Title |
|---|---|---|---|
| JP2002038647A JP4169983B2 (ja) | 2002-02-15 | 2002-02-15 | 多方向入力装置 |
| TW92100416A TW582046B (en) | 2002-02-15 | 2003-01-09 | Multi-directional input device |
| CN 03104466 CN1227686C (zh) | 2002-02-15 | 2003-02-17 | 多方向输入装置 |
Applications Claiming Priority (1)
| Application Number | Priority Date | Filing Date | Title |
|---|---|---|---|
| JP2002038647A JP4169983B2 (ja) | 2002-02-15 | 2002-02-15 | 多方向入力装置 |
Publications (2)
| Publication Number | Publication Date |
|---|---|
| JP2003242862A JP2003242862A (ja) | 2003-08-29 |
| JP4169983B2 true JP4169983B2 (ja) | 2008-10-22 |
Family
ID=27678188
Family Applications (1)
| Application Number | Title | Priority Date | Filing Date |
|---|---|---|---|
| JP2002038647A Expired - Fee Related JP4169983B2 (ja) | 2002-02-15 | 2002-02-15 | 多方向入力装置 |
Country Status (3)
| Country | Link |
|---|---|
| JP (1) | JP4169983B2 (ja) |
| CN (1) | CN1227686C (ja) |
| TW (1) | TW582046B (ja) |
Families Citing this family (9)
| Publication number | Priority date | Publication date | Assignee | Title |
|---|---|---|---|---|
| JP4348268B2 (ja) * | 2004-09-29 | 2009-10-21 | アルプス電気株式会社 | 多方向入力装置 |
| KR100827621B1 (ko) | 2006-04-27 | 2008-05-07 | 삼성전기주식회사 | 입력장치 |
| US8698019B2 (en) | 2007-06-22 | 2014-04-15 | Intellectual Discovery, Inc. | Button for electric product |
| JP2011014521A (ja) * | 2009-06-02 | 2011-01-20 | Panasonic Corp | 感圧スイッチおよびこれを用いた入力装置 |
| JP5338592B2 (ja) * | 2009-09-24 | 2013-11-13 | オムロン株式会社 | 操作入力装置およびそれを用いた電子機器 |
| JP5440284B2 (ja) * | 2010-03-12 | 2014-03-12 | 日本電気株式会社 | アナログポインティングキー構造 |
| KR101425949B1 (ko) * | 2012-08-24 | 2014-08-05 | (주)아이티버스 | 밀기방식 신호입력장치 |
| JP6814842B2 (ja) * | 2019-05-17 | 2021-01-20 | 象印マホービン株式会社 | スイッチ装置、機器 |
| JP2022150597A (ja) * | 2021-03-26 | 2022-10-07 | 株式会社東海理化電機製作所 | ユーザインターフェース装置、および荷重受け部材 |
-
2002
- 2002-02-15 JP JP2002038647A patent/JP4169983B2/ja not_active Expired - Fee Related
-
2003
- 2003-01-09 TW TW92100416A patent/TW582046B/zh not_active IP Right Cessation
- 2003-02-17 CN CN 03104466 patent/CN1227686C/zh not_active Expired - Fee Related
Also Published As
| Publication number | Publication date |
|---|---|
| CN1438664A (zh) | 2003-08-27 |
| CN1227686C (zh) | 2005-11-16 |
| TW200303032A (en) | 2003-08-16 |
| JP2003242862A (ja) | 2003-08-29 |
| TW582046B (en) | 2004-04-01 |
Similar Documents
| Publication | Publication Date | Title |
|---|---|---|
| US8054293B2 (en) | Electronic apparatus | |
| JPH04349316A (ja) | 電子機器用防水スイッチ | |
| JP2000322974A (ja) | 押釦スイッチ | |
| JP2004013507A (ja) | 多方向操作スイッチおよびこれを用いた多方向入力装置 | |
| US6657141B1 (en) | Four-way slide switch | |
| KR100340481B1 (ko) | 복합조작형 전기부품 | |
| JP4169983B2 (ja) | 多方向入力装置 | |
| JP3944975B2 (ja) | プッシュオンスイッチ | |
| JP5459770B2 (ja) | プッシュスイッチ | |
| JP3875438B2 (ja) | 多方向操作スイッチ | |
| JP3824723B2 (ja) | 多方向スイッチ | |
| US5952634A (en) | Drip-proof tactile push button switch | |
| JP2000243187A (ja) | 多方向入力装置 | |
| JP2002075129A (ja) | 多方向操作スイッチ及びこれを用いた電子機器 | |
| US8093976B2 (en) | Vehicle switch | |
| JP3936852B2 (ja) | スライド操作式スイッチ | |
| JP4937994B2 (ja) | 多方向スライド式スイッチ | |
| JP2005166333A (ja) | 多方向入力装置 | |
| JP3916892B2 (ja) | 押釦スイッチ | |
| JPH08190836A (ja) | 複合操作型電気部品 | |
| KR200263754Y1 (ko) | 피씨비형 택트 스위치 | |
| JP2003151404A (ja) | 多方向入力装置 | |
| JP3959900B2 (ja) | スイッチおよびこれを用いた電子機器 | |
| JP2004111148A (ja) | 押釦スイッチ及びその取付構造 | |
| JP2011086490A (ja) | スライド操作式スイッチ |
Legal Events
| Date | Code | Title | Description |
|---|---|---|---|
| A621 | Written request for application examination |
Free format text: JAPANESE INTERMEDIATE CODE: A621 Effective date: 20041227 |
|
| A977 | Report on retrieval |
Free format text: JAPANESE INTERMEDIATE CODE: A971007 Effective date: 20070611 |
|
| A131 | Notification of reasons for refusal |
Free format text: JAPANESE INTERMEDIATE CODE: A131 Effective date: 20070619 |
|
| A521 | Written amendment |
Free format text: JAPANESE INTERMEDIATE CODE: A523 Effective date: 20070803 |
|
| A131 | Notification of reasons for refusal |
Free format text: JAPANESE INTERMEDIATE CODE: A131 Effective date: 20080108 |
|
| A521 | Written amendment |
Free format text: JAPANESE INTERMEDIATE CODE: A523 Effective date: 20080226 |
|
| A131 | Notification of reasons for refusal |
Free format text: JAPANESE INTERMEDIATE CODE: A131 Effective date: 20080430 |
|
| A521 | Written amendment |
Free format text: JAPANESE INTERMEDIATE CODE: A523 Effective date: 20080623 |
|
| TRDD | Decision of grant or rejection written | ||
| A01 | Written decision to grant a patent or to grant a registration (utility model) |
Free format text: JAPANESE INTERMEDIATE CODE: A01 Effective date: 20080722 |
|
| A01 | Written decision to grant a patent or to grant a registration (utility model) |
Free format text: JAPANESE INTERMEDIATE CODE: A01 |
|
| A61 | First payment of annual fees (during grant procedure) |
Free format text: JAPANESE INTERMEDIATE CODE: A61 Effective date: 20080806 |
|
| FPAY | Renewal fee payment (event date is renewal date of database) |
Free format text: PAYMENT UNTIL: 20110815 Year of fee payment: 3 |
|
| FPAY | Renewal fee payment (event date is renewal date of database) |
Free format text: PAYMENT UNTIL: 20110815 Year of fee payment: 3 |
|
| LAPS | Cancellation because of no payment of annual fees |