JP4135271B2 - エンジン冷却水回路の圧力応動弁 - Google Patents
エンジン冷却水回路の圧力応動弁 Download PDFInfo
- Publication number
- JP4135271B2 JP4135271B2 JP26586199A JP26586199A JP4135271B2 JP 4135271 B2 JP4135271 B2 JP 4135271B2 JP 26586199 A JP26586199 A JP 26586199A JP 26586199 A JP26586199 A JP 26586199A JP 4135271 B2 JP4135271 B2 JP 4135271B2
- Authority
- JP
- Japan
- Prior art keywords
- valve
- fluid passage
- valve body
- valve seat
- fluid
- Prior art date
- Legal status (The legal status is an assumption and is not a legal conclusion. Google has not performed a legal analysis and makes no representation as to the accuracy of the status listed.)
- Expired - Fee Related
Links
- 239000002826 coolant Substances 0.000 title claims description 16
- 239000012530 fluid Substances 0.000 claims description 63
- 239000000498 cooling water Substances 0.000 claims description 13
- 230000002093 peripheral effect Effects 0.000 claims description 12
- XLYOFNOQVPJJNP-UHFFFAOYSA-N water Substances O XLYOFNOQVPJJNP-UHFFFAOYSA-N 0.000 description 41
- 238000010438 heat treatment Methods 0.000 description 17
- 238000012856 packing Methods 0.000 description 9
- 230000007257 malfunction Effects 0.000 description 5
- 239000011347 resin Substances 0.000 description 5
- 229920005989 resin Polymers 0.000 description 5
- 230000001105 regulatory effect Effects 0.000 description 4
- 239000000463 material Substances 0.000 description 3
- 229920002943 EPDM rubber Polymers 0.000 description 2
- 229930182556 Polyacetal Natural products 0.000 description 2
- 230000001276 controlling effect Effects 0.000 description 2
- 229920006324 polyoxymethylene Polymers 0.000 description 2
- 238000004378 air conditioning Methods 0.000 description 1
- 238000010586 diagram Methods 0.000 description 1
- 229920001971 elastomer Polymers 0.000 description 1
- 239000005357 flat glass Substances 0.000 description 1
- 238000012423 maintenance Methods 0.000 description 1
- 238000009423 ventilation Methods 0.000 description 1
Images
Landscapes
- Safety Valves (AREA)
- Air-Conditioning For Vehicles (AREA)
Description
【発明の属する技術分野】
本発明は、エンジン冷却水の圧力に応じて弁体が作動するエンジン冷却水回路の圧力応動弁に関するもので、例えば、車両用温水暖房装置において暖房用熱交換器に供給されるエンジン冷却水の圧力を制御する圧力応動弁に用いて好適である。
【0002】
【従来の技術】
図6はこの従来の圧力応動弁を示すもので、弁体70の本体部70aに平らな弁部70bが形成され、この弁部70bが弁座47に接離して流体通路が開閉される。そして、弁体70の軸部70cがプレート48の軸受部48dに摺動自在に挿入され、この軸受部48dによって弁体70の姿勢を保つことにより、閉弁時に弁体70の弁部70bが弁座47に正しく当接するようにしている。
【0003】
【発明が解決しようとする課題】
しかしながら、軸部70cと軸受部48d間の隙間は弁体70の姿勢保持の面から非常に小さく(数十ミクロン程度)設定されており、従って、流体中に微少な異物が混入するとその異物が軸部70cと軸受部48d間の隙間に噛み込み、弁体70が動かなくなるという問題があった。ここで、軸部70cと軸受部48d間の隙間を異物よりも大きくすると上記の問題は回避されるが、この場合、弁体70の姿勢保持が困難になり、その結果弁体70が傾いて閉弁時に弁体70の弁部70bが弁座47に正しく当接しなくなり、漏れが発生するという問題が新たに生じてしまう。
【0004】
本発明は上記の点に鑑みてなされたもので、異物噛み込みによる弁体の作動不良と閉弁時の漏れをともに防止可能にすることを目的とする。
【0005】
【課題を解決するための手段】
上記目的を達成するため、請求項1に記載の発明では、エンジン冷却水回路に設けられ、エンジン冷却水が流れる第1流体通路(6)およびこの第1流体通路(6)の下流側に位置する第2流体通路(46)を内部に有し、前記第1流体通路(6)よりも前記第2流体通路(46)の通路面積が大きい弁ハウジング(40)と、
前記両流体通路(6、46)の境界部で前記弁ハウジング(40)に形成された円形の弁座(47)と、
前記第2流体通路(46)中に配置され、かつ前記弁座(47)に接離して前記両流体通路(6、46)間を開閉する弁体(70)と、
この弁体(70)を閉弁方向に付勢するスプリング(71)とを備え、
前記両流体通路(6、46)を流れる前記エンジン冷却水の圧力と前記スプリング(71)の付勢力とに応じて前記弁体(70)が作動するエンジン冷却水回路の圧力応動弁(7)において、
前記弁体(70)は、前記弁座(47)よりも大径の本体部(70a)と、この本体部(70a)から前記弁座(47)に向かって凸形状に形成された弁部(70b)と、前記本体部(70a)から反弁座(47)方向に延びる軸部(70c)とを備え、
前記弁ハウジング(40)内部において前記第2流体通路(46)側の部位に、前記軸部(70c)が挿入されるガイド穴(48a)を有するプレート(48)が設置され、
前記軸部(70c)と前記ガイド穴(48a)との間には、前記エンジン冷却水中に混入される異物が通過可能となる隙間が設定されており、
前記弁体(70)の前記弁部(70b)が前記弁座(47)から開離して前記両流体通路(6、46)間を連通させる開弁時に、前記本体部(70a)の外周面と前記弁ハウジング(40)の内壁面とが当接する第1当接部(B)と、前記軸部(70c)の外周面と前記ガイド穴(48a)の内周面とが当接する第2当接部(C)とが形成されて、前記弁体(70)の開弁時の最大傾きを規制し、かつ、前記弁部(70b)の凸形状先端部(A)が前記両流体通路(6、46)の境界部に位置するときに、前記凸形状先端部(A)が前記弁座(47)の開口範囲内に位置するように構成したことを特徴とする。
【0006】
このように、弁部を弁座に向かって凸形状とし、凸形状先端部が両流体通路の境界部に位置するときに、凸形状先端部が弁座の開口範囲内に位置するよう構成したことにより、弁体が閉弁方向に移動する際、弁部は弁座に案内されて弁部の先端(中心部)が弁座の中心部側に案内され、その結果閉弁状態では弁部が弁座の全周に正しく当接して閉弁時の漏れを確実に防止することが可能になる。そして、このように弁体の姿勢が自動的に修正されるため、弁体の姿勢保持用の軸受部を不要にすることができ、従って、軸部外周側の隙間を十分大きくとって、異物噛み込みによる弁体の作動不良を確実に防止することが可能になる。
【0007】
請求項2に記載の発明では、エンジン冷却水回路に設けられ、エンジン冷却水が流れる第1流体通路(6)およびこの第1流体通路(6)の下流側に位置する第2流体通路(46)を内部に有し、前記第1流体通路(6)よりも前記第2流体通路(46)の通路面積が大きい弁ハウジング(40)と、
前記両流体通路(6、46)の境界部で前記弁ハウジング(40、48)に形成された円形の弁座(47)と、
前記第2流体通路(46)中に配置され、かつ前記弁座(47)に接離して前記両流体通路(6、46)間を開閉する弁体(70)と、
この弁体(70)を閉弁方向に付勢するスプリング(71)とを備え、
前記両流体通路(6、46)を流れる前記エンジン冷却水の圧力と前記スプリング(71)の付勢力とに応じて前記弁体(70)が作動するエンジン冷却水回路の圧力応動弁(7)において、
前記弁体(70)は、前記弁座(47)よりも大径の本体部(70a)と、この本体部(70a)から前記弁座(47)に向かって凸形状に形成された弁部(70b)と、この弁部(70b)の略中心部から前記第1流体通路(6)内へ突出する円柱状のガイド部(70d)とを備え、
前記円柱状のガイド部(70d)が前記第1流体通路(6)内に挿入された状態において、前記円柱状のガイド部(70d)の周囲に残存する通路面積が前記円柱状のガイド部(70d)の断面積よりも大きくなるように前記円柱状のガイド部(70d)の径寸法が設定されており、
前記弁ハウジング(40、48)内部において前記第2流体通路(46)側の部位に、前記弁体(70)の開弁方向への最大ストロークを規制するストッパ(48c)を設け、
前記弁体(70)が開弁方向へ最大ストロークしたときに、前記弁体(70)の前記本体部(70a)の反弁座側の面が前記ストッパ(48c)に当接するとともに、前記ガイド部(70d)の先端が前記第1流体通路(6)の内壁面に当接して、前記ガイド部(70d)が前記第1流体通路(6)内に位置するように構成したことを特徴とする。
【0008】
このように、弁部を弁座に向かって凸形状とし、弁体が開弁方向へ最大ストロークしたときに、ガイド部が第1流体通路内に位置するように構成したことにより、弁体が閉弁方向に移動する際、弁部は弁座に案内されて弁部の中心部が弁座の中心部側に案内され、その結果閉弁状態では弁部が弁座の全周に正しく当接して閉弁時の漏れを確実に防止することが可能になる。そして、このように弁体の姿勢が自動的に修正されるため、弁体の姿勢保持用の軸部と軸受部をともに不要にすることができ、従って、異物噛み込みによる弁体の作動不良を確実に防止することが可能になる。
【0009】
なお、上記各手段の括弧内の符号は、後述する実施形態に記載の具体的手段との対応関係を示すものである。
【0010】
【発明の実施の形態】
(第1実施形態)
図1〜図3は本発明の第1実施形態を示すもので、本発明になる圧力応動弁を自動車用空調装置の温水式暖房装置に適用した例を示している。図1、図2において、1は自動車走行用の水冷式エンジン、2はエンジン1により駆動されるウオータポンプで、エンジン1の冷却水回路(温水回路)1aにエンジン冷却水(温水)を循環させるものである。
【0011】
冷却水回路1a中に暖房用熱交換器(ヒータコア)3が配置され、また、この暖房用熱交換器3は図示しない空調ユニットの空気通路(通風ダクト)内に設置されて、エンジン1から供給される温水と送風空気とを熱交換して、送風空気を加熱するものである。この暖房用熱交換器3による加熱量の調整は、後述する流量制御弁により暖房用熱交換器3への温水量を調整することにより行うことができ、この温水量の調整により吹出空気温度を調整できる。車両用空調装置では、この温度調整後の空気をフェイス吹出口から車室内の乗員顔部に向けて吹き出したり、フット吹出口から乗員の足元に吹き出したり、デフロスタ吹出口から車両窓ガラスに向けて吹き出すようになっている。
【0012】
4は流量制御装置で、樹脂にて成形された弁ハウジング40内に、温水出入口を3つ有する三方弁タイプの流量制御弁(詳細後述)5と、断面円形のバイパス通路(第1流体通路)6と、バイパス通路6に設けられた圧力応動弁(均圧弁、詳細後述)7とを有している。ここで、バイパス通路6は温水回路1aにおいて暖房用熱交換器3と並列に設けられるものである。また、圧力応動弁7はエンジン1から供給される温水の圧力に応じてバイパス通路6を開閉することより、エンジン1の回転数変動によりウオータポンプ2の回転数が変動しても、暖房用熱交換器3の前後差圧を一定に近づける役割を果たすものである。
【0013】
流量制御装置4の弁ハウジング40には、エンジン1からの温水が流入する第1の温水入口パイプ41、エンジン1に温水を還流させる第1の温水出口パイプ42、暖房用熱交換器3の出口からの温水が流入する第2の温水入口パイプ43、第1の温水入口パイプ41から流入した温水を暖房用熱交換器3に向けて流出させる第2の温水出口パイプ44が一体成形されている。
【0014】
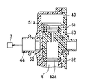
次に、流量制御弁5について説明する。弁ハウジング40内には2つの弁室45、46が形成されており、第1弁室45に流量制御弁5が収納されている。そして、流量制御弁5は、樹脂材料(例えばポリアセタール)にて円柱状に成形された弁体50を有し、この弁体50は弁ハウジング40内に回動可能に収納されている。また、この弁体50は図示しない3つの開口部を有する温水の通路が内部に形成されている。
【0015】
この弁体50の周囲に3つのパッキン51、52、53が配置され、これらのパッキン51、52、53は耐熱性に優れるゴム材(例えばEPDM…エチレン−プロピレン−ジエンモノマー)よりなる。弁体50の外周面側に位置する第1および第2のパッキン51、52は、その平面形状が矩形状に成形されると共に、弁体50に接する側の面は弁体50の外周面に沿った湾曲形状に成形される。また、弁体50の底面側に位置する第3のパッキン53は矩形状に成形される。
【0016】
3つのパッキン51、52、53には、温水の通路となる第1〜第3の穴部51a,52a,53aが形成されており、これらの穴部51a,52a,53aは弁体50内の温水通路を介して連通可能で、弁体50の回動に伴って連通状態が制御される。ここで、第1のパッキン51の第1の穴部51aが第1の温水入口パイプ41側の通路と連通し、第2のパッキン52の第2の穴部52aがバイパス通路6と連通し、第3のパッキン53の第3の穴部53aが第2の温水出口パイプ44側の通路と連通するように位置決めして組付けられる。
【0017】
なお、3つのパッキン51、52、53は、弁体50内の温水通路を介することなく、第1の温水入口パイプ41、第2の温水出口パイプ44およびバイパス通路6間で温水が直接流通してしまうことを防ぐために、弁体50の周囲に配置される。
【0018】
次に、圧力応動弁7について説明する。この圧力応動弁7は、樹脂材料(例えばポリアセタール)にて成形された弁体70と、コイルスプリング71とを備え、弁ハウジング40内の第2弁室(第2流体通路)46内に収納されている。ここで、バイパス通路6と第2弁室46との境界部、すなわちバイパス通路6における第2弁室46側の端部には円形の弁座47が形成され、圧力応動弁7は弁体70が弁座47に接離してバイパス通路6と第2弁室46との間を開閉するようになっている。
【0019】
弁体70は、弁座47よりも径が大きい円形の本体部70aと、本体部70aから弁座47に向かって凸形状に形成された円錐状の弁部70bと、本体部70aから反弁座47方向に延びる細い円柱状の軸部70cとを備え、弁部70bが弁座47に接離するようになっている。なお、本実施形態では、弁部70bの先端部角度θを110度に設定している。
【0020】
コイルスプリング71は、樹脂製のプレート48と弁体70の本体部70aとの間に設置され、弁体70を弁座47側(閉弁方向)に付勢している。ここで、プレート48の中心部には弁体70の軸部70cが挿入されるガイド穴48aが形成され、例えば軸部70cとガイド穴48aのクリアランスは、径クリアランスで3mm程度確保する設定にしている。このように、軸部70cとガイド穴48aの隙間を十分大きくとることにより、微少異物はもちろんのこと、冷却水回路1a中にまれに混入する1mm程度の異物も、その隙間から通過可能にしている。また、プレート48の周辺には温水通過穴48bが形成されている。そして、このプレート48は弁ハウジング40に一体的に組み付けられて、弁ハウジングの一部を構成する。
【0021】
上記のように、軸部70cとガイド穴48aの隙間が大きいため、ガイド穴48aには軸受部としての機能(弁体70の姿勢保持)を期待できず、そこで本実施形態では次のような構成を採用している。すなわち、図3は圧力応動弁7の開弁状態のうち、特に、弁部70bの先端Aがバイパス通路6と第2弁室46との境界部(弁座47の開口端部)に位置するときの状態を示すもので、このときに、弁部70bの先端(中心部)Aが弁座47の開口範囲内に位置するように、弁体70の最大傾きを規制している。
【0022】
この弁体70の最大傾きは、本体部70a外周面と弁ハウジング40内壁面との当接点Bと、軸部70c外周面とガイド穴48a内周面との当接点Cにより規制されるようになっている。そして、本体部70a、軸部70c、ガイド穴48aおよび弁座47のそれぞれの径、本体部70aが当接する部位の弁ハウジング40内壁面の幅W(第2弁室46の断面形状を円形にした場合は径)、弁座47の開口端部から当接点Cまでの長さ等を適宜に設定することにより、弁部70bの先端Aが弁座47の開口端部に位置するときに、弁部70bの先端Aを弁座47の開口範囲内に位置させることができる。
【0023】
なお、弁ハウジング40内にその開口部側から流量制御弁5や圧力応動弁7等の構成部品を組み付けた後、弁ハウジング40の開口部形状と略同形状の樹脂製のカバー49(図2)を図示しない止めネジにて弁ハウジング40に固定して、弁ハウジング40の開口部を密封する。
【0024】
次に、上記構成において作動を説明する。まず、流量制御弁5は、弁体50が図示しないサーボモータまたは手動操作で回動されることにより、弁体50の各開口部と第1〜第3の穴部51a,52a,53aとの連通面積(開口面積)が変化する。
【0025】
この開口面積と弁体50の回動量(開度)との関係については、特開平10−44747号公報に詳しく述べられているので簡単に説明する。エンジン1からの温水の入口となる弁体50の開口部(第1の穴部51aと連通)、および暖房用熱交換器3への温水の出口となる弁体50の開口部(第3の穴部53aと連通)は、弁体50の開度の増加に伴って開口面積が増加する。一方、バイパス通路6を介して暖房用熱交換器3の温水出口側と連通する弁体50の開口部(第2の穴部52aと連通)は、弁体50の開度の増加に伴って開口面積が減少する。従って、弁体50の開度の調整により暖房用熱交換器3に流入する温水流量を制御して、暖房能力を調整することができる。
【0026】
次に、圧力応動弁7は、エンジン1からの温水供給圧が上昇して弁体70前後の差圧が所定圧より高くなると、弁体70がコイルスプリング71に打ち勝って移動して開弁し、温水の一部をバイパス通路6を介して第2弁室46側に逃がし、弁体70の前後の圧力差を一定値に維持するように作用する。このような圧力応動弁7の圧力調整作用により、エンジン1からの温水供給圧の変化による暖房用熱交換器3への温水流量の変動を抑制することができる。
【0027】
ところで、前述したようにこの圧力応動弁7は、開弁時の弁体70の最大傾きを2つの当接点B、Cにより規制して、弁部70bの先端Aが弁座47の開口端部に位置するときに、弁部70bの先端Aが弁座47の開口範囲内に位置するようにしており(図3参照)、しかも弁部70bを円錐状にしている。従って、図3の状態から弁体70が閉弁する際は、まず弁部70bの円錐状の面の一部が弁座47に当接し、さらに弁体70が閉弁方向に移動するに伴って、弁部70bは弁座47に案内されて弁体70の姿勢が自動的に修正(自己補正)され、すなわち調芯作用により弁部70bの先端A(中心部)が弁座47の中心部側に案内され、その結果閉弁状態では弁部70bが弁座47の全周に正しく当接して閉弁時の漏れを確実に防止することが可能になる。
【0028】
また、上記のように弁体70の姿勢が自動的に修正されるため、弁体70の姿勢保持用の軸受部を不要にすることができる。そのため、軸部70cとガイド穴48aの隙間を十分大きくとることができ、異物噛み込みによる弁体70の作動不良を確実に防止することが可能になる。
【0029】
また、弁部70bを円錐状にしたことにより、図3のように弁体70が傾いた状態では、バイパス通路6側から流れてくる温水の流体力により弁体70の傾きを補正する復元力が作用する。従って、これによっても弁体70の傾きが防止され、ひいては弁部70bと弁座47の芯ずれが防止される。
【0030】
(第2実施形態)
上記第1実施形態では弁部70bを円錐状にしたが、図4に示す第2実施形態の弁部70bは、本体部70aから弁座47に向かって凸形状に形成された球形状にしている。また、第1実施形態と同様に、開弁時の弁体70の最大傾きを2つの当接点B、Cにより規制して、弁部70bの先端Aが弁座47の開口端部に位置するときに、弁部70bの先端A(中心部)が弁座47の開口範囲内に位置するようにしている。
【0031】
そして、図4の状態から弁体70が閉弁する際は、まず弁部70bの球形状の面の一部が弁座47に当接し、さらに弁体70が閉弁方向に移動するに伴って、弁部70bは弁座47に案内されて弁体70の姿勢が自動的に修正(自己補正)され、すなわち調芯作用により弁部70bの先端A(中心部)が弁座47の中心部側に案内され、その結果閉弁状態では弁部70bが弁座47の全周に正しく当接して閉弁時の漏れを確実に防止することが可能になる。
【0032】
(第3実施形態)
上記第1実施形態では本体部70aから反弁座47方向に延びる軸部70cを設けたが、図5に示す第3実施形態では、軸部70cの代わりに、弁部70bの中心部からさらに弁座47側に向かって延びる円柱状のガイド部70dを設けている。また、プレート48の中心部には、弁体70の開弁方向の最大ストロークを規制するストッパ48cを設けている。そして、弁体70が開弁方向へ最大ストロークしたときに、ガイド部70dの先端がバイパス通路6と第2弁室46との境界部(弁座47の開口端部)から抜け出さないように、すなわちガイド部70dの先端がバイパス通路6内に位置するように、弁体70の開弁方向の最大ストロークがストッパ48cによって規制される。
【0033】
この構成によれば、図5の状態から弁体70が閉弁する際は、まず弁部70bの円錐状の面の一部が弁座47に当接し、さらに弁体70が閉弁方向に移動するに伴って、弁部70bは弁座47に案内されて弁体70の姿勢が自動的に修正(自己補正)され、すなわち調芯作用により弁部70bの中心部が弁座47の中心部側に案内され、その結果閉弁状態では弁部70bが弁座47の全周に正しく当接して閉弁時の漏れを確実に防止することが可能になる。
【0034】
また、上記のように弁体70の姿勢が自動的に修正されるため、弁体70の姿勢保持用の軸部と軸受部をともに不要にすることができ、異物噛み込みによる弁体70の作動不良を確実に防止することが可能になる。
【0035】
(他の実施形態)
なお、本発明は車両用空調装置の圧力応動弁に限定されるものではなく、流体通路を流れる流体の圧力とスプリングの付勢力とに応じて弁体が作動する圧力応動弁に本発明は適用可能である。
【図面の簡単な説明】
【図1】本発明の第1実施形態になる圧力応動弁を自動車用空調装置に適用した例を示す一部断面構成図である。
【図2】図1のD−D断面図である。
【図3】図1の圧力応動弁の開弁状態を示す断面図である。
【図4】本発明の第2実施形態を示す断面図である。
【図5】本発明の第3実施形態を示す断面図である。
【図6】従来の圧力応動弁を示す断面図である。
【符号の説明】
6…バイパス通路(第1流体通路)、40…弁ハウジング、
46…弁室(第2流体通路)、47…弁座、
48…弁ハウジングの一部を構成するプレート、70…弁体、70a…本体部、70b…弁部、70c…軸部、71…スプリング、A…凸形状先端部。
Claims (3)
- エンジン冷却水回路に設けられ、エンジン冷却水が流れる第1流体通路(6)およびこの第1流体通路(6)の下流側に位置する第2流体通路(46)を内部に有し、前記第1流体通路(6)よりも前記第2流体通路(46)の通路面積が大きい弁ハウジング(40)と、
前記両流体通路(6、46)の境界部で前記弁ハウジング(40)に形成された円形の弁座(47)と、
前記第2流体通路(46)中に配置され、かつ前記弁座(47)に接離して前記両流体通路(6、46)間を開閉する弁体(70)と、
この弁体(70)を閉弁方向に付勢するスプリング(71)とを備え、
前記両流体通路(6、46)を流れる前記エンジン冷却水の圧力と前記スプリング(71)の付勢力とに応じて前記弁体(70)が作動するエンジン冷却水回路の圧力応動弁(7)において、
前記弁体(70)は、前記弁座(47)よりも大径の本体部(70a)と、この本体部(70a)から前記弁座(47)に向かって凸形状に形成された弁部(70b)と、前記本体部(70a)から反弁座(47)方向に延びる軸部(70c)とを備え、
前記弁ハウジング(40)内部において前記第2流体通路(46)側の部位に、前記軸部(70c)が挿入されるガイド穴(48a)を有するプレート(48)が設置され、
前記軸部(70c)と前記ガイド穴(48a)との間には、前記エンジン冷却水中に混入される異物が通過可能となる隙間が設定されており、
前記弁体(70)の前記弁部(70b)が前記弁座(47)から開離して前記両流体通路(6、46)間を連通させる開弁時に、前記本体部(70a)の外周面と前記弁ハウジング(40)の内壁面とが当接する第1当接部(B)と、前記軸部(70c)の外周面と前記ガイド穴(48a)の内周面とが当接する第2当接部(C)とが形成されて、前記弁体(70)の開弁時の最大傾きを規制し、かつ、前記弁部(70b)の凸形状先端部(A)が前記両流体通路(6、46)の境界部に位置するときに、前記凸形状先端部(A)が前記弁座(47)の開口範囲内に位置するように構成したことを特徴とするエンジン冷却水回路の圧力応動弁。 - エンジン冷却水回路に設けられ、エンジン冷却水が流れる第1流体通路(6)およびこの第1流体通路(6)の下流側に位置する第2流体通路(46)を内部に有し、前記第1流体通路(6)よりも前記第2流体通路(46)の通路面積が大きい弁ハウジング(40)と、
前記両流体通路(6、46)の境界部で前記弁ハウジング(40、48)に形成された円形の弁座(47)と、
前記第2流体通路(46)中に配置され、かつ前記弁座(47)に接離して前記両流体通路(6、46)間を開閉する弁体(70)と、
この弁体(70)を閉弁方向に付勢するスプリング(71)とを備え、
前記両流体通路(6、46)を流れる前記エンジン冷却水の圧力と前記スプリング(71)の付勢力とに応じて前記弁体(70)が作動するエンジン冷却水回路の圧力応動弁(7)において、
前記弁体(70)は、前記弁座(47)よりも大径の本体部(70a)と、この本体部(70a)から前記弁座(47)に向かって凸形状に形成された弁部(70b)と、この弁部(70b)の略中心部から前記第1流体通路(6)内へ突出する円柱状のガイド部(70d)とを備え、
前記円柱状のガイド部(70d)が前記第1流体通路(6)内に挿入された状態において、前記円柱状のガイド部(70d)の周囲に残存する通路面積が前記円柱状のガイド部(70d)の断面積よりも大きくなるように前記円柱状のガイド部(70d)の径寸法が設定されており、
前記弁ハウジング(40、48)内部において前記第2流体通路(46)側の部位に、前記弁体(70)の開弁方向への最大ストロークを規制するストッパ(48c)を設け、
前記弁体(70)が開弁方向へ最大ストロークしたときに、前記弁体(70)の前記本体部(70a)の反弁座側の面が前記ストッパ(48c)に当接するとともに、前記ガイド部(70d)の先端が前記第1流体通路(6)の内壁面に当接して、前記ガイド部(70d)が前記第1流体通路(6)内に位置するように構成したことを特徴とするエンジン冷却水回路の圧力応動弁。 - 前記弁部(70b)は円錐形であることを特徴とする請求項1または2に記載のエンジン冷却水回路の圧力応動弁。
Priority Applications (1)
| Application Number | Priority Date | Filing Date | Title |
|---|---|---|---|
| JP26586199A JP4135271B2 (ja) | 1999-09-20 | 1999-09-20 | エンジン冷却水回路の圧力応動弁 |
Applications Claiming Priority (1)
| Application Number | Priority Date | Filing Date | Title |
|---|---|---|---|
| JP26586199A JP4135271B2 (ja) | 1999-09-20 | 1999-09-20 | エンジン冷却水回路の圧力応動弁 |
Publications (2)
| Publication Number | Publication Date |
|---|---|
| JP2001090853A JP2001090853A (ja) | 2001-04-03 |
| JP4135271B2 true JP4135271B2 (ja) | 2008-08-20 |
Family
ID=17423115
Family Applications (1)
| Application Number | Title | Priority Date | Filing Date |
|---|---|---|---|
| JP26586199A Expired - Fee Related JP4135271B2 (ja) | 1999-09-20 | 1999-09-20 | エンジン冷却水回路の圧力応動弁 |
Country Status (1)
| Country | Link |
|---|---|
| JP (1) | JP4135271B2 (ja) |
Cited By (2)
| Publication number | Priority date | Publication date | Assignee | Title |
|---|---|---|---|---|
| US7752106B1 (en) | 2005-07-19 | 2010-07-06 | Planalytics, Inc. | System, method, and computer program product for predicting a weather-based financial index value |
| US7844517B2 (en) | 1996-01-18 | 2010-11-30 | Planalytics, Inc. | System, method, and computer program product for forecasting weather-based demand using proxy data |
Families Citing this family (1)
| Publication number | Priority date | Publication date | Assignee | Title |
|---|---|---|---|---|
| EP4563857A4 (en) * | 2022-10-21 | 2025-08-27 | Taiheiyo Kogyo Kk | PRESSURE RELIEF VALVE |
-
1999
- 1999-09-20 JP JP26586199A patent/JP4135271B2/ja not_active Expired - Fee Related
Cited By (2)
| Publication number | Priority date | Publication date | Assignee | Title |
|---|---|---|---|---|
| US7844517B2 (en) | 1996-01-18 | 2010-11-30 | Planalytics, Inc. | System, method, and computer program product for forecasting weather-based demand using proxy data |
| US7752106B1 (en) | 2005-07-19 | 2010-07-06 | Planalytics, Inc. | System, method, and computer program product for predicting a weather-based financial index value |
Also Published As
| Publication number | Publication date |
|---|---|
| JP2001090853A (ja) | 2001-04-03 |
Similar Documents
| Publication | Publication Date | Title |
|---|---|---|
| EP0699547B1 (en) | Hot water type heating apparatus for vehicles | |
| US5975031A (en) | Cooling system for an internal combustion engine, particularly for motor vehicles | |
| JP3341523B2 (ja) | 流量制御弁及びそれを用いた温水式暖房装置 | |
| EP1156243A1 (en) | Flow control valve | |
| JP4135271B2 (ja) | エンジン冷却水回路の圧力応動弁 | |
| CA1143629A (en) | Three way butterfly valve | |
| US5975421A (en) | Hot-water heating apparatus | |
| US6109534A (en) | Hot water-type heating device | |
| US5957377A (en) | Flow control valve and hot-water type heater apparatus employing the same | |
| US4245780A (en) | Temperature regulator assembly and signal modulator therefor | |
| JP3279105B2 (ja) | 流量制御弁及びそれを用いた温水式暖房装置 | |
| JP4126824B2 (ja) | 流量制御弁 | |
| CA1155350A (en) | Three way butterfly valve | |
| JP3596181B2 (ja) | 温水式暖房装置 | |
| JPS5930566B2 (ja) | 温水式暖房装置 | |
| JP4048616B2 (ja) | 流量制御弁 | |
| JPH09156339A (ja) | 流量制御弁及びそれを用いた温水式暖房装置 | |
| JP3562154B2 (ja) | 温水式暖房装置 | |
| JPH0747211Y2 (ja) | ヒ−タコア | |
| JP3578143B2 (ja) | 自動車用空調装置 | |
| JP3780600B2 (ja) | 温水式暖房装置 | |
| JP3207669B2 (ja) | 温水循環式暖房装置 | |
| JPS609049Y2 (ja) | 温水式暖房装置 | |
| JPS5919846B2 (ja) | 温水式暖房装置 | |
| JPH10132097A (ja) | 流量制御弁 |
Legal Events
| Date | Code | Title | Description |
|---|---|---|---|
| A621 | Written request for application examination |
Free format text: JAPANESE INTERMEDIATE CODE: A621 Effective date: 20051130 |
|
| A977 | Report on retrieval |
Free format text: JAPANESE INTERMEDIATE CODE: A971007 Effective date: 20070711 |
|
| A131 | Notification of reasons for refusal |
Free format text: JAPANESE INTERMEDIATE CODE: A131 Effective date: 20070724 |
|
| A521 | Written amendment |
Free format text: JAPANESE INTERMEDIATE CODE: A523 Effective date: 20070925 |
|
| TRDD | Decision of grant or rejection written | ||
| A01 | Written decision to grant a patent or to grant a registration (utility model) |
Free format text: JAPANESE INTERMEDIATE CODE: A01 Effective date: 20080513 |
|
| A01 | Written decision to grant a patent or to grant a registration (utility model) |
Free format text: JAPANESE INTERMEDIATE CODE: A01 |
|
| A61 | First payment of annual fees (during grant procedure) |
Free format text: JAPANESE INTERMEDIATE CODE: A61 Effective date: 20080526 |
|
| R150 | Certificate of patent or registration of utility model |
Free format text: JAPANESE INTERMEDIATE CODE: R150 |
|
| FPAY | Renewal fee payment (event date is renewal date of database) |
Free format text: PAYMENT UNTIL: 20110613 Year of fee payment: 3 |
|
| FPAY | Renewal fee payment (event date is renewal date of database) |
Free format text: PAYMENT UNTIL: 20110613 Year of fee payment: 3 |
|
| FPAY | Renewal fee payment (event date is renewal date of database) |
Free format text: PAYMENT UNTIL: 20120613 Year of fee payment: 4 |
|
| FPAY | Renewal fee payment (event date is renewal date of database) |
Free format text: PAYMENT UNTIL: 20120613 Year of fee payment: 4 |
|
| FPAY | Renewal fee payment (event date is renewal date of database) |
Free format text: PAYMENT UNTIL: 20130613 Year of fee payment: 5 |
|
| FPAY | Renewal fee payment (event date is renewal date of database) |
Free format text: PAYMENT UNTIL: 20140613 Year of fee payment: 6 |
|
| LAPS | Cancellation because of no payment of annual fees |