JP4130100B2 - 面発光装置及び液晶表示装置 - Google Patents
面発光装置及び液晶表示装置 Download PDFInfo
- Publication number
- JP4130100B2 JP4130100B2 JP2002197991A JP2002197991A JP4130100B2 JP 4130100 B2 JP4130100 B2 JP 4130100B2 JP 2002197991 A JP2002197991 A JP 2002197991A JP 2002197991 A JP2002197991 A JP 2002197991A JP 4130100 B2 JP4130100 B2 JP 4130100B2
- Authority
- JP
- Japan
- Prior art keywords
- light
- guide plate
- light guide
- light source
- cover member
- Prior art date
- Legal status (The legal status is an assumption and is not a legal conclusion. Google has not performed a legal analysis and makes no representation as to the accuracy of the status listed.)
- Expired - Fee Related
Links
- 239000004973 liquid crystal related substance Substances 0.000 title claims description 50
- 229910052751 metal Inorganic materials 0.000 claims description 13
- 239000002184 metal Substances 0.000 claims description 13
- 229910000851 Alloy steel Inorganic materials 0.000 claims description 5
- 229910001220 stainless steel Inorganic materials 0.000 claims description 5
- 239000010935 stainless steel Substances 0.000 claims description 5
- 238000005498 polishing Methods 0.000 claims description 3
- 239000000463 material Substances 0.000 description 8
- 229920000178 Acrylic resin Polymers 0.000 description 4
- 239000004925 Acrylic resin Substances 0.000 description 4
- 239000010408 film Substances 0.000 description 4
- VYZAMTAEIAYCRO-UHFFFAOYSA-N Chromium Chemical compound [Cr] VYZAMTAEIAYCRO-UHFFFAOYSA-N 0.000 description 3
- 230000008602 contraction Effects 0.000 description 3
- 239000011347 resin Substances 0.000 description 3
- 229920005989 resin Polymers 0.000 description 3
- BQCADISMDOOEFD-UHFFFAOYSA-N Silver Chemical compound [Ag] BQCADISMDOOEFD-UHFFFAOYSA-N 0.000 description 2
- 238000001816 cooling Methods 0.000 description 2
- 230000000694 effects Effects 0.000 description 2
- 238000010438 heat treatment Methods 0.000 description 2
- 238000001746 injection moulding Methods 0.000 description 2
- 238000003780 insertion Methods 0.000 description 2
- 230000037431 insertion Effects 0.000 description 2
- 238000004519 manufacturing process Methods 0.000 description 2
- 238000000034 method Methods 0.000 description 2
- 238000007747 plating Methods 0.000 description 2
- 229920005668 polycarbonate resin Polymers 0.000 description 2
- 239000004431 polycarbonate resin Substances 0.000 description 2
- 229910052709 silver Inorganic materials 0.000 description 2
- 239000004332 silver Substances 0.000 description 2
- 239000010409 thin film Substances 0.000 description 2
- 229910000906 Bronze Inorganic materials 0.000 description 1
- 229910000881 Cu alloy Inorganic materials 0.000 description 1
- OAICVXFJPJFONN-UHFFFAOYSA-N Phosphorus Chemical compound [P] OAICVXFJPJFONN-UHFFFAOYSA-N 0.000 description 1
- 230000001133 acceleration Effects 0.000 description 1
- 229910052782 aluminium Inorganic materials 0.000 description 1
- XAGFODPZIPBFFR-UHFFFAOYSA-N aluminium Chemical compound [Al] XAGFODPZIPBFFR-UHFFFAOYSA-N 0.000 description 1
- DMFGNRRURHSENX-UHFFFAOYSA-N beryllium copper Chemical compound [Be].[Cu] DMFGNRRURHSENX-UHFFFAOYSA-N 0.000 description 1
- 239000010974 bronze Substances 0.000 description 1
- KUNSUQLRTQLHQQ-UHFFFAOYSA-N copper tin Chemical compound [Cu].[Sn] KUNSUQLRTQLHQQ-UHFFFAOYSA-N 0.000 description 1
- 238000010586 diagram Methods 0.000 description 1
- 239000003822 epoxy resin Substances 0.000 description 1
- 239000011521 glass Substances 0.000 description 1
- 239000012528 membrane Substances 0.000 description 1
- 230000003287 optical effect Effects 0.000 description 1
- 229920000647 polyepoxide Polymers 0.000 description 1
- 230000001902 propagating effect Effects 0.000 description 1
- 238000000926 separation method Methods 0.000 description 1
Images
Classifications
-
- G—PHYSICS
- G02—OPTICS
- G02B—OPTICAL ELEMENTS, SYSTEMS OR APPARATUS
- G02B6/00—Light guides; Structural details of arrangements comprising light guides and other optical elements, e.g. couplings
- G02B6/0001—Light guides; Structural details of arrangements comprising light guides and other optical elements, e.g. couplings specially adapted for lighting devices or systems
- G02B6/0011—Light guides; Structural details of arrangements comprising light guides and other optical elements, e.g. couplings specially adapted for lighting devices or systems the light guides being planar or of plate-like form
- G02B6/0013—Means for improving the coupling-in of light from the light source into the light guide
- G02B6/0023—Means for improving the coupling-in of light from the light source into the light guide provided by one optical element, or plurality thereof, placed between the light guide and the light source, or around the light source
- G02B6/0028—Light guide, e.g. taper
-
- G—PHYSICS
- G02—OPTICS
- G02B—OPTICAL ELEMENTS, SYSTEMS OR APPARATUS
- G02B6/00—Light guides; Structural details of arrangements comprising light guides and other optical elements, e.g. couplings
- G02B6/0001—Light guides; Structural details of arrangements comprising light guides and other optical elements, e.g. couplings specially adapted for lighting devices or systems
- G02B6/0011—Light guides; Structural details of arrangements comprising light guides and other optical elements, e.g. couplings specially adapted for lighting devices or systems the light guides being planar or of plate-like form
- G02B6/0081—Mechanical or electrical aspects of the light guide and light source in the lighting device peculiar to the adaptation to planar light guides, e.g. concerning packaging
- G02B6/0086—Positioning aspects
- G02B6/0088—Positioning aspects of the light guide or other optical sheets in the package
-
- G—PHYSICS
- G02—OPTICS
- G02B—OPTICAL ELEMENTS, SYSTEMS OR APPARATUS
- G02B6/00—Light guides; Structural details of arrangements comprising light guides and other optical elements, e.g. couplings
- G02B6/0001—Light guides; Structural details of arrangements comprising light guides and other optical elements, e.g. couplings specially adapted for lighting devices or systems
- G02B6/0011—Light guides; Structural details of arrangements comprising light guides and other optical elements, e.g. couplings specially adapted for lighting devices or systems the light guides being planar or of plate-like form
- G02B6/0013—Means for improving the coupling-in of light from the light source into the light guide
- G02B6/0015—Means for improving the coupling-in of light from the light source into the light guide provided on the surface of the light guide or in the bulk of it
- G02B6/0018—Redirecting means on the surface of the light guide
-
- G—PHYSICS
- G02—OPTICS
- G02B—OPTICAL ELEMENTS, SYSTEMS OR APPARATUS
- G02B6/00—Light guides; Structural details of arrangements comprising light guides and other optical elements, e.g. couplings
- G02B6/0001—Light guides; Structural details of arrangements comprising light guides and other optical elements, e.g. couplings specially adapted for lighting devices or systems
- G02B6/0011—Light guides; Structural details of arrangements comprising light guides and other optical elements, e.g. couplings specially adapted for lighting devices or systems the light guides being planar or of plate-like form
- G02B6/0033—Means for improving the coupling-out of light from the light guide
- G02B6/0035—Means for improving the coupling-out of light from the light guide provided on the surface of the light guide or in the bulk of it
- G02B6/0038—Linear indentations or grooves, e.g. arc-shaped grooves or meandering grooves, extending over the full length or width of the light guide
Landscapes
- Physics & Mathematics (AREA)
- General Physics & Mathematics (AREA)
- Optics & Photonics (AREA)
- Planar Illumination Modules (AREA)
- Liquid Crystal (AREA)
- Securing Globes, Refractors, Reflectors Or The Like (AREA)
Description
【発明の属する技術分野】
本発明は、面発光装置および液晶表示装置に関するものである。
【0002】
【従来の技術】
従来、周囲光を光源として表示を行う反射型液晶表示装置においては、その輝度が周囲光の光量に左右されるために、暗所での使用時など十分な周囲光が得られない環境では、表示の視認性が極端に低下するという問題があった。そこで、反射型の液晶表示ユニット(液晶表示素子)の前面側にフロントライト(面発光装置)を配して補助光源として用いるタイプの液晶表示装置が提案されている。このフロントライトを備える液晶表示装置は、昼間の屋外などの周囲光が十分に得られる環境では通常の反射型液晶表示装置として動作し、必要に応じて上記フロントライトを点灯させて光源とするものである。このように液晶表示ユニットの前面にフロントライトを配設した液晶表示装置の一例を図10に示す。この図10に示す液晶表示装置100は、液晶表示ユニット120と、フロントライト110とを備えて構成され、液晶表示ユニット120の表示領域に導光板112が配置するように液晶表示ユニット120の前面(図10の上面)にフロントライト110が配設されている。
【0003】
フロントライト110は、透明なアクリル樹脂などを射出成形して作製された平板状の導光板112と、この導光板112の側端面側に配された棒状のバー光源113とを備えて構成されており、側面視コの字型の金属板からなる光源カバー115が、バー光源113側から装着されている。すなわち、この光源カバー115が、その内部にバー光源113を収納するとともに、光源カバー115の開口側先端部の内面で導光板112の上下面のバー光源側の側端部を把持することで、導光板112とバー光源113とを所定の位置に密着させて支持している。また、光源カバー115の内面側には、導光板112に入射せずに、光源カバー115の内面に向かって出射される光を導光体113aへ戻して利用するための銀薄膜などからなる反射膜(図示せず)が設けられている。前記導光板112の下面(液晶表示ユニット120側)は光が出射される出射面とされ、この出射面と反対側の面(導光板112の上面)は、導光板112の内部を伝搬する光の方向を変えるためにくさび状の溝114が交互に周期的に配置されたプリズム面112cとされている。
【0004】
バー光源113は、棒状の導光体113aと、その両端部に配設された発光素子としての発光ダイオード(Light Emitting Diode;LED)113bとを備えており、LED113bから出射された光を導光体113aにより導光板112の側端面に導き、導光板112内に光を導入させるようになっている。
【0005】
液晶表示ユニット120は、反射型の液晶表示ユニットとされ、内蔵または外付けの反射板により前記フロントライト110から入射した光を反射させて表示を行うようになっている。以上の構成の液晶表示装置100は、十分な外光が得られる環境においては、この外光を反射させて通常の反射表示を行い、外光が得られない暗所においては、フロントライト110を光源とし、この光を反射させて表示を行うようになっている。
【0006】
【発明が解決しようとする課題】
しかしながら、上記構成の液晶表示装置100においては、加熱と冷却を周期的に繰り返して行う加速試験を行った場合に、フロントライト110の輝度が部分的に低下するという現象を起こす場合があった。この問題について、本発明者らが調査を行ったところ、上記輝度の低下は、導光板112と導光体113aとの位置のずれに起因するものであることが明らかになった。
【0007】
図11は、図10に示すフロントライト110の光路を示す平面図である。図11に示すように、バー光源113の導光体113aには、導光板112と反対側の面がプリズム面118とされており、LED113bから導光体113aへ入射した光は、このプリズム面118で反射されて導光板112側へ出射されるようになっている。このような構造のフロントライト110においては、プリズム面118により反射された光の伝搬方向は、狭い範囲に限定されるため、導光板112内に均一に光を導入するためには、バー光源113の導光体113aに対する導光板112の位置を厳密に調整する必要があり、特に、導光板112の幅方向において厳密に位置決めを行う必要がある。例えば図11に破線で示すように、導光板112が矢印で示す紙面右方向に位置がずれた場合には、導光板112の右端部116の光量が一部低下して出射光量が面内で不均一になり易く、液晶表示装置の視認性を一部低下させることとなる。
【0008】
上述のように、上記液晶表示装置100においては、バー光源113と導光板112とは、側面視コ字型の光源カバー115をバー光源113側の側端部に被着することにより固定されているので、導光板112は、光源カバー115の内面側で把持されている。このような構造では、光源カバー115の内面の広い面で導光板112を挟み付けているので、光源カバー115の内面側に設けられた反射膜の膨張収縮を、光源カバー115の内面の広い面で受けてしまい導光板112の位置がずれ易くなる。
【0009】
従って、本発明の目的の一つは、バー光源と導光板とを正確な位置に配置するとともに、その配置を保持することができるように光源カバーを改良し、信頼性に優れた面発光装置を提供することにある。
また本発明の目的の一つは、上記改良された光源カバーを使用した面発光装置と液晶表示素子とを正確な位置に保持することができるようにして、信頼性に優れた液晶表示装置を提供することにある。
【0010】
【課題を解決するための手段】
上記の目的を達成するために、本発明は以下の構成を採用した。
本発明の面発光装置は、棒状の光源と、該光源の光を側端面から入射して出射面から出射させる構造を有する導光板と、該棒状の光源及び該導光板とを支持するカバー部材とを備えた面発光装置において、前記カバー部材はバネ特性を有する金属板からなり、かつ断面形状がほぼコの字型であり、該カバー部材のコの字型の開口部側の幅が非開口部側の幅よりも小さくて、該カバー部材を前記棒状の光源と前記導光板にかぶせ、該カバー部材のコの字型の開口部側で前記導光板を把持することにより、前記棒状の光源と導光板とを密着させて支持するように構成してなり、前記カバー部材の両端部には前記導光板の幅方向に突出する突出部が形成され、前記各突出部から各突出部の長さ方向に直交する方向に向かって前記導光板の長さ方向に沿う突片が延設されており、前記両突片の間隔が、前記導光板の幅とほぼ同一に形成され、前記突片が、当該面発光装置を筐体に固定するための嵌合部をなしていることを特徴とする。
【0011】
このような構成とすることで、カバー部材の強力なバネ力により導光板を強固に支持することが可能となり、導光板とバー光源との密着性を維持して両者がずれ難くして、信頼性に優れた面発光装置を実現することができる。
また、このような構造にして前記光源カバー部材による導光板の支持構造と、バー光源両端部に延設された突片による導光板の位置決め構造とを具備したことにより、加熱冷却に伴う導光板やバー光源及びカバー部材の膨張収縮により、導光板とバー光源との位置がずれることがなく、バー光源の光を損失無く確実に導光板に伝えることが可能となるため、LEDの発光を効率よく導光板で利用できるようになるので、より信頼性に優れた面発光装置を得ることができる。
また、本発明の面発光装置においては、前記突片が、当該面発光装置を筐体に固定するための嵌合部とされた構成とすることで、面発光装置を電子機器に搭載する際に、正確な位置に面発光装置を固定しやすくなり、製造時の作業効率を高めることができる。
【0012】
次に、本発明の面発光装置においては、前記カバー部材のコの字型の上面であって、前記棒状の光源の上部の位置に突起部を設け、該突起部で前記棒状の光源を把持するとともに、該カバー部材のコの字型の開口部側で前記導光板を把持することにより、前記棒状の光源と導光板とを密着させて支持するように構成した面発光装置とした。
このような構成とすることで、バー光源及び導光板の双方をカバー部材の強力なバネ力により強固に把持することが可能となり、導光板とバー光源との密着性を維持して両者がずれ難くして、より信頼性に優れた面発光装置を実現することができる。
【0013】
次に、本発明の面発光装置では、前記カバー部材のコの字型の開口部側の最先端部の幅を、前記カバー部材のもっとも幅の狭い部分の幅よりも大きく構成するのが好ましい。
カバー部材とバー光源及び導光板を面発光装置に組み立てるのに際して、バー光源及び導光板をカバー部材に挿入し易くするためである。
【0014】
本構成の面発光装置では、前記カバー部材を構成するバネ特性を有する金属板の内面に、光源からの光を反射させるための反射膜を有するものを使用することができる。
光源からの光を効率よく導光板に導くためである。
あるいはまた、前記カバー部材を構成するバネ特性を有する金属板を、鏡面電解研磨を施したステンレス鋼板から構成することもできる。
付着膜が無く、素材そのものなので熱膨張差や剥離等の障害を排除することが可能となる利点がある。
さらには、前記カバー部材を構成するバネ特性を有する金属板を、クロムメッキを施した低合金鋼から構成することもできる。
材料費が安く、コストダウンに寄与する効果が期待できるからである。
【0015】
また、本発明の面発光装置は、前記突片が、前記カバー部材両端部から前記導光板の厚さ方向に沿って延設された基部と、該基部の先端から前記導光板の長さ方向に沿って延設された板状の嵌合板と、該嵌合板の外側の辺端から突設され、前記嵌合板との接続部で上方に屈曲された掛止部と、前記嵌合板の先端部から上方に屈曲されて形成された掛止突部とを備えたものとすることが好ましい。
【0017】
本発明の面発光装置は、上述のように光源と導光板とを突片により正確に位置決めできるとともに、これらが極めてずれにくい構造とされているので、上記嵌合部によりカバー部材を確実に筐体に固定することで、例えばこの導光板の背面側に配置される表示装置と導光板との位置も正確に位置決めすることができる。
【0018】
次に、本発明の液晶表示装置は、先のいずれかに記載の面発光装置を液晶表示素子の前面側に備えた液晶表示装置とした。
すなわち、上述の優れた信頼性を備えた本発明の面発光装置を備えることで、加熱や冷却による輝度の低下が起こりにくく、長期間にわたり優れた視認性を発揮する液晶表示装置を実現することができる。
【0019】
【発明の実施の形態】
以下、本発明の実施の形態を図面を参照して説明するが、本発明は以下の実施の形態に限定されるものではない。
【0020】
(面発光装置)
(第1の実施の形態)
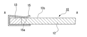
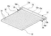
図1は、本発明の一実施の形態であるフロントライト(面発光装置)の斜視図であり、図2は、図1に示すフロントライトの部分平面図である。これらの図に示すフロントライト10は、透明な樹脂材料からなる平板状の導光板12と、この導光板12の側端面の一端(長方形状の導光板12の短辺側の一端部)に配された棒状のバー光源13とを備えて構成されている。さらに、横断面がほぼコの字型の光源カバー15がバー光源13側から被着され、光源カバー15の先端部側で導光板12の上下面を挟みこんで、導光板12とバー光源13とを固定している。
【0021】
導光板12は、透明な平板状の部材であり、バー光源13と対向する側端面12aを入光面とし、この側端面12aから内部に導入された光を、側端面12aとほぼ平行なくさび状の溝14が間欠的にストライプ状に形成された反射面12cで反射させることにより、反射面12cの反対側の面(図示下面)から出射させる構造とされている。この導光板12は、透明なアクリル樹脂などの樹脂材料を平板状に射出成形する方法などにより作製することができる。また、導光板12を構成する材料としてはアクリル系樹脂のほか、ポリカーボネート系樹脂、エポキシ樹脂などの透明な樹脂材料や、ガラスなどを用いることがもきる。
【0022】
バー光源13は、図2に示すように、アクリル系樹脂やポリカーボート系樹脂などからなる四角柱状の棒状の導光部13aと、この導光部13aの長手方向両端に配設された発光ダイオード( Light Emittinng Diode:LED)からなる発光素子13b,13bとから構成されている。前記導光部13aの側面のうち、導光板12と反対側の面には、プリズム形状が形成されたプリズム面18があり、発光素子13b,13bから導光部13a内に導入された光をこの面で反射させることで、導光板12側へ光の伝搬方向を変え、導光板12の側端面側に発光素子13b,13bから出射された光を照射するようになっている。
【0023】
尚、バー光源13としては、本実施形態ではLEDからなる発光素子13bを備えたものを用いた構成としたが、この発光素子は冷陰極管や有機EL素子等を用いたものであってもよく、導光板12の側端面12aに光を均一に照射することができるものであればいずれのものでも好適に用いることができる。
【0024】
光源カバー15は、バー光源13と導光板12とを支持、固定するためにバー光源13側から被着されており、この光源カバー15は、例えば低合金鋼、ステンレス鋼、リン青銅、ベリリウム銅等のバネ特性に優れた金属板を加工して構成することができる。これらのうちでも光反射率の高いものが好ましく、光輝電解研磨処理を施したステンレス鋼や、銀、アルミニウム等の薄膜をコーティングしたりクロムメッキを施した低合金鋼や銅合金が好んで用いられる。
本実施形態では、光源カバー15は側面視した形状をほぼコの字型とし、コの字型の開口部の幅が狭くなるように構成し、導光板を把持した場合のバネ力を強化したものとする。さらに、光源カバー15の両側端に発光素子13b、13bの外側を覆う側方板を設けてもよい。
【0025】
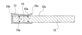
図3は、図2に示すフロントライト10のA−A線に沿う部分断面図である。図2及び図3に示すように、この実施形態の光源カバー15の断面形状は、ほぼコの字型になっており、ほぼコの字型の断面の開口部側が狭くなっており、開口部側の最も狭くなっている接線15aの部分で導光板12の上面(反射面12c)を押圧して固定するようになっている。
本実施形態のフロントライト10においては、バー光源13側から被着された光源カバー15が、導光板12の上面側においては、接線15aにより支持され、一方導光板12の下面側においては、光源カバー15の下部の内面で支持される構造となっている。この構造により光源カバーのバネ力によって導光板を強固に把持することができるので、導光板とバー光源との密着性を維持することが可能となる。
さらに、光源カバーの膨張収縮による応力が導光板12の広い面にかかり難くなり、導光板12とバー光源13の位置がずれ難いフロントライト10を実現している。また、光源カバー15の内面側の光反射率を高くしておけば、光源カバー15の内面側に入射する光をこの反射面で反射させることで、光の利用効率を高める構造とすることができる。
【0026】
図4は、上記本実施形態のフロントライト10を液晶表示ユニット20の前面に配置し、両者を筐体30で支持して構成された液晶表示装置200を示す斜視図である。
本実施形態の液晶表示装置200は、箱型の筐体30の内部に液晶表示ユニット20を収納し、この液晶表示ユニット20の前面(上面)にフロントライト10を配置するとともに、筐体30に設けられた鈎型の掛止部材30aを、カバー部材15の突片16に係合させて、フロントライト10と、液晶表示ユニット20と、筐体30とを一体的に固定したものである。
【0027】
図5は第1の実施形態における光源カバー15の断面の寸法関係を説明する図である。図に示すように第1の実施形態における光源カバー15は、断面形状がほぼコの字型(図では逆コの字型)になっており、コの字型の開口部側のもっとも幅の狭い接線15a部分の幅Fは、反対側のコの字の最奥部の幅Aよりも小さくなっている。すなわち図5で F<Aとなる。光源カバー15はバネ特性に優れた金属から構成されているため、接線15a部分に強力なバネ力が発生し、導光板を強力に押圧して強固に把持することが可能となる。
さらに光源カバー15のコの字形の開口部側最先端15c部分の幅Dは、接線15a部分の幅Fよりもやや大きくしてある。すなわち、図5で F<Dとなる。
これは面発光装置を組み立てるに際して、光源カバー15にバー光源13及び導光板12を挿入し易くするためである。
【0028】
図6は第1の実施形態の光源カバー15に、バー光源13及び導光板12を挿入した場合の寸法関係を説明する図である。図に示すように光源カバー15の最奥部15bの幅Aは、導光板12及びバー光源13の厚さBよりも若干大きくなっている。すなわち図6で B<Aとなる。
そして光源カバー15の接線15aの部分の幅Fは、導光板12及びバー光源13の厚さB(=C)よりも若干小さくしてある。すなわち図5及び図6で F<B(=C)となる。したがって、接線15aの部分で光源カバー15のバネ力により導光板12を強く挟んで把持することが可能となる。導光板12及びバー光源13を挿入した場合には、接線15a部分の幅F’は導光板12及びバー光源13の厚さBとなり、バネ力が発生する。すなわち、図6で F<F’=B(=C)となる。
【0029】
図7は、図4に示す液晶表示装置の筐体30とフロントライト10との係合部分を拡大して示す斜視図である
光源カバー15の上部両側には、図1に示すように、導光板12の厚さ方向に突片16,16が延出されて形成され(図7ではその片側のみを示している)、それぞれの突片16は、光源カバー15の上部側両端のから導光板12の厚さ方向に沿って延設された基部16dと、この基部16dの先端部から導光板12の長さ方向に沿って延設された嵌合板16aとを備え、2つの突片16、16の間隔は、導光板12の幅とほぼ同一とされている。換言すれば、本実施形態のフロントライト10においては、光源カバー15の突片16、16の間に導光板12が挿入されてその幅方向に位置決めされて固定されている。従って、仮に導光板12をその幅方向に移動させる応力が導光板12に作用したとしても、この突片16、16により導光板12の幅方向の動きが制限されるので、導光板12の位置のずれが極めて起こりにくい構造となっている。
【0030】
突片16と導光板12との間隔は、0.1mm以下とすることが好ましい。この突片16と導光板12との間隔が0.1mmを越えると、バー光源13の導光部13aと導光板12との位置のずれが0.1mmを越えるようになり、導光板12の出射面における輝度が一部低下して、輝度の均一性が低下するので好ましくない。
【0031】
また、突片16は導光板12の厚さ方向に延出された基部16dと、この基部16dから延出され、導光板12と平行に形成された板状の嵌合板16aと、この嵌合板16aから外側に突設されるとともに、その基端部で上方(嵌合板16aと垂直方向)に若干屈曲された掛止部16bと、嵌合板16aの先端部から延出され、その基端部で上方(嵌合板16aと垂直方向)に屈曲された掛止突部16cとから構成されている。この突片16はフロントライト10を表示装置の前面に固定したり、電子機器へ固定するために設けられている。そして、上記の構造を採用したことにより、フロントライト10を固定する際の位置決めや、その取付を容易なものとすることができ、かつフロントライト10の位置ずれを防止することができる。
【0032】
図7に示すように、本例の液晶表示装置では、筐体30に設けられた鈎型の掛止部材30aを、突片16の掛止部16bに係合させてフロントライト10を固定している。この掛止部材30aの幅を、突片16の嵌合板16aの長さ(基部16dの先端部から掛止突部16cの基端部までの長さ)とほぼ同一に構成してある。これにより、突片16に係合された掛止部材30aは、その側面に配された基部16dと掛止突部16cとほぼ当接した状態となる。従って、筐体30に固定されたフロントライト10の導光板12の長さ方向への動きが、基部16dと掛止突部16cに挟まれた掛止部材30aより制限されて、フロントライト10と、液晶表示ユニット20との位置がずれにくくなっている。また、この構造により、筐体30に対してフロントライト10を正確に位置決めすることができ、かつその位置を保持することができるようになっている。また、上記の構成により、筐体30へフロントライト10を固定する場合、掛止部材30aを突片16に係合させるのみで良く、極めて容易に液晶表示装置を構成することができる。
【0033】
(第2の実施形態)
(面発光装置)
次に、図8に別の実施形態に関わる面発光装置に使用するカバー部材の断面図を示す。本実施形態のカバー部材が先の図5,図6に示す第1の実施形態のカバー部材と異なる点は、前記カバー部材15のコの字型の上面であって、棒状のバー光源13の上部の位置に突起部15eを設け、該突起部15eで前記バー光源13を把持するとともに、カバー部材15のコの字型の開口部側の接線15aで導光版12を把持することにより、導光版12とバー光源13とを一層確実に密着させて支持するように構成した点である。
【0034】
図9は、図8に示したカバー部材15を使用して導光版12とバー光源13を把持し、面発光装置に組み立てた状態を示す外観斜視図である。導光版12とバー光源13は、それぞれカバー部材15の接線部15a及び突起部15eで把持されている。なお、突起部15eは外側からは窪みとなって見えている。
このような構成とすることで、バー光源及び導光板の双方をカバー部材の強力なバネ力により恭子に把持することが可能となり、導光板とバー光源との密着性を維持して両者をずれ難くして、より信頼性に優れた面発光装置を実現することができる。
【0035】
(液晶表示装置)
第2の実施形態における液晶表示装置は、前述の通りカバー部材を設計変更した面発光装置を使用したものであって、面発光装置と液晶表示パネルとの組み立て方法は、第1の実施形態の場合と同様であるので、説明は省略する。
【0036】
【発明の効果】
以上、詳細に説明したように、本発明の面発光装置は、棒状の光源と、該光源の光を側端面から入射して出射面から出射させる構造を有する導光板と、該棒状の光源及び該導光板とを支持するカバー部材とを備えた面発光装置において、前記カバー部材はバネ特性を有する金属板からなり、かつ断面形状がほぼコの字型とした。さらに、該カバー部材のコの字型の開口部側の幅が非開口部側の幅よりも小さくて、該カバー部材を前記棒状の光源と前記導光板にかぶせ、該カバー部材のコの字型の開口部側で前記導光板を把持することにより、前記棒状の光源と導光板とを密着させて支持するように構成した面発光装置とした。
このような構成とすることで、カバー部材の強力なバネ力により導光板を強固に支持することが可能となり、導光板とバー光源との密着性を維持し両者がずれにくく、信頼性に優れた面発光装置を実現することができる。
また、本発明の面発光装置は、突片が、当該面発光装置を筐体に固定するための嵌合部とされた構成とすることで、面発光装置を電子機器に搭載する際に、正確な位置に面発光装置を固定しやすくなり、製造時の作業効率を高めることができる。さらに、本発明の面発光装置は、上述のように光源と導光板とを突片により正確に位置決めできるとともに、これらが極めてずれにくい構造とされているので、上記嵌合部によりカバー部材を確実に筐体に固定することで、例えばこの導光板の背面側に配置される表示装置と導光板との位置も正確に位置決めすることができる。
【0037】
さらに、本発明の面発光装置では、前記カバー部材のコの字型の上面であって、前記棒状の光源の上部の位置に突起部を設け、該突起部で前記棒状の光源を把持するとともに、該カバー部材のコの字型の開口部側で前記導光板を把持することにより、前記棒状の光源と導光板とを密着させて支持するように構成した面発光装置とした。
このような構成とすることで、バー光源及び導光板の双方をカバー部材の強力なバネ力により強固に把持することが可能となり、導光板とバー光源との密着性を維持して両者がずれ難くして、より信頼性に優れた面発光装置を実現することができるようになる。
【0038】
次に、本発明の面発光装置では、前記カバー部材を構成するバネ特性を有する金属板の内面に、光源からの光を反射させるための反射膜を有するものを使用することができる。あるいはまた、鏡面電解研磨を施したステンレス鋼板から構成することもできる。さらにはクロムメッキを施した低合金鋼から構成することもできる。
このようにカバー部材の材質を適宜選択することにより、15光源からの光を効率よく導光板に導いて、性能の良い面発光装置を安価に得ることができる。
【0039】
さらに本発明の面発光装置では、カバー部材の両端部に突片を設けて導光板を挟み込む構造としたので、導光板とバー電源との間で導光板の幅方向のずれを防ぐことができ、バー光源と導光板との密着性を維持して信頼性の高い面発光装置を得ることができる。
【0040】
次に、本発明の液晶表示装置は、カバー部材に突片を備えた面発光装置と、該面発光装置の出射面側に配置された液晶表示素子と、前記面発光装置及び液晶表示素子を支持するための筐体とを備え、前記面発光装置のカバー部材の突片に、前記筐体に設けられた鈎型の掛止部材が係合されて、前記面発光装置と液晶表示素子と筐体とが一体に固定された構成としたことで、嵌合部(突片)を介して面発光装置を筐体に容易、かつ正確に固定することができる。
特に、前記突片の嵌合板の長さと、前記掛止部材の幅とがほぼ同一とされた構成とするならば、筐体に対する面発光装置の位置ずれを極めて起こり難くすることができ、信頼性に優れた液晶表示装置を実現することができる。
【図面の簡単な説明】
【図1】 本発明のフロントライトの一実施形態を示す斜視図である。
【図2】 図1に示すフロントライトの光の通路を示す部分平面図である。
【図3】 図2に示すフロントライトの線A−Aに沿った断面図である。
【図4】 本発明に係るフロントライトを備えた液晶表示装置の一例を示す斜視図である。
【図5】 本発明に係るフロントライトに使用するカバー部材の一実施形態を示す断面図である。
【図6】 図5に示すカバー部材をフロントライトに組み込んだ状態を説明する断面図である。
【図7】 図4に示す液晶表示装置の、筐体とフロントライトとの係合部分を拡大しして示す斜視図である。
【図8】 本発明に係るフロントライトに使用するカバー部材の他の実施形態を示す断面図である。
【図9】 図8に示すカバー部材をフロントライトに組み込んだ状態を説明する斜視図である。
【図10】 従来のフロントライトの一例を示す斜視図である。
【図11】 図10に示すフロントライトの光の通路を示す部分平面図である。
【符号の説明】
10・・・・・・フロントライト、12・・・・・・導光板、13・・・・・・バー光源、15・・・・・・カバー部材、16・・・・・突片、20・・・・・・液晶表示ユニット、30・・・・・・筐体、200・・・・・液晶表示装置、110・・・・・・フロントライト、112・・・・・・導光板、113・・・・・・バー光源、115・・・・・・カバー部材、120・・・・・・液晶表示ユニット
Claims (8)
- 棒状の光源と、該光源の光を側端面から入射して出射面から出射させる構造を有する導光板と、該棒状の光源及び該導光板とを支持するカバー部材とを備えた面発光装置において、
前記カバー部材はバネ特性を有する金属板からなり、かつ断面形状がほぼコの字型であり、該カバー部材のコの字型の開口部側の幅が非開口部側の幅よりも小さくて、該カバー部材を前記棒状の光源と前記導光板にかぶせ、該カバー部材のコの字型の開口部側で前記導光板を把持することにより、前記棒状の光源と導光板とを密着させて支持するように構成してなり、
前記カバー部材の両端部には前記導光板の幅方向に突出する突出部が形成され、前記各突出部から各突出部の長さ方向に直交する方向に向かって前記導光板の長さ方向に沿う突片が延設されており、前記両突片の間隔が、前記導光板の幅とほぼ同一に形成され、
前記突片が、当該面発光装置を筐体に固定するための嵌合部をなしていることを特徴とする面発光装置。 - 前記カバー部材のコの字型の上面であって、前記棒状の光源の上部の位置に突起部を設け、該突起部で前記棒状の光源を把持するとともに、該カバー部材のコの字型の開口部側で前記導光板を把持することにより、前記棒状の光源と導光板とを密着させて支持するように構成してなることを特徴とする請求項1に記載の面発光装置。
- 前記カバー部材のコの字型の開口部側の最先端部の幅が前記カバー部材のもっとも幅の狭い部分の幅よりも大きく構成してなることを特徴とする請求項1又は請求項2に記載の面発光装置。
- 前記カバー部材を構成するバネ特性を有する金属板の内面に、光源からの光を反射させるための反射膜を有することを特徴とする請求項1から請求項3のいずれか1項に記載の面発光装置。
- 前記カバー部材を構成するバネ特性を有する金属板が、鏡面電解研磨を施したステンレス鋼板からなることを特徴とする請求項1から請求項3のいずれか1項に記載の面発光装置。
- 前記カバー部材を構成するバネ特性を有する金属板が、クロムメッキを施した低合金鋼からなることを特徴とする請求項1から請求項3のいずれか1項に記載の面発光装置。
- 前記突片が、前記カバー部材両端部から前記導光板の厚さ方向に沿って延設された基部と、該基部の先端から前記導光板の長さ方向に沿って延設された板状の嵌合板と、該嵌合板の外側の辺端から突設され、前記嵌合板との接続部で上方に屈曲された掛止部と、前記嵌合板の先端部から上方に屈曲されて形成された掛止突部とを備えたことを特徴とする請求項1から6のいずれか1項に記載の面発光装置。
- 請求項1から7のいずれか1項に記載の面発光装置を、液晶表示素子の前面側に備えたことを特徴とする液晶表示装置。
Priority Applications (3)
| Application Number | Priority Date | Filing Date | Title |
|---|---|---|---|
| JP2002197991A JP4130100B2 (ja) | 2002-07-05 | 2002-07-05 | 面発光装置及び液晶表示装置 |
| US10/611,567 US6979115B2 (en) | 2002-07-05 | 2003-07-01 | Surface emitting device and liquid crystal display |
| CNA031483003A CN1470918A (zh) | 2002-07-05 | 2003-07-02 | 面发光装置及液晶显示装置 |
Applications Claiming Priority (1)
| Application Number | Priority Date | Filing Date | Title |
|---|---|---|---|
| JP2002197991A JP4130100B2 (ja) | 2002-07-05 | 2002-07-05 | 面発光装置及び液晶表示装置 |
Publications (2)
| Publication Number | Publication Date |
|---|---|
| JP2004039570A JP2004039570A (ja) | 2004-02-05 |
| JP4130100B2 true JP4130100B2 (ja) | 2008-08-06 |
Family
ID=30437189
Family Applications (1)
| Application Number | Title | Priority Date | Filing Date |
|---|---|---|---|
| JP2002197991A Expired - Fee Related JP4130100B2 (ja) | 2002-07-05 | 2002-07-05 | 面発光装置及び液晶表示装置 |
Country Status (3)
| Country | Link |
|---|---|
| US (1) | US6979115B2 (ja) |
| JP (1) | JP4130100B2 (ja) |
| CN (1) | CN1470918A (ja) |
Families Citing this family (29)
| Publication number | Priority date | Publication date | Assignee | Title |
|---|---|---|---|---|
| TWI269894B (en) * | 2003-06-13 | 2007-01-01 | Toshiba Matsushita Display Tec | Planar light source |
| PL364017A1 (en) * | 2003-12-11 | 2005-06-13 | SKOFF Sp.z o.o. | Lighting clip |
| TWI323368B (en) * | 2004-04-09 | 2010-04-11 | Hon Hai Prec Ind Co Ltd | A back light module |
| TWI253524B (en) * | 2004-09-01 | 2006-04-21 | Au Optronics Corp | Backlight module and assembly method thereof |
| TW200638117A (en) * | 2005-04-22 | 2006-11-01 | Coretronic Corp | Backlight module |
| KR101259090B1 (ko) * | 2006-07-18 | 2013-04-26 | 삼성디스플레이 주식회사 | 몰드 프레임 및 이를 구비한 액정표시장치 |
| KR20080029284A (ko) * | 2006-09-28 | 2008-04-03 | 삼성전자주식회사 | 광원 어셈블리, 이를 포함하는 백 라이트 어셈블리 및이들을 포함하는 액정 표시 장치 |
| WO2008139664A1 (ja) * | 2007-04-17 | 2008-11-20 | Sharp Kabushiki Kaisha | バックライト装置及びそれを用いた表示装置 |
| JP5414224B2 (ja) * | 2007-10-19 | 2014-02-12 | 富士フイルム株式会社 | 面状照明装置 |
| FR2937711B1 (fr) * | 2008-10-27 | 2010-11-19 | Saint Gobain | Module a diodes electroluminescentes pour vehicule, support a diodes |
| JP2010135297A (ja) * | 2008-11-04 | 2010-06-17 | Fujifilm Corp | 面状照明装置 |
| JP4782232B1 (ja) * | 2010-04-09 | 2011-09-28 | シャープ株式会社 | 光源モジュール、及びそれを備えた電子機器 |
| KR101810920B1 (ko) | 2010-12-03 | 2017-12-20 | 엘지이노텍 주식회사 | 조명 모듈 |
| KR101798565B1 (ko) * | 2010-09-27 | 2017-11-16 | 엘지이노텍 주식회사 | 조명 모듈 |
| US8231258B2 (en) * | 2010-04-10 | 2012-07-31 | Lg Innotek Co., Ltd. | Lighting module and lighting apparatus including the same |
| KR101788840B1 (ko) * | 2010-09-24 | 2017-10-20 | 엘지이노텍 주식회사 | 조명 모듈 |
| TW201227084A (en) * | 2010-12-30 | 2012-07-01 | Au Optronics Corp | Backlight module |
| JP2012156092A (ja) * | 2011-01-28 | 2012-08-16 | Fujifilm Corp | 面状照明装置 |
| KR101074717B1 (ko) * | 2011-03-14 | 2011-10-19 | (주)성안엘이디 | 측면조사방식의 엘이디를 이용한 라이트패널 |
| US8794811B2 (en) * | 2011-03-16 | 2014-08-05 | GE Lighting Solutions, LLC | Edge-illuminated flat panel and light module for same |
| US20130135893A1 (en) * | 2011-11-25 | 2013-05-30 | Yanxue Zhang | Light Bar Fixing Device, Backlight Module and LCD Device |
| CN102425770A (zh) * | 2011-11-25 | 2012-04-25 | 深圳市华星光电技术有限公司 | 一种灯条固定装置、背光模组及液晶显示装置 |
| JP5814827B2 (ja) * | 2012-02-29 | 2015-11-17 | シャープ株式会社 | 光源モジュール、及び、液晶表示装置 |
| US10495810B2 (en) | 2013-09-18 | 2019-12-03 | Tianma Microelectronics Co., Ltd. | Planar light source device and liquid crystal display apparatus |
| AT515052B1 (de) * | 2013-10-17 | 2015-08-15 | Mb Microtec Ag | Visiervorrichtung |
| EP3374822B1 (en) * | 2015-11-13 | 2023-12-27 | RealD Spark, LLC | Surface features for imaging directional backlights |
| JP2017117552A (ja) * | 2015-12-22 | 2017-06-29 | ビニフレーム工業株式会社 | 導光パネルの取付構造 |
| US20190035312A1 (en) * | 2017-07-28 | 2019-01-31 | Thomas Killion | Lighted display device |
| CN113302552A (zh) * | 2018-11-14 | 2021-08-24 | 堺显示器制品株式会社 | 背光源装置 |
Family Cites Families (8)
| Publication number | Priority date | Publication date | Assignee | Title |
|---|---|---|---|---|
| DE69426978T2 (de) * | 1994-04-22 | 2001-09-27 | Enplas Corp | Oberflächenlichtquellen-vorrichtung |
| JP3869914B2 (ja) | 1997-09-30 | 2007-01-17 | アルプス電気株式会社 | 照光ユニット及びそれを使用した液晶表示装置 |
| JP4087956B2 (ja) * | 1998-08-27 | 2008-05-21 | セイコーエプソン株式会社 | バックライトユニットおよび電子機器 |
| JP2001184927A (ja) * | 1999-12-28 | 2001-07-06 | Minebea Co Ltd | 面状照明装置 |
| JP3829270B2 (ja) * | 2000-02-08 | 2006-10-04 | ミネベア株式会社 | 面状照明装置 |
| JP3728723B2 (ja) * | 2000-12-20 | 2005-12-21 | ミネベア株式会社 | 面状照明装置 |
| JP3505619B2 (ja) * | 2001-01-17 | 2004-03-08 | ミネベア株式会社 | 面状照明装置 |
| JP3962228B2 (ja) * | 2001-07-06 | 2007-08-22 | アルプス電気株式会社 | 面発光装置及び液晶表示装置 |
-
2002
- 2002-07-05 JP JP2002197991A patent/JP4130100B2/ja not_active Expired - Fee Related
-
2003
- 2003-07-01 US US10/611,567 patent/US6979115B2/en not_active Expired - Fee Related
- 2003-07-02 CN CNA031483003A patent/CN1470918A/zh active Pending
Also Published As
| Publication number | Publication date |
|---|---|
| US6979115B2 (en) | 2005-12-27 |
| JP2004039570A (ja) | 2004-02-05 |
| US20040021806A1 (en) | 2004-02-05 |
| CN1470918A (zh) | 2004-01-28 |
Similar Documents
| Publication | Publication Date | Title |
|---|---|---|
| JP4130100B2 (ja) | 面発光装置及び液晶表示装置 | |
| JP3962228B2 (ja) | 面発光装置及び液晶表示装置 | |
| CN101191607B (zh) | 面状光源装置 | |
| US7940353B2 (en) | Liquid crystal display device | |
| US8355095B2 (en) | Backlight unit | |
| JP2009163672A (ja) | 表示装置 | |
| KR20080005187A (ko) | 면상 조명 장치 | |
| JP2007220369A (ja) | 照明装置及びこれを備える表示装置 | |
| JP2002133935A (ja) | 面光源装置及び画像表示装置 | |
| JP4547704B2 (ja) | 面状照明装置 | |
| US20110157516A1 (en) | Illuminating device and liquid crystal display device provided with the same | |
| JP2002311430A (ja) | 液晶表示装置 | |
| US8708544B2 (en) | Light source unit and device using same | |
| JP2001118417A (ja) | 面光源装置及び該面光源装置を備えた画像表示装置 | |
| JP2005122057A (ja) | 液晶表示装置および液晶表示装置の組立方法 | |
| JP3882163B2 (ja) | 面状照明装置 | |
| JP4585916B2 (ja) | バックライト装置及び液晶表示装置 | |
| JP4682685B2 (ja) | 面発光装置用ケースおよびこれを備えた面発光装置 | |
| US20020034072A1 (en) | Surface lighting device | |
| JP2003036715A (ja) | 面光源装置および液晶表示装置 | |
| JP7656414B2 (ja) | 面状照明装置 | |
| KR100754382B1 (ko) | 백라이트 유닛 | |
| JP2025081904A (ja) | 照明装置及び表示装置 | |
| JP4645565B2 (ja) | バックライトユニットおよびそれを用いた表示装置 | |
| JP2002287648A (ja) | 表示装置用バックライト及びそれを備えた表示装置 |
Legal Events
| Date | Code | Title | Description |
|---|---|---|---|
| A621 | Written request for application examination |
Free format text: JAPANESE INTERMEDIATE CODE: A621 Effective date: 20050419 |
|
| RD04 | Notification of resignation of power of attorney |
Free format text: JAPANESE INTERMEDIATE CODE: A7424 Effective date: 20060112 |
|
| A977 | Report on retrieval |
Free format text: JAPANESE INTERMEDIATE CODE: A971007 Effective date: 20071017 |
|
| A131 | Notification of reasons for refusal |
Free format text: JAPANESE INTERMEDIATE CODE: A131 Effective date: 20071023 |
|
| A521 | Written amendment |
Free format text: JAPANESE INTERMEDIATE CODE: A523 Effective date: 20071221 |
|
| TRDD | Decision of grant or rejection written | ||
| A01 | Written decision to grant a patent or to grant a registration (utility model) |
Free format text: JAPANESE INTERMEDIATE CODE: A01 Effective date: 20080425 |
|
| A01 | Written decision to grant a patent or to grant a registration (utility model) |
Free format text: JAPANESE INTERMEDIATE CODE: A01 |
|
| A61 | First payment of annual fees (during grant procedure) |
Free format text: JAPANESE INTERMEDIATE CODE: A61 Effective date: 20080520 |
|
| R150 | Certificate of patent or registration of utility model |
Free format text: JAPANESE INTERMEDIATE CODE: R150 |
|
| FPAY | Renewal fee payment (event date is renewal date of database) |
Free format text: PAYMENT UNTIL: 20110530 Year of fee payment: 3 |
|
| FPAY | Renewal fee payment (event date is renewal date of database) |
Free format text: PAYMENT UNTIL: 20120530 Year of fee payment: 4 |
|
| FPAY | Renewal fee payment (event date is renewal date of database) |
Free format text: PAYMENT UNTIL: 20120530 Year of fee payment: 4 |
|
| FPAY | Renewal fee payment (event date is renewal date of database) |
Free format text: PAYMENT UNTIL: 20130530 Year of fee payment: 5 |
|
| LAPS | Cancellation because of no payment of annual fees |