JP4100175B2 - リチウムイオン二次電池用負極 - Google Patents

リチウムイオン二次電池用負極 Download PDF

Info

Publication number
JP4100175B2
JP4100175B2 JP2003003028A JP2003003028A JP4100175B2 JP 4100175 B2 JP4100175 B2 JP 4100175B2 JP 2003003028 A JP2003003028 A JP 2003003028A JP 2003003028 A JP2003003028 A JP 2003003028A JP 4100175 B2 JP4100175 B2 JP 4100175B2
Authority
JP
Japan
Prior art keywords
negative electrode
secondary battery
ion secondary
lithium ion
alloy material
Prior art date
Legal status (The legal status is an assumption and is not a legal conclusion. Google has not performed a legal analysis and makes no representation as to the accuracy of the status listed.)
Expired - Fee Related
Application number
JP2003003028A
Other languages
English (en)
Other versions
JP2004220790A (ja
Inventor
聡 倉中
宗久 生駒
Current Assignee (The listed assignees may be inaccurate. Google has not performed a legal analysis and makes no representation or warranty as to the accuracy of the list.)
Panasonic Corp
Panasonic Holdings Corp
Original Assignee
Panasonic Corp
Matsushita Electric Industrial Co Ltd
Priority date (The priority date is an assumption and is not a legal conclusion. Google has not performed a legal analysis and makes no representation as to the accuracy of the date listed.)
Filing date
Publication date
Application filed by Panasonic Corp, Matsushita Electric Industrial Co Ltd filed Critical Panasonic Corp
Priority to JP2003003028A priority Critical patent/JP4100175B2/ja
Publication of JP2004220790A publication Critical patent/JP2004220790A/ja
Application granted granted Critical
Publication of JP4100175B2 publication Critical patent/JP4100175B2/ja
Anticipated expiration legal-status Critical
Expired - Fee Related legal-status Critical Current

Links

Images

Classifications

    • YGENERAL TAGGING OF NEW TECHNOLOGICAL DEVELOPMENTS; GENERAL TAGGING OF CROSS-SECTIONAL TECHNOLOGIES SPANNING OVER SEVERAL SECTIONS OF THE IPC; TECHNICAL SUBJECTS COVERED BY FORMER USPC CROSS-REFERENCE ART COLLECTIONS [XRACs] AND DIGESTS
    • Y02TECHNOLOGIES OR APPLICATIONS FOR MITIGATION OR ADAPTATION AGAINST CLIMATE CHANGE
    • Y02EREDUCTION OF GREENHOUSE GAS [GHG] EMISSIONS, RELATED TO ENERGY GENERATION, TRANSMISSION OR DISTRIBUTION
    • Y02E60/00Enabling technologies; Technologies with a potential or indirect contribution to GHG emissions mitigation
    • Y02E60/10Energy storage using batteries

Landscapes

  • Cell Electrode Carriers And Collectors (AREA)
  • Battery Electrode And Active Subsutance (AREA)

Description

【0001】
【発明の属する技術分野】
本発明は、リチウムイオン二次電池用負極に関し、特に負極活物質が、炭素材料と合金材料の少なくとも二つからなる混合活物質を使用した負極に関するものである。
【0002】
【従来の技術】
従来、リチウムイオン二次電池用負極の活物質には、天然黒鉛や人造黒鉛のような黒鉛系の炭素材料が使われていた。黒鉛の理論容量は372mAh/gなので、電池の高容量化を目指して、高容量な材料の開発が進められており、その中でも、珪素又はスズを含む合金材料が注目されている(例えば特許文献1、特許文献2等参照)。
【0003】
これらの合金材料は、高容量ではあるが、リチウムイオンの吸蔵・放出時における体積変化が、炭素材料などに比べて比較的大きいという問題があった。
【0004】
この問題に対し、合金材料と炭素材料を混合して負極活物質とする方法が提案されている(例えば特許文献3等参照)。
【0005】
【特許文献1】
特開2001−250541号公報
【特許文献2】
特開2002−75332号公報
【特許文献3】
特開2000−357515号公報
【0006】
【発明が解決しようとする課題】
しかしながら、混合活物質を集電体に塗着した場合、合金材料と炭素材料の充放電に伴う体積膨張の違いにより極板の表面に凹凸ができ、そのため極板群が座屈しやすいという課題があった。
【0007】
本発明は上記従来の課題に鑑みてなされたものであり、たとえ合金材料と炭素材料の充放電に伴う体積膨張の違いがあっても極板表面は凹凸ができず、座屈のおこりにくいリチウムイオン二次電池用負極を提供するのが目的である。
【0008】
【課題を解決するための手段】
上記目的を達成するために、本発明では、導電性金属からなる集電体に負極活物質を配したリチウムイオン二次電池用負極であって、前記負極活物質は炭素材料と合金材料の少なくとも二つからなり、前記集電体には複数のくぼみがあり、前記くぼみの内部には、前記合金材料が配置され、前記炭素材料が、前記くぼみを含む前記集電体全体を覆うように配置されることにより前記くぼみ内部に余剰空間部分を設けたことを特徴とするリチウムイオン二次電池用負極としたものであり、合金材料の充放電による体積変化はくぼみの余剰空間部分により吸収されるため、極板の表面部分を覆っている炭素材料には影響をおよばさない。したがって、表面に凹凸ができず、極板の座屈が起こることがない。極板の容量は、合金材料の割合が多くなるほど高容量化される。
【0009】
この時、あまりくぼみが大きすぎると、負極の容量に関与しない余剰空間部分が大きくなるため好ましくなく、また、くぼみの余剰空間部分で合金材料の体積変化を完全に吸収するためには、くぼみの容量は内部に配置された合金材料の充電時の体積以上である必要がある。
【0010】
実際の工程では、一つ一つのくぼみに合金材料を配していくのは、困難であるため、工程上、くぼみの全容量は、内部に配置された合金材料の塗工時の全体積の2倍以上、4倍以下であるのが好ましい。
【0011】
本発明に用いられる負極用集電体としては、後に構成された電池において化学変化を起こさない電子伝導体であれば良いが、炭素材料を塗着した後の圧延の時でもくぼみの形状を保持するため金属製であることが必要である。具体例としては、ステンレス鋼、ニッケル、銅、チタンなどの金属単体や、銅や鉄の表面をカーボン、ニッケルまたはチタンで処理したものが挙げられる。特に銅または銅合金が好ましい。
【0012】
本発明に用いられる合金材料は従来公知のものが使えるが、Ti2Sn、NiCoSn、Mn2Sn、Ni3Sn2、BeSiZr,Co3Sn2、Cu2In、Ni2In,Ni2Si、Pd3Sn2やRh3Sn2などのNi2In型構造を有する合金や、珪素またはスズからなる固相Aのまわりを、Ti2SnやTi2Siなどの固相Bで被覆した複合粒子からなるものが好ましい。これらのように珪素またはスズを含む合金は、高容量であるゆえ充放電時の体積変化が大きいため、本発明の負極に用いると非常に効果的である。
【0013】
本発明に用いられる炭素材料は従来公知のものが使えるが、非晶質炭素、難黒鉛性炭素、コーヒー豆などの生物起源の炭素などや、天然黒鉛、人造黒鉛などの黒鉛があり、この中でも天然黒鉛、人造黒鉛や、これらの表面を非晶質炭素などで修飾した黒鉛が、電池に構成した時の構成が容易な上に特性も良く、特に好ましい。
【0014】
【発明の実施の形態】
以下、本発明の実施の形態について、実施例をもとに詳細に説明する。
【0015】
図1において、(a)は、本発明の実施例の負極の放電時における状態を示す断面図であり、(b)は、本発明の実施例の負極の放電時における状態を示す断面図である。図中の1は、銅製の集電体であり、厚さは100μmである。2は、集電体1にもうけられた半径75μmの半球状のくぼみであり、くぼみ2の内部に合金材料3が配置されている。
【0016】
合金材料3では、前述の通り、従来公知の合金活物質を従来公知の方法で使用すれば良いが、本実施例では、Ni2Siを使用した。また、Ni2Siの作成においてはロール急冷法にて行なった。
【0017】
まず、NiとSiの単体元素粒をモル比で2:1で混合して、アーク溶解炉で少なくとも2回溶解した後、得られたインゴットを粗粉砕して原料とした。ロール急冷装置には単ロール急冷装置を用いた。この単ロール急冷装置のノズルには石英を用いた。ロール回転速度は周速10m/sになるように設定し、ガス噴出圧は10kgf/cm2とした。ロール急冷法によって得られた合金を回収した後、カッターミルによって粗粉砕し、45ミクロンメッシュのふるいを通すことにより平均粒径30μmの活物質を得た。このNi2Siは、低結晶性であり、740mAh/gの高容量な放電容量を示す。
【0018】
さらに、この活物質と導電剤としての黒鉛粉末と結着剤としてのポリ4フッ化エチレン(PTFE)粉末とを重量比で80:20:10の割合で混合した。この混合物に石油系溶剤を加えてペースト状とし、くぼみ2内に塗布した後、100℃で乾燥させた。塗布量を調節することにより、くぼみ2の全容量に対し、内部に配置された合金材料の塗工時の全体積は1/3倍になるようにした。逆にいうと、くぼみ2の全容量は内部に配置された合金材料の塗工時の全体積の3倍になる。
【0019】
次に炭素材料4に関しては、活物質として市販の鱗片状黒鉛を使用した。この鱗片状黒鉛は300mAh/gの放電容量を示す。
【0020】
まず、平均粒径が約20μmになるように粉砕、分級した鱗片状黒鉛と結着剤のスチレン/ブタジエンゴム3重量部を混合した後、黒鉛に対しカルボキシメチルセルロースが1%となるようにカルボキシメチルセルロ−ス水溶液を加え、撹拌混合しペースト状合剤とした。このペーストをポリエチレンテレフタレート(PET)膜に塗工した後、空気中に放置して予備乾燥させた。その後、合剤側を集電体1側に向けて張り合わせて圧延し、PET膜をはがし、110℃で本乾燥した。圧延、乾燥後の炭素材料4の厚みは100μmであった。このようにして、図1(a)に示す余剰空間部分5を作成した。
【0021】
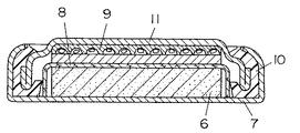
本実施例の負極を、直径17mmの円盤状に打ち抜き、コバルト酸リチウムを用いた従来公知の正極を使用して試験電池を組み立てた。図2は組み立てた試験電池を示す。正極6は電池ケース7の中央に配され、その上には微多孔性ポリプロピレンフィルムからなるセパレータ8が載せられている。1モル/リットルの過塩素酸リチウムを溶解したエチレンカーボネートとジメトキシエタンの体積比1:1の混合溶液からなる非水電解液をセパレータ8上に注液した後、内側に本実施例の負極9を張り付け、外周部にポリプロピレン製ガスケット10を付けた封口板11をケース7に組み合わせ、ケース7の開口端を締め付けて密封した。
【0022】
組み立てた試験電池に対し、2mAの定電流で4.2Vになるまで充電し、さらに2mAの定電流で3.0Vになるまで放電するサイクルを10回繰り返した。
【0023】
そして、もう一度、2mAの定電流で4.2Vになるまで充電した後、分解して負極を調べた。
【0024】
分解した負極の表面には凹凸は見られなかった。また、その断面を観察すると、図1(b)に示す通り、合金材料3の体積膨張は見られたが、くぼみ2内にほとんどのものが収まっており、若干の余剰空間部分5があった。このようにくぼみ2内に設けられた余剰空間部分5で合金材料3の体積膨張を吸収するので、極板の表面に凹凸が出ることが無く、例え卷回型の極板群にしたとしても座屈するのを抑制することができる。
【0025】
【発明の効果】
以上のように、本発明のリチウムイオン二次電池用負極を用いると、たとえ合金材料と炭素材料の充放電に伴う体積膨張の違いがあってもくぼみ内に設けられた余剰空間部分で合金材料の体積膨張を吸収するので、極板の表面に凹凸が出ることが無く、座屈するのを抑制することができる。さらに使用している合金材料の分だけ高容量になるという効果が有る。
【図面の簡単な説明】
【図1】(a)本発明の実施例の負極の放電時における状態を示す断面図
(b)本発明の実施例の負極の放電時における状態を示す断面図
【図2】本発明の実施例に用いた試験電池の断面図
【符号の説明】
1 集電体
2 くぼみ
3 合金材料
4 炭素材料
5 余剰空間部分
6 正極
7 ケース
8 セパレータ
9 負極
10 ガスケット
11 封口板

Claims (4)

  1. 導電性金属からなる集電体に負極活物質を配したリチウムイオン二次電池用負極であって、
    前記負極活物質は炭素材料と合金材料の少なくとも二つからなり、前記集電体には複数のくぼみがあり、前記くぼみの内部には、前記合金材料が配置され、前記炭素材料が、前記くぼみを含む前記集電体全体を覆うように配置されることにより前記くぼみ内部に余剰空間部分を設けたことを特徴とするリチウムイオン二次電池用負極。
  2. 前記くぼみの全容量は、内部に配置された合金材料の塗工時の全体積の2倍以上、4倍以下である請求項1記載のリチウムイオン二次電池用負極。
  3. 前記合金材料は、珪素またはスズを含む合金である請求項1記載のリチウムイオン二次電池用負極。
  4. 前記炭素材料は、黒鉛である請求項1記載のリチウムイオン二次電池用負極。
JP2003003028A 2003-01-09 2003-01-09 リチウムイオン二次電池用負極 Expired - Fee Related JP4100175B2 (ja)

Priority Applications (1)

Application Number Priority Date Filing Date Title
JP2003003028A JP4100175B2 (ja) 2003-01-09 2003-01-09 リチウムイオン二次電池用負極

Applications Claiming Priority (1)

Application Number Priority Date Filing Date Title
JP2003003028A JP4100175B2 (ja) 2003-01-09 2003-01-09 リチウムイオン二次電池用負極

Publications (2)

Publication Number Publication Date
JP2004220790A JP2004220790A (ja) 2004-08-05
JP4100175B2 true JP4100175B2 (ja) 2008-06-11

Family

ID=32894411

Family Applications (1)

Application Number Title Priority Date Filing Date
JP2003003028A Expired - Fee Related JP4100175B2 (ja) 2003-01-09 2003-01-09 リチウムイオン二次電池用負極

Country Status (1)

Country Link
JP (1) JP4100175B2 (ja)

Cited By (1)

* Cited by examiner, † Cited by third party
Publication number Priority date Publication date Assignee Title
WO2011132793A1 (ja) 2010-04-23 2011-10-27 住友金属工業株式会社 非水電解質二次電池の負極材料およびその製造方法

Families Citing this family (2)

* Cited by examiner, † Cited by third party
Publication number Priority date Publication date Assignee Title
JP5043344B2 (ja) * 2005-02-14 2012-10-10 パナソニック株式会社 非水電解質二次電池用負極
JP2024103186A (ja) * 2023-01-20 2024-08-01 トヨタ自動車株式会社 リチウムイオン二次電池用負極、リチウムイオン二次電池用負極の製造方法、及び、リチウムイオン二次電池

Family Cites Families (3)

* Cited by examiner, † Cited by third party
Publication number Priority date Publication date Assignee Title
JPH1116575A (ja) * 1997-06-23 1999-01-22 Mitsubishi Chem Corp 二次電池用電極材およびそれを用いた二次電池
JP4281099B2 (ja) * 1999-03-24 2009-06-17 日立化成工業株式会社 金属炭素複合体粒子
JP4212263B2 (ja) * 2000-09-01 2009-01-21 三洋電機株式会社 リチウム二次電池用負極及びその製造方法

Cited By (2)

* Cited by examiner, † Cited by third party
Publication number Priority date Publication date Assignee Title
WO2011132793A1 (ja) 2010-04-23 2011-10-27 住友金属工業株式会社 非水電解質二次電池の負極材料およびその製造方法
US9028711B2 (en) 2010-04-23 2015-05-12 Nippon Steel & Sumitomo Metal Corporation Negative electrode material for a nonaqueous electrolyte secondary battery and a method for its manufacture

Also Published As

Publication number Publication date
JP2004220790A (ja) 2004-08-05

Similar Documents

Publication Publication Date Title
JP6531652B2 (ja) 非水電解質二次電池用負極
US8277974B2 (en) High energy lithium ion batteries with particular negative electrode compositions
JP4061586B2 (ja) 非水電解質二次電池用正極活物質及びそれを用いた非水電解質二次電池
JP5219339B2 (ja) リチウム二次電池
JP2009099523A (ja) リチウム二次電池
US7682744B2 (en) Lithium secondary battery
JP7375569B2 (ja) リチウムイオン電池用負極活物質
JP4270894B2 (ja) リチウム二次電池用負極及びリチウム二次電池
US20060134517A1 (en) Lithium secondary battery
JP5043344B2 (ja) 非水電解質二次電池用負極
CN111540894A (zh) 锂离子电池用负极活性材料、锂离子电池用负极和锂离子电池
EP3958349A1 (en) Negative electrode for non-aqueous electrolyte secondary battery and non-aqueous electrolyte secondary battery
JP4752996B2 (ja) リチウム二次電池用負極活物質粒子の製造方法
JPH11283623A (ja) リチウムイオン電池及びその製造方法
JPH10308207A (ja) 非水電解液二次電池
JP2002075332A (ja) リチウム二次電池用負極及びその製造方法
JP2001118568A (ja) 非水系二次電池
JP3707617B2 (ja) 負極およびそれを用いた電池
JP6931185B2 (ja) 導電性カーボン混合物、この混合物を用いた電極、及びこの電極を備えた蓄電デバイス
JP4100175B2 (ja) リチウムイオン二次電池用負極
EP1132984A2 (en) Non-Aqueous electrolyte secondary battery
JP3729815B2 (ja) ニッケル−水素蓄電池用負極板およびその製造方法ならびにそれを用いたニッケル−水素蓄電池
JP2002117834A (ja) 非水系二次電池用正極および非水系二次電池
JP2002110251A (ja) リチウムイオン2次電池
JPH07105952A (ja) リチウム二次電池用集電体およびリチウム二次電池

Legal Events

Date Code Title Description
A621 Written request for application examination

Free format text: JAPANESE INTERMEDIATE CODE: A621

Effective date: 20051207

RD01 Notification of change of attorney

Free format text: JAPANESE INTERMEDIATE CODE: A7421

Effective date: 20060112

A977 Report on retrieval

Free format text: JAPANESE INTERMEDIATE CODE: A971007

Effective date: 20080215

TRDD Decision of grant or rejection written
A01 Written decision to grant a patent or to grant a registration (utility model)

Free format text: JAPANESE INTERMEDIATE CODE: A01

Effective date: 20080226

A61 First payment of annual fees (during grant procedure)

Free format text: JAPANESE INTERMEDIATE CODE: A61

Effective date: 20080310

FPAY Renewal fee payment (event date is renewal date of database)

Free format text: PAYMENT UNTIL: 20110328

Year of fee payment: 3

FPAY Renewal fee payment (event date is renewal date of database)

Free format text: PAYMENT UNTIL: 20110328

Year of fee payment: 3

FPAY Renewal fee payment (event date is renewal date of database)

Free format text: PAYMENT UNTIL: 20120328

Year of fee payment: 4

FPAY Renewal fee payment (event date is renewal date of database)

Free format text: PAYMENT UNTIL: 20130328

Year of fee payment: 5

FPAY Renewal fee payment (event date is renewal date of database)

Free format text: PAYMENT UNTIL: 20130328

Year of fee payment: 5

FPAY Renewal fee payment (event date is renewal date of database)

Free format text: PAYMENT UNTIL: 20140328

Year of fee payment: 6

LAPS Cancellation because of no payment of annual fees