JP4032344B2 - デジタルカメラ - Google Patents

デジタルカメラ Download PDF

Info

Publication number
JP4032344B2
JP4032344B2 JP2002123348A JP2002123348A JP4032344B2 JP 4032344 B2 JP4032344 B2 JP 4032344B2 JP 2002123348 A JP2002123348 A JP 2002123348A JP 2002123348 A JP2002123348 A JP 2002123348A JP 4032344 B2 JP4032344 B2 JP 4032344B2
Authority
JP
Japan
Prior art keywords
image data
transferred
digital camera
image
instruction
Prior art date
Legal status (The legal status is an assumption and is not a legal conclusion. Google has not performed a legal analysis and makes no representation as to the accuracy of the status listed.)
Expired - Fee Related
Application number
JP2002123348A
Other languages
English (en)
Other versions
JP2003319306A (ja
Inventor
幸三 国分
Current Assignee (The listed assignees may be inaccurate. Google has not performed a legal analysis and makes no representation or warranty as to the accuracy of the list.)
Fujifilm Corp
Original Assignee
Fujifilm Corp
Priority date (The priority date is an assumption and is not a legal conclusion. Google has not performed a legal analysis and makes no representation as to the accuracy of the date listed.)
Filing date
Publication date
Application filed by Fujifilm Corp filed Critical Fujifilm Corp
Priority to JP2002123348A priority Critical patent/JP4032344B2/ja
Publication of JP2003319306A publication Critical patent/JP2003319306A/ja
Application granted granted Critical
Publication of JP4032344B2 publication Critical patent/JP4032344B2/ja
Anticipated expiration legal-status Critical
Expired - Fee Related legal-status Critical Current

Links

Images

Landscapes

  • Television Systems (AREA)
  • Studio Devices (AREA)
  • Television Signal Processing For Recording (AREA)

Description

【0001】
【発明の属する技術分野】
本発明はデジタルカメラに係り、特に撮影された画像データを通信回線を通じて目的のサーバに転送する機能を備えたデジタルカメラに関する。
【0002】
【従来の技術】
近年、インターネットの普及により個人でも簡単にホームページが開設できるようになっており、自己のホームページに自らがデジタルカメラで撮影した画像を掲載する例も増えている。また、企業においても自己のホームページ上にユーザが撮影した画像を公開する場を提供したり、インターネットを通じてユーザが撮影した画像を保管する場を提供する例が増えている。
【0003】
しかし、ホームページに掲載される画像データは電子データであるため、加工や複製が簡単という特徴があり、掲載者や撮影者の許可なく勝手に使用されたり、改変されたりする可能性がある。
【0004】
そこで、このような不正使用を防ぐため、従来よりホームページに掲載する画像データに電子透かしデータを埋め込むことがなされている。
【0005】
また、近年、デジタルカメラの高性能化に伴いデジタルカメラ自体に通信機能を持たせ、撮影した画像データを通信回線を通じて目的のサーバに転送できる機能を備えたものも発売されるに至っている。そして、このデータ転送時に転送先に応じて画像データに電子透かしデータを埋め込む提案もなされている(特開2001−292362号)。
【0006】
【発明が解決しようとする課題】
しかしながら、ホームページへの掲載を目的とせず、画像データの保存のみ、あるいは特定人のみがアクセス可能なサーバに画像を転送する場合には、電子透かし処理は不要であり、むしろ他人に盗み見られたりすることなく安全にデータを転送できることが重要になる。また、公開することを目的にしない場合にまで電子透かしデータを埋め込むこととすると、画像が劣化してしまうという欠点もある。
【0007】
本発明はこのような事情に鑑みてなされたもので、目的に応じて適切に画像データを転送できるデジタルカメラを提供することを目的とする。
【0008】
【課題を解決するための手段】
請求項1に係る発明は、前記目的を達成するために、撮影レンズを通して撮像素子の受光面上に結像された光学像を電気信号に変換し、画像データとして記録媒体に記録するデジタルカメラにおいて、前記記録媒体に記録された画像データを通信回線を通じて目的のサーバに転送する画像データ転送手段と、前記画像データ転送手段で転送する画像データに対して電子透かしデータの埋め込み処理又は暗号化処理を行なうように指示する指示手段と、前記指示手段からの指示に従って前記画像データ転送手段で転送する画像データに電子透かしデータを埋め込む電子透かしデータ埋め込み手段と、前記指示手段からの指示に従って前記画像データ転送手段で転送する画像データを暗号化する暗号化手段と、を備えたことを特徴とするデジタルカメラを提供する。
【0009】
また、請求項2に係る発明は、前記目的を達成するために、前記指示手段は、不特定人が閲覧するホームページに公開することを目的に特定のサーバに画像データを転送する場合は電子透かしデータの埋め込み処理を行なうように指示し、画像データを保管することを目的に特定のサーバに画像データを転送する場合は暗号化処理を行なうように指示することを特徴とする請求項1に記載のデジタルカメラを提供する。
【0010】
また、請求項3に係る発明は、前記目的を達成するために、前記記録媒体に記録された画像データを再生表示する表示手段を備え、該表示手段に前記記録媒体に記録された画像データを再生表示して転送する画像データを選択することを特徴とする請求項1又は2に記載のデジタルカメラを提供する。
【0011】
本発明によれば、撮影した画像データを転送する際、電子透かしデータの埋め込み処理又は暗号化処理を選択して行なうことができる。これにより、たとえばホームページへの掲載を目的に特定のサーバに転送する際は電子透かしデータの埋め込み処理を行い、画像の保管を目的に特定のサーバを転送する際は暗号化処理を選択して行なうことができる。
【0012】
【発明の実施の形態】
以下、添付図面に従って本発明に係るデジタルカメラの好ましい実施の形態について詳説する。
【0013】
図1、図2は、それぞれ本発明に係るデジタルカメラの一実施形態を示す正面図と背面図である。同図に示すように、本実施の形態のデジタルカメラ10の正面には撮影レンズ12、ファインダー窓14等が設けられており、上面にはシャッターボタン16が設けられている。また、背面にはファインダー18、電源ボタン20、モードレバー22、十字ボタン24、メニュー/OKボタン26、キャンセルボタン28及び液晶モニタ30等が設けられている。
【0014】
モードレバー22は、電源ボタン20を中心に回動自在に設けられており、その位置を変えることによりカメラのモードを変更する。すなわち、デジタルカメラ10は、このモードレバー22を回動操作することにより、スチル撮影を行う撮影モードと、撮影した画像を再生する再生モードと、撮影した画像データをパーソナルコンピュータに転送するPCモードの3つのモードに設定される。
【0015】
十字ボタン24は、それぞれ対応する4方向(上下左右)の指示を入力する操作部であり、上下のボタンは撮影モード時にズームボタンとして機能する。また、左右のボタンは再生モード時に1コマ送りボタン、1コマ戻しボタンとして機能する。また、メニュー画面が表示されている場合には、メニュー画面からメニュー項目を選択したり、各メニューから各種設定項目の選択を指示するボタンとして機能する。
【0016】
メニュー/OKボタン26は、メニュー画面の表示及び選択内容の確定、実行などに使用され、キャンセルボタン28は、メニューから選んだ項目の取消や一つ前の操作状態に戻らせる時などに使用される。
【0017】
液晶モニタ30は、再生モード時に撮影した画像の再生用モニタとして使用されるとともに、メニューの表示画面として使用される。また、撮影モード時には、画角確認用の電子ビューファインダーとしても使用される。
【0018】
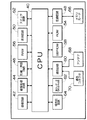
図3は、デジタルカメラ10の内部構成を示したブロック図である。同図に示すように、デジタルカメラ10は、CPU40、撮像回路42、画像処理回路44、圧縮・伸張回路46、記録回路48、表示回路50、スイッチ回路52、ROM54、RAM56、EEPROM58、通信回路60、透かしデータ埋め込み回路62、暗号化回路64等を備えている。
【0019】
CPU40は、他の回路と電気的に接続されており、他の回路を制御して撮影、画像データの記録、画像データの転送等の処理を司る。
【0020】
撮像回路42は、撮像素子(CCD)、A/D変換器等を備えており、撮影レンズ12を通して撮像素子の受光面上に結像された光学像を電気信号に変換し、画像信号として出力する。画像処理回路44は、撮像回路42から出力された画像信号に対して各種信号処理を施して画像データを生成する。圧縮・伸張回路46は、画像処理回路44で信号処理された画像データを圧縮するとともに、圧縮された画像データを伸張する。記録回路48は、圧縮・伸張回路46で圧縮された画像データをメモリカード66に記録するとともに、メモリカード66に記録された画像データの読み出しを行なう。
【0021】
表示回路50は、CPU40からの指令に基づき液晶モニタ30に画像を表示させるよう駆動する回路であり、また、スイッチ回路52は、シャッターボタン16、電源ボタン20、モードレバー22等の各種操作ボタン類が操作されたことを検出して、CPU40に伝達する回路である。
【0022】
ROM54には、CPU40が処理するプログラム及び制御に必要な各種データ等が格納されており、RAM56は、画像処理領域の他、CPU40が各種の演算処理等を行うための作業用領域を有している。また、EEPROM(不揮発性メモリ)58には、画像データの送信先などの各種設定情報が格納される。
【0023】
通信回路60は、CPU40からの指令に基づき画像データを電送する回路であり、カメラボディに内蔵されたアンテナ68を介して基地局に所定のデータを無線で送受信する。また、カメラボディに備えられた通信コネクタ70を介してケーブルで接続されたパーソナルコンピュータとの間で所定のデータの送受信を行なう。
【0024】
透かしデータ埋め込み回路62は、CPU40からの指令に基づき画像データに電子透かしデータを埋め込む回路であり、また、暗号化回路64は、画像データを暗号化する回路である。なお、電子透かし及び暗号化については、既存の手法を用いて行なうことができるので、ここでは、その処理の内容についての説明は省略する。
【0025】
本実施の形態のデジタルカメラ10は、撮影、再生、データ転送を行なうことができ、データ転送は、通信コネクタ70からケーブルで接続されたパーソナルコンピュータへのデータ転送と、通信回線を通じて所定のサーバへのデータ転送を行なうことができる。そして、通信回線を通じて所定のサーバへ画像データを転送する際は、転送する画像データに対して選択的に電子透かし処理又は暗号化処理を施すことができる。
【0026】
以下、本実施の形態のデジタルカメラ10のCPU40が行なう処理制御を図4に示すフローチャートに従って説明する。
【0027】
ユーザが電源ボタン20を押し、電源が投入されると(ステップS10)、CPU40はモードレバー22の位置に基づき現在の設定モードを確認する。すなわち、まず、撮影モードに設定されているか否かを判定する(ステップS12)。そして、撮影モードに設定されている場合は撮影制御を実行し(ステップS14)、モードが切り替えられるまで、これを繰り返す(ステップS16)。
【0028】
一方、撮影モードに設定されていない場合は、再生モードに設定されているか否かを判定する(ステップS18)。再生モードに設定されていない場合は、PCモードに設定されていることになるので、CPU40はPC制御、すなわち通信コネクタ70を介してケーブルで接続されたパーソナルコンピュータとの間で画像データの送受信の制御を行なう(ステップS20)。そして、モードが切り替えられるまで、これを繰り返す(ステップS22)。
【0029】
また、撮影モードに設定されている場合は、さらに転送モードに設定されているか否かを判定する(ステップS24)。転送モードに設定されていない場合は、再生制御(コマ送り再生、連続再生等)を行なう、すなわち、メモリカード66に記録された画像データを読み出して液晶モニタ30上に表示させる(ステップS26)。そして、モードが切り替えられるまで、これを繰り返す(ステップS28)。
【0030】
ここで、転送モードの設定はユーザがメニューから呼び出すことによって行なわれる。すなわち、再生モード下でユーザがメニュー/OKボタン26を押すと、CPU40は、これを検出し、転送モードへの切り替え確認のメッセージを液晶モニタ30に表示させる。そして、ユーザがこれを確認し、メニュー/OKボタン26を押したことを検出すると、CPU40はカメラのモードを再生モードから転送モードに切り替える。
【0031】
転送モードに切り替えられると、CPU40は再生制御を実施し、ユーザは、この再生画像の中から転送する画像を選択する(ステップS30)。すなわち、ユーザは、十字ボタン24の操作でメモリカード66に記録されている画像を1コマずつ順に液晶モニタ30上に表示させてゆき、図5(a)に示すように、転送する画像データのところで送りを止めて、画像を液晶モニタ30上に表示させる。そして、転送する画像データを決定する。
【0032】
転送する画像データの決定は、転送する画像データを液晶モニタ30に表示させた状態でメニュー/OKボタン26を押すことにより行なわれ、CPU40は、メニュー/OKボタン26が押されたことを検出すると、図5(b)に示すように、液晶モニタ30上に転送確認のメッセージを表示させる。ここで、ユーザが「NO」を選択すると、CPU40は、再び転送画像の選択のため、再生制御を実施する。
【0033】
一方、ユーザが「YES」を選択すると、CPU40は、電子透かし処理又は暗号化処理の要/不要の確認のメッセージを液晶モニタ30上に表示させる。すなわち、そのまま何もしないで転送するか、電子透かし処理又は暗号化処理を行なって転送するかを問い合わせる(ステップS32)。ユーザは、不要と考えれば「不要」を選択し、電子透かし処理又は暗号化処理が必要と考えれば「要」を選択する。
【0034】
なお、「YES」/「NO」、「要」/「不要」の選択は、「YES」/「NO」又は「要」/「不要」を囲む枠を十字ボタン24の操作で移動させることにより行なわれ、選択した項目の決定はメニュー/OKボタン26を押すことにより行なわれる。
【0035】
この選択の結果、「不要」が選択されると、CPU40は送信処理を実施する。すなわち、まず、CPU40は、図5(e)に示すように、送信先の設定画面を液晶モニタ30上に表示させ、送信先の設定をユーザに促す。ユーザは、目的の送信先(データを送信するサーバのアドレス)を入力して設定する。あるいは、あらかじめ登録しておいた送信先(たとえば、よく利用する送信先を予め登録しておき、これをEEPROM58に記憶させておく)を呼び出して設定する。設定後、CPU40は、図5(f)に示すように、送信確認のメッセージを液晶モニタ30上に表示させる。
【0036】
送信の実行は、ユーザがメニュー/OKボタン26を押すことにより行なわれ、メニュー/OKボタン26が押されたことを検出すると、CPU40は、指定された目的のサーバに通信回線を通じて選択された画像データを送信する。
【0037】
一方、電子透かし処理又は暗号化処理の「必要」が選択されると、CPU40は、図5(d)に示すように、電子透かし処理と暗号化処理の選択画面を液晶モニタ30上に表示させる。ユーザは、この表示に従って必要な処理を選択する。選択は「電子透かし処理」又は「暗号化処理」を囲む枠を十字ボタン24の操作で移動させることにより行なわれ、選択した項目の決定はメニュー/OKボタン26を押すことにより行なわれる。
【0038】
CPU40は、ユーザが選択した処理を検出し、その処理を実行する。すなわち、ユーザの選択結果に基づいてユーザの選択した処理が電子透かし処理であるか否かを判定する(ステップS34)。そして、電子透かし処理を選択している場合は、転送する画像に対して透かしデータ埋め込み回路62で電子透かしデータの埋め込み処理を行なったのち(ステップS36)、送信処理を実施する(ステップS28)。一方、暗号化処理を選択している場合は、転送する画像に対して暗号化回路64で暗号化処理を行なったのち(ステップS38)、送信処理を実行する(ステップS28)。
【0039】
送信処理は、電子透かし処理又は暗号化処理を行なわない場合と同じである。すなわち、ユーザによる送信先の設定後、実行指令に基づいて指定された目的のサーバに通信回線を通じて選択された画像データを送信する。
【0040】
送信終了後、CPU40は再び転送画像選択のための再生制御を実施し、必要があれば、ユーザは上記の操作を実施して、目的のサーバに所望の画像データを転送する。CPU40は、モードが切り替えられるまで、この画像転送処理を繰り返し実行する(ステップS40)。
【0041】
以上説明したように、本実施の形態のデジタルカメラ10によれば、画像データの転送時、転送する画像データに対して電子透かし処理と暗号化処理を選択的に施して転送することができる。これにより、たとえば不特定人が閲覧するホームページに公開することを目的に特定のサーバ(WWWサーバ)に画像データを転送する場合は電子透かしデータの埋め込み処理を行い、画像データを保管することを目的に特定のサーバ(データサーバ)に画像データを転送する場合は暗号化処理を行なうというように、目的に応じて適切な処理を行って画像データを転送することができる。
【0042】
また、再生しながら転送する画像を選択できるので、転送データの確認を容易に行なうことができ、送信するデータの選び違いも効果的に防止することができる。
【0043】
なお、本実施の形態では、ユーザが電子透かし処理と暗号化処理を選択して実行するように構成されているが、送信先等に応じてカメラ側で自動設定するように構成してもよい。たとえば、インターネットのホームページ上に公開することを目的としたサーバ(WWWサーバ)に画像データを転送する場合は、自動的に電子透かしデータの埋め込み処理を行い、画像データを保管することを目的としたサーバ(データサーバ)に画像データを転送する場合は、自動的に暗号化処理を行なうようにする。これにより、設定の手間が省け、安全かつ確実に適切な処理を施して画像データの転送処理を行なうことができる。
【0044】
また、本実施の形態では、デジタルカメラ10に備えられた通信手段(通信回路及びアンテナ)を用いて画像データの送信を行なっているが、デジタルカメラ10を携帯電話やPHS、一般電話等の通信機器に接続可能に構成し、これらの通信機器を用いて画像データの送信を行なうようにしてもよい。
【0045】
【発明の効果】
以上説明したように、本発明によれば、撮影した画像データを転送する際、電子透かし処理又は暗号化処理を選択して行なうことができるので、目的に応じて適切な処理を施して画像データの転送を行なうことができる。
【図面の簡単な説明】
【図1】本発明に係るデジタルカメラの一実施形態を示す正面図
【図2】本発明に係るデジタルカメラの一実施形態を示す背面図
【図3】デジタルカメラの内部構成を示したブロック図
【図4】デジタルカメラのCPUが行なう処理制御のフローチャート
【図5】液晶パネルの表示例を示す説明図
【符号の説明】
10…デジタルカメラ、12…撮影レンズ、14…ファインダー窓、16…シャッターボタン、18…ファインダー、20…電源ボタン、22…モードレバー、24…十字ボタン、26…メニュー/OKボタン、28…キャンセルボタン、30…液晶モニタ、40…CPU、42…撮像回路、44…画像処理回路、46…圧縮・伸張回路、48…記録回路、50…表示回路、52…スイッチ回路、54…ROM、56…RAM、58…EEPROM、60…通信回路、62…透かしデータ埋め込み回路、64…暗号化回路、66…メモリカード、68…アンテナ、70…通信コネクタ

Claims (3)

  1. 撮影レンズを通して撮像素子の受光面上に結像された光学像を電気信号に変換し、画像データとして記録媒体に記録するデジタルカメラにおいて、
    前記記録媒体に記録された画像データを通信回線を通じて目的のサーバに転送する画像データ転送手段と、
    前記画像データ転送手段で転送する画像データに対して電子透かしデータの埋め込み処理又は暗号化処理を行なうように指示する指示手段と、
    前記指示手段からの指示に従って前記画像データ転送手段で転送する画像データに電子透かしデータを埋め込む電子透かしデータ埋め込み手段と、
    前記指示手段からの指示に従って前記画像データ転送手段で転送する画像データを暗号化する暗号化手段と、
    を備えたことを特徴とするデジタルカメラ。
  2. 前記指示手段は、不特定人が閲覧するホームページに公開することを目的に特定のサーバに画像データを転送する場合は電子透かしデータの埋め込み処理を行なうように指示し、画像データを保管することを目的に特定のサーバに画像データを転送する場合は暗号化処理を行なうように指示することを特徴とする請求項1に記載のデジタルカメラ。
  3. 前記記録媒体に記録された画像データを再生表示する表示手段を備え、該表示手段に前記記録媒体に記録された画像データを再生表示して転送する画像データを選択することを特徴とする請求項1又は2に記載のデジタルカメラ。
JP2002123348A 2002-04-25 2002-04-25 デジタルカメラ Expired - Fee Related JP4032344B2 (ja)

Priority Applications (1)

Application Number Priority Date Filing Date Title
JP2002123348A JP4032344B2 (ja) 2002-04-25 2002-04-25 デジタルカメラ

Applications Claiming Priority (1)

Application Number Priority Date Filing Date Title
JP2002123348A JP4032344B2 (ja) 2002-04-25 2002-04-25 デジタルカメラ

Publications (2)

Publication Number Publication Date
JP2003319306A JP2003319306A (ja) 2003-11-07
JP4032344B2 true JP4032344B2 (ja) 2008-01-16

Family

ID=29538664

Family Applications (1)

Application Number Title Priority Date Filing Date
JP2002123348A Expired - Fee Related JP4032344B2 (ja) 2002-04-25 2002-04-25 デジタルカメラ

Country Status (1)

Country Link
JP (1) JP4032344B2 (ja)

Also Published As

Publication number Publication date
JP2003319306A (ja) 2003-11-07

Similar Documents

Publication Publication Date Title
KR100919221B1 (ko) 휴대 전화기
KR101822790B1 (ko) 화상 처리 장치 및 화상 촬상 장치
JP4178484B2 (ja) モニタ付きカメラ
KR101899748B1 (ko) 정보 처리 장치, 방법 및 프로그램
JP4724890B2 (ja) 画像再生装置、画像再生方法、画像再生プログラム及び撮像装置
JP2012099889A (ja) カメラ、撮影方法、撮影プログラム
JP4236986B2 (ja) 撮影装置および方法並びにプログラム
JPH10243273A (ja) デジタルカメラ用画像表示方法
JP2011170194A (ja) 撮影装置及び撮影制御方法
JP4958805B2 (ja) 撮像装置及びその表示制御方法
JP6818586B2 (ja) 通信装置およびその制御方法、プログラム並びに記憶媒体
JP2005277510A (ja) 画像表示制御装置、画像印刷制御装置、画像表示制御方法、画像印刷制御方法、及びプログラム
JP2010045689A (ja) 携帯機器
JP4032344B2 (ja) デジタルカメラ
JP2001320454A (ja) カメラ付き携帯電話機
JP4323942B2 (ja) 画像送信装置、画像受信装置、画像送信方法、画像受信方法、および画像通信システム
JP7725190B2 (ja) 電子機器およびその制御方法
JP4192320B2 (ja) 選択方法および電子撮像装置
JP4159271B2 (ja) デジタルカメラ
JP4920492B2 (ja) 撮像装置
JP2005012459A (ja) 携帯用画像合成装置
JP6108831B2 (ja) 携帯機器、サーバ、画像生成方法およびプログラム
JP2009159395A (ja) プロジェクタ付きデジタルカメラおよび投影システム
JP4973455B2 (ja) 撮像装置、及び、プログラム
JP2004309881A (ja) 撮影装置、撮影方法

Legal Events

Date Code Title Description
A621 Written request for application examination

Free format text: JAPANESE INTERMEDIATE CODE: A621

Effective date: 20050201

A711 Notification of change in applicant

Free format text: JAPANESE INTERMEDIATE CODE: A712

Effective date: 20061207

TRDD Decision of grant or rejection written
A01 Written decision to grant a patent or to grant a registration (utility model)

Free format text: JAPANESE INTERMEDIATE CODE: A01

Effective date: 20070928

A61 First payment of annual fees (during grant procedure)

Free format text: JAPANESE INTERMEDIATE CODE: A61

Effective date: 20071011

FPAY Renewal fee payment (event date is renewal date of database)

Free format text: PAYMENT UNTIL: 20101102

Year of fee payment: 3

R150 Certificate of patent or registration of utility model

Free format text: JAPANESE INTERMEDIATE CODE: R150

FPAY Renewal fee payment (event date is renewal date of database)

Free format text: PAYMENT UNTIL: 20111102

Year of fee payment: 4

FPAY Renewal fee payment (event date is renewal date of database)

Free format text: PAYMENT UNTIL: 20121102

Year of fee payment: 5

FPAY Renewal fee payment (event date is renewal date of database)

Free format text: PAYMENT UNTIL: 20121102

Year of fee payment: 5

FPAY Renewal fee payment (event date is renewal date of database)

Free format text: PAYMENT UNTIL: 20131102

Year of fee payment: 6

R250 Receipt of annual fees

Free format text: JAPANESE INTERMEDIATE CODE: R250

R250 Receipt of annual fees

Free format text: JAPANESE INTERMEDIATE CODE: R250

R250 Receipt of annual fees

Free format text: JAPANESE INTERMEDIATE CODE: R250

LAPS Cancellation because of no payment of annual fees