JP4020759B2 - アクチュエータ - Google Patents

アクチュエータ Download PDF

Info

Publication number
JP4020759B2
JP4020759B2 JP2002329495A JP2002329495A JP4020759B2 JP 4020759 B2 JP4020759 B2 JP 4020759B2 JP 2002329495 A JP2002329495 A JP 2002329495A JP 2002329495 A JP2002329495 A JP 2002329495A JP 4020759 B2 JP4020759 B2 JP 4020759B2
Authority
JP
Japan
Prior art keywords
piston
pressure chamber
clutch
ball screw
hydraulic
Prior art date
Legal status (The legal status is an assumption and is not a legal conclusion. Google has not performed a legal analysis and makes no representation as to the accuracy of the status listed.)
Expired - Fee Related
Application number
JP2002329495A
Other languages
English (en)
Other versions
JP2004162811A (ja
Inventor
利夫 安富
Current Assignee (The listed assignees may be inaccurate. Google has not performed a legal analysis and makes no representation or warranty as to the accuracy of the list.)
Hino Motors Ltd
Original Assignee
Hino Motors Ltd
Priority date (The priority date is an assumption and is not a legal conclusion. Google has not performed a legal analysis and makes no representation as to the accuracy of the date listed.)
Filing date
Publication date
Application filed by Hino Motors Ltd filed Critical Hino Motors Ltd
Priority to JP2002329495A priority Critical patent/JP4020759B2/ja
Publication of JP2004162811A publication Critical patent/JP2004162811A/ja
Application granted granted Critical
Publication of JP4020759B2 publication Critical patent/JP4020759B2/ja
Anticipated expiration legal-status Critical
Expired - Fee Related legal-status Critical Current

Links

Images

Landscapes

  • Fluid-Pressure Circuits (AREA)
  • Hydraulic Clutches, Magnetic Clutches, Fluid Clutches, And Fluid Joints (AREA)
  • Transmission Devices (AREA)

Description

【0001】
【発明の属する技術分野】
本発明は、油圧系の油量や油圧を制御するシステムに用いるのに適したアクチュエータに関するものである。
【0002】
【従来の技術】
図10は大型トラック等の大型車両に採用されている従来のクラッチコントロールシステムの一例を示すもので、図10中1は運転席に装備されたクラッチペダル、2は該クラッチペダル1の踏み込みにより作動するマスタシリンダ、3はリリースレバー4を介し図示しないクラッチを「断」とするクラッチブースタを示し、運転者がクラッチペダル1を踏み込むと、マスタシリンダ2により作動油がクラッチブースタ3の後段のハイドロリックピストン部5’を経由してリレーピストン部6に到り、ここでリレーピストン本体7が図10中の左側へ摺動してポペットバルブ本体8が図示しないスプリングの弾撥力に抗して左側へ押し込まれ、ポペットバルブ部9のエア回路が開通(図11参照)するようにしてあり、また、作動油はリレーピストン部6から更に前段のハイドロリックピストン部5に到達して油圧を作用させるようにしてある。
【0003】
そして、ポペットバルブ部9のエア回路が開通すると、エアタンク10からポペットバルブ部9を経由して圧縮空気がダブルチェックバルブ11へと送られ、該ダブルチェックバルブ11では、ピストン12が図10中の右側へ押されて圧縮空気がそのままクラッチブースタ3のシリンダシェル13内に導入され(図11参照)、これによりピストン14が圧縮空気のアシストを受けて図示しないスプリングの弾撥力に抗し図10中の左側へ押し込まれ、該ピストン14に連結されたプッシュロッド15によりリリースレバー4が押され、該リリースレバー4が作動して図示しないクラッチが「断」となるようになっている。
【0004】
また、クラッチペダル1を戻すと、作動油がクラッチブースタ3の前後のハイドロリックピストン部5,5’及びリレーピストン部6からマスタシリンダ2に戻り、他方、リレーピストン部6のリレーピストン本体7及びポペットバルブ部9のポペットバルブ本体8が図示しないスプリングの復元力により図10中の右側に戻されてエアタンク10側に対するエア回路が閉じ且つシリンダシェル13内のピストン14後方の圧縮空気がダブルチェックバルブ11を経てリレーピストン本体7内の通路を通過してシリンダシェル13内のピストン14前方に入り、更にクラッチブースタ3のシリンダ排気ポートを経由してリレーバルブ16のジョイント部17より排気され、ピストン14に連結されたプッシュロッド15が元の位置に後退してリリースレバー4が戻されることにより図示しないクラッチが「接」となるようになっている。
【0005】
以上はクラッチペダル1による手動操作の場合を説明したが、ここに図示しているクラッチコントロールシステムにおいては、オートマチックトランスミッションの制御をつかさどる制御装置18の電子制御により自動操作も行えるようになっており、より具体的には、運転席のセレクトレバー操作等により変速が開始されると、制御装置18から常時閉のクラッチ制御電磁弁19に向け電子信号が送られて該クラッチ制御電磁弁19のポートが開き、これによりエアタンク10からの圧縮空気が常時閉のリレーバルブ16に送られ、これをエア信号としてポートが開くことにより圧縮空気が別経路からリレーバルブ16を通してダブルチェックバルブ11へと送られ、該ダブルチェックバルブ11では、ピストン12が図10中の左側へ押されて圧縮空気がそのままクラッチブースタ3のシリンダシェル13内に導入され、これによりピストン14が図示しないスプリングの弾撥力に抗して図10中の左側へ押し込まれ、該ピストン14に連結されたプッシュロッド15によりリリースレバー4が押され、該リリースレバー4が作動して図示しないクラッチが「断」となるようにしてある。
【0006】
また、自動変速が完了してエンジン回転とクラッチ回転の差が規定値内に収まると、制御装置18からクラッチ制御電磁弁19への電子信号が停止され、これによりリレーバルブ16の出力ポートが排気ポートへと切り替わり、クラッチブースタ3のシリンダシェル13内にあった圧縮空気がダブルチェックバルブ11を経由してリレーバルブ16の排気ポートからジョイント部17へと排出され、クラッチ側の復帰力によりピストン14が図10中の右側へ戻されてクラッチが「接」となるようにしてある。
【0007】
そして、前述した如き従来のクラッチコントロールシステムにおいては、クラッチペダル1による手動操作と、制御装置18の電子制御による自動操作とを併用して適宜に選択できるようにしてあり、主として発進時や停止時等における微妙なクラッチ操作を要する場合にクラッチペダル1による手動操作を選択するような使用形態がとられているが、このような微妙なクラッチ操作を大ボリュームの圧縮空気によるオン・オフ的な自動操作で代行することは技術的に難しく、これが大型車両におけるクラッチ操作の完全自動化を阻む大きな要因となっている。
【0008】
尚、この種のクラッチコントロールシステムに関連する先行技術文献としては、下記の特許文献1や特許文献2、特許文献3等が既に存在している。
【0009】
【特許文献1】
特開2000−179580号公報
【特許文献2】
特開2002−147496号公報
【特許文献3】
特開2002−213490号公報
【0010】
【発明が解決しようとする課題】
しかしながら、前述した如き図10及び図11のクラッチコントロールシステムにおける微妙なクラッチ操作にも対応し得るようなアクチュエータ、即ち、油量や油圧を繊細且つ正確に制御し得るようなアクチュエータは未だ実用化されていないのが実情であり、このようなアクチュエータの提供がクラッチ操作の完全自動化等に寄与するものとして望まれている。
【0011】
本発明は上述の実情に鑑みてなしたもので、油量や油圧を繊細且つ正確に制御し得るようにしたアクチュエータを提供することを目的としている。
【0012】
【課題を解決するための手段】
本発明は、電動モータによりボールネジを回転駆動し且つ該ボールネジに螺合したボールナットを介し第一ピストンを進退動せしめるようにしたネジピッチの異なる一対の電動ボールネジ機構を、互いの第一ピストン同士を第一圧力室を介し対峙させて同軸上に直列配置すると共に、前記第一圧力室に連通した第二圧力室を備え且つ該第二圧力室の油圧で進出する第二ピストンによりスプリングの弾撥力に抗し第三ピストンを進出させて第三圧力室から作動油を押し出すようにした作動油圧送機構を、前記各電動ボールネジ機構に並列配置したことを特徴とするアクチュエータ、に係るものである。
【0013】
而して、このようなアクチュエータによれば、何れかの電動ボールネジ機構の電動モータによるボールネジの回転駆動を該ボールネジの軸心方向へ向けたボールナットの進退作動に転換し、該ボールナットを介した第一ピストンの進退動作動の速度及び位置を精度良く制御するようにしているので、この第一ピストンにより第一圧力室から第二圧力室に作動油が導入されると、第二ピストンによりスプリングの弾撥力に抗し第三ピストンが適切な速度及び長さだけ進出して第三圧力室から作動油が押し出され、該作動油に関する油量や油圧が繊細且つ正確に制御されることになる。
【0014】
しかも、ネジピッチが粗い方の電動ボールネジ機構を選択することで速やかにボールネジの軸心方向にボールナットを進退させることが可能となる一方、ネジピッチが細かい方の電動ボールネジ機構を選択することでボールネジの軸心方向にボールナットを小刻みに進退させることが可能となるので、油圧系の油量や油圧を制御するシステムに適用した場合に、ネジピッチの異なる一対の電動ボールネジ機構を適宜に使い分けることでシステム側の迅速な作動と微妙な作動の両方が同時に実現されることになる。
【0015】
また、本発明においては、作動油圧送機構の第二ピストンと第三ピストンとの突き合わせ箇所を包囲するように第四圧力室を設けると共に、該第四圧力室に面した前記第三ピストンの適宜箇所に受圧面を確保し、クラッチペダルにより作動するマスタシリンダと前記第四圧力室とを流路接続するようにしても良い。
【0016】
このようにすれば、第四圧力室に対し給油口から作動油を送り込み、該第四圧力室内で第三ピストンの受圧面に油圧を作用させることにより、該第三ピストンを第二ピストンから分離して進出させることが可能となり、何れかの電動ボールネジ機構の電動モータを電子制御することによる自動操作と、第四圧力室に対しペダル操作等で作動油を給排することによる手動操作とを併用して選択的に用いることが可能となる。
【0017】
【発明の実施の形態】
以下本発明の実施の形態を図面を参照しつつ説明する。
【0018】
図1〜図9は本発明を実施する形態の一例を示すもので、図10と同一の符号を付した部分は同一物を表わしている。
【0019】
図1は本形態例のアクチュエータ20についての詳細な構造を示す断面図、図2は図1のアクチュエータ20を採用したクラッチコントロールシステムの一例を示している。
【0020】
アクチュエータ20の詳細な構造を説明するのに先立ち、図2のクラッチコントロールシステムについての概要を説明しておくと、このクラッチコントロールシステムにおいては、クラッチペダル1の踏み込みにより作動するマスタシリンダ2と、リリースレバー4を介し図示しないクラッチを断接するクラッチブースタ3(クラッチ段切手段)との間に前記アクチュエータ20が設けられており、クラッチペダル1による手動操作と、オートマチックトランスミッションの制御をつかさどる制御装置18の電子制御による自動操作とを選択的に使い分けできるようにしてある。
【0021】
尚、ここに図示しているクラッチブースタ3では、その後段のハイドロリックピストン部を廃止して前段のハイドロリックピストン部5のみとしてあり、アクチュエータ20から送り出された作動油が前記ハイドロリックピストン部5に先ず導かれてからリレーピストン部6に到り、ここでリレーピストン本体7が図2中の左側へ摺動してポペットバルブ本体8が図示しないスプリングの弾撥力に抗して左側へ押し込まれ、ポペットバルブ部9のエア回路が開通(図3参照)するようになっている。
【0022】
そして、ポペットバルブ部9のエア回路が開通すると、該ポペットバルブ部9を経由してエアタンク10からの圧縮空気がクラッチブースタ3のシリンダシェル13内に導入され、これによりピストン14が圧縮空気のアシストを受けて図示しないスプリングの弾撥力に抗し図2中の左側へ押し込まれ、該ピストン14に連結されたプッシュロッド15によりリリースレバー4が押され、該リリースレバー4が作動して図示しないクラッチが「断」となるようになっている。
【0023】
また、アクチュエータ20から送り出した作動油が該アクチュエータ20に戻されると、クラッチブースタ3のハイドロリックピストン部5及びリレーピストン部6から作動油が抜き出され、これによりリレーピストン部6のリレーピストン本体7及びポペットバルブ部9のポペットバルブ本体8が図示しないスプリングの復元力により図2中の右側に戻されてエアタンク10側に対するエア回路が閉じ且つシリンダシェル13内のピストン14後方の圧縮空気がリレーピストン本体7内の新たな通路を通過して排気ポート21から大気中に排気され(圧縮空気の一部はシリンダシェル13内のピストン14前方にも入る)、ピストン14に連結されたプッシュロッド15が元の位置に後退してリリースレバー4が戻されることにより図示しないクラッチが「接」となるようになっている。
【0024】
以下には本形態例のアクチュエータ20についての詳細な構造を図1及び図4〜図9を参照しつつ説明する。
【0025】
図1に示す如く、このアクチュエータ20は、電動モータ22によりボールネジ23を回転駆動し且つ該ボールネジ23にボール24bを介して螺合したボールナット24を介し第一ピストン25を進退動せしめるようにしたネジピッチの異なる一対の電動ボールネジ機構26を、互いの第一ピストン25同士を第一圧力室27を介し対峙させて同軸上に直列配置しており、しかも、前記第一圧力室27に連通した第二圧力室28を備え且つ該第二圧力室28の油圧で進出する第二ピストン29によりスプリング30の弾撥力に抗し第三ピストン31を進出させて第三圧力室32からクラッチブースタ3のハイドロリックピストン部5へ作動油を押し出すようにした作動油圧送機構33を前記各電動ボールネジ機構26の傍らに並列配置した構造となっている。
【0026】
ここで、図1中における左側の電動ボールネジ機構26は、そのボールネジ23のネジピッチが比較的粗く形成されていて、ボールネジ23の回転に対し第一ピストン25が大きく進退動されるようになっており、他方、右側の電動ボールネジ機構26は、そのボールネジ23のネジピッチが比較的細かく形成されていて、ボールネジ23の回転に対し第一ピストン25が小さく進退動されるようになっている。
【0027】
また、前記各電動ボールネジ機構26における第一ピストン25は、図4に示す如き形状を有しており、その基端側のフランジ部25aにカップ形のカラー34がボルト締結され、このカラー34内にボールナット24を一体的に内嵌保持せしめるようにしてある。
【0028】
尚、カラー34内にボールナット24を一体的に内嵌保持せしめるにあたっては、ボールナット24のかしめ溝24aに対しカラー34の一部をかしめ部34aとして外側からかしめて圧着させるようにしてある。
【0029】
そして、このように一体化されたボールナット24,カラー34,第一ピストン25のユニットは、図5に示す如きハウジング35により抱持されるようになっており、このハウジング35の内周部に形成されたスプライン溝35aの一部(残りのスプライン溝35aはグリース溜まりを成す)に対し、前記第一ピストン25のフランジ部25aの上下端に設けたガイド突起25bが軸心方向に摺動自在に嵌合されて円周方向の回転が阻止されるようになっている。
【0030】
また、前記ボールナット24が螺着されているボールネジ23は、その基端部をハウジング36内でベアリング37により回動自在に保持され、しかも、このハウジング36にボルト締結されている電動モータ22の出力軸22aと一体的に連結されるようになっている。
【0031】
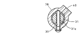
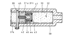
一方、前記作動油圧送機構33における第三ピストン31は、図6に示す如き形状を有しており、その軸心方向の前後位置にハウジング38の内周面に対し液密に摺接する二つの大径部31a,31bを備え且つ該各大径部31a,31bの相互間に軸心方向に延びるガイドスリット31cを開口している。
【0032】
そして、このガイドスリット31cには、ハウジング38側に固定されたストッパボルト39が貫通しており、第三ピストン31が最大にストロークしても該第三ピストン31とストッパボルト39とが干渉しないようになっている。
【0033】
尚、図7及び図8に示されている如く、第三ピストン31の各大径部31a,31bに挟まれた空間は、ハウジング38に設けたオイル孔40を介し図示しないリザーバタンクと接続されており、この空間には前記リザーバタンクから導かれた作動油が満たされるようになっている。
【0034】
更に、この第三ピストン31の第三圧力室32に面した先端部には、図9に詳細な内部構造を示す如きセンタバルブ41が装備されており、このセンタバルブ41内部に移動自在に収容されたセンタバルブ本体42が、スナップリング43との間に介装されたスプリング44により図9中の左側に着座するように付勢されている。
【0035】
ここで、このセンタバルブ41には、第三ピストン31の大径部31aの中心部分を軸心方向に摺動自在に貫通するノズル部45が一体的に具備されており、このノズル部45の軸心部分に穿設された流路を介してガイドスリット31c側と第三圧力室32側とが連通するようになっているが、常時はスプリング44の弾撥力に抗して図9中の左側に着座したセンタバルブ本体42のシール46により前記ガイドスリット31c側と第三圧力室32側とが隔絶され、第三ピストン31が初期位置まで退動している時にのみ前記ノズル部45が前記ストッパボルト39に干渉してセンタバルブ本体42が相対的に図9中の右側へ押し出され、これによりセンタバルブ本体42が弁座から離間してガイドスリット31c側と第三圧力室32側とが開通するようになっている。
【0036】
また、図1に示す如く、前述した各電動ボールネジ機構26側のハウジング35と作動油圧送機構33側のハウジング38との間を連結しているハウジング47には、前述した如き第一圧力室27や第二圧力室28が形成されている他、作動油圧送機構33の第二ピストン29と第三ピストン31との突き合わせ箇所を包囲するような第四圧力室48が形成されている。
【0037】
尚、第一圧力室27における第二圧力室28への連通箇所を挟んだ左右位置には、各電動ボールネジ機構26の第一ピストン25の作動量Aが確保されており、第二圧力室28にも同様の作動量Aが確保されている。
【0038】
更に、作動油圧送機構33の第三ピストン31の突き合わせ面には、隆起部31dが突設されていて第二ピストン29と第三ピストン31との突き合わせ箇所に僅かな隙間が形成されるようにしてあり、これにより前記隆起部31dの周囲と大径部31bとにおける第四圧力室48に面した箇所を受圧面として第三ピストン31が第二ピストン29から分離して進退動できるようになっており、また、第二ピストン29の第二圧力室28に面した部位にも、同様の隙間を確保する意図で隆起部29aが突設されている。
【0039】
そして、ハウジング47には、第四圧力室48に作動油を導くための給油口49が設けられており、この給油口49と前述の図2のクラッチペダル1により作動するマスタシリンダ2との間が流路接続されていて、クラッチペダル1の踏み込みにより生じた油圧が第四圧力室48にかけられるようにしてある。
【0040】
尚、図2中における50は車両速度を検出する車速センサ、51はリリースレバー4にリンク連結されてクラッチブースタ3によるストロークを検出するストロークセンサを夫々示しており、これら車速センサ50及びストロークセンサ51からの検出信号がオートマチックトランスミッションの制御をつかさどる制御装置18に入力されるようになっている。
【0041】
而して、運転席のモード切換スイッチ等を操作して制御装置18に手動モードを認識させた後、クラッチペダル1を踏み込んでマスタシリンダ2からアクチュエータ20の作動油圧送機構33における第四圧力室48に作動油を送り込むと、該第四圧力室48内で第三ピストン31の受圧面に油圧が作用して該第三ピストン31が第二ピストン29から分離して進出し、これによりセンタバルブ41が閉じてガイドスリット31c側と第三圧力室32側とが隔絶された状態となり、第三圧力室32から作動油が送り出されて図示しないクラッチが「断」となる。
【0042】
また、クラッチペダル1を戻すと、作動油が第四圧力室48からマスタシリンダ2に戻り、これにより第三ピストン31がスプリング30の復元力により初期位置まで退動し、これによりアクチュエータ20から送り出した作動油が該アクチュエータ20に戻されて図示しないクラッチが「接」となる。
【0043】
この際、第三ピストン31が初期位置まで退動すると、図9に示す如く、センタバルブ本体42のノズル部45がストッパボルト39に干渉してセンタバルブ本体42が相対的に図9中の右側へ押し出され、これによりセンタバルブ本体42が弁座から離間してガイドスリット31c側と第三圧力室32側とが開通し、該第三圧力室32の油圧が確実に零に戻される。
【0044】
尚、クラッチペダル1を踏み込んだ場合と戻した場合とにおけるクラッチブースタ3側の作動については、アクチュエータ20の詳細な構造を説明するのに先立ち既に説明してある通りであり、その実質的な内容が重複するものとなるので説明を割愛する。
【0045】
他方、運転席のモード切換スイッチ等を操作して制御装置18に自動モードを認識させれば、運転席のセレクトレバー操作等により変速が開始された際に、車速センサ50により例えば5km/hを超えた通常走行であることが確認されている条件下で、制御装置18により図1で左側のネジピッチが粗い方の電動ボールネジ機構26が選択され、該電動ボールネジ機構26の電動モータ22に向け制御装置18から電子信号が送られて電動モータ22によるボールネジ23の回転駆動が成され、これによりボールナット24がボールネジ23の軸心方向に速やかに移動して第一ピストン25が大きく進出し、該第一ピストン25により第一圧力室27から作動油圧送機構33の第二圧力室28へと作動油が送られ、これにより第二ピストン29を介して第三ピストン31がスプリング30の弾撥力に抗し押し出され、これにより第三圧力室32から作動油が送り出されて図示しないクラッチが「断」となる。
【0046】
また、自動変速が完了してエンジン回転とクラッチ回転の差が規定値内に収まると、制御装置18から左側の電動ボールネジ機構26の電動モータ22へ向けた電子信号により該電動モータ22が逆転され、これによりボールナット24がボールネジ23の軸心方向に戻されて第一ピストン25が退動し、該第一ピストン25による油圧で押し出されていた第二ピストン29及び第三ピストン31がスプリング30の復元力により初期位置まで退動し、これによりアクチュエータ20から送り出した作動油が該アクチュエータ20に戻されて図示しないクラッチが「接」となる。
【0047】
更に、運転席のモード切換スイッチ等を操作して制御装置18に自動モードを認識させた上で発進操作を含むクラッチの微動操作を行う場合には、車速センサ50により例えば5km/h以下の徐行運転であることが確認され且つストロークセンサ51によりクラッチブースタ3によるストロークが半クラッチ域にあることが確認されている条件下で、制御装置18により図1で右側のネジピッチが細かい方の電動ボールネジ機構26が選択され、該電動ボールネジ機構26の電動モータ22に向け制御装置18から電子信号が送られて電動モータ22によるボールネジ23の正逆転が繰り返され、これによりボールナット24がボールネジ23の軸心方向に小刻みに進退動して第一ピストン25も同様に進退動し、該第一ピストン25の進退動により第一圧力室27から作動油圧送機構33の第二圧力室28にかけての油圧の発生・解放が細かく繰り返され、これにより第二ピストン29及び第三ピストン31が小刻みに進退動する結果、図示しないクラッチの断接作動が小刻みに実現されて手動操作時の半クラッチ操作の如き微妙なクラッチ操作が可能となる。
【0048】
即ち、このようなアクチュエータ20を採用すれば、各電動ボールネジ機構26の電動モータ22によるボールネジ23の回転駆動を該ボールネジ23の軸心方向へ向けたボールナット24の進退作動に転換し、該ボールナット24を介した第一ピストン25の進退動作動の速度及び位置を制御装置18により精度良く制御することが可能となる上、通常走行時のクラッチの一般操作に関し、ネジピッチが粗い方の電動ボールネジ機構26を選択することで速やかなクラッチ作動速度が得られ、他方、発進操作を含むクラッチの微動操作に関し、ネジピッチが細かい方の電動ボールネジ機構26を選択することで小刻みなクラッチの断接作動が可能となるので、通常走行時におけるクラッチ作動速度の低下を招くことなく微妙なクラッチ操作の実現を図ることが可能となる。
【0049】
換言すれば、クラッチの微動操作ばかりを優先してネジピッチを細かくした電動ボールネジ機構26を単独で採用したものでは、通常走行時のクラッチの一般操作を行うにあたりクラッチ作動速度が遅くなって円滑な自動変速に支障をきたしかねないという不都合があるが、このような不都合をネジピッチの異なる一対の電動ボールネジ機構26を使い分けることで未然に回避するようにしているのである。
【0050】
従って、上記形態例によれば、各電動ボールネジ機構26の電動モータ22を電子制御することにより第一ピストン25の進退動作動の速度及び位置を精度良く制御することができ、しかも、ネジピッチの異なる一対の電動ボールネジ機構26を適宜に使い分けることで第一ピストン25の迅速な作動と微妙な作動の両方を同時に実現することもできるので、この第一ピストン25により第一圧力室27から第二圧力室28に作動油を導入して第二ピストン29によりスプリング30の弾撥力に抗し第三ピストン31を適切な速度及び長さだけ進出させることで第三圧力室32から作動油を押し出し、油量や油圧を繊細且つ正確に制御しながら作動油をクラッチブースタ3に供給することができ、延いては、発進時や停止時等における微妙なクラッチ操作を自動操作で行い得るようにしたクラッチコントロールシステムをクラッチ作動速度の低下を招くことなく実現できる。
【0051】
更に、特に本形態例においては、作動油圧送機構33の第二ピストン29と第三ピストン31との突き合わせ箇所を包囲するように第四圧力室48を設けると共に、該第四圧力室48に面した前記第三ピストン31の適宜箇所に受圧面を確保し、クラッチペダル1により作動するマスタシリンダ2と前記第四圧力室48とを流路接続するようにしているので、クラッチペダル1を踏み込んでマスタシリンダ2からアクチュエータ20の作動油圧送機構33における第四圧力室48に作動油を送り込み、該第四圧力室48内で第三ピストン31の受圧面に油圧を作用させることにより、該第三ピストン31を作動油圧送機構33の第二ピストン29から分離して進出させることができるので、何れかの電動ボールネジ機構26の電動モータ22を電子制御することによるクラッチの自動操作と、クラッチペダル1によるクラッチの手動操作とを併用して選択的に用いることができる。
【0052】
ただし、以上に説明した図1〜図9の形態例においては、電動ボールネジ機構26の電動モータ22を電子制御することによるクラッチの自動操作と、クラッチペダル1によるクラッチの手動操作とを併用したクラッチコントロールシステムとしているが、図2のクラッチペダル1から第四圧力室48にかけての油圧系を全て廃止し、常に各電動ボールネジ機構26により作動油圧送機構33からの作動油の油量や油圧を制御するようにした完全自動型のクラッチコントロールシステムとすることも可能である。
【0053】
尚、本発明のアクチュエータは、上述の形態例にのみ限定されるものではなく、必ずしも油圧系とエア系の両方の回路を有するクラッチブースタ(クラッチ段切手段)を備えたクラッチコントロールシステムのみならず、油圧系のみのクラッチコントロールシステムにも適用することが可能であり、更には、クラッチ以外の様々な油圧系の油量や油圧を制御するシステムにも適用することが可能であること、その他、本発明の要旨を逸脱しない範囲内において種々変更を加え得ることは勿論である。
【0054】
【発明の効果】
上記した本発明のアクチュエータによれば、下記の如き種々の優れた効果を奏し得る。
【0055】
(I)本発明の請求項1に記載の発明によれば、各電動ボールネジ機構の電動モータを電子制御することにより第一ピストンの進退動作動の速度及び位置を精度良く制御することができ、しかも、ネジピッチの異なる一対の電動ボールネジ機構を適宜に使い分けることで第一ピストンの迅速な作動と微妙な作動の両方を同時に実現することもできるので、この第一ピストンにより第一圧力室から第二圧力室に作動油を導入して第二ピストンによりスプリングの弾撥力に抗し第三ピストンを適切な速度及び長さだけ進出させることで第三圧力室から作動油を押し出すことができ、該作動油に関する油量や油圧を繊細且つ正確に制御することができる。
【0056】
(II)本発明の請求項2に記載の発明によれば、第四圧力室に対し給油口から作動油を送り込んで第四圧力室内で第三ピストンの受圧面に油圧を作用させることにより、該第三ピストンを第二ピストンから分離して進出させることができるので、何れかの電動ボールネジ機構の電動モータを電子制御することによる自動操作と、第四圧力室に対しペダル操作等で作動油を給排することによる手動操作とを併用して選択的に用いることができる。
【図面の簡単な説明】
【図1】本発明を実施する形態の一例を示す断面図である。
【図2】図1のアクチュエータを採用したクラッチコントロールシステムの一例を示す系統図である。
【図3】図2の要部についての作動説明図である。
【図4】図1の各電動ボールネジ機構の要部に関する分解図である。
【図5】図1の各電動ボールネジ機構のハウジングの単品図である。
【図6】図1の作動油圧送機構の第三ピストンの単品図である。
【図7】図1の作動油圧送機構のハウジングの単品図である。
【図8】図1のVIII−VIII矢視の断面図である。
【図9】図3の作動油圧送機構のセンタバルブについての詳細を示す断面図である。
【図10】従来例を示す系統図である。
【図11】図10の要部についての作動説明図である。
【符号の説明】
18 制御装置
20 アクチュエータ
22 電動モータ
23 ボールネジ
24 ボールナット
24b ボール
25 第一ピストン
26 電動ボールネジ機構
27 第一圧力室
28 第二圧力室
29 第二ピストン
30 スプリング
31 第三ピストン
32 第三圧力室
33 作動油圧送機構
48 第四圧力室

Claims (2)

  1. 電動モータによりボールネジを回転駆動し且つ該ボールネジに螺合したボールナットを介し第一ピストンを進退動せしめるようにしたネジピッチの異なる一対の電動ボールネジ機構を、互いの第一ピストン同士を第一圧力室を介し対峙させて同軸上に直列配置すると共に、前記第一圧力室に連通した第二圧力室を備え且つ該第二圧力室の油圧で進出する第二ピストンによりスプリングの弾撥力に抗し第三ピストンを進出させて第三圧力室から作動油を押し出すようにした作動油圧送機構を、前記各電動ボールネジ機構に並列配置したことを特徴とするアクチュエータ。
  2. 作動油圧送機構の第二ピストンと第三ピストンとの突き合わせ箇所を包囲するように第四圧力室を設けると共に、該第四圧力室に面した前記第三ピストンの適宜箇所に受圧面を確保し、前記第四圧力室に作動油を導く給油口を設けたことを特徴とする請求項1に記載のアクチュエータ。
JP2002329495A 2002-11-13 2002-11-13 アクチュエータ Expired - Fee Related JP4020759B2 (ja)

Priority Applications (1)

Application Number Priority Date Filing Date Title
JP2002329495A JP4020759B2 (ja) 2002-11-13 2002-11-13 アクチュエータ

Applications Claiming Priority (1)

Application Number Priority Date Filing Date Title
JP2002329495A JP4020759B2 (ja) 2002-11-13 2002-11-13 アクチュエータ

Publications (2)

Publication Number Publication Date
JP2004162811A JP2004162811A (ja) 2004-06-10
JP4020759B2 true JP4020759B2 (ja) 2007-12-12

Family

ID=32807472

Family Applications (1)

Application Number Title Priority Date Filing Date
JP2002329495A Expired - Fee Related JP4020759B2 (ja) 2002-11-13 2002-11-13 アクチュエータ

Country Status (1)

Country Link
JP (1) JP4020759B2 (ja)

Also Published As

Publication number Publication date
JP2004162811A (ja) 2004-06-10

Similar Documents

Publication Publication Date Title
JP3919657B2 (ja) アクチュエータ
JP3942089B2 (ja) クラッチコントロールシステム
JP4020759B2 (ja) アクチュエータ
JP2005048924A (ja) 油圧式クラッチ操作装置
JP3942094B2 (ja) クラッチコントロールシステム
JP3896328B2 (ja) クラッチコントロールシステム
JP3896332B2 (ja) クラッチコントロールシステム
JP2003307203A (ja) アクチュエータ
JP3906162B2 (ja) アクチュエータ
JP2008157369A (ja) クラッチコントロールシステム
JP6648652B2 (ja) クラッチシステム
JP3704751B2 (ja) 流体圧発生装置
JP4092226B2 (ja) クラッチコントロールシステム
JP3869143B2 (ja) 自動車のクラッチ装置
JP2003307238A (ja) クラッチコントロールシステム
JP2004162877A (ja) アクチュエータ
JP2005163992A (ja) 油圧式クラッチ操作装置
JP2004162876A (ja) クラッチコントロールシステム
JPH0971144A (ja) マスタシリンダの作動装置
JP2528895Y2 (ja) クラッチ倍力装置
JP3704757B2 (ja) 流体圧発生装置
JP2005083473A (ja) 油圧式クラッチ操作装置
JPS6221778Y2 (ja)
JP2003314590A (ja) クラッチコントロールシステム
JP4118170B2 (ja) クラッチコントロールシステム

Legal Events

Date Code Title Description
A621 Written request for application examination

Free format text: JAPANESE INTERMEDIATE CODE: A621

Effective date: 20050412

A977 Report on retrieval

Free format text: JAPANESE INTERMEDIATE CODE: A971007

Effective date: 20070126

A131 Notification of reasons for refusal

Free format text: JAPANESE INTERMEDIATE CODE: A131

Effective date: 20070130

TRDD Decision of grant or rejection written
A01 Written decision to grant a patent or to grant a registration (utility model)

Free format text: JAPANESE INTERMEDIATE CODE: A01

Effective date: 20070919

A61 First payment of annual fees (during grant procedure)

Free format text: JAPANESE INTERMEDIATE CODE: A61

Effective date: 20070925

FPAY Renewal fee payment (event date is renewal date of database)

Free format text: PAYMENT UNTIL: 20101005

Year of fee payment: 3

R150 Certificate of patent or registration of utility model

Free format text: JAPANESE INTERMEDIATE CODE: R150

FPAY Renewal fee payment (event date is renewal date of database)

Free format text: PAYMENT UNTIL: 20111005

Year of fee payment: 4

FPAY Renewal fee payment (event date is renewal date of database)

Free format text: PAYMENT UNTIL: 20111005

Year of fee payment: 4

FPAY Renewal fee payment (event date is renewal date of database)

Free format text: PAYMENT UNTIL: 20121005

Year of fee payment: 5

FPAY Renewal fee payment (event date is renewal date of database)

Free format text: PAYMENT UNTIL: 20121005

Year of fee payment: 5

FPAY Renewal fee payment (event date is renewal date of database)

Free format text: PAYMENT UNTIL: 20131005

Year of fee payment: 6

LAPS Cancellation because of no payment of annual fees