JP4014575B2 - フレキシブル基板用コネクタ付き回路基板および回路基板とフレキシブル基板との接続構造 - Google Patents

フレキシブル基板用コネクタ付き回路基板および回路基板とフレキシブル基板との接続構造 Download PDF

Info

Publication number
JP4014575B2
JP4014575B2 JP2004094409A JP2004094409A JP4014575B2 JP 4014575 B2 JP4014575 B2 JP 4014575B2 JP 2004094409 A JP2004094409 A JP 2004094409A JP 2004094409 A JP2004094409 A JP 2004094409A JP 4014575 B2 JP4014575 B2 JP 4014575B2
Authority
JP
Japan
Prior art keywords
flexible
circuit board
board
connector
casing
Prior art date
Legal status (The legal status is an assumption and is not a legal conclusion. Google has not performed a legal analysis and makes no representation as to the accuracy of the status listed.)
Expired - Lifetime
Application number
JP2004094409A
Other languages
English (en)
Other versions
JP2005285409A (ja
Inventor
邦浩 佐藤
Current Assignee (The listed assignees may be inaccurate. Google has not performed a legal analysis and makes no representation or warranty as to the accuracy of the list.)
Sharp Corp
Original Assignee
Sharp Corp
Priority date (The priority date is an assumption and is not a legal conclusion. Google has not performed a legal analysis and makes no representation as to the accuracy of the date listed.)
Filing date
Publication date
Application filed by Sharp Corp filed Critical Sharp Corp
Priority to JP2004094409A priority Critical patent/JP4014575B2/ja
Priority to US11/086,560 priority patent/US7101220B2/en
Priority to KR1020050025306A priority patent/KR100659193B1/ko
Priority to DE602005001644T priority patent/DE602005001644T2/de
Priority to TW094109852A priority patent/TWI252610B/zh
Priority to EP05251926A priority patent/EP1583178B1/en
Priority to CNB2005100595624A priority patent/CN100385744C/zh
Publication of JP2005285409A publication Critical patent/JP2005285409A/ja
Application granted granted Critical
Publication of JP4014575B2 publication Critical patent/JP4014575B2/ja
Anticipated expiration legal-status Critical
Expired - Lifetime legal-status Critical Current

Links

Images

Classifications

    • HELECTRICITY
    • H01ELECTRIC ELEMENTS
    • H01RELECTRICALLY-CONDUCTIVE CONNECTIONS; STRUCTURAL ASSOCIATIONS OF A PLURALITY OF MUTUALLY-INSULATED ELECTRICAL CONNECTING ELEMENTS; COUPLING DEVICES; CURRENT COLLECTORS
    • H01R12/00Structural associations of a plurality of mutually-insulated electrical connecting elements, specially adapted for printed circuits, e.g. printed circuit boards [PCB], flat or ribbon cables, or like generally planar structures, e.g. terminal strips, terminal blocks; Coupling devices specially adapted for printed circuits, flat or ribbon cables, or like generally planar structures; Terminals specially adapted for contact with, or insertion into, printed circuits, flat or ribbon cables, or like generally planar structures
    • H01R12/70Coupling devices
    • H01R12/77Coupling devices for flexible printed circuits, flat or ribbon cables or like structures
    • H01R12/79Coupling devices for flexible printed circuits, flat or ribbon cables or like structures connecting to rigid printed circuits or like structures
    • HELECTRICITY
    • H01ELECTRIC ELEMENTS
    • H01RELECTRICALLY-CONDUCTIVE CONNECTIONS; STRUCTURAL ASSOCIATIONS OF A PLURALITY OF MUTUALLY-INSULATED ELECTRICAL CONNECTING ELEMENTS; COUPLING DEVICES; CURRENT COLLECTORS
    • H01R12/00Structural associations of a plurality of mutually-insulated electrical connecting elements, specially adapted for printed circuits, e.g. printed circuit boards [PCB], flat or ribbon cables, or like generally planar structures, e.g. terminal strips, terminal blocks; Coupling devices specially adapted for printed circuits, flat or ribbon cables, or like generally planar structures; Terminals specially adapted for contact with, or insertion into, printed circuits, flat or ribbon cables, or like generally planar structures
    • H01R12/70Coupling devices
    • H01R12/77Coupling devices for flexible printed circuits, flat or ribbon cables or like structures
    • H01R12/771Details
    • H01R12/774Retainers
    • HELECTRICITY
    • H01ELECTRIC ELEMENTS
    • H01RELECTRICALLY-CONDUCTIVE CONNECTIONS; STRUCTURAL ASSOCIATIONS OF A PLURALITY OF MUTUALLY-INSULATED ELECTRICAL CONNECTING ELEMENTS; COUPLING DEVICES; CURRENT COLLECTORS
    • H01R12/00Structural associations of a plurality of mutually-insulated electrical connecting elements, specially adapted for printed circuits, e.g. printed circuit boards [PCB], flat or ribbon cables, or like generally planar structures, e.g. terminal strips, terminal blocks; Coupling devices specially adapted for printed circuits, flat or ribbon cables, or like generally planar structures; Terminals specially adapted for contact with, or insertion into, printed circuits, flat or ribbon cables, or like generally planar structures
    • H01R12/70Coupling devices
    • H01R12/82Coupling devices connected with low or zero insertion force
    • H01R12/85Coupling devices connected with low or zero insertion force contact pressure producing means, contacts activated after insertion of printed circuits or like structures
    • H01R12/89Coupling devices connected with low or zero insertion force contact pressure producing means, contacts activated after insertion of printed circuits or like structures acting manually by moving connector housing parts linearly, e.g. slider
    • HELECTRICITY
    • H01ELECTRIC ELEMENTS
    • H01RELECTRICALLY-CONDUCTIVE CONNECTIONS; STRUCTURAL ASSOCIATIONS OF A PLURALITY OF MUTUALLY-INSULATED ELECTRICAL CONNECTING ELEMENTS; COUPLING DEVICES; CURRENT COLLECTORS
    • H01R12/00Structural associations of a plurality of mutually-insulated electrical connecting elements, specially adapted for printed circuits, e.g. printed circuit boards [PCB], flat or ribbon cables, or like generally planar structures, e.g. terminal strips, terminal blocks; Coupling devices specially adapted for printed circuits, flat or ribbon cables, or like generally planar structures; Terminals specially adapted for contact with, or insertion into, printed circuits, flat or ribbon cables, or like generally planar structures
    • H01R12/70Coupling devices
    • H01R12/77Coupling devices for flexible printed circuits, flat or ribbon cables or like structures
    • H01R12/771Details
    • H01R12/772Strain relieving means

Landscapes

  • Coupling Device And Connection With Printed Circuit (AREA)

Description

本発明は、回路基板とそれに取り付けられたフレキシブル基板用コネクタとを含むフレキシブル基板用コネクタ付き回路基板、および、回路基板とフレキシブル基板との接続構造に関する。
近年、携帯電話やビデオカメラ等のような電子機器は、小型軽量化が進む一方、内部に多数の電子部品を組み込んでいる。これらの電子部品は多くは、リードや端子を、回路基板上に配置された部品搭載用ランドに、半田で電気的に接続している。小型化が進む携帯電話では、液晶表示モジュールやキーパッド等のような寸法が比較的大きい部品までも回路基板に配置しており、このような回路基板を、通常複数枚用いている。この複数枚の回路基板同士を電気的に接続するために、多くのフレキシブル基板が使用されている。また、カメラモジュール等の他の部品を上記回路基板に電気的に接続するために、フレキシブル基板が使用されている。このようなフレキシブル基板は、設計の制約上、上記回路基板の表面に電子部品と共に配置したコネクタに対して、裏面側から接続する必要が生じる場合がある。
従来、回路基板のコネクタに、裏面側からフレキシブル基板を接続するために、以下のような回路基板とフレキシブル基板との接続構造が用いられている。
(1) 図9に示すように、表面に電子部品51が配置された回路基板52に、表面にコネクタ53を設けると共に貫通穴52aを設け、フレキシブル基板54を、上記貫通穴52aを介して回路基板52の裏面側から表面側に導いて、このフレキシブル基板54の接続部を上記コネクタ53に接続する。
(2) 図10に示すように、表面に電子部品61が配置された回路基板62の端部近傍の表面にコネクタ63を設け、フレキシブル基板64を上記回路基板62の裏面側から上記端部を覆うように表面側に巻回して、上記フレキシブル基板64の接続部を上記コネクタ63に接続する。
(3) 図11に示すように、表面に電子部品71が配置された回路基板72の裏面にコネクタ73を設け、裏面側のフレキシブル基板74を表面側に導くことなく上記コネクタ73に接続する。
上記コネクタ53,63,73としては、従来、回路基板に固定される基部と、この基部に揺動可能に取り付けられた揺動部とで上記フレキシブル基板の接続部を挟んで固定するものがある。また、回路基板に固定されると共に係合爪と接触端子とを有し、上記係合爪をフレキシブル基板の係合穴に係止すると共に、上記接触端子をフレキシブル基板の接続端子に電気的に接続するコネクタがある(特許文献1:特開平9−22760号公報参照)。
しかしながら、上記(1)の回路基板とフレキシブル基板との接続構造は、上記貫通穴52aを通るフレキシブル基板54が、上記貫通穴52aのエッジに接触した状態で振動や衝撃を受けると、上記フレキシブル基板54に形成された配線が上記エッジによって切断されるという問題がある。このような問題の解決方法として、上記貫通穴52aのエッジの面取りを行う、上記エッジを覆うカバーを配置する、あるいは、上記フレキシブル基板54を、上記エッジに接触しない形状に整える治具を用いる等が考えられるが、いずれもコストアップを招くという問題がある。また、上記(2)の回路基板とフレキシブル基板との接続構造は、上記(1)と同様の問題に加えて、上記コネクタ63を回路基板52の端部に設置する必要があるので、回路設計上の制約が多くなるという問題がある。さらに、上記フレキシブル基板64の全長が長くなるという問題がある。上記(3)の回路基板とフレキシブル基板との接続構造は、上記回路基板72の表面のみに電子部品71を配置するにも拘わらず、裏面にもコネクタ73用の配線を配置する必要があるので、表面に電子部品およびコネクタを配置するものよりもコストアップになるという問題がある。
ところで、小型軽量化が進む電子機器において、特に重要視されるのが薄型化である。これに伴い、電子部品等の小型化及び薄型化が進む中で、フレキシブル基板用のコネクタもまた、小型化と薄型化が望まれている。
しかしながら、従来、上記(1),(2)および(3)の回路基板とフレキシブル基板との接続構造に用いられるコネクタ53,63,73は、上記回路基板52,62,72の表面または裏面に配置されるので、このコネクタ53,63,73の全てが上記回路基板52,62,72の表面から突出することになる。したがって、互いに接続された状態の回路基板52,62,72とフレキシブル基板54,64,74の厚みが比較的大きくなるという問題がある。上記コネクタ53,63,73の厚みを削減するために、このコネクタ53,63,73に含まれるインシュレータや端子等の部品の厚みを薄くすることが考えられるが、構造強度の低下や、接続不良等を招くという欠点がある。
特開平9−22760号公報
そこで、本発明の課題は、回路基板の表面側と裏面側とのいずれの側に位置するフレキシブル基板接続でき、かつ、薄型化が可能なフレキシブル基板用コネクタ付き回路基板を提供することにある。
また、本発明の課題は、そのようなフレキシブル基板用コネクタ付き回路基板を用いた回路基板とフレキシブル基板との接続構造を提供することにある。
上記課題を解決するため、本発明のフレキシブル基板用コネクタ付き回路基板は、
基板と、この基板に形成された回路と、上記基板に形成されていると共に上記回路に接続された接続端子と、上記接続端子に近接して上記基板に形成された貫通穴とを有する回路基板と、
上記回路基板に取り付けられたフレキシブル基板用コネクタとを備え、
上記フレキシブル基板用コネクタは、
ケーシングと、
上記ケーシングの内側に位置する内部コンタクト部と、上記ケーシングの側面の上端近傍から外側に突出する外部コンタクト部とを有するコンタクトと、
上記ケーシング内に少なくとも一部が配置されていると共に、上記ケーシングに対して移動可能であり、かつ、上記コンタクトの内部コンタクト部と共に挿入口を形成するクランプ面を有し、上記ケーシングに対して移動することによって上記挿入口を狭めることが可能なクランプ手段と、
上記挿入口に連なると共に、上記ケーシングの下面に設けられた第1の開口と
を備え、
上記フレキシブル基板用コネクタのケーシングの少なくとも一部は、上記回路基板の上記貫通穴の内側に配置され、上記第1の開口が上記回路基板の下方側に臨んでおり、
上記挿入口に連なると共に、上記ケーシングの上面に設けられた第2の開口を備え、
上記基板の両面に対して平行に且つ上記クランプ手段の移動方向に対して垂直に見た断面視で、上記挿入口とこの挿入口に連なる上記第1および第2の開口は、上記基板の両面に対して傾斜してストレートに配置されていることを特徴としている。
上記構成において、上記コンタクトの外部コンタクト部は、例えば回路基板の回路の接続端子に接続される。
また、上記外部コンタクト部は、上記ケーシングの側面の上端近傍から突出するので、このケーシングが、例えば上記回路基板に形成した貫通穴の内側に配置された状態で、この回路基板の上面に位置する接続端子等に接続される。すなわち、上記フレキシブル基板用コネクタは、厚み方向の少なくとも一部が上記回路基板と重なり合う状態で、この回路基板に電気的に接続することができる。したがって、このフレキシブル基板用コネクタは、回路基板の上面に配置する従来のコネクタよりも、回路基板からの突出量を効果的に削減することができる。その結果、このフレキシブル基板用コネクタは、回路基板とフレキシブル基板とを、厚みの増大量を抑えつつ、確実に接続することができる。また、このフレキシブル基板用コネクタを用いることにより、電子機器等の小型化を効果的に行うことができる。
また、上記フレキシブル基板用コネクタは、上記外部コンタクト部の形状を、接続すべき回路基板の接続端子に応じた形状にすると共に、上記内部コンタクト部の形状を、接続すべきフレキシブル基板の接続端子に応じた形状にすることにより、異なるフレキシブル基板及び回路基板に用いられる。すなわち、上記フレキシブル基板用コネクタは、上記コンタクトの形状を変更するのみにより、異なるフレキシブル基板及び回路基板に適用できるので、高い汎用性を有し、その結果、製造コストの削減を行うことができる。
また、上記挿入口に連なる第1の開口は、上記ケーシングの下面に設けられ、上記フレキシブル基板用コネクタのケーシングの少なくとも一部は、上記回路基板の貫通穴の内側に配置され、上記第1の開口が上記回路基板の下方側に臨んでいる。これにより、上記回路基板の下側に位置するフレキシブル基板を、上記回路基板に接続することができる。すなわち、上記回路基板の下方側から上記第1の開口を通して、上記コンタクトの内部コンタクト部と共に上記クランプ手段のクランプ面で形成された挿入口内に、フレキシブル基板の一部が挿入され、このフレキシブル基板の一部が、上記クランプ手段でクランプされる。これにより、上記フレキシブル基板の一部に形成された例えば接続端子が、上記内部コンタクト部に電気的に接続されると共に、上記フレキシブル基板の一部が、このフレキシブル基板用コネクタに固定される。このようにして、上記回路基板に、この回路基板の裏面側に位置するフレキシブル基板が接続される。このように接続が行われた場合、従来とは異なり、回路基板の貫通穴を介することなく、また、回路基板の端部を巻き回すことがないので、フレキシブル基板の切断を防止することができ、また、回路基板の端部に限られることなく所望の位置に配置することができ、また、回路基板の端部を巻き回すためにフレキシブル基板の寸法を長大化する必要が無い。その結果、上記フレキシブル基板の耐久性の低下を防止でき、また、上記回路基板の回路設計の自由度を向上でき、また、フレキシブル基板のコストアップを防止できる。
また、このフレキシブル基板用コネクタ付き回路基板は、
上記挿入口に連なると共に、上記ケーシングの上面に設けられた第2の開口を備え
上記基板の両面に対して平行に且つ上記クランプ手段の移動方向に対して垂直に見た断面視で、上記挿入口とこの挿入口に連なる上記第1および第2の開口は、上記基板の両面に対して傾斜してストレートに配置されている
このように、上記ケーシングの上面に、上記挿入口に連なる第2の開口が設けられているので、上記ケーシングの上側に位置するフレキシブル基板を、上記第2の開口を介して例えば回路基板に接続できる。したがって、フレキシブル基板が上記ケーシングの下側または上側のいずれに位置する場合であっても、上記フレキシブル基板を回路基板に接続できるので、高い汎用性が得られる。また、上記ケーシングの下側に位置するフレキシブル基板を、上記第1の開口を介して回路基板に接続すると共に、上記ケーシングの上側に位置するフレキシブル基板を、上記第2の開口を介して回路基板に接続してもよい。つまり、本実施形態のフレキシブル基板用コネクタは、上記ケーシングに関して互いに異なる側に位置する2つのフレキシブル基板を、1つのコネクタで回路基板に接続することができる。
本発明の回路基板とフレキシブル基板との接続構造は、
上記発明のフレキシブル基板用コネクタ付き回路基板と、
可撓性を有する基体と、この基体に形成された配線と、上記基体に形成されていると共に上記配線に接続された接続端子とを有する第1のフレキシブル基板とを備え、
上記回路基板の接続端子は、上記フレキシブル基板用コネクタのコンタクトの外部コンタクト部に接続され、
上記第1のフレキシブル基板は、上記フレキシブル基板用コネクタの第1の開口を介して、一部が上記フレキシブル基板用コネクタの上記挿入口内に挿入されていると共に、上記一部が上記クランプ手段でクランプされており、かつ、上記接続端子が、上記フレキシブル基板用コネクタのコンタクトの内部コンタクト部に接続されていることを特徴としている。
上記構成によれば、上記フレキシブル基板用コネクタのケーシングの少なくとも一部が、上記回路基板の貫通穴の内側に配置された状態で、上記フレキシブル基板用コネクタの外部コンタクト部が、上記回路基板の接続端子に接続されると共に、上記フレキシブル基板用コネクタの内部コンタクト部が、上記フレキシブル基板の接続端子に接続される。これにより、上記フレキシブル基板用コネクタの上記回路基板から突出する部分が、従来よりも大幅に少ない状態で、上記回路基板とフレキシブル基板とが接続される。したがって、この回路基板とフレキシブル基板との接続構造は、厚みが従来よりも効果的に減少する。その結果、この回路基板とフレキシブル基板との接続構造を電子機器に用いた場合、この電子機器の小型化や薄型化を効果的に行うことができる。
また、上記フレキシブル基板の一部は、上記フレキシブル基板用コネクタのケーシングの下面に設けられ上記回路基板の下方側に臨んでいる第1の開口を介して、上記挿入口内に挿入されるので、上記回路基板の下側に位置するフレキシブル基板は、従来とは異なり、回路基板の貫通穴を介することなく、また、回路基板の端部を巻き回すことなく、上記回路基板に接続される。したがって、従来とは異なり、フレキシブル基板の切断を防止することができ、また、回路基板の端部に限られることなく所望の位置にフレキシブル基板用コネクタを配置することができ、また、回路基板の端部を巻き回すためにフレキシブル基板の寸法を長大化する必要が無い。その結果、上記フレキシブル基板の耐久性の低下を防止でき、また、上記回路基板の回路設計の自由度を向上でき、また、フレキシブル基板のコストアップを防止できる。
別の局面では、この発明の回路基板とフレキシブル基板との接続構造は、
可撓性を有する基体と、この基体に形成された配線と、上記基体に形成されていると共に上記配線に接続された接続端子とを有する第2のフレキシブル基板を備え
上記第2のフレキシブル基板は、上記フレキシブル基板用コネクタの第2の開口を介して、一部が上記フレキシブル基板用コネクタの上記挿入口内に挿入されていると共に、上記一部が上記クランプ手段でクランプされており、かつ、上記接続端子が、上記フレキシブル基板用コネクタのコンタクトの内部コンタクト部に接続されている。
上記構成によれば、上記第2のフレキシブル基板は、上記フレキシブル基板用コネクタの第2の開口を介して、一部が上記挿入口内に挿入されて、上記回路基板に接続される。したがって、上記回路基板に関して互いに異なる側に位置する第1のフレキシブル基板と第2のフレキシブル基板とが、上記回路基板に接続される。また、上記フレキシブル基板用コネクタのケーシングの少なくとも一部は、上記回路基板の貫通穴の内側に配置されていて、上記回路基板からの突出量が比較的小さいので、厚みの増大量を抑えつつ、2つのフレキシブル基板を接続する接続構造が得られる。
一実施形態の回路基板とフレキシブル基板との接続構造では、
上記第1および第2のフレキシブル基板がそれぞれ上述の接続態様で接続されるとともに、
上記第1のフレキシブル基板の一部と上記第2のフレキシブル基板の一部は、上記フレキシブル基板用コネクタの挿入口内において互いに重なり合わない形状、かつ、互いに略同一形状を有する。
上記実施形態によれば、上記第1および第2のフレキシブル基板は、上記フレキシブル基板用コネクタの挿入口内に挿入される部分である上記一部が、上記挿入口内において互いに重なり合わない形状を有する共に、互いに略同一形状を有する。したがって、上記一部が略同一形状の上記フレキシブル基板は、上記フレキシブル基板用コネクタの上側および下側のいずれにも配置して、上記回路基板に接続されるので、高い汎用性が得られる。
以上のように、本発明のフレキシブル基板用コネクタ付き回路基板、および回路基板とフレキシブル基板との接続構造によれば、回路基板の表面側と裏面側とのいずれの側に位置するフレキシブル基板接続でき、かつ、薄型化が可能である。
以下、本発明を図示の実施の形態により詳細に説明する。
図1は、本発明の実施形態のフレキシブル基板用コネクタを示す斜視図である。このフレキシブル基板用コネクタ1は、フレキシブル基板30を回路基板40に固定すると共に、上記フレキシブル基板30の配線を回路基板40の回路に電気的に接続するものである。
上記フレキシブル基板用コネクタ1は、概略直方体形状のケーシング2を備え、このケーシング2を、上記回路基板40に形成した略矩形の貫通穴41内に配置している。上記ケーシング2は、上端部分が、上記回路基板40の表面から突出している。
このフレキシブル基板用コネクタ1は、上記回路基板40の回路と、上記フレキシブル基板30の配線とを電気的に接続するための複数の導電性のコンタクト3を備える。
上記コンタクト3は、上記ケーシング2の内側に位置する内部コンタクト部3aと、上記ケーシング2の外側に位置する外部コンタクト部3bとを有する。上記ケーシング2の上記回路基板40の表面から突出する部分の側面であって、上記ケーシングの長手方向に延在する側面23から、上記コンタクト3の外部コンタクト部3bが突出している。複数の上記コンタクト3は、上記ケーシング2の長手方向に向かって互いに平行に配列されている。
上記コンタクト3の外部コンタクト部3bは、上記回路基板40の貫通穴41の近傍に形成された接続端子43に、半田で電気的に接続されている。上記接続端子43は、回路基板40の図示しない回路に連なっている。
上記ケーシング2は、上面に、このケーシング2の上面の長手方向に延在する長方形状を有する第2の開口としての上側開口6を有する。この上側開口6は、上記コンタクト3の外部コンタクト部3bが突出する側面23に近接している。この上側開口6は、上記ケーシング2内に形成される挿入口に連なっており、上記フレキシブル基板30の端部が挿入されるように形成されている。
上記フレキシブル基板30の端部の裏面、すなわち、図1におけるフレキシブル基板用コネクタ1側の面には、このフレキシブル基板の図示しない配線に連なる接続端子31が形成されている。また、上記フレキシブル基板の長手方向に延びる両側の縁には、上記接続端子31に近接して、このフレキシブル基板の幅方向に突出する2つの突起32,32が各々設けられている。
また、上記ケーシング2には、上記ケーシング2の短手方向に延在する両側面に、上記側面23と対向する側面に近接して、2つの突起25が各々設けられている。この突起25は、上記ケーシング2の長手方向に向かって突出しており、上記回路基板40の貫通穴41に連なる浅底の係止穴42に係止している。上記突起25は、半田などで上記係止穴42の内側面に接着されて、コネクタ1の位置ずれや脱落を防止するようになっている。
上記ケーシング2の上面の大部分は、クランプ手段としてのプレス片8の上部で覆われている。このプレス片8の上部は、平面において長方形状を有し、長辺の寸法が上記ケーシング2の長手方向の寸法と略同じに形成されている。このプレス片8の上部の短辺には、ケーシング2の側面に沿って延びる支持部が連なっており、この支持部の内側面に、係合爪が形成されている。この係合爪が、上記ケーシング2の側面に形成された案内溝26に係合して、この案内溝26に沿って上記プレス片8が短手方向に矢印Aで示すように移動可能になっている。上記プレス片8の上部の長辺の縁にはカバー部8aが形成されており、このカバー部8は、プレス片8が上記ケーシングの側面23側に移動するに伴って、上記ケーシング2の上側開口6の上に位置するようになっている。
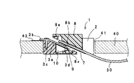
図2は、上記回路基板40に設置されたフレキシブル基板用コネクタ1を示す短手方向の断面図である。
図2に示すように、上記ケーシング2は、下面に、第1の開口としての下側開口7を有する。この下側開口7は、上記上側開口6と略同じ寸法を有すると共に、上記ケーシング2の平面において、互いに逆側に形成されている。
上記ケーシング2内には、上記コンタクト3の内部コンタクト部3aが配置されている。この内部コンタクト部3aは、上記外部コンタクト部3bに連なると共に、上記ケーシング2の内側面と、このケーシング2内に配置された楔形状の押上ブロック10の上面とに沿うように延びている。この第1コンタクト3の内部コンタクト部3aの先端には、厚みが増大してなる接触端子3dが形成されている。上記コンタクト3の上記内部コンタクト部3aと外部コンタクト部3bとの間の部分には、上記ケーシング2の底部に向かって延びる固定部3cが一体に連結されており、この固定部3cは、上記ケーシング2の内部に形成された固定穴に嵌合している。
上記ケーシング2内において、上記プレス片8の下面であるクランプ面8bと、上記コンタクト3の内部コンタクト部3aと、上記ケーシング2の内側面と、上記押上ブロック10の上面とで、挿入口9を形成している。この挿入口9は、上記ケーシング2の上側開口6と、上記ケーシングの下側開口7とに連通している。上記挿入口9は、上記ケーシング2の底面に対して傾斜している。この挿入口9内に、矢印Bで示すようにケーシングの上側開口6からフレキシブル基板30が挿入可能になっており、また、矢印Cで示すようにケーシングの下側開口7からフレキシブル基板30が挿入可能になっている。
上記挿入口9の下方には、上記プレス片8と一体に形成されて、このプレス片8と共に移動するスライド片8cが配置されている。このスライド片8cの上面には、コネクタの短手方向断面において、外部コンタクト部3b側に向かうに伴って下方に傾斜する傾斜面が形成されている。このスライド片8cの上に、上記押上ブロック10を配置している。この押上ブロック10の上記スライド片8cに接する面は、外部コンタクト部3b側に向かうに伴って下方に傾斜する傾斜面になっている。一方、上記押上ブロック10の上記挿入口9側の面は、外部コンタクト部3b側に向かうに伴って上方に傾斜する傾斜面になっている。この押上ブロック10の挿入口9側の面と、上記内部コンタクト部3aの下面は、概略平行をなして近接している。
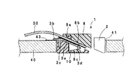
図3,4は、上記構成のフレキシブル基板用コネクタ1により、回路基板40の表面側に位置するフレキシブル基板30を、上記回路基板40に接続する過程を示す図である。
まず、上記ケーシングの上側開口6上に、上記カバー部8aが位置している場合、上記プレス片8を外部コンタクト部3bから遠ざかる方向に移動させて、図3に示すように、上記上側開口6を外部に露出させる。上記プレス片8が外部コンタクト部3bから遠ざかる方向に移動すると、このプレス片8と共に上記スライド片8cが外部コンタクト部3bから遠ざかる方向に移動し、これにより、上記スライド片8cの傾斜した上面に下面が接している押上ブロック10が、ケーシング2の底面側に移動する。
上記露出した上側開口6から、上記フレキシブル基板の接続端子131が形成された端部を、ケーシング2内に挿入する。このフレキシブル基板30の端部近傍に形成された突起32,32が上記ケーシングの上側開口6の縁部に係止することによって、上記フレキシブル基板30の端部が、上記ケーシング2内に所定長さだけ挿入される。上記ケーシング2内に挿入されたフレキシブル基板30の端部は、上記プレス片8のクランプ面8bと、上記内部コンタクト部3との間の挿入口9に配置される。
続いて、上記プレス片8を、図4に示すように、外部コンタクト部3b側に移動させる。これにより、上記プレス片8のクランプ面8bが、上記フレキシブル基板30を押し下げる。また、上記プレス片8と共にスライド片8cが外部コンタクト部3b側に移動することにより、上記押上ブロック10が上方に移動する。これにより、上記押上ブロック10の上面が、上記コンタクト3の内部コンタクト部3aを押し上げる。こうして、上記挿入口9が狭まって、上記フレキシブル基板30の部分と、上記コンタクトの内部コンタクト部3aとが、上記プレス片8のクランプ面8bと押上ブロック10の上面との間に挟まれる。その結果、上記フレキシブル基板30の接続端子131と、上記コンタクトの接触端子3dとが確実に接触して、電気的かつ機械的に接続される。
こうして、上記回路基板40の表面側に位置するフレキシブル基板30について、本発明の回路基板とフレキシブル基板との接続構造が得られる。
図5,6は、上記構成のフレキシブル基板用コネクタ1により、回路基板40の裏面側に位置するフレキシブル基板30を、上記回路基板40に接続する過程を示す図である。
まず、上記ケーシングの上側開口6上に、上記カバー部8aが位置している場合、すなわち、挿入口9が狭まっている場合、上記プレス片8を外部コンタクト部3bから遠ざかる方向に移動させて、図5に示すように、上記挿入口9の幅が上記ケーシングの下側開口7の幅と概略同じになるようにする。
上記下側開口7から、上記回路基板40の裏側面に位置するフレキシブル基板の端部を、ケーシング2内に挿入する。上記フレキシブル基板の端部には接続端子31が形成されており、上記端部近傍に形成された突起32,32が上記ケーシングの下側開口7の縁部に係止することによって、上記フレキシブル基板30の端部が、上記ケーシング2内に所定長さだけ挿入される。上記ケーシング2内に挿入されたフレキシブル基板30の端部は、上記プレス片8のクランプ面8bと、上記内部コンタクト部3との間の挿入口9に配置される。
続いて、上記プレス片8を、図6に示すように、外部コンタクト部3b側に移動させる。これにより、上記プレス片8のクランプ面8bが、上記フレキシブル基板30を押し下げる。また、上記プレス片8と共にスライド片8cが外部コンタクト部3b側に移動することにより、上記押上ブロック10が上方に移動する。これにより、上記押上ブロック10の上面が、上記コンタクト3の内部コンタクト部3aを押し上げる。こうして、上記挿入口9が狭まって、上記フレキシブル基板30の部分と、上記コンタクトの内部コンタクト部3aとが、上記プレス片8のクランプ面8bと押上ブロック10の上面との間に挟まれる。その結果、上記フレキシブル基板30の接続端子31と、上記コンタクトの接触端子3dとが確実に接触して、電気的かつ機械的に接続される。
こうして、上記回路基板40の裏面側に位置するフレキシブル基板30について、本発明の回路基板とフレキシブル基板との接続構造が得られる。
上記回路基板とフレキシブル基板との接続構造によれば、上記フレキシブル基板用コネクタ1が、上記上側開口6および下側開口7を介して、上記回路基板40の上側および下側のいずれの側に位置するフレキシブル基板40も回路基板40に接続することができる。したがって、上記回路基板40の下側に位置するフレキシブル基板40を、従来とは異なり、回路基板の貫通穴を介することなく、また、回路基板の端部を巻き回すことなく、上記回路基板40に接続することができる。その結果、従来におけるようなフレキシブル基板の切断の問題や、フレキシブル基板の長大化の問題や、フレキシブル基板用コネクタの配置位置が制限される問題を防止することができる。また、フレキシブル基板用コネクタを回路基板の裏面に配置するために、回路基板の回路の接続端子を裏側に引き出す必要も無い。つまり、上記回路基板は、表側の回路用配線と裏側の接続端子用配線との両側配線にする必要が無い。したがって、フレキシブル基板の耐久性の低下を防止でき、また、上記回路基板の回路設計の自由度を向上でき、また、フレキシブル基板のコストアップを防止できる。
また、上記フレキシブル基板用コネクタ1は、フレキシブル基板30が上記回路基板40の表側または裏側のいずれに位置する場合であっても、上記フレキシブル基板30を回路基板40に接続できるので、高い汎用性が得られる。例えば、上記フレキシブル基板用コネクタ1を電子機器に採用し、上記フレキシブル基板40を例えば液晶表示モジュールやカメラモジュール等に接続した場合、上記回路基板40に対する配置位置の制限を受けることなく、上記液晶表示モジュールやカメラモジュールを高い自由度で配置することができる。
図7,8は、本発明の他の実施形態の回路基板とフレキシブル基板との接続構造を示す平面図である。本実施形態の回路基板とフレキシブル基板との接続構造は、図1のフレキシブル基板用コネクタを用いて形成しており、フレキシブル基板の端部の形状が異なる点が、図4および図6の回路基板とフレキシブル基板との接続構造と異なる。本実施形態において、既に述べた実施形態の構成部分と同一の構成部分については、同一の参照番号を用いて、詳細な説明を省略する。なお、図7,8において、2つのフレキシブル基板130,130の厚み方向の間には、回路基板40が位置するが、上記回路基板40の図示は省略している。
図7に示すように、本実施形態におけるフレキシブル基板130は、端部の形状が、幅方向において、中央から一方の部分が切除されたような形状を有する。2つの上記フレキシブル基板130,130は、いずれも、同じ形状を有する。上記フレキシブル基板130の端部の中央から他方の部分は、図7および8における裏面側、すなわち、フレキシブル基板用コネクタ1の下側開口7が配置された下側に、接続端子131が形成されている。また、上記フレキシブル基板130の長手方向に延びる両側の縁には、上記接続端子131に近接して、このフレキシブル基板の幅方向に突出する2つの突起132,132が各々設けられている。
図7に示すように、上記回路基板の表面側に位置するフレキシブル基板130の端部を、矢印Dで示すように、上記フレキシブル基板用コネクタのケーシングの上側開口6からケーシング2内に挿入する。このフレキシブル基板130の端部は、上記突起132,132が上記上側開口6の縁部に係止することによって、上記ケーシング2内に所定長さだけ挿入される。また、上記回路基板の裏面側に位置するフレキシブル基板130の端部を、矢印Eで示すように、上記フレキシブル基板用コネクタのケーシングの下側開口7から、ケーシング2内に挿入する。このフレキシブル基板130の端部は、上記突起132,132が上記下側開口7の縁部に係止することによって、上記ケーシング2内に所定長さだけ挿入される。
上記2つのフレキシブル基板130,130の端部は、互いに同じ形状を有する一方、上記フレキシブル基板用コネクタ1に関して互いに逆向きに挿入口9内に配置されるので、上記挿入口9内において、互いに重なり合わない。この後、上記フレキシブル基板用コネクタのプレス片8を、上記外部コンタクト部3bに移動させることにより、上記フレキシブル基板130,130の端部が、上記プレス片のクランプ面8bと、押上ブロック10の上面との間に挟まれる。これにより、上記2つのフレキシブル基板130,130の端部が、上記フレキシブル基板用コネクタ1を介して回路基板に固定されると共に、上記2つのフレキシブル基板130,130の接続端子131,131が、上記フレキシブル基板用コネクタ1を介して回路基板の接続端子43に電気的に接続される。こうして、上記回路基板と、この回路基板の表面側と裏面側とに位置する2つのフレキシブル基板130,130との接続構造が得られる。
このように、本実施形態の回路基板とフレキシブル基板との接続構造によれば、上記フレキシブル基板130の端部の形状を、上記フレキシブル基板用コネクタの挿入口9内において互いに重なり合わないようにすることによって、上記回路基板の表裏両側に位置する2つのフレキシブル基板130,130を、回路基板に接続することができる。
なお、上記実施形態において、表裏両側に位置する2つのフレキシブル基板130,130の端部は、互いに略同じ形状にしているが、互いに異なる形状であってもよい。例えば、一方のフレキシブル基板130の端部の接続端子131が形成された部分の幅を大きくする一方、他方のフレキシブル基板130の端部の接続端子131が形成された部分の幅を小さくしてもよい。要は、上記フレキシブル基板用コネクタの挿入口9内において、互いに重なり合わない形状であればよい。当然に、上記フレキシブル基板の端部に形成する接続端子131の数は、2つのフレキシブル基板130,130で互いに異ならせてもよい。また、上記フレキシブル基板用コネクタのコンタクト3の総数に比べて、上記2つのフレキシブル基板130,130の接続端子131,130の合計の数が少なくても構わない。
上記実施形態において、上記プレス片のカバー部8aを、突出側に向かって長く形成することによって、上記上側開口6に挿入されたフレキシブル基板30のフレキシブル基板用コネクタ1の外側部分を屈曲させるようにしてもよい。すなわち、上記プレス片8が外部コンタクト部3b側に移動するに伴って、上記カバー部8aが、上記ケーシング2の上側開口6の上方に位置すると共に、上記フレキシブル基板30,130の上記ケーシング2の挿入口9よりも外側に位置する部分を、上記ケーシング2の上面に向かって屈曲させる。これにより、上記フレキシブル基板30,130の上記挿入口9よりも外側に位置する部分を、上記回路基板40の表面と略平行方向に向けて、上記回路基板40から離れる方向に突出することを防止できる。
また、上記実施形態のフレキシブル基板用コネクタ1は、上記ケーシング2の一部を回路基板の貫通穴41内に配置したが、ケーシングの全部を貫通穴41内に配置してもよい。これにより、フレキシブル基板用コネクタを回路基板40から殆ど突出しないようにできる。この場合、コンタクトは、ケーシングの上面から外部に引き出せばよい。
また、上記ケーシング2内の押上ブロック10は、削除してもよい。すなわち、上記プレス片8のみによって挿入口9を狭めてもよい。
また、上記フレキシブル基板用コネクタ1は、上側開口6を設けずに、下側開口7のみを設けてもよい。これにより、両面配線にすることなく、表面のみに回路用配線と接続端子用配線とを形成した回路基板を、裏面側のフレキシブル基板に接続することができる。
本発明の実施形態のフレキシブル基板用コネクタを示す斜視図である。 回路基板40に設置されたフレキシブル基板用コネクタ1を示す短手方向の断面図である。 フレキシブル基板用コネクタにより、回路基板の表面側に位置するフレキシブル基板を、回路基板に接続する過程を示す図である。 図3に続いて、回路基板の表面側に位置するフレキシブル基板を、回路基板に接続する過程を示す図である。 フレキシブル基板用コネクタにより、回路基板の裏面側に位置するフレキシブル基板を、回路基板に接続する過程を示す図である。 図3に続いて、回路基板の裏面側に位置するフレキシブル基板を、回路基板に接続する過程を示す図である。 本発明の他の実施形態の回路基板とフレキシブル基板との接続構造を構成する構成部分を示す平面図である。 図7の構成部分により、回路基板とフレキシブル基板との接続構造を形成した様子を示す平面図である。 従来の回路基板とフレキシブル基板との接続構造を示す図である。 従来の回路基板とフレキシブル基板との接続構造を示す図である。 従来の回路基板とフレキシブル基板との接続構造を示す図である。
符号の説明
1 フレキシブル基板用コネクタ
2 ケーシング
3 コンタクト
3a 内部コンタクト部
3b 外部コンタクト部
3d コンタクトの接触端子
6 上側開口
7 下側開口
8 プレス片
8b プレス片のクランプ面
8c スライド片
9 挿入口
30 フレキシブル基板
40 回路基板

Claims (4)

  1. 基板と、この基板に形成された回路と、上記基板に形成されていると共に上記回路に接続された接続端子と、上記接続端子に近接して上記基板に形成された貫通穴とを有する回路基板と、
    上記回路基板に取り付けられたフレキシブル基板用コネクタとを備え、
    上記フレキシブル基板用コネクタは、
    ケーシングと、
    上記ケーシングの内側に位置する内部コンタクト部と、上記ケーシングの側面の上端近傍から外側に突出する外部コンタクト部とを有するコンタクトと、
    上記ケーシング内に少なくとも一部が配置されていると共に、上記ケーシングに対して移動可能であり、かつ、上記コンタクトの内部コンタクト部と共に挿入口を形成するクランプ面を有し、上記ケーシングに対して移動することによって上記挿入口を狭めることが可能なクランプ手段と、
    上記挿入口に連なると共に、上記ケーシングの下面に設けられた第1の開口と
    を備え、
    上記フレキシブル基板用コネクタのケーシングの少なくとも一部は、上記回路基板の上記貫通穴の内側に配置され、上記第1の開口が上記回路基板の下方側に臨んでおり、
    上記挿入口に連なると共に、上記ケーシングの上面に設けられた第2の開口を備え、
    上記基板の両面に対して平行に且つ上記クランプ手段の移動方向に対して垂直に見た断面視で、上記挿入口とこの挿入口に連なる上記第1および第2の開口は、上記基板の両面に対して傾斜してストレートに配置されていることを特徴とするフレキシブル基板用コネクタ付き回路基板。
  2. 請求項1に記載のフレキシブル基板用コネクタ付き回路基板と、
    可撓性を有する基体と、この基体に形成された配線と、上記基体に形成されていると共に上記配線に接続された接続端子とを有する第1のフレキシブル基板とを備え、
    上記回路基板の接続端子は、上記フレキシブル基板用コネクタのコンタクトの外部コンタクト部に接続され、
    上記第1のフレキシブル基板は、上記フレキシブル基板用コネクタの第1の開口を介して、一部が上記フレキシブル基板用コネクタの上記挿入口内に挿入されていると共に、上記一部が上記クランプ手段でクランプされており、かつ、上記接続端子が、上記フレキシブル基板用コネクタのコンタクトの内部コンタクト部に接続されていることを特徴とする回路基板とフレキシブル基板との接続構造。
  3. 請求項1に記載のフレキシブル基板用コネクタ付き回路基板と、
    可撓性を有する基体と、この基体に形成された配線と、上記基体に形成されていると共に上記配線に接続された接続端子とを有する第2のフレキシブル基板を備え
    上記第2のフレキシブル基板は、上記フレキシブル基板用コネクタの第2の開口を介して、一部が上記フレキシブル基板用コネクタの上記挿入口内に挿入されていると共に、上記一部が上記クランプ手段でクランプされており、かつ、上記接続端子が、上記フレキシブル基板用コネクタのコンタクトの内部コンタクト部に接続されていることを特徴とする回路基板とフレキシブル基板との接続構造。
  4. 請求項に記載の回路基板とフレキシブル基板との接続構造において、
    可撓性を有する基体と、この基体に形成された配線と、上記基体に形成されていると共に上記配線に接続された接続端子とを有する第2のフレキシブル基板を備え、
    上記第2のフレキシブル基板は、上記フレキシブル基板用コネクタの第2の開口を介して、一部が上記フレキシブル基板用コネクタの上記挿入口内に挿入されていると共に、上記一部が上記クランプ手段でクランプされており、かつ、上記接続端子が、上記フレキシブル基板用コネクタのコンタクトの内部コンタクト部に接続され、
    上記第1のフレキシブル基板の一部と上記第2のフレキシブル基板の一部は、上記フレキシブル基板用コネクタの挿入口内において互いに重なり合わない形状、かつ、互いに略同一形状を有することを特徴とする回路基板とフレキシブル基板との接続構造。
JP2004094409A 2004-03-29 2004-03-29 フレキシブル基板用コネクタ付き回路基板および回路基板とフレキシブル基板との接続構造 Expired - Lifetime JP4014575B2 (ja)

Priority Applications (7)

Application Number Priority Date Filing Date Title
JP2004094409A JP4014575B2 (ja) 2004-03-29 2004-03-29 フレキシブル基板用コネクタ付き回路基板および回路基板とフレキシブル基板との接続構造
US11/086,560 US7101220B2 (en) 2004-03-29 2005-03-23 Flexible board connector and connection structure of flexible board to circuit board
KR1020050025306A KR100659193B1 (ko) 2004-03-29 2005-03-28 가요성 기판 커넥터 그리고 회로 기판으로의 가요성 기판의연결 구조체
TW094109852A TWI252610B (en) 2004-03-29 2005-03-29 Flexible board connector and connection structure of flexible board to circuit board
DE602005001644T DE602005001644T2 (de) 2004-03-29 2005-03-29 Verbinder für flexible Leiterplatte und Verbindungsstruktur einer flexiblen Leiterplatte
EP05251926A EP1583178B1 (en) 2004-03-29 2005-03-29 Flexible board connector and connection structure of flexible board to circuit board
CNB2005100595624A CN100385744C (zh) 2004-03-29 2005-03-29 柔性板连接器以及电路板和柔性板之间的连接结构

Applications Claiming Priority (1)

Application Number Priority Date Filing Date Title
JP2004094409A JP4014575B2 (ja) 2004-03-29 2004-03-29 フレキシブル基板用コネクタ付き回路基板および回路基板とフレキシブル基板との接続構造

Publications (2)

Publication Number Publication Date
JP2005285409A JP2005285409A (ja) 2005-10-13
JP4014575B2 true JP4014575B2 (ja) 2007-11-28

Family

ID=34879901

Family Applications (1)

Application Number Title Priority Date Filing Date
JP2004094409A Expired - Lifetime JP4014575B2 (ja) 2004-03-29 2004-03-29 フレキシブル基板用コネクタ付き回路基板および回路基板とフレキシブル基板との接続構造

Country Status (7)

Country Link
US (1) US7101220B2 (ja)
EP (1) EP1583178B1 (ja)
JP (1) JP4014575B2 (ja)
KR (1) KR100659193B1 (ja)
CN (1) CN100385744C (ja)
DE (1) DE602005001644T2 (ja)
TW (1) TWI252610B (ja)

Families Citing this family (18)

* Cited by examiner, † Cited by third party
Publication number Priority date Publication date Assignee Title
CN101480114A (zh) * 2006-07-05 2009-07-08 富士通株式会社 印刷基板和印刷基板单元以及电子设备
CN201018028Y (zh) * 2006-12-15 2008-02-06 番禺得意精密电子工业有限公司 电连接器
CN101312268B (zh) * 2007-05-21 2011-01-19 和硕联合科技股份有限公司 连接器及电子组件的组装方法
PL2209165T3 (pl) * 2009-01-19 2012-11-30 Erea Nv Złącze umożliwiające niezawodne mechaniczne oraz elektryczne połączenie przewodów
TW201112525A (en) * 2009-09-24 2011-04-01 Hannstar Display Corp Connector for mounting a flexible printed circuit board
JP5594631B2 (ja) * 2011-07-15 2014-09-24 ホシデン株式会社 端子ボックス
US8430684B1 (en) * 2011-08-04 2013-04-30 George F. Glatts, III Ribbon cable connector
KR101920623B1 (ko) * 2012-01-30 2018-11-21 삼성전자주식회사 신호케이블, 케이블커넥터 및 이를 포함하는 신호케이블 연결장치
CN102629723B (zh) * 2012-04-24 2014-10-22 东莞宇球电子股份有限公司 扁平式导体用电连接器
JP6272660B2 (ja) * 2013-05-17 2018-01-31 スリーエム イノベイティブ プロパティズ カンパニー コネクタ
US9474154B2 (en) * 2014-07-18 2016-10-18 Starkey Laboratories, Inc. Reflow solderable flexible circuit board — to — flexible circuit board connector reinforcement
DE112015006664T5 (de) * 2015-07-01 2018-05-24 Intel Corporation FPC-Steckverbinder für bessere Signalintegrität und Designkompaktierung
JP2017152335A (ja) * 2016-02-26 2017-08-31 第一精工株式会社 電気コネクタ
JP6764370B2 (ja) 2017-05-10 2020-09-30 I−Pex株式会社 コネクタ
JP6763340B2 (ja) 2017-05-10 2020-09-30 I−Pex株式会社 コネクタ
DE102017214151B4 (de) * 2017-08-14 2020-01-16 Volkswagen Aktiengesellschaft Flachleiter mit mehreren nebeneinander in einem Isoliermaterial verlaufenden Leiterbahnen sowie Buchsengehäuse
CN111555811B (zh) * 2020-04-22 2023-07-14 青岛海信宽带多媒体技术有限公司 一种光模块
JP2022166864A (ja) * 2021-04-22 2022-11-04 シャープ株式会社 インターポーザ組品および電子部品

Family Cites Families (12)

* Cited by examiner, † Cited by third party
Publication number Priority date Publication date Assignee Title
US3989336A (en) * 1975-04-28 1976-11-02 Molex Incorporated Flexible circuit connector assembly
JPH0218878A (ja) * 1988-07-07 1990-01-23 Olympus Optical Co Ltd フレキシブル基板の導体接続方法
JPH0922760A (ja) 1995-07-04 1997-01-21 Oki Electric Ind Co Ltd 携帯電話におけるfpcと基板の接続構造
US5688143A (en) * 1995-09-26 1997-11-18 Hon Hai Precision Ind. Co., Ltd. Electrical connector for use with flexible printed circuit
JPH09199241A (ja) * 1996-01-19 1997-07-31 Smk Corp フレキシブル基板の中継用コネクタ
JP3479960B2 (ja) 1996-07-10 2003-12-15 住友電装株式会社 Fpc用コネクタ
JPH10233267A (ja) * 1997-02-18 1998-09-02 Amp Japan Ltd フレキシブル回路板用コネクタ
JPH10302914A (ja) 1997-04-25 1998-11-13 Amp Japan Ltd 電気コネクタ
JP3446136B2 (ja) * 2000-06-05 2003-09-16 モレックス インコーポレーテッド 電気コネクタ
JP3666445B2 (ja) * 2001-11-13 2005-06-29 モレックス インコーポレーテッド Fpc用コネクタ
CN2519448Y (zh) * 2001-11-26 2002-10-30 富士康(昆山)电脑接插件有限公司 电连接器
JP4121465B2 (ja) * 2004-01-30 2008-07-23 シャープ株式会社 フレキシブル基板用コネクタおよび回路基板とフレキシブル基板との接続構造

Also Published As

Publication number Publication date
KR100659193B1 (ko) 2006-12-21
CN100385744C (zh) 2008-04-30
DE602005001644D1 (de) 2007-08-30
TW200536192A (en) 2005-11-01
TWI252610B (en) 2006-04-01
KR20060044814A (ko) 2006-05-16
EP1583178B1 (en) 2007-07-18
US20050215109A1 (en) 2005-09-29
JP2005285409A (ja) 2005-10-13
EP1583178A1 (en) 2005-10-05
US7101220B2 (en) 2006-09-05
CN1677753A (zh) 2005-10-05
DE602005001644T2 (de) 2008-04-10

Similar Documents

Publication Publication Date Title
JP4014575B2 (ja) フレキシブル基板用コネクタ付き回路基板および回路基板とフレキシブル基板との接続構造
US8029294B2 (en) Connector set and jointer for use therein
JP4121465B2 (ja) フレキシブル基板用コネクタおよび回路基板とフレキシブル基板との接続構造
WO2005096456A1 (ja) コネクタ
US20090215287A1 (en) Substrate Connecting Member and Connecting Structure
JP2007233325A (ja) 光電フレキシブル配線板の接続構造、並びにコネクタ及び光電フレキシブル配線板
US7559777B2 (en) Electrical connector for connecting electrically an antenna module to a grounding plate
US7442082B2 (en) Shielded connector with folding arrangement ensuring perpendicularity between sidewall and bottom wall of the metal housing
US7114975B2 (en) Card edge connector with position guider
US7165991B2 (en) Connector
JP2010010524A (ja) 電子機器モジュール
EP4191799B1 (en) Circuit board assembly and electronic device
JP4837631B2 (ja) 電気接続部品
JP7393132B2 (ja) 基板用コネクタ、及び基板用コネクタ構造
KR102139593B1 (ko) 인쇄회로기판의 갭 서포터 및 인쇄회로기판의 갭 서포터에 절연 시트를 결합한 패키지
WO2011150307A2 (en) Sim card connector
US20240088596A1 (en) Electric connector
JP4607789B2 (ja) コネクタ及び基板及び携帯機器装置
JP2005142007A (ja) 電気コネクト構造
JP4787718B2 (ja) タブ端子
US9385454B2 (en) Connector and connector assembly including a plurality of contacts which are separated from each other and are arranged in a pitch direction perpendicular to a connection direction
SG176337A1 (en) Sim card connector
CN120127426A (zh) 端子、底座以及摄像头模组
JP2008072009A (ja) 電装基板、および画像形成装置
JP2003223962A (ja) ゼロ挿入力電気コネクタ

Legal Events

Date Code Title Description
A977 Report on retrieval

Free format text: JAPANESE INTERMEDIATE CODE: A971007

Effective date: 20060720

A131 Notification of reasons for refusal

Free format text: JAPANESE INTERMEDIATE CODE: A131

Effective date: 20060801

A521 Request for written amendment filed

Free format text: JAPANESE INTERMEDIATE CODE: A523

Effective date: 20060928

A131 Notification of reasons for refusal

Free format text: JAPANESE INTERMEDIATE CODE: A131

Effective date: 20070130

A521 Request for written amendment filed

Free format text: JAPANESE INTERMEDIATE CODE: A523

Effective date: 20070328

TRDD Decision of grant or rejection written
A01 Written decision to grant a patent or to grant a registration (utility model)

Free format text: JAPANESE INTERMEDIATE CODE: A01

Effective date: 20070904

A61 First payment of annual fees (during grant procedure)

Free format text: JAPANESE INTERMEDIATE CODE: A61

Effective date: 20070911

FPAY Renewal fee payment (event date is renewal date of database)

Free format text: PAYMENT UNTIL: 20100921

Year of fee payment: 3

R150 Certificate of patent or registration of utility model

Free format text: JAPANESE INTERMEDIATE CODE: R150

FPAY Renewal fee payment (event date is renewal date of database)

Free format text: PAYMENT UNTIL: 20110921

Year of fee payment: 4

FPAY Renewal fee payment (event date is renewal date of database)

Free format text: PAYMENT UNTIL: 20120921

Year of fee payment: 5