JP4002581B2 - 光電式エンコーダおよび電子機器 - Google Patents

光電式エンコーダおよび電子機器 Download PDF

Info

Publication number
JP4002581B2
JP4002581B2 JP2005366734A JP2005366734A JP4002581B2 JP 4002581 B2 JP4002581 B2 JP 4002581B2 JP 2005366734 A JP2005366734 A JP 2005366734A JP 2005366734 A JP2005366734 A JP 2005366734A JP 4002581 B2 JP4002581 B2 JP 4002581B2
Authority
JP
Japan
Prior art keywords
light
light receiving
receiving elements
photoelectric encoder
output
Prior art date
Legal status (The legal status is an assumption and is not a legal conclusion. Google has not performed a legal analysis and makes no representation as to the accuracy of the status listed.)
Expired - Fee Related
Application number
JP2005366734A
Other languages
English (en)
Other versions
JP2007040959A (ja
Inventor
教和 岡田
恵子 東
宣孝 岸
Current Assignee (The listed assignees may be inaccurate. Google has not performed a legal analysis and makes no representation or warranty as to the accuracy of the list.)
Sharp Corp
Original Assignee
Sharp Corp
Priority date (The priority date is an assumption and is not a legal conclusion. Google has not performed a legal analysis and makes no representation as to the accuracy of the date listed.)
Filing date
Publication date
Application filed by Sharp Corp filed Critical Sharp Corp
Priority to JP2005366734A priority Critical patent/JP4002581B2/ja
Priority to US11/397,805 priority patent/US7391010B2/en
Publication of JP2007040959A publication Critical patent/JP2007040959A/ja
Application granted granted Critical
Publication of JP4002581B2 publication Critical patent/JP4002581B2/ja
Anticipated expiration legal-status Critical
Expired - Fee Related legal-status Critical Current

Links

Images

Classifications

    • GPHYSICS
    • G01MEASURING; TESTING
    • G01DMEASURING NOT SPECIALLY ADAPTED FOR A SPECIFIC VARIABLE; ARRANGEMENTS FOR MEASURING TWO OR MORE VARIABLES NOT COVERED IN A SINGLE OTHER SUBCLASS; TARIFF METERING APPARATUS; MEASURING OR TESTING NOT OTHERWISE PROVIDED FOR
    • G01D5/00Mechanical means for transferring the output of a sensing member; Means for converting the output of a sensing member to another variable where the form or nature of the sensing member does not constrain the means for converting; Transducers not specially adapted for a specific variable
    • G01D5/26Mechanical means for transferring the output of a sensing member; Means for converting the output of a sensing member to another variable where the form or nature of the sensing member does not constrain the means for converting; Transducers not specially adapted for a specific variable characterised by optical transfer means, i.e. using infrared, visible, or ultraviolet light
    • G01D5/32Mechanical means for transferring the output of a sensing member; Means for converting the output of a sensing member to another variable where the form or nature of the sensing member does not constrain the means for converting; Transducers not specially adapted for a specific variable characterised by optical transfer means, i.e. using infrared, visible, or ultraviolet light with attenuation or whole or partial obturation of beams of light
    • G01D5/34Mechanical means for transferring the output of a sensing member; Means for converting the output of a sensing member to another variable where the form or nature of the sensing member does not constrain the means for converting; Transducers not specially adapted for a specific variable characterised by optical transfer means, i.e. using infrared, visible, or ultraviolet light with attenuation or whole or partial obturation of beams of light the beams of light being detected by photocells
    • G01D5/347Mechanical means for transferring the output of a sensing member; Means for converting the output of a sensing member to another variable where the form or nature of the sensing member does not constrain the means for converting; Transducers not specially adapted for a specific variable characterised by optical transfer means, i.e. using infrared, visible, or ultraviolet light with attenuation or whole or partial obturation of beams of light the beams of light being detected by photocells using displacement encoding scales
    • G01D5/3473Circular or rotary encoders
    • GPHYSICS
    • G01MEASURING; TESTING
    • G01DMEASURING NOT SPECIALLY ADAPTED FOR A SPECIFIC VARIABLE; ARRANGEMENTS FOR MEASURING TWO OR MORE VARIABLES NOT COVERED IN A SINGLE OTHER SUBCLASS; TARIFF METERING APPARATUS; MEASURING OR TESTING NOT OTHERWISE PROVIDED FOR
    • G01D5/00Mechanical means for transferring the output of a sensing member; Means for converting the output of a sensing member to another variable where the form or nature of the sensing member does not constrain the means for converting; Transducers not specially adapted for a specific variable
    • G01D5/12Mechanical means for transferring the output of a sensing member; Means for converting the output of a sensing member to another variable where the form or nature of the sensing member does not constrain the means for converting; Transducers not specially adapted for a specific variable using electric or magnetic means
    • G01D5/244Mechanical means for transferring the output of a sensing member; Means for converting the output of a sensing member to another variable where the form or nature of the sensing member does not constrain the means for converting; Transducers not specially adapted for a specific variable using electric or magnetic means influencing characteristics of pulses or pulse trains; generating pulses or pulse trains
    • G01D5/245Mechanical means for transferring the output of a sensing member; Means for converting the output of a sensing member to another variable where the form or nature of the sensing member does not constrain the means for converting; Transducers not specially adapted for a specific variable using electric or magnetic means influencing characteristics of pulses or pulse trains; generating pulses or pulse trains using a variable number of pulses in a train
    • G01D5/2451Incremental encoders

Landscapes

  • Physics & Mathematics (AREA)
  • General Physics & Mathematics (AREA)
  • Optical Transform (AREA)

Description

この発明は光電式エンコーダに関する。より詳しくは、この発明は、例えばスリットが複数形成された移動体を用いる光透過型および光反射型の光電式エンコーダに関する。
また、この発明はそのような光電式エンコーダを備えた電子機器に関する。電子機器とは、例えば、複写機、プリンタなどの印刷機器や、ロボットなどのFA(ファクトリ・オートメイション)機器を広く含む。
この種の光電式エンコーダとしては、図12Aに示すように、発光部101と受光部102とを相対向させて配置し、それらの発光部101と受光部102との間を、スリットが複数形成された移動体103を通過させて出力を得る光透過型のものと、図12Bに示すように、発光部201と受光部202とを並べて配置し、それらの発光部201と受光部202とに対向する位置を、スリットが複数形成された移動体203を通過させて出力を得る光反射型のものとが知られている。
光透過型の光電式エンコーダとしては、相対向させて配置された発光素子と受光素子との間に、図11の上段に模式的に示すような、移動方向に一定ピッチPで複数のスリットX1,X2,…を有しかつスリット幅が1/2ピッチ(つまり、P/2)であるような移動体40を通過させるものが多い。光透過型では、スリットX1,X2,…は受光素子に対して光を入射させる部分(これを「光オン部」と呼ぶ。)に相当し、スリットX1,X2,…の間の板材(移動体の材料)からなる部分Y1,Y2,…は受光素子に対して光を入射させない部分(これを「光オフ部」と呼ぶ。)に相当する。
例えば特許文献1(特許第3256109号公報)に記載のものは、図11の中段に示すように、移動体40のスリットX1,X2,…の配列方向に沿って、それぞれスリット幅に対して幅が半分(つまり、P/4)であるような4つのフォトダイオードPD1,PD2,PD3,PD4を隙間無く並べて配置して、フォトダイオードPD1,PD2,PD3,PD4が出力する4つの信号(順にA+,B−,A−,B+とする。)を読み取っている。この4つの信号においてA+とA−、B+とB−をそれぞれ比較器で比較して、互いに90°位相の異なる二つの出力信号を得ている。
また、特許文献2(特開2001−99684号公報)に記載のものは、図11の下段に示すように、移動体40のスリットX1,X2,…の配列方向に沿って、それぞれスリット幅に対して幅が同一(つまり、P/2)であるような4つのフォトダイオード13a,13b,13c,13dを3/4ピッチ(つまり、3P/4)で配置して、フォトダイオード13a,13b,13c,13dが出力する4つの信号(順にA+,B+,A−,B−とする。)を読み取っている。この4つの信号においてA+とA−、B+とB−をそれぞれ比較器で比較して、互いに90°位相の異なる二つの出力信号を得ている。
特許第3256109号公報 特開2001−99684号公報
上述の従来例ではともに、出力信号の周波数は、移動体40のスリットX1,X2,…が或るフォトダイオードに対応する位置を通過する周波数(これを「移動周波数」と呼ぶ。)と同一になっている。このため、従来は、微小な周波数変動を読み取ることができず、使用時における分解能向上に限界があった。
ここで、分解能向上のために、移動体のスリットのピッチを小さくすることによって受光素子の出力の周波数を高くすることが考えられる。しかし、スリットのピッチを小さくするのに伴ってスリット幅を狭くしていくと、入力光量が確保できず、SN比(信号対ノイズ比)の低下につながる。また、或るスリットを通した光が入射している受光素子に対して隣のスリットを通した光が回り込む不具合(クロストーク)も考えられる。各信号間のオフセットが大きくなり、特性が悪化する。
このような事情は、光透過型の光電式エンコーダに限られず、光反射型の光電式エンコーダでも同様である。ただし、光反射型では、光透過型とは逆に、スリットが受光素子に対して光を入射させない光オフ部に相当し、スリット間の板材からなる部分(光を反射する部分)が受光素子に対して光を入射させる光オン部に相当する。
そこで、この発明の課題は、移動体に設けられた光オン部(例えば光透過型ではスリット)のピッチにかかわらず、光オン部の移動周波数よりも高い周波数の出力信号を得ることができ、精度の良い信号が得られる光電式エンコーダを提供することにある。
また、この発明の課題はそのような光電式エンコーダを備えた電子機器を提供することにある。
上記課題を解決するため、この発明の光電式エンコーダは、
発光素子と、
上記発光素子からの光が到達し得る領域に、一方向に並べて配置された4個の受光素子とを備え、
上記発光素子から上記受光素子へ、光を入射させる光オン部と光を入射させない光オフ部とを等ピッチで交互に有する移動体の移動量を検出する光学式エンコーダであって、
上記4個の受光素子は、同一の寸法をもち、上記光オン部の幅内で互いの位相が45°異なるピッチで配置され、
上記4個の受光素子のうち、互いに90°位相が異なる2個の受光素子の出力の排他的論理和をとる第1の論理演算部と、互いに90°位相が異なる残りの2個の受光素子の出力の排他的論理和をとる第2の論理演算部とを備え
上記光オン部の幅内に配置された第1群をなす上記4個の受光素子に対して一列に、第2群をなす別の4個の受光素子が上記光オフ部の幅内で互いの位相が45°異なるピッチで配置され、
上記第1群と第2群に属する受光素子のうち、それぞれ互いに180°位相が異なる受光素子対の出力間の差分をとる比較部を備え、
上記第1及び第2の論理演算部は、この比較部が差分をとって出力した差分信号が表す論理値同士の排他的論理和をとり、
上記比較部は上記受光素子対にそれぞれ対応する増幅器を含み、
上記複数の増幅器は、上記複数の受光素子が作る列に沿って、上記一方向に並べて配置され、
上記一方向に関して、上記複数の受光素子がつくる列の中心位置と上記複数の増幅器がつくる列の中心位置とが一致していることを特徴とする。
この発明の光電式エンコーダによれば、上記各論理演算部が排他的論理和(EXOR)をとることにより、光オン部の移動周波数よりも高い周波数の出力信号を得ることができ、精度の良い信号を得ることができる。つまり、この光電式エンコーダでは、上記移動周波数よりも高く、しかも互いに一定角度ずつ異なる位相をもつ複数の出力信号が得られる。得られた複数の出力信号は、発光素子に依存する光量ばらつきの影響を受けにくくなる。また、分解能を向上でき、移動体の移動速度や移動方向等の移動情報をより精密に得ることができる。しかも、このことは、移動体に設けられた光透過部のピッチにかかわらず、光透過部のピッチを維持したままでも可能であるから、SN比の低下やクロストークの問題を引き起こすことがない。
また、この光電式エンコーダでは、比較部が180°だけ位相がずれた出力間の差分をとる。これにより、背景ノイズを精度良く除去することができる。したがって、上記移動体の光オン部と光オフ部の通過を精度良く検出することができる。しかも、上記受光素子は、上記一方向に関して、同一の寸法をもち、かつ、共通の一定ピッチで上記光オン部対応領域と上記光オフ部対応領域とに配置されている。したがって、上記複数の受光素子対から得られた差分信号の群は、上記複数の受光素子対の配置順(つまり、それらの対をなす受光素子の上記光オン部対応領域、上記光オフ部対応領域における配置順)に依存した互いに異なる位相で、かつ同じパルス幅をもつものとなる。したがって、上記各論理演算部が、上記差分信号が表す論理値同士の排他的論理和(EXOR)をとることにより、上記移動周波数よりも高く、しかも一定したデューティ比をもつ出力信号を作成することができる。
また、この光電式エンコーダでは、上記一方向に関して、上記複数の受光素子がつくる列の中心位置と上記複数の増幅器がつくる列の中心位置とが一致している。したがって、上記複数の受光素子から上記複数の増幅器までの各配線の長さを比較的良く揃えることができる。したがって、各配線の長さの相違に起因する信号遅延のばらつきなどを抑制できる。この結果、出力信号の精度が高まる。
一実施形態の光電式エンコーダでは上記各増幅器に電流を供給する同一の供給電流回路を備えたことを特徴とする。
この一実施形態の光電式エンコーダでは、上記比較部の各増幅器に同一の供給電流回路が電流を供給する。したがって、上記各増幅器の増幅率を同一に揃えることが容易にできる。したがって、出力信号の精度が高まる。
一実施形態の光電式エンコーダでは上記複数の受光素子が配置されている同一の半導体チップ上で、上記複数の増幅器は、その半導体チップの中央部に配置されていることを特徴とする。
この一実施形態の光電式エンコーダでは、上記複数の受光素子が配置されている同一の半導体チップ上で、上記複数の増幅器は、その半導体チップの中央部に配置されている。つまり、上記複数の増幅器は、その半導体チップの中央部に集められている。これにより、それらの増幅器の間では、製造プロセス上のばらつきや、応力等によるばらつきが抑えられる。
また、そのように上記複数の増幅器が半導体チップの中央部に配置されている場合、上記各論理演算部、上記各論理演算部の出力を増幅する出力回路部、および上記出力回路部の出力を上記半導体チップの外部へ取り出すための出力端子を上記半導体チップの周辺部(つまり、複数の増幅器を取り囲む周辺部)に配置するのが望ましい。そのようにした場合、上記各論理演算部から出力回路部を介して上記出力端子までが近接した配置となるので、上記各論理演算部から上記出力端子までの配線抵抗を小さくすることができる。
一実施形態の光電式エンコーダでは上記複数の増幅器のうち、互いに隣り合って配置された増幅器同士がそれぞれ対をなし、上記対をなす増幅器が出力した差分信号の表す論理値同士が上記第1または第2の論理演算部によって互いに演算されるようになっていることを特徴とする。
この一実施形態の光電式エンコーダによれば、各増幅器の出力を上記各論理演算部まで導く配線が簡素になる。したがって、上記増幅器が出力する差分信号の間の相互影響や配線抵抗のばらつき等が抑えられる。
この発明の電子機器は、上記発明の光電式エンコーダを備える。
この発明の電子機器では、上記光電式エンコーダが上記移動体の光オン部と光オフ部の通過を精度良く検出する。したがって、その検出結果を用いて、適切な動作をすることができる。
別の局面では、この発明の光電式エンコーダは、
発光素子と、
上記発光素子からの光が到達し得る領域に、一方向に並べて配置された複数の受光素子と
を備え、
上記各受光素子に対応する所定の位置を上記一方向に沿って、上記光が上記受光素子に対して入射する状態、入射しない状態をつくる光オン部および光オフ部を交互に有する移動体が所定の移動周波数で通過するとき、上記各受光素子の出力は、その受光素子に対して上記発光素子からの光が入射し又は入射しないのに応じた値をとり、
上記受光素子の出力から得られる論理値同士を演算して、上記移動周波数と異なる周波数をもつ出力信号を作成する論理演算部を備えたことを特徴とする。
ここで「移動周波数」とは、単位時間内に、或る受光素子に対応する位置を上記移動体の光オン部が通過する回数を意味する。なお、移動体に複数の光オン部が設けられている場合は、移動周波数のカウントにあたっては、個々の光オン部を区別せず、いずれの光オン部が通過しても1回とカウントするものとする。
この発明の光電式エンコーダでは、上記各受光素子に対応する所定の位置を、それらの受光素子が並ぶ一方向に沿って、移動体の光オン部と光オフ部とが所定の移動周波数で交互に通過する。上記光オン部、光オフ部は、上記位置を通過するとき、それぞれ上記発光素子からの光が上記受光素子に対して入射する状態、入射しない状態をつくる。複数の受光素子に対応する位置を上記移動体の光オン部と光オフ部が順次通過するのに伴って、上記複数の受光素子の出力値は順次変化する。そして、論理演算部が、上記受光素子の出力が表す論理値同士を演算して、上記移動周波数と異なる周波数をもつ出力信号を作成する。特に、上記論理演算部が移動周波数より高い周波数をもつ出力信号を作成すれば、分解能を向上でき、移動体の移動速度や移動方向等の移動情報をより精密に得ることができる。しかも、このことは、移動体に設けられた光オン部のピッチにかかわらず、光オン部のピッチを維持したままでも可能であるから、SN比の低下やクロストークの問題を引き起こすことがない。また、上記移動周波数が比較的高い場合に、上記論理演算部が移動周波数より低い周波数をもつ出力信号を作成すれば、波形つぶれを防ぐことも可能である。
なお、上記各受光素子の出力の実際の波形は、矩形波というよりもむしろ、光の回り込みの影響のせいで正弦波に近くなることがある。そこで、上記各受光素子の出力をAD(アナログ−デジタル)変換してデジタルの論理値とするAD変換部を備えるのが望ましい。そのようにした場合、上記各受光素子の出力は矩形波になり、確実にデジタルの論理値を表すものとなる。さらに、上記AD変換を行う前に、上記各受光素子の出力を増幅するのが望ましい。
一実施形態の光電式エンコーダでは、上記論理演算部が作成する出力信号の周波数は上記移動周波数の整数倍であることを特徴とする。
この光電式エンコーダ出力を受ける後段にはASIC(Application Specific Integrated Circuit ; 特定用途用の集積回路)が設けられることが想定される。この一実施形態の光電式エンコーダでは、上記論理演算部が作成する出力信号の周波数は上記移動周波数の整数倍であるから、そのようなASICの動作を考慮すると、制御が円滑にできるため有益である。
一実施形態の光電式エンコーダでは、上記論理演算部が作成する出力信号のデューティ比は上記各受光素子の出力のデューティ比と異なることを特徴とする。
ここで、「デューティ比」とは、高レベル期間と低レベル期間とを繰り返す周期的信号において、高レベル期間と周期との比(=高レベル期間/周期)を意味する。
この一実施形態の光電式エンコーダでは、この光電式エンコーダの後段に設けられるIC(集積回路)のオン時間を短くして消費電流を小さくすることや、上記移動周波数が比較的高い場合に波形つぶれを防ぐことができ、有益である。
一実施形態の光電式エンコーダでは、上記移動体の光オン部と光オフ部とは上記一方向に関して同じ寸法をもつことを特徴とする。
この一実施形態の光電式エンコーダでは、上記移動体の光オン部と光オフ部とは上記一方向に関して同じ寸法をもつ。したがって、上記受光素子は、上記一方向に関して、上記光オン部に対応する領域(これを「光オン部対応領域」と呼ぶ。)と上記光オフ部に対応する領域(これを「光オフ部対応領域」と呼ぶ。)とにそれぞれ、同じ数だけ容易に配置される。そのようにした場合、上記光オン部対応領域に配置された受光素子の出力と上記光オフ部対応領域に配置された受光素子の出力との間の差分をとることによって、背景ノイズを除去することができる。したがって、上記移動体の光オン部と光オフ部の通過を精度良く検出することができる。
一実施形態の光電式エンコーダでは、上記論理演算部は上記受光素子の出力が表す論理値同士の排他的論理和をとることを特徴とする。
この一実施形態の光電式エンコーダでは、上記論理演算部は上記受光素子の出力が表す論理値同士の排他的論理和をとる。排他的論理和は、論理1である入力の数が奇数、偶数、奇数、…と切り替わることで、出力が論理1、論理0、論理1、…と変化する。したがって、上記移動周波数よりも高い周波数の出力信号を容易に作成することができる。
一実施形態の光電式エンコーダでは、上記論理演算部は上記受光素子の出力が表す論理値同士の排他的論理和(EXOR)を複数回とることを特徴とする。
この一実施形態の光電式エンコーダでは、上記論理演算部は上記受光素子の出力が表す論理値同士の排他的論理和を複数回とるので、上記移動周波数よりも高い周波数の出力信号を容易に作成することができる。しかも、排他的論理和を1回だけとる場合に比して、上記出力信号の周波数を高くするとともに、信号数を減らすことができ、有益である。
一実施形態の光電式エンコーダでは、上記論理演算部は上記受光素子の出力が表す論理値同士の排他的論理和(EXOR)をとり、さらに論理積(AND)または否定論理積(NAND)をとることを特徴とする。
この一実施形態の光電式エンコーダでは、上記論理演算部は上記受光素子の出力が表す論理値同士の排他的論理和をとり、さらに論理積または否定論理積とをとるので、上記移動周波数よりも高い周波数の出力信号を容易に作成することができる。しかも、排他的論理和を複数回重ねてゆく場合に比して、論理演算が簡易になる。したがって、上記論理演算部を構成する素子数を減らすことができる。
なお、上記論理積または否定論理積を複数回とっても良い。
一実施形態の光電式エンコーダでは、上記論理演算部は上記受光素子の出力が表す論理値同士の排他的論理和をとって3/4のデューティ比をもつ複数の信号を生成し、それらの信号同士の論理積もしくは否定論理積をとって1/2のデューティ比をもつ信号を得ることを特徴とする。
この一実施形態の光電式エンコーダでは、論理演算の或る段階で論理積または否定論理積を用いるので、排他的論理和を複数回重ねてゆく場合に比して、論理演算が簡易になる。したがって、上記論理演算部を構成する素子数を減らすことができる。
一実施形態の光電式エンコーダでは、上記論理演算部は統合インジェクション論理(IIL;integrated injection logic)素子を含み、この統合インジェクション論理素子を用いて上記演算を行うことを特徴とする。
一実施形態の光電式エンコーダでは、上記論理演算部の構成要素として統合インジェクション論理(IIL;integrated injection logic)素子を含むので、上記論理演算部をバイポーラICで容易に構成することができる。したがって、上記受光素子と上記論理演算部とを一体に作製するのが容易になる。
一実施形態の光電式エンコーダでは、上記受光素子は、上記一方向に関して、上記移動体の光オン部に対応する光オン部対応領域内に複数配置されていることを特徴とする。
この一実施形態の光電式エンコーダでは、上記光オン部対応領域内に複数配置された受光素子が、互いに異なる位相をもつ信号を出力する。したがって、論理演算部が、上記受光素子の出力が表す論理値同士を演算、例えば排他的論理和(EXOR)をとることにより、上記移動周波数よりも高い周波数の出力信号を容易に作成することができる。
一実施形態の光電式エンコーダでは、上記光オン部対応領域内に複数配置された受光素子は、上記一方向に関して、同一の寸法をもち、一定ピッチで配置されていることを特徴とする。
この一実施形態の光電式エンコーダでは、上記光オン部対応領域内に複数配置された受光素子が、互いに異なる位相で、かつ同じパルス幅の信号を出力する。これにより、上記論理演算部は、上記移動周波数よりも高く、しかも一定したデューティ比をもつ出力信号を作成することができる。
なお、既述のように、上記各受光素子の出力をAD(アナログ−デジタル)変換してデジタルの論理値とするAD変換部を備えるのが望ましい。そのようにした場合、上記各受光素子の出力は矩形波になり、確実にデジタルの論理値を表すものとなる。さらに、上記AD変換を行う前に、上記各受光素子の出力を増幅するのが望ましい。
一実施形態の光電式エンコーダでは、上記一方向に関して互いに隣り合う受光素子の光電流取り出し口は、上記一方向に対して実質的に垂直な方向に関して、上記複数の受光素子が作る列の互いに反対側に配置されていることを特徴とする。
移動周波数より高い周波数を得るためには、上記一方向に関して、上記各受光素子の寸法を小さくして、より高分解能にすることが望ましい。しかしながら、単に各受光素子の寸法を小さくしてゆくと、各受光素子が出力する光電流の取り出し口(光電流取り出し口)のために所要の面積を確保できず、配置が困難となる。そこで、この一実施形態の光電式エンコーダでは、上記一方向に関して互いに隣り合う受光素子の光電流取り出し口は、上記一方向に対して実質的に垂直な方向に関して、上記複数の受光素子が作る列の互いに反対側に配置されている。これにより、上記各受光素子の寸法を小さくする場合であっても、各受光素子の光電流取り出し口のために所要の面積を確保でき、配置が可能となる。
一実施形態の光電式エンコーダでは、
上記受光素子は、上記一方向に関して、同一の寸法をもち、かつ、共通の一定ピッチで上記光オン部に対応する光オン部対応領域と上記光オフ部に対応する光オフ部対応領域とに複数ずつ配置され、
上記光オン部対応領域に配置された受光素子と上記光オフ部対応領域に配置された受光素子とを上記一方向に関する配置順に1対1に対応させて、上記1対1に対応させた受光素子対の出力間の差分をとる比較部を備え、
上記論理演算部は、この比較部が差分をとって得られた差分信号が表す論理値に対して演算を行うことを特徴とする。
この一実施形態の光電式エンコーダでは、比較部が、上記光オン部対応領域に配置された受光素子と上記光オフ部対応領域に配置された受光素子とを上記一方向に関する配置順に1対1に対応させて、上記1対1に対応させた受光素子対の出力間の差分をとる。つまり、上記移動周波数に関して180°だけ位相がずれた出力間の差分をとる。これにより、背景ノイズを精度良く除去することができる。したがって、上記移動体の光オン部と光オフ部の通過を精度良く検出することができる。しかも、上記受光素子は、上記一方向に関して、同一の寸法をもち、かつ、共通の一定ピッチで上記光オン部対応領域と上記光オフ部対応領域とに配置されている。したがって、上記複数の受光素子対から得られた差分信号の群は、上記複数の受光素子対の配置順(つまり、それらの対をなす受光素子の上記光オン部対応領域、上記光オフ部対応領域における配置順)に依存した互いに異なる位相で、かつ同じパルス幅をもつものとなる。したがって、論理演算部が、上記差分信号が表す論理値同士を演算、例えば排他的論理和(EXOR)をとることにより、上記移動周波数よりも高く、しかも一定したデューティ比をもつ出力信号を作成することができる。
一実施形態の光電式エンコーダでは、上記論理演算部に対する入力の波形を、立ち上がりおよび立ち下がりが急峻になるように整形する波形整形部を備えたことを特徴とする。
上記移動体の移動周波数が低く設定された場合、上記受光素子の出力の波形変動が緩やかになり、上記論理演算部に対する入力の波形の立ち上がり、立ち下がりも緩やかになる。このため、上記論理演算部に対する入力の立ち上がり中または立ち下がり中にノイズ等の影響を受けて、上記論理演算部に対する入力が論理演算のための閾値を横切って変動し、論理演算部の出力信号にチャタリング現象(高低が短時間で激しく入れ替わって不安定となる現象)が起きるおそれがある。そこで、この一実施形態の光電式エンコーダでは、波形整形部が、上記論理演算部に対する入力の波形を、立ち上がりおよび立ち下がりが急峻になるように整形する。これにより、上記論理演算部に対する入力がノイズ等の影響を受けにくくなって、チャタリング現象が起きるのを抑制できる。
一実施形態の光電式エンコーダでは、
上記比較部が出力した上記差分信号の波形を、立ち上がりおよび立ち下がりが急峻になるように整形する波形整形部を備え、
この波形整形部の出力が上記論理演算部に入力されることを特徴とする。
この一実施形態の光電式エンコーダでは、上記論理演算部に対する入力がノイズ等の影響を受けにくくなって、チャタリング現象が起きるのを抑制できる。
一実施形態の光電式エンコーダでは、上記比較部は上記各受光素子対にそれぞれ対応する対数増幅器を含み、上記各対数増幅器は対応する受光素子対の出力間の差分を対数増幅することを特徴とする。
この一実施形態の光電式エンコーダでは、上記比較部の各対数増幅器は対応する受光素子対の出力間の差分を対数増幅する。したがって、各受光素子に入射する光が微少であっても、SN比(信号対ノイズ比)が確保でき、有益である。
一実施形態の光電式エンコーダでは、上記比較部は、上記各受光素子対のうち上記光オフ部対応領域に配置された受光素子の出力をそれぞれ基準入力とすることを特徴とする。
ここで、「基準入力」とは、二つの入力のうちマイナス入力となるものを指す。例えば、二つの入力A、A′の差分を(A−A′)とするとき、A′を指す。
この一実施形態の光電式エンコーダでは、上記比較部は、上記各受光素子対のうち上記光オフ部対応領域に配置された受光素子の出力をそれぞれ基準入力(つまり、マイナス入力)とする。したがって、上記複数の受光素子対から得られた差分信号の群は、上記移動周波数に関して位相ずれ180°の範囲内で、それらの受光素子対の配置順に一定角度ずつ異なる位相で、かつ同じパルス幅をもつものとなる。したがって、論理演算部が、上記差分信号が表す論理値同士を演算、例えば排他的論理和(EXOR)をとることにより、上記移動周波数よりも高く、しかも一定したデューティ比(高レベル期間と低レベル期間とを繰り返す周期的信号において、高レベル期間/周期を意味する。)をもつ出力信号を精度良く作成することができる。
一実施形態の光電式エンコーダでは、上記論理演算部は、上記移動体の光オン部に対応する光オン部対応領域内に複数配置された受光素子から得られた信号を、その複数の受光素子の配置順に基づいて複数群に分けて演算を行って、互いに異なる位相をもつ複数の出力信号を得ることを特徴とする。
この一実施形態の光電式エンコーダでは、上記論理演算部は、上記複数の受光素子から得られた信号を、その複数の受光素子の配置順に基づいて複数群に分けて演算を行って、互いに異なる位相をもつ複数の出力信号を得る。この結果、上記移動周波数よりも高く、しかも互いに異なる位相をもつ複数の出力信号を得ることができる。
なお、上記論理演算部は、上記複数の受光素子対から得られた差分信号を、その複数の受光素子対の配置順に基づいて複数群に分けて演算を行って、互いに異なる位相をもつ複数の出力信号を得るのが望ましい。
一実施形態の光電式エンコーダでは、上記論理演算部は、上記光オン部対応領域内に複数配置された受光素子から得られた信号を、上記複数の受光素子の上記一方向に関する配置順にしたがって周期的に複数の群に分けることを特徴とする。
この一実施形態の光電式エンコーダでは、上記移動周波数よりも高く、しかも互いに一定角度ずつ異なる位相をもつ複数の出力信号が得られる。得られた複数の出力信号は、発光素子に依存する光量ばらつきの影響を受けにくくなる。
一実施形態の光電式エンコーダでは、上記論理演算部は、上記光オン部対応領域内に複数配置された受光素子から得られた信号を、2つの群に分けることを特徴とする。
この一実施形態の光電式エンコーダでは、上記移動周波数よりも高く、しかも互いに90°だけ異なる位相をもつ2つの出力信号が得られる。得られた2つの出力信号は、発光素子に依存する光量ばらつきの影響を受けにくくなる。
なお、上記論理演算部は、上記複数の受光素子対から得られた差分信号を、上記複数の受光素子対の上記一方向に関する配置順にしたがって交互に2つの群に分けるのが望ましい。
一実施形態の光電式エンコーダでは、上記光オン部対応領域内に複数配置された受光素子は、上記一方向に関して一定ピッチで配置され、かつ上記光オン部対応領域を上記ピッチで等間隔に分割した線上に上記各受光素子の各端が対応して配置されていることを特徴とする。
この一実施形態の光電式エンコーダでは、上記光オン部対応領域内に複数配置された受光素子が、互いに異なる位相で、かつ同じパルス幅の信号を出力する。これにより、上記論理演算部は、上記移動周波数よりも高く、しかも一定したデューティ比をもつ出力信号を作成することができる。しかも、上記光オン部対応領域を上記ピッチで等間隔に分割した線上に上記各受光素子の各端が対応して配置されているので、上記一方向に関して各分割された領域内で上記各受光素子の寸法を最大にできる。したがって、上記各受光素子の受光面を広げて高感度化できる。
一実施形態の光電式エンコーダでは、上記受光素子は、上記一方向に関して、上記移動体の光オン部に対応する光オン部対応領域内にk個(kは2以上の自然数とする。)配置されていることを特徴とする。
この一実施形態の光電式エンコーダでは、上記光オン部対応領域内にk個配置された受光素子が、互いに異なる位相をもつk個の信号を出力する。したがって、論理演算部が、上記受光素子の出力が表す論理値同士を演算、例えば排他的論理和(EXOR)をとることにより、上記移動周波数よりもk倍高い周波数の出力信号を作成することができる。
一実施形態の光電式エンコーダでは、上記kは3以上であり、上記論理演算部は、上記受光素子の出力が表す論理値を、上記一方向に関して上記受光素子が隣り合う順で追加して上記排他的論理和をとることを特徴とする。
一般に、3つ以上の論理値がある場合においてそれらの排他的論理和をとるとき、まず2つの論理値を選んで演算を行ない、その演算結果に対してもう1つの論理値を追加して演算を行ない、これを繰り返していく。光電式エンコーダにおいては発光素子に依存する光量ばらつき、アセンブリばらつき等様々なばらつき条件があるため、演算順序を規則的に行うことで精度が上がる。ここで、この一実施形態の光電式エンコーダでは、上記受光素子の出力が表す論理値を、上記一方向に関して上記受光素子が隣り合う順で順次追加して上記排他的論理和をとる。したがって、得られた出力信号は、発光素子に依存する光量ばらつきの影響等を受けにくくなる。
一実施形態の光電式エンコーダでは、上記kは3以上であり、上記論理演算部は、上記受光素子の出力が表す論理値を、上記光オン部対応領域内で上記一方向に関して両端部に配置された受光素子から交互に中央部に配置された受光素子へ向かう順で追加して上記排他的論理和をとることを特徴とする。
この一実施形態の光電式エンコーダでも同様に、得られた出力信号は、発光素子に依存する光量ばらつきの影響等を受けにくくなる。
一実施形態の光電式エンコーダでは、上記論理演算部は、上記移動体の光オン部に対応する光オン部対応領域内に複数配置された受光素子から得られた信号を、互いに90°だけ異なる位相をもつ2つの群に分けて、上記互いに90°だけ異なる位相をもつ信号同士の排他的論理和をとることを特徴とする。
この一実施形態の光電式エンコーダでは、上記論理演算部は、上記移動体の光オン部に対応する光オン部対応領域内に複数配置された受光素子から得られた信号を、互いに90°だけ異なる位相をもつ2つの群に分けて、上記互いに90°だけ異なる位相をもつ信号同士の排他的論理和をとる。したがって、排他的論理和を1回だけとれば、上記移動周波数の2倍の周波数をもつ出力信号が得られ、有益である。
一実施形態の光電式エンコーダでは、上記論理演算部が作成する出力信号を、上記論理演算部に入力される信号に対して遅延させる遅延部を備えたことを特徴とする。
上記論理演算部が作成した出力信号を半導体チップの外部へ取り出す場合、出力信号を低インピーダンスにするために電流量を増やすことがある。このような場合、出力信号の高低が入れ替わる時に電圧変動が大きくなる。このため、そのような電圧変動が上記論理演算部の入力に還って、誤動作を引き起こすおそれがある。そこで、この一実施形態の光電式エンコーダでは、上記論理演算部が作成する出力信号を、上記論理演算部に入力される信号に対して遅延させる遅延部を備える。これにより、そのような誤動作が防止される。
一実施形態の光電式エンコーダでは、
上記論理演算部が作成した出力信号を増幅するトランジスタを含む出力回路部を備え、
上記トランジスタのベース電流は電源電圧依存電流になっていることを特徴とする。
この一実施形態の光電式エンコーダでは、上記出力回路部りトランジスタのベース電流は電源電圧依存電流になっている。例えば、そのトランジスタがnpnトランジスタであれば、ベース電流を電源電圧依存型にすると、電流を引き抜く能力が向上する。したがって、静電気等の外乱によって電荷がたまった場合でも、出力回路部、ひいては光電式エンコーダの誤動作が抑制される。
別の局面では、この発明の光電式エンコーダは、
発光素子と、
上記発光素子からの光が到達し得る領域に、一方向に並べて配置された複数の受光素子と、
上記各受光素子に対応する所定の位置を上記一方向に沿って所定の移動周波数で交互に通過するとともに、それぞれ上記位置を通過するとき上記光が上記受光素子に対して入射する状態、入射しない状態をつくる光オン部および光オフ部を有する移動体と
を備え、
上記各受光素子の出力は、その受光素子に対して上記発光素子からの光が入射し又は入射しないのに応じた値をとり、
上記受光素子の出力が表す論理値同士を演算して、上記移動周波数と異なる周波数をもつ出力信号を作成する論理演算部を備えたことを特徴とする。
さらに、この光電式エンコーダを光透過型に限定した局面では、次のように定められる。すなわち、この発明の光透過型の光電式エンコーダは、
発光素子と、
上記発光素子に対向し、かつ一方向に並べて配置された複数の受光素子と、
上記発光素子と各受光素子との間を、上記一方向に沿って所定の移動周波数で交互に通過する光透過部と光遮断部とを有する移動体と
を備え、
上記各受光素子の出力は、その受光素子に対して上記発光素子からの光を上記移動体の光透過部が透過または光遮断部が遮断するのに応じた値をとり、
上記受光素子の出力が表す論理値同士を演算して、上記移動周波数よりも高い周波数をもつ出力信号を作成する論理演算部を備えたことを特徴とする。
この発明の光透過型の光電式エンコーダでは、上記発光素子と各受光素子との間を、それらの受光素子が並ぶ一方向に沿って、移動体の光透過部と光遮断部とが所定の移動周波数で交互に通過する。複数の受光素子に対応する位置を上記移動体の光透過部と光遮断部が順次通過するのに伴って、上記複数の受光素子の出力値は順次変化する。そして、論理演算部が、上記受光素子の出力が表す論理値同士を演算して、上記移動周波数よりも高い周波数をもつ出力信号を作成する。したがって、分解能を向上でき、移動体の移動速度や移動方向等の移動情報をより精密に得ることができる。しかも、このことは、移動体に設けられた光透過部のピッチにかかわらず、光透過部のピッチを維持したままでも可能であるから、SN比の低下やクロストークの問題を引き起こすことがない。
以下、この発明を図示の実施の形態により詳細に説明する。
図10は一実施形態の光透過型の光電式エンコーダの検出部の断面を示している。この光電式エンコーダでは、略中央に溝147を有するケース145内の一方の側(図10において上側)に発光部142が収容され、他方の側(図10において下側)に受光部144が収容されている。これにより、発光部142と受光部144とが対向している。発光部142は、リードフレーム148のヘッダ部148aに発光素子としての半導体発光チップ141を搭載し、それを透明樹脂152で封じて構成されている。受光部144は、リードフレーム149のヘッダ部149aに複数の受光素子を含む半導体受光チップ10を搭載し、それを透明樹脂154で封じて構成されている。半導体発光チップ141と半導体受光チップ10とを結ぶ光軸150上における発光部142の前には、発光部142の照射光を平行化するためのコリメーティングレンズ146が配置されている。溝147内には、光オン部としての複数のスリット(集合的に符号Xで表す。)が設けられた円板状の移動体40が挿入されている。
動作時には、この移動体40は、光軸150に平行な図示しない中心軸の周りに一定速度で回転される。リードフレーム148を通して発光チップ141に通電がなされ、発光チップ141が発光し、コリメーティングレンズ146を介して光軸150に沿って光が出射される。受光チップ10は、移動体40のスリットXを通して入射した光を光電変換して、入射光量に応じた信号を出力する。受光チップ10の出力は、後述するような比較部と論理演算部によって処理される。
なお、以下の例では、受光チップ10は複数の受光素子に分割されているものとする(それらは、1チップ内の複数の受光領域であっても良い。)。
図1中の上段には、移動体40のスリットX1,X2,…が設けられた部分を、板面に対して垂直に見たところを模式的に示している。スリットX1,X2,…の間の板材が存在する部分は、受光チップ10に光を入射させない光オフ部Y1,Y2,…を構成している。また、図1中の下段には、受光チップ10(分割された受光素子を符号11a,11b,…で表す。)を模式的に示している。なお、図1では、移動体40の回転方向Dは近似的に直線として表されている(以下の図において同様。)。移動体40は、回転方向Dに沿って、スリットX1,X2,…と光オフ部Y1,Y2,…とを一定ピッチPで交互に有している。スリットX1,X2,…と光オフ部Y1,Y2,…とは回転方向Dに関して同じ1/2ピッチ(つまり、P/2)の寸法をもっている。これにより、回転方向Dに関して、スリットX1に対応する領域(これを「スリット対応領域」と呼ぶ。)20と光オフ部Y1に対応する領域(これを「光オフ部対応領域」と呼ぶ。)21とにそれぞれ、同じ数だけ容易に受光素子を配置できる。
図1の例では、受光素子11a,11b,…は、回転方向Dに沿って、スリット対応領域20に一定ピッチで複数並べて配置されている。各受光素子11a,11b,…は、回転方向Dに沿って、同じ寸法をもっている。
動作時に、移動体40が上述のように一定速度で回転されると、回転方向Dに沿って、スリットX1,X2,…と光オフ部Y1,Y2,…とは、各受光素子11a,11b,…に対して一定の移動周波数(これをfとする。)で交互に通過する状態になる。なお、移動周波数fのカウントにあたっては、個々のスリットX1,X2,…を区別せず、いずれのスリットX1,X2,…が通過しても1回とカウントするものとする。
このとき、図2に示すように、各受光素子11a,11b,…の出力A1+,A2+,…は、その受光素子に対して発光チップ41からの光を移動体40のスリットX1,X2,…が透過するのに応じた高レベル値または光オフ部Y1,Y2,…が遮断するのに応じた低レベル値をとる。そして、各出力A1+,A2+,…は、それぞれ移動周波数fと同じ一定の周波数で、かつ互いに異なる位相で変化する。この発明は、これらの複数の出力A1+,A2+,…が表す論理値(高レベルを論理1、低レベルを論理0とする。)同士を演算して、移動周波数fよりも高い周波数をもつ出力信号を得ようとするものである。例えば、図13に示すように、受光素子によって同一周波数(移動周波数f)で順次位相の異なる8つの信号A1,B1,A2,B2,…,A4,B4が得られたとする。これらの信号を図14に示すように2つずつ、この例では、(A1,A3)(B1,B3)(A2,A4)(B2,B4)というように組み合わせてそれぞれ排他的論理和(EXOR)をとる。これにより、それぞれ2倍の周波数2fをもち45°ずつ順次位相の異なる4つの信号A11,B11,A12,B12を得ることができる。このように、排他的論理和(EXOR)をとることにより、移動周波数fよりも高い周波数の出力信号を容易に作成することができる。なお、図13、図14中の各信号のデューティ比は、いずれも1/2(つまり、高レベル期間:低レベル期間=1:1)である。
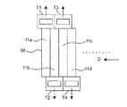
図3は、回転方向Dに関して、スリット対応領域20と光オフ部対応領域21とにそれぞれ、同じ数だけ受光素子を配置した例を示している。このようにした場合、スリット対応領域20に配置された受光素子11a,11b,…の出力A1+,A2+,…と、光オフ部対応領域21に配置された受光素子12a,12b,…の出力A1−,A2−,…との間の差分をとることによって、背景ノイズを除去することができる。したがって、移動体40のスリットX1,X2,…と光オフ部Y1,Y2,…の通過を精度良く検出することができる。
図4は、図1および図3に関して説明した受光素子の配置の規則性(一定ピッチ、同一寸法)を備えた上、より具体的に、スリット対応領域20に4個の受光素子11a,11b,11c,11dを配置するとともに、光オフ部対応領域21に同数の4個の受光素子12a,12b,12c,12dを配置した例を示している。受光素子11a,11b,11c,11dはそれぞれ信号A1+,A2+,A3+,A4+を出力し、受光素子12a,12b,12c,12dはそれぞれ信号A1−,A2−,A3−,A4−を出力する。図5中に示すように、スリット対応領域20内に複数配置された受光素子11a,11b,11c,11dの出力A1+,A2+,A3+,A4+は、それぞれ一定の移動周波数fで、しかも互いに一定角度ずつ異なる位相で順次変化する。同様に、光オフ部対応領域21内に配置された受光素子12a,12b,12c,12dの出力A1−,A2−,A3−,A4−は、それぞれ一定の移動周波数fで、しかも互いに一定角度ずつ異なる位相で順次変化する。出力A1+,A2+,A3+,A4+と出力A1−,A2−,A3−,A4−とは、それぞれ位相が互いに180°だけ異なっている。つまり、位相が反転している。
また、図6は、これらの受光素子の出力を処理する比較部45と、図示しないデジタル変換回路を通して比較部45の出力を受ける論理演算部46とを示している。
比較部45は、4個の比較器41,42,43,44を含んでいる。比較器41は受光素子対11a,12aの出力A1+,A1−間の差分をとり、比較器42は受光素子対11b,12bの出力A2+,A2−間の差分をとり、比較器43は受光素子対11c,12cの出力A3+,A3−間の差分をとり、また、比較器44は受光素子対11d,12dの出力A4+,A4−間の差分をとるようになっている。すなわち、この例では、スリット対応領域20に配置された受光素子11a,11b,11c,11dと光オフ部対応領域21に配置された受光素子12a,12b,12c,12dとを回転方向Dに関する配置順に1対1に対応させている。また、−符号をもつ出力A1−,A2−,A3−,A4−が基準入力となっている。つまり、出力A1+,A2+,A3+,A4+からそれぞれ出力A1−,A2−,A3−,A4−が差し引かれる。比較器41,42,43,44がこのように差分をとることによって、背景ノイズを除去することができる。したがって、移動体40のスリットX1,X2,…と光オフ部Y1,Y2,…の通過を精度良く検出することができる。
論理演算部46は、比較器41,42,43,44の出力が表す論理値同士の排他的論理和(EXOR)をとる排他的論理和回路からなっている。排他的論理和は、論理1である入力の数が奇数、偶数、奇数、…と切り替わることで、出力が論理1、論理0、論理1、…と変化する。したがって、移動周波数fよりも高い周波数の出力信号Aを容易に作成することができる。この4入力の例では、移動周波数fよりも4倍高い周波数4fをもつ出力信号Aを作成することができる。しかも、受光素子の配置の規則性(一定ピッチ、同一寸法)に基づいて、出力信号Aは、一定したデューティ比をもつものとなる。
また、図7は、図1および図3に関して説明した受光素子の配置の規則性(一定ピッチ、同一寸法)を備えた上、より具体的に、スリット対応領域20に8個の受光素子11a,11b,11c,11d,11e,11f,11g,11hを配置するとともに、光オフ部対応領域21に同数の8個の受光素子12a,12b,12c,12d,12e,12f,12g,12hを配置した例を示している。受光素子11a,11b,11c,11d,11e,11f,11g,11hはそれぞれ信号A1+,B1−,A2+,B2−,A3+,B3−,A4+,B4−を出力し、受光素子12a,12b,12c,12d,12e,12f,12g,12hは信号A1−,B1+,A2−,B2+,A3−,B3+,A4−,B4+を出力する。
この例では、図6中に示した比較部45によって、受光素子対11a,12aの出力A1+,A1−間の差分、受光素子対11c,12cの出力A2+,A2−間の差分、受光素子対11e,12eの出力A3+,A3−間の差分、また、受光素子対11g,12gの出力A4+,A4−間の差分がとられる。そして、図6中に示した論理演算部46によって、4つの比較器41,42,43,44の出力が表す論理値同士の排他的論理和(EXOR)がとられる。これにより、移動周波数fよりも4倍高い周波数4fをもつ出力信号Aが作成される。
また、図6中に示した比較部45と同じ構成の比較部によって、受光素子対12b,11bの出力B1+,B1−間の差分、受光素子対12d,11dの出力B2+,B2−間の差分、受光素子対12f,11fの出力B3+,B3−間の差分、また、受光素子対12h,11hの出力B4+,B4−間の差分がとられる。そして、図6中に示した論理演算部46と同じ構成の論理演算部によって、上記比較部(4つの比較器)の出力が表す論理値同士の排他的論理和(EXOR)がとられる。これにより、移動周波数fよりも4倍高い周波数4fをもつ出力信号Bが作成される。
図8の中段には図1の中段に示した従来例の受光素子(フォトダイオード)の配置を示し、それと対比して図8の下段には図7に示した受光素子の配置を示している。その従来例では、図9中に示すように、出力信号A0,B0は、それぞれ移動周波数fと同じ周波数fをもち、互いに90°だけ位相が異なるものであった。これに対して、図8の下段に示す受光素子の配置(図7に示した配置)で、受光素子の出力に対して上述の処理を加えた場合、出力信号A,Bは、それぞれ移動周波数fよりも4倍高い周波数4fをもち、互いに90°だけ位相が異なるものとなる。
これにより、分解能を向上でき、移動体40の移動速度や移動方向等の移動情報をより精密に得ることができる。しかも、このことは、移動体40に設けられたスリットX1,X2,…のピッチにかかわらず、スリットX1,X2,…のピッチを維持したままでも可能であるから、SN比の低下やクロストークの問題を引き起こすことがない。
なお、一般に、3つ以上の論理値がある場合においてそれらの排他的論理和をとるとき、まず2つの論理値を選んで演算を行ない、その演算結果に対してもう1つの論理値を追加して演算を行ない、これを繰り返していく。光電式エンコーダにおいては発光チップ41に依存する光量ばらつき、アセンブリばらつき等様々なばらつき条件があるため、演算順序を規則的に行うことで精度が上がる。
ここで、論理演算部46は、受光素子11a,11b,…の出力が表す論理値を、回転方向Dに関して受光素子11a,11b,…が隣り合う順で順次追加して排他的論理和をとるのが望ましい。これにより、得られた出力信号は、発光チップ41に依存する光量ばらつきの影響等を受けにくくなる。
また、論理演算部46は、受光素子11a,11b,…の出力が表す論理値を、スリット対応領域20内で回転方向Dに関して両端部に配置された受光素子11a,11b,…から交互に中央部に配置された受光素子11a,11b,…へ向かう順で追加して排他的論理和をとっても良い。この場合も、得られた出力信号は、発光チップ41に依存する光量ばらつきの影響等を受けにくくなる。
次に、論理演算を複数回行う場合について説明する。
例えば、まず図15の左半分に示すように、受光素子によって得られた同一周波数(移動周波数f)で順次位相の異なる8つの信号A1,B1,A2,B2,…,A4,B4信号を2つずつ、この例では(A1,A3)(B1,B3)(A2,A4)(B2,B4)というように組み合わせてそれぞれ排他的論理和(EXOR)をとる。これにより、図14を用いて説明したのと同様に、それぞれ2倍の周波数をもち45°ずつ順次位相の異なる4つの信号A11,B11,A12,B12を得る。続いて、図15の右半分に示すように、これらの信号を2つずつ、この例では(A11,A12)(B11,B12)というように組み合わせてそれぞれ排他的論理和(EXOR)をとる。これにより、元の移動周波数fに対してそれぞれ4倍の周波数4fをもち互いに90°だけ位相の異なる2つの信号A21,B21を得る。このように、排他的論理和を2回とることにより、出力信号の周波数を高くするとともに、信号数を減らすことができる。さらに、図16に示すように、これらの信号A21,B21同士の排他的論理和(EXOR)をとって、元の移動周波数fに対してそれぞれ8倍の周波数8fをもつ信号A31を作成することもできる。なお、図15、図16中の各信号のデューティ比は、いずれも1/2(つまり、高レベル期間:低レベル期間=1:1)である。
このように、互いに90°だけ異なる位相をもつ信号同士の排他的論理和(EXOR)を複数回とることによって、元の移動周波数の2倍の周波数をもつ信号を得ることができる。そして、そのような演算を複数回重ねてとることによって、元の移動周波数の整数倍、より詳しくは2倍(ただし、mは自然数である。)の周波数をもつ信号を得ることができる。
また、例えば図17に示すように、それぞれ2倍の周波数をもち45°ずつ順次位相の異なる4つの信号A11,B11,A12,B12を得た後、先の例とは異なり、(A11,B11)(A12,B12)というように組み合わせてそれぞれ排他的論理和(EXOR)をとっても良い。これにより、元の移動周波数fに対してそれぞれ2倍の周波数2fをもち互いに90°だけ位相の異なる2つの信号A22,B22を得る。なお、これらの信号A22,B22のデューティ比は、いずれも3/4(つまり、高レベル期間:低レベル期間=3:1)である。さらに、これらの信号A22,B22同士の論理積(AND)または否定論理積(NAND)をとれば、元の移動周波数fに対してそれぞれ8倍の周波数8fをもつ信号A31を作成することができる。
また、例えば図18に示すように、受光素子によって得られた同一周波数(移動周波数f)で順次位相の異なる8つの信号A1,B1,A2,B2,…,A4,B4信号を2つずつ、この例では(A1,A2)(A3,A4)(B1,B2)(B3,B4)というように組み合わせてそれぞれ排他的論理和(EXOR)をとっても良い。これにより、それぞれ移動周波数fと同じ周波数をもち位相の異なる4つの信号A13,A14,B13,B14が得られる。つまり、信号(A13,A14)間、(B13,B14)間ではそれぞれ位相が90°だけ異なり、信号(A13,B13)間では位相が67.5°だけ異なる。なお、これらの信号A13,A14,B13,B14のデューティ比は、いずれも3/4(つまり、高レベル期間:低レベル期間=3:1)である。次に、これらの信号を2つずつ、この例では(A13,A14)(B13,B14)というように組み合わせてそれぞれ論理積(AND)または否定論理積(NAND)をとる。これにより、元の移動周波数fに対してそれぞれ4倍の周波数4fをもち互いに90°だけ位相の異なる2つの信号A21,B21が得られる。さらに、図19の右半分に示すように、これらの信号A21,B21同士の排他的論理和(EXOR)をとって、元の移動周波数fに対してそれぞれ8倍の周波数8fをもつ信号A31を作成することもできる。
このように、論理演算の或る段階で論理積(AND)または否定論理積(NAND)を用いることで、排他的論理和を複数回重ねてゆく場合に比して、論理演算が簡易になる。したがって、論理演算部を構成する素子数を減らすことができる。これにより、この光電式エンコーダの後段に設けられるIC(集積回路)において、信号処理が容易になり、有益である。
この光電式エンコーダでは、論理演算部の構成要素として、例えば図20に示すような等価回路を持つ統合インジェクション論理素子(以下「IIL素子」という。)を用いるのが望ましい。そのようにした場合、上記論理演算部をバイポーラICで容易に構成することができる。したがって、上記受光素子と上記論理演算部とを一体に作製するのが容易になる。また、IIL素子は1素子がNAND(否定論理積)回路を構成するため、IIL素子を用いると、論理演算部の構成が簡素化される。
例えば図18に示した論理演算は、論理演算部の構成要素としてIIL素子を用いると、図21に示すような回路(論理演算部)で実現される。この図21に示す論理演算部は、受光素子によって得られた信号A1,B1,A2,B2,…,A4,B4信号を増幅する増幅部(AMP)50と、排他的論理和をとる排他的論理和部(EXOR)60と、否定論理積をとる否定論理積回路(NAND)70,71を備えている。増幅部(AMP)50は各信号毎に増幅回路51,52,…,58を備え、排他的論理和部(EXOR)60は2つの信号(A1,A2)(A3,A4)(B1,B2)(B3,B4)毎に排他的論理和回路61,62,63,64を備えている。各排他的論理和回路61,62,63,64には2個ずつ否定論理積回路(NAND)が含まれている。図21中のNAND回路は、それぞれ1個のIIL素子で構成されるので、論理演算部の構成が簡素化される。
図23は、図14に示した論理演算を行う場合の光電式エンコーダの概略ブロック構成を例示している。
この光電式エンコーダは、半導体チップとしての同一の半導体基板80上に一体に形成された受光部81と、電流増幅部82と、ダイオード部83と、比較部としての差動増幅部84と、AD変換部85と、論理演算部86と、出力回路部87と、定電流回路88と、定電圧回路89とを備えている。受光部81は8対の受光素子PDA1+〜PDB4−(実空間では、図7中の受光素子11a,11b,…,12hと同じ順序で回転方向Dに沿って配列されている。)を含んでいる。電流増幅部82は各受光素子に対応する電流増幅器を含み、各電流増幅器は対応する受光素子の出力をアナログ状態のまま増幅する。ダイオード部83はそれらの各電流増幅器に対応するダイオードを含み、それらの各ダイオードは対応する電流増幅器の出力を電圧に変換する。差動増幅部84はそれぞれそれらのダイオード対(したがって、各受光素子対)に対応する差動増幅器51,52,…,58を含み、各差動増幅器51,52,…,58は対応するダイオード対の出力間の差分を対数圧縮して増幅する。つまり、ダイオード対と差動増幅器とでそれぞれ対数増幅器が構成されている。したがって、各受光素子に入射する光が微少であっても、SN比(信号対ノイズ比)が確保できる。AD変換部85は各差動増幅器51,52,…,58に対応するAD変換器ADC1,ADC2,…,ADC8を含み、各AD変換器ADC1,ADC2,…,ADC8は対応する差動増幅器51,52,…,58の出力をAD変換してデジタル論理値を出力する。論理演算部86は、それらの差動増幅器の各対(51,53)(52,54)(55,57)(56,58)、したがってAD変換器の各対(ADC1,ADC3)(ADC2,ADC4)(ADC5,ADC7)(ADC6,ADC8)に対応する排他的論理和回路EXOR1,EXOR2,EXOR#,EXOR4を含む。そして、各排他的論理和回路EXOR1,EXOR2,EXOR#,EXOR4は対応する差動増幅器の各対(51,53)(52,54)(55,57)(56,58)、したがってAD変換器の各対(ADC1,ADC3)(ADC2,ADC4)(ADC5,ADC7)(ADC6,ADC8)間で出力の排他的論理和をとる。出力回路部87は各排他的論理和回路EXOR1,EXOR2,EXOR#,EXOR4に対応する2トランジスタからなる増幅回路OC1,OC2,OC3,OC4を含み、各増幅回路OC1,OC2,OC3,OC4は対応する排他的論理和回路(EXOR)の出力を増幅してそれぞれ出力端子VOA1,VOA2,VOB1,VOB2に出力する。なお、VCCは電源電圧が供給される端子、GNDは接地される端子をそれぞれ表している。定電流回路88、定電圧回路89は、それぞれこの光電式エンコーダの各部へ一定の電流、一定の電圧を供給する。
図22は従来の光電式エンコーダの概略構成を例示している。この光電式エンコーダは、同一の半導体基板180上に一体に形成された受光部181と、電流増幅部182と、ダイオード部183と、比較部としての差動増幅部184と、AD変換部185と、出力回路部187と、定電圧回路189とを備えている。図23中の構成要素と対応する構成要素には、それぞれ100ずつ大きい符号が付されている(個々の説明を省略する)。この図22と図23とを対比すれば分かるように、図23に示す光電式エンコーダでは、取り扱う信号数が多くなっている。したがって、回路に整合性が必要とされる。例えば、図23中に示す各差動増幅器51,52,…,58が図24に示す回路91で構成されるものとする。各差動増幅器51,52,…,58では、電流供給源90(図23中の定電流回路88に含まれる。)から電流が供給されるようになっている。このような場合に、各差動増幅器51,52,…,58の電流供給源90を図25に示すような同一の供給電流回路で構成して、この供給電流回路から各差動増幅器51,52,…,58(図25中ではAMP1,AMP2,AMP3,…と表す。)へ電流を供給することが望ましい。これにより、各差動増幅器51,52,…,58間で電流整合性を持たせることができ、各差動増幅器51,52,…,58の増幅率を同一に揃えることが容易にできる。この結果、出力信号の精度を高めることができる。
また、受光素子PDA1+〜PDB4−の出力電流は数百nAと微小であるため、半導体基板80上での受光素子PDA1+〜PDB4−から差動増幅器51,52,…,58までのレイアウトが重要である。例えば、図26に示すように、実空間では、受光素子PDA1+〜PDB4−(つまり、受光素子11a,11b,…,12h)がつくる列98に沿って差動増幅器51,52,…,58がつくる列99a,99bが配置され、受光素子がつくる列98の中心位置98cと差動増幅器がつくる列99a,99bの中心位置99cとが一致しているのが望ましい。つまり、それらの中心位置98c,99c同士を結ぶ直線(半導体基板80上でD方向に対して垂直な直線)に関して、受光素子がつくる列98と差動増幅器がつくる列99a,99bとが対称に配置されているのが望ましい。このようなレイアウトによれば、複数の受光素子11a,11b,…,12hから複数の差動増幅器51,52,…,58までの各配線97の長さを比較的良く揃えることができる。したがって、各配線97の長さの相違に起因する信号遅延のばらつきなどを抑制できる。この結果、出力信号の精度を高めることができる。また、図26のレイアウトでは、排他的論理和がとられる差動増幅器の各対(51,53)(52,54)(55,57)(56,58)がそれぞれD方向に関して隣同士に配置されているので、差動増幅器の各対(51,53)(52,54)(55,57)(56,58)から排他的論理和回路EXOR1,EXOR2,EXOR#,EXOR4までの配線の長さの相違に起因する信号遅延のばらつきなどを抑制できる。したがって、出力信号の精度をさらに高めることができる。
また、図27は、受光素子11a,11b,…,12hの配置(図7におけるのと同じ配置)をさらに詳しく示している。この図27に示すように、D方向に関して、受光素子11a,11b,…,12hの各端は、光オン部対応領域20、光オフ部対応領域21をそれぞれ等間隔に8分割した線V,V,…上に対応して配置されている。したがって、D方向に関して各分割された領域内で各受光素子11a,11b,…,12hの寸法を最大にできる。したがって、受光素子11a,11b,…,12hの受光面を広げて高感度化できる。
図28は、受光素子11a,11b,…,12hが出力する光電流の取り出し口(これを「光電流取り出し口」と呼ぶ。)T1,T2,T3,T4,…の具体的な配置を示している(簡単のため、左端部の4つの受光素子11a,11b,11c,11dに関する部分のみを示している。)。
移動周波数より高い周波数を得るためには、D方向に関して、各受光素子11a,11b,…,12hの寸法を小さくして、より高分解能にすることが望ましい。しかしながら、単に各受光素子の寸法を小さくしてゆくと、各受光素子の光電流取り出し口のために所要の面積を確保できず、配置が困難となる。そこで、この例では、図28中に示すように、D方向に関して互いに隣り合う受光素子の光電流取り出し口T1,T2,T3,T4,…は、D方向に対して垂直な方向に関して、複数の受光素子11a,11b,…,12hが作る列98の互いに反対側に配置されている。詳しくは、左端から奇数番目の受光素子11a,11c,…の光電流取り出し口T1,T3,…は列98の上側(図28において)に設けられる一方、左端から偶数番目の受光素子11b,11d,…の光電流取り出し口T2,T4,…は列98の下側(図28において)に設けられている。これにより、図28中に示すようにD方向に関して各受光素子11a,11b,…,12hの寸法を小さくする場合であっても、各受光素子の光電流取り出し口T1,T2,T3,T4,…のために所要の面積を確保でき、配置が可能となる。
図29は、図23における論理演算部86の直前に、AD変換部85に代えて波形整形部79を設けたブロック構成を例示している。なお、この図29中の波形発生部78は、図23中に示した受光部81、電流増幅部82、ダイオード部83、及び比較部としての差動増幅部84を包括的に示している。
上記移動体40の移動周波数fが低く設定された場合、受光素子PDA1+〜PDB4−(つまり、受光素子11a,11b,…,12h)の出力の波形変動が緩やかになり、図31A中に示すように論理演算部86に対する入力F3,F4の波形の立ち上がり、立ち下がりも緩やかになる。このため、論理演算部86に対する入力の立ち上がり中または立ち下がり中にノイズ等の影響を受けて、論理演算部86に対する入力F3,F4が論理演算のための閾値を横切って変動し、論理演算部86の出力信号F2にチャタリング現象(高低が短時間で激しく入れ替わって不安定となる現象)Jが起きるおそれがある。その場合、出力回路部87の出力F1も変動する。そこで、図29の例では、波形整形部79が、図31B中に示すように論理演算部86に対する入力C3,C4(この例ではC4)の波形を、立ち上がりおよび立ち下がりが急峻になるように整形する。これにより、差動増幅部84の出力波形C2の立ち上がりおよび立ち下がりが急峻になる(なお、図31Bは図31Aに比して横方向(時間軸方向)に拡大されている。)。この結果、上記論理演算部86に対する入力がノイズ等の影響を受けにくくなって、チャタリング現象が起きるのを抑制できる。その場合、論理演算部86の出力C2の遷移が安定するとともに出力回路部87の出力C1の遷移も安定する。
具体的には、この波形整形部79は、図30A中に示す回路例79A(破線で囲まれた範囲)のように、電源Vccと接地GNDとの間に直列に介挿された定電流源791とnpnトランジスタ792とからなっている。npnトランジスタ792は、差動増幅部84の出力(npnトランジスタ844のコレクタ電位)をベースに受けて増幅し、コレクタに出力する。
なお、図30B中に示す回路例79Bのように、npnトランジスタ792のエミッタを、差動増幅部84におけるnpnトランジスタ844のエミッタとGND側の抵抗855との間に接続しても良い。このようにした場合、npnトランジスタ792のオン時にこのnpnトランジスタ792のエミッタ電位を引き上げることができ、したがって誤動作を防止できる。
図32は、実空間で、半導体チップとしての半導体基板80がリードフレーム149のヘッダ部149aに搭載された実装例を示している。リードフレーム149は、ヘッダ部149aと一体に連なって導通している接地用のリードピン149bと、電源電圧が供給されるリードピン149cと、信号出力用の4本のリードピン149d,149e,149f,149gとを含んでいる。
この例では、半導体基板80の表面で、一辺(図32では下辺)80aに沿って受光素子11a,11b,…,12hがつくる列98が配置されている。また、左辺80bに沿って電源端子VCC、接地端子GNDが配置されている。上辺80cに沿って出力端子VOA1,VOA2が配置され、右辺80dに沿って出力端子VOB1,VOB2が配置されている。各リードピン149b,149c,149d,149e,149f,149gは、それぞれAuワイヤ189b,189c,189d,189e,189f,189gによって対応する端子(ボンディングパッド)GND,VCC,VOA1,VOA2,VOB1,VOB2に接続されている。
また、この例では、図26中に示したレイアウトとは若干異なり、差動増幅部84をなす差動増幅器51,52,…,58は、半導体基板80の表面の中央部に集められて配置されている。これにより、それらの増幅器の間では、製造プロセス上のばらつきや、応力等によるばらつきを抑えることができる。
一方、この例では、図26中に示したレイアウトと同様に、差動増幅器51,52,…,58のうち、出力した差分信号の表す論理値の排他的論理和がとられる差動増幅器の各対(51,53)(52,54)(55,57)(56,58)がそれぞれ隣同士に配置されている。したがって、図32では図示を省略されているが、図23中に示した論理演算部86や出力回路部87の構成要素を、差動増幅部84を取り囲むように配置することによって、差動増幅器の各対(51,53)(52,54)(55,57)(56,58)から排他的論理和回路EXOR1,EXOR2,EXOR#,EXOR4までの配線が簡素になり、差分信号の間の相互影響や配線抵抗のばらつき等が抑えられる。それとともに、それらの配線の長さの相違に起因する信号遅延のばらつきなどを抑制できる。したがって、出力信号の精度をさらに高めることができる。また、論理演算部86から出力回路部87を介して出力端子VOA1,VOA2,VOB1,VOB2までが近接した配置となるので、論理演算部86から出力端子VOA1,VOA2,VOB1,VOB2までの配線抵抗を小さくすることができる。
図33は、実空間で、半導体チップとしての図32中に示したのと同じ半導体基板80が、別のリードフレーム169のヘッダ部169aに搭載された実装例を示している。この実装例は、半導体基板80から4つの出力信号ではなく、2つの出力信号のみを取り出すものである。
リードフレーム169は、ヘッダ部169aと一体に連なって導通している接地用のリードピン169bと、電源電圧が供給されるリードピン169cと、信号出力用の2本のリードピン169d,169eとを含んでいる。各リードピン169b,169c,169d,169eは、それぞれAuワイヤ199b,199c,199d,199eによって対応する端子(ボンディングパッド)GND,VCC,VOB1,VOB2に接続されている。
半導体基板80の表面上のレイアウト、特に半導体基板80の周辺部に沿って各端子GND,VCC,VOB1,VOB2が配置されているお蔭で、同じ半導体基板80を用いながら、このようにタイプの異なる製品を作製することができる。
なお、論理演算部86が作成する出力信号を半導体基板80の外部へ取り出す場合、出力信号を低インピーダンスにするために電流量を増やすことがある。このような場合、出力信号の高低が入れ替わる時に電圧変動が大きくなる。このため、そのような電圧変動が論理演算部86の入力に還って、誤動作を引き起こすおそれがある。そのような場合、論理演算部86が作成する出力信号を、論理演算部86に入力される信号に対して遅延させる遅延部を設けるのが望ましい。これにより、そのような誤動作が防止される。このような遅延部は、公知のものであり、容量等(図示せず)を導入することによって構成される。ただし、使用する周波数にあわせ容量値を調整する必要がある。
また、図23中の例では、出力回路部87をなす増幅回路OC1,OC2,OC3,OC4のトランジスタにはベース電流として定電流が供給されているが、これに限られるものではない。例えば図34に示す増幅回路OCは、排他的論理和回路からの信号をベースに受けて増幅する前段npnトランジスタ871と、そのトランジスタ871の出力をベースに受けて増幅する後段npnトランジスタ872とを備えている。この後段npnトランジスタ872のベースは抵抗873を介して電源Vccに接続されている。つまり、トランジスタ872のベース電流は電源電圧依存電流になっている。このようにベース電流を電源電圧依存型にすると、電流を引き抜く能力が向上する。したがって、静電気等の外乱によって電荷がたまった場合でも、出力回路部87、ひいてはこの光電式エンコーダの誤動作が抑制される。
上述の光電式エンコーダを備えた電子機器では、光電式エンコーダが移動体40のスリットX1,X2,…と光オフ部Y1,Y2,…の通過を精度良く検出する。したがって、その検出結果を用いて、適切な動作をすることができる。
なお、この実施形態では光透過型の光電式エンコーダに関して説明したが、当然ながら、それに限られるものではない。この発明は、光反射型の光電式エンコーダに関しても、同様に適用される。ただし、既述のように、光反射型では、光透過型とは逆に、移動体のスリットが受光素子に対して光を入射させない光オフ部に相当し、スリット間の板材からなる部分(光を反射する部分)が受光素子に対して光を入射させる光オン部に相当する。
この発明の一実施形態の光電式エンコーダにおける移動体と受光素子の配置を模式的に示す図である。 図1中の受光素子の出力と、その出力が表す論理値同士を演算して得られる出力信号を示す図である。 スリット対応領域および光オフ部対応領域に受光素子を配置した状態を模式的に示す図である。 スリット対応領域および光オフ部対応領域に4個ずつ受光素子を配置した状態を模式的に示す図である。 図4中の受光素子の出力を示す図である。 一実施形態の光電式エンコーダが備える比較部と論理演算部の構成を示す図である。 スリット対応領域および光オフ部対応領域に8個ずつ受光素子を配置し、それらの受光素子を移動体の回転方向に沿った配置順に交互に2つの群に分けた状態を示す図である。 移動体に対する、従来例における受光素子の配置と、一実施形態における受光素子の配置とを対比して模式的に示す図である。 図8に示した従来例における受光素子の出力と、一実施形態における受光素子の出力とを対比して示す図である。 一実施形態の光電式エンコーダの検出部の構成を示す図である。 従来例の光電式エンコーダにおける移動体と受光素子の配置を模式的に示す図である。 光透過型の光電式エンコーダにおける移動体、発光部、受光部の空間的配置を模式的に示す図である。 光反射型の光電式エンコーダにおける移動体、発光部、受光部の空間的配置を模式的に示す図である。 図7中の8個ずつ受光素子の出力から得られる信号の波形を模式的に示す図である。 図13中の各信号を用いて行う論理演算を模式的に説明する図である。 図13中の各信号を用いて行う論理演算を模式的に説明する図である。 図13中の各信号を用いて行う論理演算を模式的に説明する図である。 図13中の各信号を用いて行う論理演算を模式的に説明する図である。 図13中の各信号を用いて行う論理演算を模式的に説明する図である。 図13中の各信号を用いて行う論理演算を模式的に説明する図である。 1つのIIL素子の等価回路を模式的に示す図である。 図18に示す論理演算を実行するように、IIL素子を用いて構成した論理演算部の回路構成を示すブロック図である。 従来例の光電式エンコーダのブロック構成を示す図である。 図18に示す論理演算を実行するように適合された、本発明の一実施形態の光電式エンコーダのブロック構成を示す図である。 図23における差動増幅器の回路構成を示すブロック図である。 上記各差動増幅器の電流供給源を、同一の供給電流回路で構成した例を示す図である。 上記一実施形態の光電式エンコーダにおける半導体基板上での受光素子と差動増幅器のレイアウトを模式的に示す図である。 上記一実施形態の光電式エンコーダにおける移動体のスリット、光オフ部と受光素子との配置を模式的に示す図である。 上記受光素子の光電流取り出し口の具体的な配置を示す図である。 上記論理演算部の直前に波形整形部を設けたブロック構成を例示する図である。 上記波形整形部を構成する回路例を示す図である。 上記波形整形部を構成する別の回路例を示す図である。 上記波形整形部を設けない場合の各部の信号波形を示す図である。 上記波形整形部を設けた場合の各部の信号波形を示す図である。 半導体基板がリードフレームのヘッダ部に搭載された実装例を示す図である。 図32中に示したのと同じ半導体基板が、別のリードフレームのヘッダ部に搭載された実装例を示す図である。 出力回路部をなす増幅回路のトランジスタのベース電流を電源電圧依存型にした構成例を示す図である。
符号の説明
10 半導体受光チップ
11a,11b,…,12a,12b,… 受光素子
20 スリット対応領域
21 光オフ部対応領域
40 移動体
80 半導体基板
X1,X2,… スリット
Y1,Y2,… 光オフ部

Claims (5)

  1. 発光素子と、
    上記発光素子からの光が到達し得る領域に、一方向に並べて配置された4個の受光素子とを備え、
    上記発光素子から上記受光素子へ、光を入射させる光オン部と光を入射させない光オフ部とを等ピッチで交互に有する移動体の移動量を検出する光学式エンコーダであって、
    上記4個の受光素子は、同一の寸法をもち、上記光オン部の幅内で互いの位相が45°異なるピッチで配置され、
    上記4個の受光素子のうち、互いに90°位相が異なる2個の受光素子の出力の排他的論理和をとる第1の論理演算部と、互いに90°位相が異なる残りの2個の受光素子の出力の排他的論理和をとる第2の論理演算部とを備え
    上記光オン部の幅内に配置された第1群をなす上記4個の受光素子に対して一列に、第2群をなす別の4個の受光素子が上記光オフ部の幅内で互いの位相が45°異なるピッチで配置され、
    上記第1群と第2群に属する受光素子のうち、それぞれ互いに180°位相が異なる受光素子対の出力間の差分をとる比較部を備え、
    上記第1及び第2の論理演算部は、この比較部が差分をとって出力した差分信号が表す論理値同士の排他的論理和をとり、
    上記比較部は上記受光素子対にそれぞれ対応する増幅器を含み、
    上記複数の増幅器は、上記複数の受光素子が作る列に沿って、上記一方向に並べて配置され、
    上記一方向に関して、上記複数の受光素子がつくる列の中心位置と上記複数の増幅器がつくる列の中心位置とが一致していることを特徴とする光電式エンコーダ。
  2. 請求項に記載の光電式エンコーダにおいて
    上記各増幅器に電流を供給する同一の供給電流回路を備えたことを特徴とする光電式エンコーダ。
  3. 請求項に記載の光電式エンコーダにおいて
    上記複数の受光素子が配置されている同一の半導体基板上で、上記複数の増幅器は、その半導体基板の中央部に配置されていることを特徴とする光電式エンコーダ。
  4. 請求項記載の光電式エンコーダにおいて
    上記複数の増幅器のうち、互いに隣り合って配置された増幅器同士がそれぞれ対をなし、上記対をなす増幅器が出力した差分信号の表す論理値同士が上記第1または第2の論理演算部によって互いに演算されるようになっていることを特徴とする光電式エンコーダ。
  5. 請求項1乃至のいずれか一つに記載の光電式エンコーダを備えた電子機器。
JP2005366734A 2005-04-06 2005-12-20 光電式エンコーダおよび電子機器 Expired - Fee Related JP4002581B2 (ja)

Priority Applications (2)

Application Number Priority Date Filing Date Title
JP2005366734A JP4002581B2 (ja) 2005-04-06 2005-12-20 光電式エンコーダおよび電子機器
US11/397,805 US7391010B2 (en) 2005-04-06 2006-04-05 Photoelectric encoder and electronic equipment with increased resolution

Applications Claiming Priority (3)

Application Number Priority Date Filing Date Title
JP2005109732 2005-04-06
JP2005188541 2005-06-28
JP2005366734A JP4002581B2 (ja) 2005-04-06 2005-12-20 光電式エンコーダおよび電子機器

Publications (2)

Publication Number Publication Date
JP2007040959A JP2007040959A (ja) 2007-02-15
JP4002581B2 true JP4002581B2 (ja) 2007-11-07

Family

ID=37082335

Family Applications (1)

Application Number Title Priority Date Filing Date
JP2005366734A Expired - Fee Related JP4002581B2 (ja) 2005-04-06 2005-12-20 光電式エンコーダおよび電子機器

Country Status (2)

Country Link
US (1) US7391010B2 (ja)
JP (1) JP4002581B2 (ja)

Cited By (1)

* Cited by examiner, † Cited by third party
Publication number Priority date Publication date Assignee Title
US8668252B2 (en) 2009-12-16 2014-03-11 Honda Motor Co., Ltd. Vehicle body floor structure

Families Citing this family (9)

* Cited by examiner, † Cited by third party
Publication number Priority date Publication date Assignee Title
JP2008083019A (ja) * 2006-08-30 2008-04-10 Sharp Corp 光電式エンコーダおよびそれを用いた電子機器
US7820957B2 (en) * 2007-07-05 2010-10-26 Sharp Kabushiki Kaisha Optical encoder for detecting movement of a moving object and electronic equipment including the optical encoder
JP4808197B2 (ja) * 2007-09-06 2011-11-02 シャープ株式会社 光学式エンコーダおよびそれを備えた電子機器
TWI383129B (zh) * 2008-11-19 2013-01-21 Everlight Electronics Co Ltd 對立式光編碼器
JP4777444B2 (ja) * 2009-03-03 2011-09-21 シャープ株式会社 デコーダ装置および移動制御装置
TWI648520B (zh) 2016-10-21 2019-01-21 財團法人工業技術研究院 光學編碼裝置
TWI680648B (zh) 2018-12-26 2019-12-21 財團法人工業技術研究院 編碼盤、檢光器、光學絕對式旋轉編碼器及編碼值輸出、偵錯與除錯的方法
JP6775043B2 (ja) * 2019-01-25 2020-10-28 大銀微系統股▲分▼有限公司Hiwin Mikrosystem Corp. 光学式エンコーダ及びその制御方法
TWI716246B (zh) 2019-12-31 2021-01-11 財團法人工業技術研究院 光學編碼器

Family Cites Families (18)

* Cited by examiner, † Cited by third party
Publication number Priority date Publication date Assignee Title
US4079251A (en) * 1976-08-12 1978-03-14 Osann Jr Robert Incremental optical encoder system for absolute position measurement
DE2967525D1 (en) * 1978-12-19 1985-11-07 Toshiba Kk Encoder for length or angle measuring devices with high accuracy
JPS56153816U (ja) 1980-04-16 1981-11-17
US4360730A (en) * 1980-10-16 1982-11-23 Itek Corporation Encoder alignment method and apparatus
US4575684A (en) * 1985-02-22 1986-03-11 Honeywell Inc. Differential phase shift keying receiver
FR2585904B1 (fr) * 1985-07-30 1987-11-13 Mcb Lecteur de code optique incremental, notamment du type entierement integre
JPS62108114A (ja) 1985-11-07 1987-05-19 Nissan Motor Co Ltd パルスエンコ−ダ
JPH04110614A (ja) 1990-08-31 1992-04-13 Tamagawa Seiki Co Ltd エンコーダ
JP3179493B2 (ja) * 1992-04-22 2001-06-25 日本電産コパル株式会社 アブソリュートエンコーダ
JPH0712924A (ja) 1993-06-29 1995-01-17 Mitsubishi Electric Corp 妨害波発生装置
JPH0726719U (ja) 1993-10-21 1995-05-19 シナノケンシ株式会社 エンコーディングディスク
JP3256109B2 (ja) 1995-09-25 2002-02-12 シャープ株式会社 光電式エンコーダ
JPH09222435A (ja) * 1995-12-11 1997-08-26 Nippon Signal Co Ltd:The 回転停止センサ
JPH11122195A (ja) 1997-10-14 1999-04-30 Sharp Corp 受光素子内蔵集積回路
US6355927B1 (en) 1999-08-20 2002-03-12 Agilent Technologies, Inc. Interpolation methods and circuits for increasing the resolution of optical encoders
JP3375578B2 (ja) 1999-09-28 2003-02-10 シャープ株式会社 光電式エンコーダ
JP2002022497A (ja) 2000-07-10 2002-01-23 Olympus Optical Co Ltd 光学式エンコーダ
JP4951884B2 (ja) * 2005-06-29 2012-06-13 ミツミ電機株式会社 エンコーダ装置

Cited By (1)

* Cited by examiner, † Cited by third party
Publication number Priority date Publication date Assignee Title
US8668252B2 (en) 2009-12-16 2014-03-11 Honda Motor Co., Ltd. Vehicle body floor structure

Also Published As

Publication number Publication date
US20060226349A1 (en) 2006-10-12
JP2007040959A (ja) 2007-02-15
US7391010B2 (en) 2008-06-24

Similar Documents

Publication Publication Date Title
JP4002581B2 (ja) 光電式エンコーダおよび電子機器
US8772705B2 (en) Interpolation circuitry for optical encoders
US7943897B2 (en) Optical encoder and electronic equipment
US8330098B2 (en) High resolution, high speed, miniaturized optical encoder
US7439489B2 (en) Photoelectric encoder and electronic equipment using the same
CN100510648C (zh) 编码器装置
CN101339054B (zh) 光学式编码器以及电子设备
JP2005017116A (ja) 光学式エンコーダ用受光素子
KR20170090845A (ko) 이미지 센싱 장치 및 그의 구동 방법
CN100462688C (zh) 光电式编码器及电子设备
US7982175B2 (en) Miniaturized single track optical encoder system with integrated index channel(s)
JP4672542B2 (ja) 光電式エンコーダおよび電子機器
US6838654B2 (en) Photodetection system and circuit for amplification
US7820957B2 (en) Optical encoder for detecting movement of a moving object and electronic equipment including the optical encoder
US7411520B2 (en) Encoder
JP4022530B2 (ja) 光電式エンコーダ
JP2010183345A (ja) トランスインピーダンス増幅器及びアナログ/デジタル変換回路
JP2006119037A (ja) 光電式エンコーダ
JP4054788B2 (ja) 光電式エンコーダ
JP2005257381A (ja) 光電式エンコーダ
CN1595959B (zh) 图象传感器
US4897544A (en) Signal processor of pulse encoder
JP2001194185A (ja) 光学式絶対値エンコーダ
JP3946561B2 (ja) 光電式エンコーダの原点検出装置
JP2004212320A (ja) 光電式エンコーダ

Legal Events

Date Code Title Description
A975 Report on accelerated examination

Free format text: JAPANESE INTERMEDIATE CODE: A971005

Effective date: 20061115

A131 Notification of reasons for refusal

Free format text: JAPANESE INTERMEDIATE CODE: A131

Effective date: 20061121

A521 Request for written amendment filed

Free format text: JAPANESE INTERMEDIATE CODE: A523

Effective date: 20070117

A131 Notification of reasons for refusal

Free format text: JAPANESE INTERMEDIATE CODE: A131

Effective date: 20070529

A521 Request for written amendment filed

Free format text: JAPANESE INTERMEDIATE CODE: A523

Effective date: 20070720

TRDD Decision of grant or rejection written
A01 Written decision to grant a patent or to grant a registration (utility model)

Free format text: JAPANESE INTERMEDIATE CODE: A01

Effective date: 20070814

A61 First payment of annual fees (during grant procedure)

Free format text: JAPANESE INTERMEDIATE CODE: A61

Effective date: 20070817

FPAY Renewal fee payment (event date is renewal date of database)

Free format text: PAYMENT UNTIL: 20100824

Year of fee payment: 3

R150 Certificate of patent or registration of utility model

Free format text: JAPANESE INTERMEDIATE CODE: R150

Ref document number: 4002581

Country of ref document: JP

Free format text: JAPANESE INTERMEDIATE CODE: R150

FPAY Renewal fee payment (event date is renewal date of database)

Free format text: PAYMENT UNTIL: 20110824

Year of fee payment: 4

FPAY Renewal fee payment (event date is renewal date of database)

Free format text: PAYMENT UNTIL: 20110824

Year of fee payment: 4

FPAY Renewal fee payment (event date is renewal date of database)

Free format text: PAYMENT UNTIL: 20120824

Year of fee payment: 5

FPAY Renewal fee payment (event date is renewal date of database)

Free format text: PAYMENT UNTIL: 20120824

Year of fee payment: 5

FPAY Renewal fee payment (event date is renewal date of database)

Free format text: PAYMENT UNTIL: 20130824

Year of fee payment: 6

LAPS Cancellation because of no payment of annual fees