JP3967467B2 - 遊技機 - Google Patents
遊技機 Download PDFInfo
- Publication number
- JP3967467B2 JP3967467B2 JP20329098A JP20329098A JP3967467B2 JP 3967467 B2 JP3967467 B2 JP 3967467B2 JP 20329098 A JP20329098 A JP 20329098A JP 20329098 A JP20329098 A JP 20329098A JP 3967467 B2 JP3967467 B2 JP 3967467B2
- Authority
- JP
- Japan
- Prior art keywords
- symbol
- display
- variable display
- game
- reach
- Prior art date
- Legal status (The legal status is an assumption and is not a legal conclusion. Google has not performed a legal analysis and makes no representation as to the accuracy of the status listed.)
- Expired - Lifetime
Links
- 238000000034 method Methods 0.000 description 49
- 238000005034 decoration Methods 0.000 description 34
- 238000012545 processing Methods 0.000 description 19
- 238000010586 diagram Methods 0.000 description 18
- 230000006854 communication Effects 0.000 description 12
- 238000012544 monitoring process Methods 0.000 description 11
- 238000013461 design Methods 0.000 description 7
- 238000004891 communication Methods 0.000 description 6
- 241000722921 Tulipa gesneriana Species 0.000 description 4
- OMFRMAHOUUJSGP-IRHGGOMRSA-N bifenthrin Chemical compound C1=CC=C(C=2C=CC=CC=2)C(C)=C1COC(=O)[C@@H]1[C@H](\C=C(/Cl)C(F)(F)F)C1(C)C OMFRMAHOUUJSGP-IRHGGOMRSA-N 0.000 description 3
- 230000005540 biological transmission Effects 0.000 description 3
- 239000004973 liquid crystal related substance Substances 0.000 description 3
- 230000000694 effects Effects 0.000 description 2
- 230000014509 gene expression Effects 0.000 description 2
- 244000145845 chattering Species 0.000 description 1
- 238000006243 chemical reaction Methods 0.000 description 1
- 239000002131 composite material Substances 0.000 description 1
- 238000012937 correction Methods 0.000 description 1
- 230000001419 dependent effect Effects 0.000 description 1
- 230000002708 enhancing effect Effects 0.000 description 1
- 230000001771 impaired effect Effects 0.000 description 1
- 238000005096 rolling process Methods 0.000 description 1
- 238000012546 transfer Methods 0.000 description 1
Images
Landscapes
- Pinball Game Machines (AREA)
- Display Devices Of Pinball Game Machines (AREA)
Description
【発明の属する技術分野】
この発明は、複数の可変表示領域に識別情報を可変表示する可変表示装置を有し、これら複数の可変表示領域の表示結果が予め定められた組み合わせとなったときに特定の遊技価値を付与し得る遊技機に関する。
【0002】
【従来の技術】
パチンコ遊技機等、遊技領域に発射した遊技球の入賞等にしたがって、液晶表示器(LCD)、ブラウン管(CRT)等からなる可変表示装置に複数の識別情報(特図)を複数の可変表示領域に可変表示すると共に、その可変表示結果が予め定められた組み合わせとなったときに特典遊技を発生する等の特定の遊技価値を付与するようにした遊技機がある。
【0003】
【発明が解決しようとする課題】
このような遊技機にあっては、遊技盤の領域は限られており、その領域内に配置される可変表示装置の画面の大きさには制限がある。
【0004】
この一方、遊技の興趣を高めるべく、可変表示装置に特典遊技等の遊技価値の付与に関連する特図、および背景画、キャラクタ等の装飾図柄を有効に表示することが望ましい。
【0005】
しかし、限られた表示領域(画面)では、表現力を高め、また識別性の良い表示を実現するのは難しい。
【0006】
可変表示装置をあまり大きくすると、遊技球が流下する領域が制限されてしまい、遊技機本来の遊技性を損なうことにもなる。
【0007】
ファミコン等の大きな表示領域を備えるゲーム機を見慣れた遊技者にとっては、このような遊技機の表示領域の表示は、表現力、識別性が低いと感じる。
【0008】
また、最近は可変表示装置として液晶表示器、ブラウン管を使用したものが遊技機の主流となっており、また画像による表現の自由度からいろいろな装飾表示が行われている。この場合の装飾表示として、一般的にリーチ(例えば、最後に停止する可変表示領域の識別情報の停止結果によって所定の組み合わせを発生する可能性がある状態)における装飾表示が挙げられるが、このリーチ装飾表示では、特図の背面領域を利用してキャラクタ、実写像等を用いた装飾表示を専ら行っている。
【0009】
したがって、特図の表現力は低く、リーチにあるときにリーチを必ずしも強調して表現できず、特定の遊技価値を付与する可能性のあるリーチ遊技の十分な興趣は得にくいのである。
【0010】
この発明は、特図の表現力、識別性を高め、遊技の高い興趣を確保することを目的としている。
【0011】
【課題を解決するための手段】
第1の発明は、表示部における複数の可変表示領域に識別情報を可変表示する可変表示装置を有し、これら複数の可変表示領域の表示結果が予め定められた組み合わせとなったときに特定の遊技価値を付与し得る遊技機において、可変表示領域に可変表示している識別情報の可変表示速度を識別情報を遊技者が視認可能な低速に切換える可変表示速度切換手段と、低速に切換えて可変表示を行う可変表示領域の識別情報を拡大表示すると共に、少なくとも拡大表示する識別情報を、識別可能な部分を残して、一部が表示部外に外れるように移動して表示する拡大移動表示手段と、識別可能な部分を残して、一部が表示部外に外れて表示された状態で識別情報を可変表示する可変表示手段と、を備える。
【0012】
第2の発明は、第1の発明において、前記拡大移動表示手段は、前記低速に切換えて可変表示を行う可変表示領域の識別情報を、可変表示方向と直交する方向に移動させることで識別可能な部分を残して、一部が表示部外に外れるようにしたことを特徴とする。
【0013】
【発明の実施の形態】
以下、本発明の実施の形態を図面に基づいて説明する。
【0014】
図1は遊技機(パチンコ遊技機)の遊技盤1の正面図である。
【0015】
遊技盤1の表面には、ガイドレール2で囲われた遊技領域3のほぼ中央に遊技画像等を表示する画像表示装置(可変表示装置=特別図柄表示装置)4が、画像表示装置4の下方に変動入賞装置5が配設される。
【0016】
画像表示装置4は、例えばLCD(液晶表示器)、CRT(ブラウン管)等から構成される(本実施形態ではLCDを用いている)。変動入賞装置5の直上方には電動式のチューリップ(普通電動役物=普電)6を有する始動口7が配設され、始動口7には入賞球を検出する特図始動センサが設けられる。画像表示装置4の上部には、始動口7の入賞記憶を特図始動記憶(最大4個)として表示する特図始動記憶表示器8が配設される。
【0017】
始動口7への遊技球の入賞(特図始動記憶)に基づき、画像表示装置4の画像遊技つまり画像表示装置4の画面(表示部)の例えば左側、中央、右側の複数の可変表示領域に複数の識別情報(図柄=特図)の可変表示が行われ、これらの識別情報の可変表示が停止する過程でリーチ状態(例えば、最後に停止する可変表示領域の識別情報の停止結果によって所定の大当たりの組み合わせの可能性がある状態)が発生すると、リーチ遊技が行われる。可変表示領域の全ての可変表示が停止して、所定の大当たりの組み合わせが発生すると、大当たりが発生して、変動入賞装置5が所定期間、球を受け入れない閉状態(遊技者に不利な状態)から球を受け入れやすい開状態(遊技者に有利な状態)に変換される大当たり遊技が行われる。
【0018】
変動入賞装置5内には、変動入賞装置5に入賞した入賞球数をカウントするカウントセンサならびに継続入賞口への入賞球(V入賞)を検出する継続センサが設けられる。
【0019】
始動口7の基部には、数字等を表示する7セグメントLED等からなる普通図柄表示器10が配設され、画像表示装置4の左右の遊技領域に配設されたスルーチャッカー形式のゲート(普図始動ゲート)11には、遊技球の通過を検出する普図始動ゲートセンサが設けられる。遊技球がゲート11を通過した際の普図始動記憶は、普通図柄表示器10の回りの普図始動記憶表示器12に表示される。
【0020】
遊技球のゲート11の通過(普図始動記憶)に基づき、普通図柄表示器10の可変表示が行われ、これが所定の数字等で停止すると、始動口7の電動チューリップ6が開かれる。
【0021】
遊技機の下部には、図示しないが打球発射装置の操作部が配設され、その操作によって遊技球(パチンコ球)が1個ずつ遊技領域へ打ち出される。13,14は一般入賞口、15は遊技球の転動誘導部材としての風車を示す。16は装飾用のランプで、図示しないが遊技盤1にはその他各種装飾用のランプやLED等が設けられる。なお、大部分の遊技釘は省略されている。
【0022】
遊技の制御を行う遊技制御装置(役物制御装置)20は、パチンコ遊技等に必要な遊技制御を行う、CPU、ROM、RAM等を内蔵したワンチップの遊技用マイクロコンピュータ等から構成され、ROMに格納したプログラムおよび始動口7の特図始動センサ、ゲート11の普図始動ゲートセンサ、変動入賞装置5内のカウントセンサ、継続センサ等からの信号に基づいて、画像表示装置4の表示制御装置30に表示制御信号を送ると共に、普通図柄表示器10、特図始動記憶表示器8、普図始動記憶表示器12、始動口7の電動式チューリップ6の駆動用ソレノイド(普通電動役物ソレノイド)、変動入賞装置5の駆動用ソレノイド(大入賞口ソレノイド)、装飾用のランプ、LED等を制御する装飾表示制御装置(図示しない)、遊技に必要な効果音の生成、合成を行う音制御装置(図示しない)に制御信号を出力する。
【0023】
なお、マイクロコンピュータのCPUは、一定の周期(例えば、2msec)毎にリセット割込を行って、その割込毎に遊技プログラムを予め定めた所定番地より実行する。
【0024】
表示制御装置30は、図2のようにCPU31、ROM32、RAM33、DMAC(ダイレクトメモリアクセスコントローラ)34、インターフェイス35、VDC(ビデオディスプレイコントローラ)36、画像表示装置(LCD)4の画像データを格納したフォントROM37、γ補正回路38、クロック39等から構成され、遊技制御装置20からの表示制御信号に基づいて、画像表示装置4の画像を制御する。
【0025】
CPU31は、遊技制御装置20から表示制御信号が送られると、インターフェイス35を介して通信割り込みを受けて、その表示情報の読み込みを行い、その表示情報に基づいた画面情報を作成して、RAM33に記憶する。この画面情報に基づき、VDC36がフォントROM37の該当画像データを取り込み、画像表示装置4の画面の水平走査、垂直走査を行って、画像表示装置4に所定の画像を表示する。
【0026】
次に、遊技制御装置20、表示制御装置30の動作内容を図3〜図5のフローチャートに基づいて説明する。
【0027】
遊技制御装置20は、図3のメインフローに示すように、S1の電源投入判定処理、S2の入力処理、S3の出力処理、S4の排出制御情報編集処理、S5の排出制御装置通信処理、S6のスルー処理、S7の音声制御装置通信処理、S8の排出制御情報編集処理、S9の排出制御装置通信処理、S10の装飾制御装置通信処理、S11の表示制御装置通信処理、S12の乱数生成処理、S13のセンサ入力処理、S14の特別図柄ゲーム処理、S15の普通図柄ゲーム処理、S16の図柄変動処理、S17の装飾制御情報編集処理、S18のソレノイド編集処理、S19の不正監視処理、S20の表示制御装置送信情報編集処理、S21の外部端子情報編集処理、S22の残余時間処理を実行する。
【0028】
S4〜S11の処理ならびにS14〜S21の処理は、それぞれ時分割(8分割)処理する。例えば、リセット割込が2msecであれば、S4〜S11の処理ならびにS14〜S21の処理は、それぞれ16msec(2msec×8)に1回行う。
【0029】
S1の電源投入判定処理は、電源投入時のみRAMの初期化等の初期化処理を行い、投入後はスルーする。
【0030】
S2の入力処理は、入力信号のチャタリング除去および論理変換を行う。
【0031】
S3の出力処理は、S18のソレノイド編集処理、S21の外部端子情報編集処理等でセットされた出力データの出力を行う。
【0032】
S4、S8の排出制御情報編集処理は、入賞球があると、賞球数を排出制御装置(図示しない)に送信するための賞球数データを設定する。
【0033】
S5、S9の排出制御装置通信処理は、排出制御情報編集処理で設定された賞球数データを排出制御装置に送信する。
【0034】
この場合、例えば始動口7の入賞の場合は7個賞球データを、それ以外の入賞口の入賞の場合は13個賞球データを送信して、この賞球数データに基づき、排出制御装置が球排出機構を駆動して賞球数データ分の賞球排出を行う。
【0035】
S6のスルー処理は、処理を行わず、スルーする。これは、画像表示装置4が画面を更新する周期が1/60msec(約16msec)なので、遊技制御装置20より表示更新情報を送る周期(S11の表示制御装置通信処理)を合わせるためのものである。
【0036】
S7の音声制御装置通信処理は、音声制御装置に音データを送信し、スピーカーより放音させる。
【0037】
S10の装飾制御装置通信処理は、S17の装飾制御情報編集処理で編集しセットされた装飾制御データを遊技盤1の装飾用のランプ、LED等の表示制御を行う装飾表示制御装置へ送信する。
【0038】
S11の表示制御装置通信処理は、S20の表示制御装置送信情報編集処理で編集しセットされた表示制御データを表示制御装置30へ送信する。
【0039】
S12の乱数生成処理は、画像表示装置4の大当たり遊技を決定するための大当たり用乱数、リーチモード(リーチの動作態様、装飾表示パターン等)を決定するためのリーチモード決定用乱数、普通図柄表示器10の普通電動役物を開閉するか否かを決定するための普図用乱数、大当たり停止図柄を選択するための大当たり停止図柄選択用乱数等を生成する。
【0040】
大当たり停止図柄選択用乱数は、リセット割込毎(制御周期)に前回値に+1して所定範囲の乱数を生成、例えば大当たり停止図柄が「0,0,0」、「1,1,1」、「2,2,2」…「9,9,9」の10種類ある場合は、0〜9の範囲の乱数を生成する。
【0041】
なお、S22の残余時間処理は、一連のプログラムの終了後、次のリセット割込がかかるまで、所定周期のカウンタを回して、画像遊技のハズレ停止図柄を作成する。
【0042】
S13のセンサ入力処理は、特図始動センサ、普図始動ゲートセンサ、継続センサ、カウントセンサ等の監視処理を行う。
【0043】
特図始動センサの監視処理は、特図始動センサの入力信号に基づいて、始動口7に入賞があった場合は、その入賞を特図始動記憶として記憶(最大4個)ならびに賞球用に記憶すると共に、その入賞毎に、S12の乱数生成処理で生成される大当たり用乱数、リーチモード決定用乱数、大当たり停止図柄選択用乱数を、およびS22の残余時間処理で作成されるハズレ停止図柄を取得する。
【0044】
普図始動ゲートセンサの監視処理は、普図始動ゲートセンサの入力信号に基づき、普図始動記憶、普図用乱数の取得を行う。継続センサの監視処理は、変動入賞装置5内の継続入賞口に遊技球が入賞すると、Vフラグをセットする。カウントセンサの監視処理は、変動入賞装置5への遊技球の入賞数をカウントすると共に、その入賞数が所定値になると、カウント終了フラグをセットする。
【0045】
S14の特別図柄ゲーム処理は、始動記憶監視処理、図柄停止監視処理、大当たり処理を行う。
【0046】
始動記憶監視処理は、始動口7の入賞記憶(特図始動記憶)がある場合、その入賞に伴い取得した大当たり用乱数値が大当たり値かどうかを判定する。同じく取得したリーチモード決定用乱数値に基づき、リーチモードを選択する。大当たりの場合、大当たり停止図柄選択用乱数値に基づき、大当たり停止図柄を取得する。
【0047】
図柄停止監視処理は、画像表示装置4の各図柄の可変表示の停止を監視すると共に、リーチの場合にリーチモード情報を表示制御装置30へ送信するためのデータの設定、最終的に停止した停止図柄を判別する処理を行う。
【0048】
大当たり処理は、大当たり遊技を管理制御する。例えば、変動入賞装置5を開放して、所定時間もしくは所定個数の遊技球の入賞で、変動入賞装置5を閉鎖する遊技を所定サイクル行う制御情報をセットしたり、大当たり中に画像表示装置4に表示される装飾表示制御データをセットしたりする。
【0049】
S15の普通図柄ゲーム処理は、普図始動ゲートセンサの入力(普図始動記憶)があると、普通図柄表示器10の可変表示を行い、取得してある普図用乱数に対応する数字等にてその可変表示の停止を指令して、当たりの場合に始動口7の電動式チューリップ6を開放する処理を行う。
【0050】
S16の図柄変動処理は、S14の特別図柄ゲーム処理の情報を基に、画像表示装置4の図柄の可変表示を行うための図柄情報を設定する。図柄を表示する表示位置データ等を送ることで、図柄の回転を管理する。
【0051】
S17の装飾制御情報編集処理は、ランプ・LED等の制御データを設定する。
【0052】
S18のソレノイド編集処理は、S14の特別図柄ゲーム処理、S15の普通図柄ゲーム処理でセットされたデータに基づいて、ソレノイドデータを設定する。
【0053】
S19の不正監視処理は、変動入賞装置5の開放時等に、カウントセンサの入力等を基にノーカウント不正等の監視を行う。
【0054】
S20の表示制御装置送信情報編集処理は、S14の特別図柄ゲーム処理、S16の図柄変動処理でセットされたデータに基づいて、表示制御装置30へ送信するための表示情報を編集する。
【0055】
この表示情報の例を図6に示す。この場合、呼び込みモード時(始動口7の入賞記憶がない)は、左側、中央、右側の各可変表示領域に表示する図柄番号データ、図柄位置データ、遊技の概要を表す呼び込み表示モード等をセットする。
【0056】
図柄変動モード時は、各可変表示領域に可変表示するための図柄番号データ、図柄位置データ、可変表示モード(通常回転)等をセットする。図柄停止モード時は、各可変表示領域に停止する図柄番号データ、図柄位置データ、停止モード等をセットする。
【0057】
リーチのときは、選択したリーチモードが通常リーチの場合は、停止している図柄番号データ、図柄位置データ、および所定の可変表示領域のリーチ表示を行う図柄番号データ、図柄位置データ、通常リーチモードデータ(通常リーチ装飾表示)等をセットする。リーチAの場合は、左側、中央の可変表示領域に停止している図柄番号データ、図柄位置データ、および最後に停止する右側の可変表示領域のリーチ表示を行う図柄番号データ、図柄位置データ、リーチA表示モードデータ(リーチA装飾表示)等をセットすると共に、サブモードに拡大移動表示指令データをセットする。リーチBの場合は、左側、右側の可変表示領域に停止している図柄番号データ、図柄位置データ、および最後に停止する中央の可変表示領域のリーチ表示を行う図柄番号データ、図柄位置データ、リーチB表示モードデータ(リーチB装飾表示)等をセットすると共に、サブモードに拡大表示指令データをセットする。リーチCの場合は、左側の可変表示領域に停止している図柄番号データ、図柄位置データ、右側の可変表示領域のリーチを発生する際に表示する図柄番号データ、図柄位置データ、および最後に停止する中央の可変表示領域のリーチ表示を行う図柄番号データ、図柄位置データ、リーチC表示モードデータ(リーチC装飾表示)等をセットすると共に、サブモードに右側の可変表示領域の図柄のリーチ前回転時に拡大移動表示指令データ、中央の可変表示領域の図柄の低速可変表示時に拡大表示指令データをセットする。
【0058】
このように、図柄番号データ、図柄位置データを逐次セットし表示制御装置30へ送信することで、表示制御装置30は受信したデータに基づいて指示された表示位置へ図柄を表示制御する。即ち、図柄の可変(高速、低速等)および停止が図柄データおよび図柄位置データにより管理される。
【0059】
大当たりのファンファーレモード時、インターバルモード時、大当たり動作モード時、大当たり終了モード時は、大当たり図柄番号データ、変動入賞装置5の連続作動回数データ、変動入賞装置5の入賞球のカウント数データ、V入賞データ、ならびにそれぞれファンファーレ表示モード、インターバル表示モード、大当たり動作表示モード、大当たり終了表示モードの装飾情報をセットする。
【0060】
S21の外部端子情報編集処理は、大当たり信号、確変信号、画像遊技の図柄停止信号等を、外部(管理装置)へ知らせるために、該当する事象のデータを編集する。
【0061】
図4、図5は表示制御装置30の動作内容を示す。
【0062】
表示制御装置30は、図4のように初期設定処理の後、画像作成フラグの有無を判定する(S51,S52)。
【0063】
画像作成フラグ有りの場合、画像作成フラグをクリアして、次の画像のためのモード別分岐処理、スプライト処理を行う(S53〜S55)。
【0064】
モード別分岐処理は、受信した表示情報(モード、データ)に基づく画面情報をRAM33に作成する。
【0065】
図柄変動モードの場合、各可変表示領域の図柄を可変表示する回転モードを設定すると共に、通常回転等における図柄画面情報、背景画面情報、動画キャラクタ画面情報を設定する。
【0066】
図柄停止モードの場合は、図柄の停止表示を行うように設定する。
【0067】
リーチモードにおける通常リーチモード、リーチAモード、リーチBモードの場合は、最後に停止する可変表示領域の図柄の可変表示を、それぞれ通常リーチ回転、スペシャルリーチ回転、拡大移動表示、拡大表示に基づき行うように図柄画面情報を設定する共に、それぞれ通常リーチ装飾表示、リーチA,B装飾表示に基づき画像表示を行うように背景画面情報、動画キャラクタ画面情報を設定する。リーチCモードの場合は、リーチを発生する際の可変表示領域の図柄の可変表示を、拡大移動表示に基づき、最後に停止する可変表示領域の図柄の可変表示を、スペシャルリーチ回転、拡大表示に基づき行うように図柄画面情報を設定する共に、リーチC装飾表示に基づき画像表示を行うように背景画面情報、動画キャラクタ画面情報を設定する。
【0068】
大当たりのファンファーレモード、インターバルモード、大当たり動作モード、大当たり終了モードの場合は、それぞれ該当する背景画面情報、動画キャラクタ画面情報、図柄画面情報、その他の情報を設定する。
【0069】
スプライト処理は、図柄、背景画、動画キャラクタのオブジェクトをモード別分岐処理で作成された情報に基づきVDC36の制御単位に展開してRAM33に記憶する。
【0070】
図5の割り込み処理は、遊技制御装置20より通信割り込みがあると、その転送データの受信処理を行い、表示情報を読み込む(S64,S65)。
【0071】
V BLANK割り込み毎に、描画する画面情報をVDC36に転送すると共に、画像作成フラグをセットする(S61〜S63)。
【0072】
この画面情報に基づき、VDC36がフォントROM37の該当画像データを取り込み、画像表示装置4の画面の水平走査、垂直走査を行って、画像表示装置4に描画する。
【0073】
次に、画像表示装置4の画像遊技の表示例を、図7〜図12、図13〜図18の画面図に基づき説明する。
【0074】
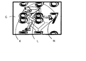
図7〜図12は、リーチAの場合を示すもので、表示制御装置30は図柄変動モード、図柄番号データ、図柄位置データ等の受信に基づき、図7のように画面(表示部)Gの左側、中央、右側の可変表示領域の図柄K(第1図柄)、図柄L(第2図柄)、図柄M(第3図柄)の可変表示(図の上方から下方へ図柄を高速で回動する)を開始する。
【0075】
詳しくは、遊技制御装置20から送信されてくる動作内容を示すモードデータ(この場合、図柄変動モード)に基づき背景画面情報、動画キャラクタ画面情報等を設定し、さらに、図柄番号データ、図柄位置データに基づき図柄を指示された表示位置へ設定することで、逐次送信されてくる図柄番号データ、図柄位置データに基づき、各図柄が可変および停止制御される。
【0076】
この場合、図柄番号データ、図柄位置データに基づいて、可変表示を開始してから、左側の可変表示領域の図柄Kの回動速度を減速して、図8のように図柄Kの可変表示を停止し、さらに、逐次送信されてくる図柄番号データ、図柄位置データに基づき、中央の可変表示領域の図柄Lの回動速度を減速して、図9のように図柄Lの可変表示を停止する。
【0077】
このとき、図柄K,Lが同一となってリーチの発生となるので、遊技制御装置20は、モードデータをリーチAモードデータ(リーチA表示モードデータ)に切換えると共に、図柄番号データ、図柄位置データの送信を行う。モードデータがリーチAモードデータに切換えられたので、表示制御装置30は図9のようにリーチA装飾表示に基づく背景画、動画キャラクタの装飾表示を行う。この装飾表示は、リーチ発生から図柄Mの可変表示を停止する過程にて、例えば野球競技にてピッチャーが投球して、そのボールをバッターが打つか、打ったボールがホームラン等になるか、あるいは三振するかの画像を表示する。
【0078】
リーチを発生した後(リーチAモードデータ受信後)、サブモードデータが第3図柄拡大移動表示指令データになった場合に図柄Mの拡大移動表示を行い、上記と同様に遊技制御装置20から送信されてくる図柄番号データ、図柄位置データに基づき、図10のように右側の可変表示領域の図柄Mの回動速度を低速度(図柄Mを遊技者が識別可能な速度:スペシャルリーチ回転)に切換えて図柄Mの拡大移動表示を行う。
【0079】
この拡大移動表示は、図柄Mを所定量拡大して表示すると共に、図柄Mを識別可能な部分を残して、一部が画面G外に外れるように移動して表示する。
【0080】
この後、逐次送信されてくる図柄番号データ、図柄位置データに基づいて、さらに減速して、モードデータの停止モードデータへの切換り、サブモードデータの第3図柄通常表示指令データへの切換り、および図柄番号データ、図柄位置データに基づいて、図11のように図柄Mの可変表示を停止すると共に、図12のように図柄Mを元の大きさにして停止表示する。
【0081】
この図柄K、図柄L、図柄Mの組み合わせが所定の組み合わせであれば、大当たりとなり、大当たり遊技を発生する。
【0082】
図13〜図18は、リーチCの場合を示すもので、表示制御装置30は図柄変動モード、図柄番号データ、図柄位置データ等の受信に基づき、図13のように画面(表示部)Gの左側、中央、右側の可変表示領域の図柄K(第1図柄)、図柄L(第2図柄)、図柄M(第3図柄)の可変表示(図の上方から下方へ図柄を高速で回動する)を開始する。
【0083】
遊技制御装置20から送信されてくる動作内容を示すモードデータ(この場合、図柄変動モード)に基づき背景画面情報、動画キャラクタ画面情報等を設定し、さらに、図柄番号データ、図柄位置データに基づき図柄を指示された表示位置へ設定することで、逐次送信されてくる図柄番号データ、図柄位置データに基づき、各図柄が可変表示して、左側の可変表示領域の図柄Kの回動速度を減速して、図14のように図柄Kの可変表示を停止する。そして、サブモードデータが第3図柄拡大移動表示指令データに切換ると、図15のように図柄Mを拡大表示すると共に、図柄番号データ、図柄位置データに基づき拡大表示した図柄Mを低速度(図柄Mを遊技者が視認可能な速度)に可変表示し(リーチ前回転)、図柄Mの回動速度をさらに減速して、サブモードデータが第3図柄通常表示指令データに切換えられたことに基づいて図柄Mを通常表示として、図16、図17のように図柄Mの可変表示を停止する。
【0084】
このとき、図柄K,Mが同一となってリーチを発生すると、遊技制御装置20は、モードデータをリーチCモードデータ(リーチC表示モードデータ)に切換えると共に、図柄番号データ、図柄位置データの送信を行う。モードデータがリーチCモードデータに切換えられたので、表示制御装置30は図17のようにリーチC装飾表示に基づく背景画、動画キャラクタの装飾表示を行う。この装飾表示は、リーチ発生から図柄Lの可変表示を停止する過程にて、例えばサッカー競技にてゴールに向けてシュートして、ボールがゴールするか、外れるか等の画像を表示する。
【0085】
リーチを発生した後(リーチCモードデータ受信後)、サブモードデータが第2図柄拡大表示指令データになった場合に図柄Lの拡大表示を行い、上記と同様に遊技制御装置20から送信されてくる図柄番号データ、図柄位置データに基づき、図18のように中央の可変表示領域の図柄Lの回動速度を低速度(図柄Lを遊技者が視認可能な速度)に切換えて図柄Lの拡大表示を行う。
【0086】
この後、逐次送信されてくる図柄番号データ、図柄位置データに基づき、さらに減速して、モードデータの停止モードデータへの切換り、サブモードデータの第2図柄通常表示指令データへの切換り、および図柄番号データ、図柄位置データに基づいて、図柄Lの可変表示を停止すると共に、図柄Lを元の大きさに表示する。
【0087】
この図柄K、図柄L、図柄Mの組み合わせが所定の組み合わせであれば、大当たりとなり、大当たり遊技を発生する。
【0088】
このような構成により、リーチAの場合、左側、中央の可変表示領域の図柄K,Lの停止によってリーチが発生すると、これらの背面領域にリーチの装飾表示が行われ、最後に停止される右側の可変表示領域の図柄Mの可変表示速度が、遊技者が図柄Mを視認可能な低速度に切換えられると共に、切換えられた可変表示領域の図柄Mが拡大移動表示されるので、図柄Mの表示が強調され、図柄Mの低速の可変表示の表現力が高められる。
【0089】
この場合、図柄Mは、識別可能な部分を残して、一部が画面外に外れるように移動して、拡大表示されるので、図柄Mの高い識別性が得られると共に、広い装飾表示領域が確保され、装飾表示の高い自由度が得られる。
【0090】
このため、図柄Mがいずれの図柄で停止するかどうかの表現力が高まり、趣向に富んだ装飾表示を行え、リーチ遊技の高い表現力が確保される。
【0091】
また、リーチCの場合、左側の可変表示領域の図柄Kの停止後、右側の可変表示領域の図柄Mの可変表示速度が、遊技者が図柄Mを視認可能な低速度に切換えられると共に、切換えられた可変表示領域の図柄Mが拡大移動表示される。
【0092】
このため、図柄Mの表示が強調され、図柄Mが図柄Kと同一の図柄で停止してリーチを発生する否かの表現力が高められる。
【0093】
また、この後図柄Mが図柄Kと同一の図柄で停止してリーチが発生すると、これらの背面領域にリーチの装飾表示が行われ、最後に停止される中央の可変表示領域の図柄Lの可変表示速度が、遊技者が図柄Lを視認可能な低速度に切換えられると共に、切換えられた可変表示領域の図柄Lが拡大表示される。
【0094】
このため、図柄Lがいずれの図柄で停止するかどうかの表現力が高まり、趣向に富んだ装飾表示を行え、リーチ遊技の高い表現力が確保され、したがって遊技の興趣を十分に向上できる。
【0095】
一方、リーチ時、図柄の可変表示速度が低速に切換わった際に図柄が拡大表示されるので、遊技者にリーチであることを的確に喚起できる。
【0096】
即ち、遊技者が画面外つまり球の流れを見ていたとしても、図柄の拡大変化によって、遊技者がリーチであることに気付くので、遊技者はすぐに画面を見るようになる。このため、遊技者にリーチ発生の喜びを与えられると共に、リーチの装飾表示を有効に行え、したがって遊技者に興趣に富んだリーチ遊技を十分に楽しませることができる。また、遊技者がリーチに気付かずに大当たりが発生して慌てるようなことはなく、大当たりが発生しそうな場合、遊技者はリーチ遊技を楽しみつつ、大当たりの準備(箱の用意等)をしながら、結果を待つことができる。
【0097】
また、リーチが発生するか否かの前、図柄の可変表示速度が低速に切換わって図柄が拡大表示されるので、遊技者にリーチが発生しそうかどうかを喚起できる。
【0098】
このため、遊技者にリーチへの高い期待感を与えることができ、リーチの興趣を一層高めることができる。
【0099】
ところで、最近は図柄(特図)として識別情報に従属する背景画を備え(識別情報の周囲等に装飾画を組込み図柄を構成)、それを一式として可変表示等を行うものが多くなってきているが、このように背景画を従属させた図柄の場合も前述したように拡大移動表示することができる。この場合、識別情報の部分を残して、その背景画の一部を画面外に外すように移動して、拡大表示する。
【0100】
この背景画を従属させた図柄は相対的に識別情報は小さいが、このように拡大移動表示すれば、図柄ならびに識別情報が大きく表示され、識別情報の高い識別性が確保され、図柄の表示が強調され、背景画を従属させた図柄の表現力が高められ、リーチ遊技の興趣が一層向上する。
【0101】
なお、実施の形態では、図柄の拡大移動表示、拡大表示は、可変表示速度を低速に切換えた際に行っているが、低速に切換える前の高速時から行っても良い。また、図柄に数字等の識別情報を用いた例を示したが、もちろん絵柄、記号等を用いても良い。また、画像表示装置4の左側、中央、右側にそれぞれ可変表示領域を設定した例を示したが、可変表示領域の位置はこれに限定されない。
【0102】
【発明の効果】
以上のようにこの発明によれば、識別情報を相対的に大きく表示することができ、高い表現力ならびに識別性を得ることができる。識別情報の低速の可変表示の表現力ならびにいずれの識別情報にて停止するかの表現力を高めて、特定の遊技価値を付与するチャンスのあるリーチ遊技の高い表現力を確保でき、興趣に溢れた遊技を実現できる。また、低速に切換えられた識別情報は、拡大表示されると共に、識別可能な部分を残して、一部が表示部外に外れるように移動して表示された状態で、可変表示されるので、装飾表示領域を拡大でき、装飾表示の高い自由度が得られ、装飾性を高めることができ、趣向に富んだ表現を行える。
【0103】
また、リーチの場合、可変表示速度を低速に切換えた際に識別情報を拡大移動表示することによって、遊技者にリーチであることを的確に喚起することができ、このため遊技者が表示部外を見ていたとしても、識別情報の拡大移動変化によって、遊技者がリーチであることに気付くので、遊技者はすぐに表示部を見るようになり、したがって遊技者にリーチ発生の喜びを与えられると共に、リーチの装飾表示を有効に行え、遊技者に興趣に富んだリーチ遊技を十分に楽しませることができる。
【図面の簡単な説明】
【図1】遊技盤の正面図である。
【図2】表示制御装置のブロック図である。
【図3】遊技制御装置の動作内容の制御フローチャートである。
【図4】表示制御装置の動作内容の制御フローチャートである。
【図5】表示制御装置の動作内容の制御フローチャートである。
【図6】表示情報の例を示す表図である。
【図7】画像遊技の表示例を示す画面図である。
【図8】画像遊技の表示例を示す画面図である。
【図9】画像遊技の表示例を示す画面図である。
【図10】画像遊技の表示例を示す画面図である。
【図11】画像遊技態の表示例を示す画面図である。
【図12】画像遊技の表示例を示す画面図である。
【図13】画像遊技の表示例を示す画面図である。
【図14】画像遊技の表示例を示す画面図である。
【図15】画像遊技の表示例を示す画面図である。
【図16】画像遊技の表示例を示す画面図である。
【図17】画像遊技の表示例を示す画面図である。
【図18】画像遊技の表示例を示す画面図である。
【符号の説明】
1 遊技盤
3 遊技領域
4 画像表示装置(可変表示装置)
5 変動入賞装置
7 始動口
10 普通図柄表示器
11 ゲート
20 遊技制御装置
30 表示制御装置
31 CPU
32 ROM
33 RAM
34 DMAC
36 VDC
37 ファントROM
Claims (2)
- 表示部における複数の可変表示領域に識別情報を可変表示する可変表示装置を有し、これら複数の可変表示領域の表示結果が予め定められた組み合わせとなったときに特定の遊技価値を付与し得る遊技機において、
可変表示領域に可変表示している識別情報の可変表示速度を識別情報を遊技者が視認可能な低速に切換える可変表示速度切換手段と、
低速に切換えて可変表示を行う可変表示領域の識別情報を拡大表示すると共に、少なくとも拡大表示する識別情報を、識別可能な部分を残して、一部が表示部外に外れるように移動して表示する拡大移動表示手段と、
識別可能な部分を残して、一部が表示部外に外れて表示された状態で識別情報を可変表示する可変表示手段と、
を備えることを特徴とする遊技機。 - 前記拡大移動表示手段は、前記低速に切換えて可変表示を行う可変表示領域の識別情報を、可変表示方向と直交する方向に移動させることで識別可能な部分を残して、一部が表示部外に外れるようにしたことを特徴とする請求項1に記載の遊技機。
Priority Applications (1)
| Application Number | Priority Date | Filing Date | Title |
|---|---|---|---|
| JP20329098A JP3967467B2 (ja) | 1998-07-17 | 1998-07-17 | 遊技機 |
Applications Claiming Priority (1)
| Application Number | Priority Date | Filing Date | Title |
|---|---|---|---|
| JP20329098A JP3967467B2 (ja) | 1998-07-17 | 1998-07-17 | 遊技機 |
Publications (2)
| Publication Number | Publication Date |
|---|---|
| JP2000033146A JP2000033146A (ja) | 2000-02-02 |
| JP3967467B2 true JP3967467B2 (ja) | 2007-08-29 |
Family
ID=16471600
Family Applications (1)
| Application Number | Title | Priority Date | Filing Date |
|---|---|---|---|
| JP20329098A Expired - Lifetime JP3967467B2 (ja) | 1998-07-17 | 1998-07-17 | 遊技機 |
Country Status (1)
| Country | Link |
|---|---|
| JP (1) | JP3967467B2 (ja) |
Families Citing this family (5)
| Publication number | Priority date | Publication date | Assignee | Title |
|---|---|---|---|---|
| JP2001334037A (ja) * | 2000-05-26 | 2001-12-04 | Daiichi Shokai Co Ltd | 遊技機 |
| JP5070400B2 (ja) * | 2010-03-23 | 2012-11-14 | 株式会社大一商会 | 遊技機 |
| JP2014097352A (ja) * | 2013-10-07 | 2014-05-29 | Sanyo Product Co Ltd | 遊技機 |
| JP2015142802A (ja) * | 2015-05-11 | 2015-08-06 | 株式会社三洋物産 | 遊技機 |
| JP2017104701A (ja) * | 2017-03-21 | 2017-06-15 | 株式会社三洋物産 | 遊技機 |
-
1998
- 1998-07-17 JP JP20329098A patent/JP3967467B2/ja not_active Expired - Lifetime
Also Published As
| Publication number | Publication date |
|---|---|
| JP2000033146A (ja) | 2000-02-02 |
Similar Documents
| Publication | Publication Date | Title |
|---|---|---|
| JP3163067B2 (ja) | 遊戯台 | |
| JP2000070462A (ja) | 遊技機 | |
| JP2003024560A (ja) | 弾球遊技機 | |
| JP2000167129A (ja) | 遊技機 | |
| JPH09108415A (ja) | 遊技機 | |
| JP3967467B2 (ja) | 遊技機 | |
| JP2003275422A (ja) | 遊技機 | |
| JP2002355363A (ja) | 遊技機、遊技機用プログラム、及び遊技機用プログラムを記録したコンピュータ読み取り可能な記録媒体 | |
| JP4225445B2 (ja) | 遊技機 | |
| JP2002000794A (ja) | 遊技機 | |
| JP2000070465A (ja) | 遊技機 | |
| JP2004081432A (ja) | 遊技機 | |
| JP2003079886A (ja) | 遊技機 | |
| JPH06190109A (ja) | 遊技機の制御装置 | |
| JP2004129770A (ja) | 弾球遊技機 | |
| JP3971512B2 (ja) | 遊技機 | |
| US5913515A (en) | Game machine with display device and special condition generation | |
| JPH1099495A (ja) | 弾球遊技機 | |
| JP4551702B2 (ja) | 遊技機 | |
| JP3971511B2 (ja) | 遊技機のリーチ装飾制御方法および遊技機 | |
| JP2001017648A (ja) | 遊技機 | |
| JP2004154441A (ja) | 遊技機 | |
| JP2003000859A (ja) | 遊技機 | |
| JPH08336647A (ja) | 遊技機の可変表示制御装置 | |
| JP3983147B2 (ja) | 遊技機の制御装置、遊技機、プログラム及び情報記憶媒体 |
Legal Events
| Date | Code | Title | Description |
|---|---|---|---|
| A977 | Report on retrieval |
Free format text: JAPANESE INTERMEDIATE CODE: A971007 Effective date: 20060801 |
|
| A131 | Notification of reasons for refusal |
Free format text: JAPANESE INTERMEDIATE CODE: A131 Effective date: 20060823 |
|
| A521 | Written amendment |
Free format text: JAPANESE INTERMEDIATE CODE: A523 Effective date: 20061012 |
|
| TRDD | Decision of grant or rejection written | ||
| A01 | Written decision to grant a patent or to grant a registration (utility model) |
Free format text: JAPANESE INTERMEDIATE CODE: A01 Effective date: 20070529 |
|
| A61 | First payment of annual fees (during grant procedure) |
Free format text: JAPANESE INTERMEDIATE CODE: A61 Effective date: 20070531 |
|
| R150 | Certificate of patent or registration of utility model |
Free format text: JAPANESE INTERMEDIATE CODE: R150 |
|
| FPAY | Renewal fee payment (event date is renewal date of database) |
Free format text: PAYMENT UNTIL: 20100608 Year of fee payment: 3 |
|
| FPAY | Renewal fee payment (event date is renewal date of database) |
Free format text: PAYMENT UNTIL: 20100608 Year of fee payment: 3 |
|
| FPAY | Renewal fee payment (event date is renewal date of database) |
Free format text: PAYMENT UNTIL: 20110608 Year of fee payment: 4 |
|
| FPAY | Renewal fee payment (event date is renewal date of database) |
Free format text: PAYMENT UNTIL: 20110608 Year of fee payment: 4 |
|
| FPAY | Renewal fee payment (event date is renewal date of database) |
Free format text: PAYMENT UNTIL: 20120608 Year of fee payment: 5 |
|
| FPAY | Renewal fee payment (event date is renewal date of database) |
Free format text: PAYMENT UNTIL: 20120608 Year of fee payment: 5 |
|
| FPAY | Renewal fee payment (event date is renewal date of database) |
Free format text: PAYMENT UNTIL: 20120608 Year of fee payment: 5 |
|
| FPAY | Renewal fee payment (event date is renewal date of database) |
Free format text: PAYMENT UNTIL: 20130608 Year of fee payment: 6 |
|
| FPAY | Renewal fee payment (event date is renewal date of database) |
Free format text: PAYMENT UNTIL: 20130608 Year of fee payment: 6 |
|
| FPAY | Renewal fee payment (event date is renewal date of database) |
Free format text: PAYMENT UNTIL: 20130608 Year of fee payment: 6 |
|
| FPAY | Renewal fee payment (event date is renewal date of database) |
Free format text: PAYMENT UNTIL: 20130608 Year of fee payment: 6 |
|
| R250 | Receipt of annual fees |
Free format text: JAPANESE INTERMEDIATE CODE: R250 |
|
| R250 | Receipt of annual fees |
Free format text: JAPANESE INTERMEDIATE CODE: R250 |
|
| R250 | Receipt of annual fees |
Free format text: JAPANESE INTERMEDIATE CODE: R250 |
|
| R250 | Receipt of annual fees |
Free format text: JAPANESE INTERMEDIATE CODE: R250 |
|
| R250 | Receipt of annual fees |
Free format text: JAPANESE INTERMEDIATE CODE: R250 |
|
| R250 | Receipt of annual fees |
Free format text: JAPANESE INTERMEDIATE CODE: R250 |
|
| EXPY | Cancellation because of completion of term |