JP3962971B2 - サスペンション用アッパサポート - Google Patents
サスペンション用アッパサポート Download PDFInfo
- Publication number
- JP3962971B2 JP3962971B2 JP2000002994A JP2000002994A JP3962971B2 JP 3962971 B2 JP3962971 B2 JP 3962971B2 JP 2000002994 A JP2000002994 A JP 2000002994A JP 2000002994 A JP2000002994 A JP 2000002994A JP 3962971 B2 JP3962971 B2 JP 3962971B2
- Authority
- JP
- Japan
- Prior art keywords
- elastic
- protrusion
- circumferential
- protrusions
- elastic block
- Prior art date
- Legal status (The legal status is an assumption and is not a legal conclusion. Google has not performed a legal analysis and makes no representation as to the accuracy of the status listed.)
- Expired - Fee Related
Links
- 239000000725 suspension Substances 0.000 title claims description 29
- 230000002093 peripheral effect Effects 0.000 claims description 27
- 239000006096 absorbing agent Substances 0.000 claims description 15
- 230000035939 shock Effects 0.000 claims description 15
- 239000002184 metal Substances 0.000 description 31
- 230000005489 elastic deformation Effects 0.000 description 7
- 239000002344 surface layer Substances 0.000 description 6
- 230000002265 prevention Effects 0.000 description 4
- 230000003139 buffering effect Effects 0.000 description 3
- 230000007423 decrease Effects 0.000 description 2
- 230000000694 effects Effects 0.000 description 2
- 230000006872 improvement Effects 0.000 description 2
- 239000010410 layer Substances 0.000 description 2
- 238000004073 vulcanization Methods 0.000 description 2
- 230000005540 biological transmission Effects 0.000 description 1
- 230000001747 exhibiting effect Effects 0.000 description 1
- 230000004048 modification Effects 0.000 description 1
- 238000012986 modification Methods 0.000 description 1
- 230000000149 penetrating effect Effects 0.000 description 1
- 230000009467 reduction Effects 0.000 description 1
- 238000000926 separation method Methods 0.000 description 1
- 230000007480 spreading Effects 0.000 description 1
Images
Landscapes
- Vehicle Body Suspensions (AREA)
- Vibration Prevention Devices (AREA)
- Fluid-Damping Devices (AREA)
Description
【技術分野】
本発明は、自動車の懸架系に採用されて、緩衝器のピストンロッドを車両ボデーに対して防振支持せしめるサスペンション用アッパサポートに係り、特に、緩衝器のピストンロッドを車両ボデーに対してサスペンションスプリングから独立して弾性支持せしめる入力分離型の懸架系に好適に採用されるサスペンション用アッパサポートに関するものである。
【0002】
【背景技術】
自動車の懸架装置は、サスペンションスプリングと緩衝器を含んで構成されて、サスペンションアーム等を車両ボデーに対して揺動可能に防振支持するようになっている。そこにおいて、緩衝器の車両ボデーへの取付部位には、緩衝器を通じての車両ボデーへの振動伝達を低減するために、一般に、サスペンション用アッパサポートが装着されている。
【0003】
そして、従来のサスペンション用アッパサポートは、インナ部材とその軸直角方向外方に離間して配設されたアウタ筒部材を、それらの軸直角方向対向面間に介装された本体ゴム弾性体で連結する一方、アウタ筒部材の軸方向両側開口部分において内周側に突出する上下のストッパ部を設けると共に、インナ部材から軸方向両側に突出してアウタ筒部材のストッパ部に対してそれぞれ当接せしめられる上側弾性突出部と下側弾性突出部を設けた構造とされており、インナ部材に取り付けられる緩衝器のピストンロッドを、アウタ筒部材が取り付けられる車両ボデーに対して弾性支持せしめるようになっている。
【0004】
ところが、このような従来構造のサスペンション用アッパサポートでは、軸方向の荷重入力時に弾性突出部がストッパ部に当接することによって打音が発生し易いという問題があった。
【0005】
そこで、このような問題に対処するために、本出願人は、先に、特公昭63−44980号公報において、インナ部材から軸方向に突出する弾性突出部に対して、インナ部材から先細状に突出してアウタ筒部材のストッパ部に対して当接状態で圧縮保持せしめられる弾性突部を一体形成した構造のサスペンション用アッパサポートを提案した。
【0006】
しかしながら、このような構造のアッパサポートでも、要求されるばね特性によっては、未だ十分な打音防止効果を得ることが難しい場合があったのであり、特に、リバウンド側(下側弾性突出部が下側ストッパ部に当接する側)では、非線形なばね特性(荷重−撓み特性)を十分に付与して自動車の操縦安定性を確保する必要があることから、ばね特性を柔らかくすることが難しいために、大きな打音が発生し易く、打音防止と操縦安定性の確保の両立が極めて難しいという問題があったのである。
【0007】
【解決課題】
ここにおいて、本発明は、上述の如き事情を背景として為されたものであって、その解決課題とするところは、入力分離型の懸架系に好適に採用されて、車両の操縦安定性と打音防止とを、高いレベルで両立的に達成することの出来る、新規な構造のサスペンション用アッパサポートを提供することにある。
【0008】
【解決手段】
以下、このような課題を解決するために為された本発明の態様を記載する。なお、以下に記載の各態様における構成要素は、可能な限り任意の組み合わせで採用することが出来る。また、本発明の態様および技術的特徴は、以下に記載のものに限定されることなく、明細書全体および図面に記載され、或いはそれらの記載から当業者が把握することの出来る発明思想に基づいて認識されるものであることが理解されるべきである。
【0009】
すなわち、本発明の第一の態様は、緩衝器のピストンロッドが取り付けられるインナ部材の軸直角方向外方に離間して、車両ボデーに取り付けられるアウタ筒部材を配設せしめて、それらインナ部材とアウタ筒部材の軸直角方向対向面間を本体ゴム弾性体で連結する一方、該アウタ筒部材の軸方向両側開口部分において内周側に突出する上下のストッパ部を設けると共に、該インナ部材を軸直角方向に広がる円環板形状として、該インナ部材から軸方向両側に突出して該アウタ筒部材のストッパ部に対してそれぞれ当接せしめられる上側弾性突出部と下側弾性突出部を設けて、該緩衝器のピストンロッドを該車両ボデーに対してサスペンションスプリングから独立して弾性支持せしめるサスペンション用アッパサポートにおいて、前記本体ゴム弾性体には、前記アウタ筒部材から径方向内方に離隔位置して軸方向両端面からそれぞれ軸方向内方に所定深さで延びる上側周溝および下側周溝を形成し、これら上下周溝よりも内周側に位置する部分において、前記インナ部材から軸方向両側に向かって先細状に突出して、前記アウタ筒部材の上下ストッパ部に対してそれぞれ当接状態に保持せしめられた上下少なくとも各三つの先細形状の弾性突部と、該インナ部材の軸方向両側で、かかる弾性突部の周方向間において該弾性突部から実質的に独立して突出形成されて、該アウタ筒部材の上下ストッパ部に対してそれぞれ離間して対向位置せしめられた上下少なくとも各三つの弾性ブロックとを含んで、前記上側及び下側の弾性突出部を構成し、更に該上下の弾性突出部における各弾性ブロックの突出先端面において、径方向に延びる凹溝を、該弾性ブロックの突出高さよりも小さな深さで少なくとも一つ形成すると共に、それら各弾性ブロックの突出先端面に対して、弾性小突起を多数一体形成する一方、該下側弾性突出部における該弾性突部および該弾性ブロックの該インナ部材からの軸方向の突出高さを、該上側弾性突出部における該弾性突部および該弾性ブロックの該インナ部材からの軸方向の突出高さよりも、何れも小さくすると共に、該下側周溝を該上側周溝よりも径方向外方に位置せしめて、該下側弾性突出部における該弾性突部および該弾性ブロックの外径寸法を、該上側弾性突出部における該弾性突部および該弾性ブロックの外径寸法よりも、何れも大きくし、且つ該下側周溝を該インナ部材の外周側で該インナ部材にまで至る深さとすると共に、該上側周溝を該インナ部材の外周側で該インナ部材にまで至らない深さとしたことを、特徴とする。
【0010】
このような本発明に従う構造とされたアッパサポートにおいては、緩衝器から軸方向の加重が入力されると、先ず、初期状態でアウタ筒部材のストッパ部に圧接されている弾性突部が更に圧縮変形せしめられることとなり、その弾性変形量が所定量の大きさに達した後に、弾性ブロックの弾性小突起部分がアウタ筒部材のストッパ部に当接せしめられる。そして、弾性小突起が潰れた後に、弾性ブロックの突出先端面がアウタ筒部材のストッパ部に当接することにより、圧縮変形せしめられることとなる。なお、弾性ブロックの表層部分に凹溝が形成されていることから、弾性ブロックの圧縮変形量が小さい間は、該弾性ブロックが実質的に複数の小領域に分割されて、各小領域毎にストッパ部に当接せしめられる。
【0011】
従って、入力荷重が小さい間は、弾性突部による柔らかいばね特性が発揮されて、車両における良好な乗り心地が実現される一方、入力荷重が大きくなると、弾性ブロックがストッパ部に当接して硬いばね特性が発揮されることにより、優れた操縦性や安定性が発揮されることとなる。特に、弾性ブロックが弾性突部から実質的に独立して形成されていることから、荷重−撓み特性の非線形性が極めて有効に発揮され得るのである。
【0012】
しかも、弾性ブロックのストッパ部への当接時には、弾性ブロックの表面上に形成された弾性小突起と、弾性ブロックの表層部分に形成された凹溝とによって、非常に短いストロークで緩衝作用が発揮されるのであり、それによって、打音の発生が極めて有利に軽減乃至は防止され得る。
【0013】
また、本発明の第二の態様は、第一の態様に従う構造とされたアッパサポートにおいて、少なくとも下側の前記弾性ブロック部の突出先端面を、径方向で高さが変化する山形状としたことを、特徴とする。更にまた、本発明の第三の態様はと、第一または第二の態様に従う構造とされたアッパサポートにおいて、上側および下側の少なくとも何れか一方の前記弾性ブロック部の突出先端面を、周方向で高さが変化する山形状としたことを、特徴とする。
【0014】
これら第二または第三の態様に係るアッパサポートにおいては、入力される軸方向荷重の増大に伴って、弾性ブロックのストッパ部への当接面積も次第に大きくされることから、弾性ブロックのストッパ部への当接時における衝撃が一層有利に緩和されて、打音発生の更なる軽減が達成されるのである。
【0015】
なお、第二の態様における弾性ブロック部の突出先端面の形状としては、例えば、径方向中央部分が軸方向に最も突出して径方向両側に向かって次第に低くなる山形状の他、径方向の外側端部または内側端部が軸方向に最も突出して径方向一方向に傾斜した山形状や、径方向に複数の山部を連接した凹凸状の山形状等も採用可能である。また、第三の態様における弾性ブロック部の突出先端面の形状としても、例えば、周方向の中央部分が軸方向に最も突出して周方向両側に向かって次第に低くなる山形状の他、周方向の一端部が軸方向に最も突出して周方向他端側に向かって低くなる山形状や、周方向に複数の山部を連接した凹凸状の山形状等も採用可能である。
【0016】
また、これら第二および第三の態様に従う弾性ブロック部の山形状は、特に、リバウンド側の弾性ブロック部において好適に採用されることとなる。蓋し、リバウンド側では、車両の操縦安定性を確保するためにバウンド側よりも荷重−撓み特性に関してより大きな非線形性が要求されることから、弾性ブロック部のストッパ部への当接時の打音発生が問題となり易いが、そこにおいて、山形状とされた弾性ブロック部を採用することによって、弾性ブロック部の高ばね特性を確保しつつ、弾性ブロック部のストッパ部への当接により発生する衝撃が更に有効に緩和され得るのであり、その結果、車両操縦安定性と打音防止とを高度に両立して実現することが可能となるからである。
【0017】
さらに、本発明の第四の態様は、前記第一乃至第三の何れかの態様に従う構造とされたアッパサポートにおいて、前記アウタ筒部材の上側ストッパ部の上方に離間位置して略軸直角方向に広がるストッパプレートを、前記インナ部材に対して固定的に設けると共に、該ストッパプレートにおける上側ストッパ部との対向面において、軸方向に先細状に突出して、該上側ストッパ部に対して当接状態に保持せしめられた少なくとも三つの補助弾性突部と、かかる補助弾性突部の周方向間において該補助弾性突部から実質的に独立して突出形成されて、前記上側ストッパ部に対してそれぞれ離間して対向位置せしめられた少なくとも三つの補助弾性ブロックとを含んで、補助弾性突出部を構成し、更に該補助弾性突出部における各補助弾性ブロックの突出先端面において、径方向に延びる凹溝を、該補助弾性ブロックの突出高さよりも小さな深さで少なくとも一つ形成すると共に、それら各補助弾性ブロックの突出先端面に対して、弾性小突起を多数一体形成したことを、特徴とする。
【0018】
このような本態様に従う構造とされたアッパサポートにおいては、ストッパプレートを付加したことによって、荷重−撓み特性の非線形性をより高度に得ることが可能となり、車両の操縦安定性の更なる向上が実現され得る。また、そこにおいて、かかるストッパプレートにおける補助弾性突出部についても、アッパサポート本体における弾性突出部と同様に、当初からストッパ部に圧接された補助弾性突部と、荷重入力が大きくなった際にストッパ部に当接される補助弾性ブロックを含んで構成されると共に、補助弾性ブロックの突出先端面に径方向凹溝と弾性小突起が形成されることから、大荷重入力による打音の発生も有利に軽減乃至は防止され得るのである。
【0019】
なお、このような本態様におけるアッパサポートにおいても、補助弾性ブロックの突出先端面を、径方向で高さが変化する山形状とした構成や、また、かかる補助弾性ブロック部の突出先端面を、周方向に高さが変化する山形状とした構成が、有利に採用され得る。そして、そのような構成を採用することにより、補助弾性ブロックのストッパ部への当接時における衝撃が一層有利に緩和されて、打音発生の更なる軽減が図られ得る。
【0020】
【発明の実施形態】
以下、本発明を更に具体的に明らかにするために、本発明の実施形態について、図面を参照しつつ、詳細に説明する。
【0021】
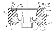
先ず、図1及び図2には、本発明の第一の実施形態としての自動車用サスペンションアッパサポート10が示されている。かかるアッパサポート10は、インナ部材としてのインナ金具12の周囲に、アウタ筒部材としてのアウタ筒金具14が離間して配設されていると共に、それらインナ金具12とアウタ筒金具14が、本体ゴム弾性体16によって弾性的に連結された構造を有している。そして、インナ金具12に対して緩衝器のピストンロッドが固定される一方、アウタ筒金具14が自動車のボデーに固定されることにより、緩衝器を車両ボデーに対して防振支持せしめるようになっている。なお、以下の説明中、上下方向とは、原則として、図1に示されたアッパサポート10の鉛直上下方向をいうものとする。また、図1において、本体ゴム弾性体16の形状は、切断端面のみを示すこととする。
【0022】
より詳細には、インナ金具12は、全体として略円環板形状を有しており、中央の内周縁部分には、軸方向両側に突出した円筒形状の取付筒部18が一体形成されていると共に、外周縁部分には、軸方向上方に向かって突出する円環形状の厚肉部20が一体形成されている。そして、かかるインナ金具12には、図示しない緩衝器のピストンロッドが、取付筒部18の内孔22に挿通されてボルト等で固定されることにより、同軸的に取り付けられるようになっている。
【0023】
また、このインナ金具12には、その外周面に対して本体ゴム弾性体16が加硫接着されており、図3〜5に示されている如き一体加硫成形品24とされている。かかる本体ゴム弾性体16は、全体として大径の略円筒形状を有しており、インナ金具12の外周を取り巻くように配設されている。なお、本体ゴム弾性体16の外周面は、後述するアウタ筒金具14の内周面形状に略対応した表面形状とされており、特に、軸方向上側部分の外周面には、軸方向に延びる凹部15が、周方向で略等間隔に複数(本実施形態では、6つ)形成されて、凹凸状の外周面とされている。また、本体ゴム弾性体16の軸方向両端縁部には、それぞれ、アウタ筒金具14との間の空気抜き用の切欠部17が、周方向に離間して複数形成されている。なお、図3における本体ゴム弾性体16の形状は、切断端面以外を簡略表示とする。
【0024】
更にまた、インナ金具12には、軸方向上面側に対して上側弾性突出部26が加硫接着されていると共に、軸方向下面側に対して下側弾性突出部28が加硫接着されている。特に、本実施形態では、これら上下弾性突出部26,28が、本体ゴム弾性体16と一体成形されて、上下弾性突出部26,28の外周を取り囲むようにして本体ゴム弾性体16が配設されていると共に、上側弾性突出部26と本体ゴム弾性体16の間および下側弾性突出部28と本体ゴム弾性体16の間には、軸方向上端面および下端面に開口して周方向に延びる環状の上側周溝30と下側周溝32が形成されており、これら上下周溝30,32によって、上側弾性突出部26および下側弾性突出部28と本体ゴム弾性体16が、実質的に相互に分離されている。
【0025】
また、上側弾性突出部26は、全体として円環形状を有しており、インナ金具12の外周部分の上面を全体に亘って覆う状態で加硫接着されていると共に、その周上の4箇所には、軸方向上方に向かって突出する先細の略四角錐形状乃至はコーン形状の弾性突部34が、周方向に略一定間隔を隔てて一体的に突設されている。なお、これらの弾性突部34の突出高さは、何れも、本体ゴム弾性体16よりも軸方向外方に突出するように設定されている。また、周方向で互いに隣接位置する弾性突部34,34の間には、周方向に延びる平面円弧形の台地形状を有する弾性ブロック36が、それぞれ一体的に突設されている。これらの弾性ブロック36は、何れも、全体に亘って本体ゴム弾性体16の上端面よりも低い略一定の軸方向突出高さで形成されており、略平坦な突出先端面38を備えている。更に、各弾性ブロック36は、弾性突部34とは、周方向に離間して形成されており、実質的に相互に独立して変形可能とされている。
【0026】
更にまた、各弾性ブロック36の突出先端面38には、径方向に延びる凹溝40,40が、周方向に適当な間隔を隔てて2条形成されている。これらの凹溝40,40は、弾性ブロック36の表面層部分だけを分離するように、弾性ブロック36の突出高さよりも小さな深さで形成されており、特に本実施形態では、各凹溝40の断面が半円形状とされている。また、各弾性ブロック36の突出先端面38には、凹溝40の形成部位を除いた略全面に亘って多数の弾性小突起42が一体形成されている。これらの弾性小突起42は、望ましくは、半球形状等の先細形状で形成される。
【0027】
なお、本実施形態では、インナ金具12の外周部分の軸方向上面を全体に亘って略5〜7mm程度の厚さ寸法で被覆するゴム層の表面上に、略10mm程度の突出高さを有する弾性突部34と、略5mm程度の突出高さを有する弾性ブロック36が、それぞれ4つずつ一体形成されていると共に、各弾性ブロック36には、略1〜2mmの深さの凹溝40,40が周方向で略等間隔に2条ずつ形成されており、更に各弾性ブロック36の突出先端面38には、多数の弾性小突起42が略0.2〜1.0mmの突出高さで一体形成されている。
【0028】
また一方、下側弾性突出部28は、全体として円環形状を有しており、インナ金具12の外周部分の軸方向下面を全体に亘って覆う状態で加硫接着されていると共に、その周上の4箇所には、軸方向下方に向かって突出する先細の略四角錐形状乃至はコーン形状の弾性突部44が、周方向に略一定間隔を隔てて一体的に突設されている。なお、これらの弾性突部44の突出高さは、何れも、本体ゴム弾性体16の下端面よりも軸方向外方に突出するように設定されている。また、周方向で互いに隣接位置する弾性突部44,44の間には、周方向に延びる平面円弧形の台地形状を有する弾性ブロック46が、それぞれ一体的に突設されている。これらの弾性ブロック46は、何れも、全体に亘って本体ゴム弾性体16よりも小さい略一定の軸方向突出高さで形成されており、略平坦な突出先端面48を有している。更に、各弾性ブロック46は、弾性突部44とは、周方向に離間して形成されており、実質的に独立して変形可能とされている。
【0029】
更にまた、各弾性ブロック46の突出先端面48には、径方向に延びる凹溝50が、周方向に所定距離を隔てて2条形成されている。これらの凹溝50は、弾性ブロック46を表面層部分のみにおいて分離するように、弾性ブロック46の突出高さよりも小さな深さで形成されており、その断面が半円形状とされている。また、各弾性ブロック46の突出先端面48には、凹溝50の形成部位を除く略全面に亘って多数の弾性小突起52が一体形成されている。また、これらの弾性小突起52は、望ましくは、半球形状等の先細形状に形成される。
【0030】
加えて、下側弾性突出部28における各弾性ブロック46の突出先端面48は、全体に亘って突出高さが径方向で変化せしめられており、径方向中央部分が最も突出高さが大きく、内周側と外周側に行くに従ってそれぞれ突出高さが次第に小さくされることにより、径方向断面が山形状とされている。
【0031】
なお、本実施形態では、インナ金具12の外周面の軸方向下面を全体に亘って略3〜5mm程度のゴム層で被覆した上に、略5mm程度の突出高さを有する弾性突部44と、略2〜3mm程度の突出高さを有する弾性ブロック46が、それぞれ4つずつ一体形成されていると共に、各弾性ブロック46には、略1〜2mmの深さの凹溝50が周方向で略等間隔に2条ずつ形成されており、更に各弾性ブロック46の突出先端面には、略0.2〜1.0mmの突出高さの弾性小突起52が一体形成されている。
【0032】
そして、このような構造とされた本体ゴム弾性体16と上下弾性突出部26,28から構成された一体加硫成形品24に対して、アウタ筒金具14が組み付けられている。かかるアウタ筒金具14は、図1〜2に示されているように、それぞれ大径の略円筒形状を有する上側筒金具54と下側筒金具56によって構成されている。上側筒金具54は、下側開口周縁部において、径方向外方に広がる大径の円環板形状を有する取付板部58を一体的に備えていると共に、上側開口周縁部には、径方向内方に向かって広がる円環板形状の上側ストッパ板部60が一体成形されている。また一方、下側筒金具56は、上側開口周縁部において、径方向外方に広がる大径の円環板形状を有する取付板部62を一体的に備えていると共に、下側開口周縁部には、径方向内方に向かって広がる円環板形状の下側ストッパ板部64が一体成形されている。
【0033】
そして、これら上下の筒金具54,56が一体加硫成形品24の軸方向両側から同軸的に組み付けられて、両取付板部58,62が互いに重ね合わせられた状態で相互に固着されることにより、一体加硫成形品24を軸方向に挟み込む状態でアウタ筒金具14が組み合わされている。なお、下側筒金具56の軸方向外方には、下側ストッパ板部64に対して、下方に向かって筒状に延びだす保持金具66が固着されており、この保持金具66に対して、バンプストッパ(図示せず)が取り付けられるようになっている。また、かかるアウタ筒金具14は、上下筒金具54,56の取付板部58,62に固着された複数本の取付ボルト68によって、図示しない車両ボデーに対して固定的に取り付けられるようになっている。
【0034】
また、アウタ筒金具14は、一体加硫成形品24に組み付けられることにより、上下筒金具54,56が、一体加硫成形品24における本体ゴム弾性体16の外周面に対して密接状態で重ね合わせられている。特に、上側筒金具54の周壁部分には、周方向に凹凸が付されており、このような上側筒金具54の周壁部の内周面が本体ゴム弾性体16の外周面に形成された凹凸に対して嵌合されることにより、一体加硫成形品24とアウタ筒金具14が周方向に相対的に位置決めされて、相対回転が防止されるようになっている。
【0035】
更にまた、アウタ筒金具14における上側ストッパ板部60と下側ストッパ板部64は、それぞれ、一体加硫成形品24における上側弾性突出部26と下側弾性突出部28の各上下弾性突部34,44に対して圧接されており、それら各弾性突部34,44が、予め、軸方向に所定量だけ圧縮変形せしめられている。なお、本実施形態では、上側の弾性突部34よりも下側の弾性突部44の方が硬いばね特性を有していることから、上側の弾性突部34が軸方向に略2〜3mm程度圧縮変形せしめられていると共に、下側の弾性突部44が軸方向に略1〜2mm度圧縮変形せしめられている。また、上側弾性突出部26における弾性ブロック36と、下側弾性突出部28における弾性ブロック46の両突出先端面38,48が、アウタ筒金具14における上下ストッパ板部60,64に対して、軸方向で所定距離を隔てて対向位置せしめられている。
【0036】
そして、上述の如き構造とされたアッパサポート10は、自動車への装着状態下において、インナ金具12がアウタ筒金具14に対して軸方向上方に向かって変位するバウンド方向の荷重が入力された際には、アウタ筒金具14の上側ストッパ板部60に圧接されている上側の弾性突部34が、更に圧縮変形させられることとなり、次に、その弾性変形量が所定量に達すると、弾性ブロック36の弾性小突起42が上側ストッパ板部60に当接し、圧接させられる。更にまた、この弾性小突起42が、それ自体の弾性変形により潰れた形状となった後には、弾性ブロック36の突出平坦面38がアウタ筒金具14の上側ストッパ板部60に当接して圧縮変形させられることとなる。なお、弾性ブロック36の弾性変形量が小さい間は、弾性ブロック36が表層部分を凹溝40,40によって複数の小領域に分割されていることから、弾性ブロック36は、各小領域毎にアウタ筒金具14の上側ストッパ板部60に当接せしめられる。
【0037】
また、インナ金具12がアウタ筒金具14に対して軸方向下方に向かって変位するリバウンド方向の荷重が入力された際には、アウタ筒金具14の下側ストッパ板部64に圧接されている弾性突部44が更に圧縮変形させられることとなり、その弾性変形量が所定量の大きさを超えると、弾性ブロック46の弾性小突起52がアウタ筒金具14の下側ストッパ板部64に当接した後、圧接させられる。更にまた、この弾性小突起52が、それ自体の弾性変形により潰れた形状となった後には、弾性ブロック46の突出平坦面48がアウタ筒金具14の下側ストッパ板部64に当接し、圧縮変形させられることとなる。また、弾性ブロック36の弾性変形量が小さい間は、凹溝50によって弾性ブロック46が複数の小領域に分割されていることから、弾性ブロック46が各小領域毎にアウタ筒金具14の下側ストッパ板部64に当接せしめられる。
【0038】
従って、このような本発明に従う構造とされたアッパサポート10においては、バウンド,リバウンドの何れの方向においても、入力荷重が小さい間は、上下弾性突出部26,28における各弾性突部34,44が、アウタ筒金具14の上下ストッパ板部60,64に当接状態で圧縮変形されることによって柔らかいばね特性が発揮されて、良好な乗り心地が実現される一方、入力荷重が大きくなると、上下弾性ブロック36,46が上下ストッパ板部60,64に当接されることによって硬いばね特性が発揮されて、優れた車両操縦性や安定性が達成されることとなる。特に、本実施形態では、各弾性ブロック36,46が上下弾性突出部26,28から、実質的に独立して形成されていることから、荷重ー撓み特性の非線形性が極めて有効に発揮され得るのである。
【0039】
因みに、本実施形態に従う構造とされた荷重−撓み特性を実測した結果を、図6に示す。かかる図からも、低荷重領域では柔らかいばね特性が発揮される一方、高荷重領域ではばね定数が急激に立ち上がって硬いばね特性が発揮されることが明らかに認められるのであり、特にリバウンド方向では、急激なばね定数の立ち上がりが実現されていることが認められる。
【0040】
しかも、上述の如き構造とされたアッパサポート10においては、各弾性ブロック36,46の表面上に弾性小突起42,52が形成されていると共に、各弾性ブロック36,46の表層部分にそれぞれ凹溝40,50が形成されていることから、弾性ブロック36,46のアウタ筒金具14の上下ストッパ板部60,64への当接時には、非常に短いストローク量で緩衝作用が発揮されるのであり、それ故、打音の発生が極めて有効に軽減乃至は防止され得るのである。
【0041】
また、バウンド方向の荷重入力によって弾性突部44が、アウタ筒金具14の下側ストッパ板部64から離間せしめられた後に、リバウンド方向の荷重が入力されて、弾性突部44が再びアウタ筒金具14の下側ストッパ板部64に当接せしめられる際にも、弾性突部44が先細形状とされていることから、当接当初において十分に柔らかいばね特性が発揮されることにより、打音の発生が可及的に回避されるのである。
【0042】
次に、図7には、本発明の第二の実施形態としての自動車用サスペンションアッパサポート70が、示されている。なお、本実施形態において、第一の実施形態と同様な構造とされた部材および部位については、それぞれ、図中に、第一の実施形態と同一の符号を付することにより、それらの詳細な説明を省略する。
【0043】
すなわち、本実施形態のアッパサポート70においては、前記第一の実施形態におけるアッパサポート10と同様な構造とされたアッパサポート本体72に対して、更に、補助弾性突出部74を備えたストッパプレート76が組み付けられている。なお、図7において、アッパサポート本体72の本体ゴム弾性体16と、補助弾性突出部74は、何れも、切断端面のみを示すこととする。
【0044】
より詳細には、かかるストッパプレート76は、略円環板形状を有していると共に、中央部分が軸方向下方に向かって突出した有底円筒形状の取付部78とされている。そして、取付部78の底壁部において、アッパサポート本体72のインナ金具12の上面に重ね合わせられており、取付部78の底壁中央に貫設された取付孔80において、インナ金具12と共に、緩衝器のピストンロッドに対して外嵌されてボルト固定されるようになっている。
【0045】
また、ストッパプレート76の外周部分は、アッパサポート本体72におけるアウタ筒金具14の上側ストッパ板部60に対して、軸方向上方に所定距離だけ離間して配設されている。そして、このストッパプレート76の外周部分の下面には、補助弾性突出部74が加硫接着されており、アウタ筒金具14のストッパ板部60に向かって軸方向に突出せしめられている。また、かかる補助弾性突出部74は、ストッパプレート76の外周部分の下面を周方向に覆う状態で加硫接着されており、アッパサポート本体72を構成する下弾性突出部28と実質的に同一の構造が採用されている。
【0046】
このような構造とされた本実施形態のアッパサポート70においては、リバウンド方向の荷重が入力された際には、アッパサポート本体72における下側弾性突出部44が、アウタ筒金具14の下側ストッパ板部64に圧接されることに加えて、ストッパプレート76における補助弾性突出部74が、アウタ筒金具14の上側ストッパ板部60に対して当接せしめられる。従って、アッパサポート本体72における下側弾性突出部44のばね特性の立ち上がりに加えて、ストッパプレート76における補助弾性突出部74のばね特性も立ち上がり、それら両者(下側弾性突出部44,補助弾性突出部74)のばね特性の立ち上がりによって、より大きなばね特性の立ち上がりが実現されるのであり、このため、操縦安定性の更なる向上が達成可能とされる。
【0047】
そこにおいて、補助弾性突出部74が、アッパサポート本体72の下側弾性突出部28と同様な構造とされていることから、補助弾性突出部74のアウタ金具14の上側ストッパ板部60への当接による打音も有利に防止されるのである。
【0048】
以上、本発明の実施形態について説明したきたが、これらはあくまでも例示であって、本発明は、これらの実施形態における具体的な記載によって、何等、限定的に解釈されるものではない。
【0049】
例えば、弾性突起や弾性ブロック等を含む弾性突出部の具体的な形状や数および寸法等は、前記実施形態のものに限定されるものでなく、要求されるばね特性等に応じて、適宜に調節可能である。具体的には、例えば弾性突起や弾性ブロックは、周方向に適当な間隔を隔てて、3〜8個形成されることが望ましい。
【0050】
また、前記実施形態では、下側弾性ブロックの突出先端面が山形状とされていたが、そのような形状を上側弾性ブロックの突出面にも併せて採用しても良い。
【0051】
更にまた、弾性突出部と本体ゴム弾性体との間に形成された周溝の深さを小さくしたり、或いは、そのような周溝を形成せずに、それら弾性突出部と本体ゴム弾性体を、連続して、若しくは実質的に一体化して形成することも可能である。
【0052】
さらに、前記第二の実施形態に示されている如き補助弾性突部を備えたストッパプレートは、それ自体を単独で採用することも可能であり、例えば、かかるストッパプレートを、第一の実施形態に示されている如き構造のアッパサポートに組み付ける他、従来から公知の各種構造のアッパサポートに対しても、組み付けて使用することが可能である。そして、かかるストッパプレートを採用することにより、打音の発生や打音の増大を回避しつつ、荷重−撓み特性の急激な立ち上がりによる良好な乗り心地と操縦安定性との両立を高度に達成することが可能となるのである。
【0053】
その他、一々列挙はしないが、本発明は、当業者の知識に基づいて、種々なる変更,修正,改良等を加えた態様において実施され得るものであり、また、そのような実施態様が、本発明の趣旨を逸脱しない限り、何れも、本発明の範囲内に含まれるものであることは、言うまでもない。
【0054】
【発明の効果】
上述の説明から明らかなように、本発明に従う構造とされたサスペンション用アッパサポートにおいては、入力荷重が小さい間は弾性突部による柔らかいばね特性が発揮される一方、入力荷重が大きくなると弾性ブロックのストッパ部への当接に伴って硬いばね特性が発揮されて、非線形な荷重−撓み特性が有利に実現される。しかも、弾性ブロックのストッパ部への当接に際しては、弾性ブロックの表面上に形成された弾性小突起と径方向の凹溝により、非常に短いストロークで優れた緩衝作用が発揮されて、打音の発生が極めて有利に軽減乃至は防止され得るのである。
【図面の簡単な説明】
【図1】本発明の第一の実施形態としてのアッパサポートを示す縦断面説明図であって、図2におけるII−IIに相当する図である。
【図2】図1に示されたアッパサポートの平面図である。
【図3】図1に示されたアッパサポートを構成する一体加硫成形品を示す縦断面説明図であって、図4におけるIII−III断面に相当する図である。
【図4】図3に示された一体加硫成形品を示す鉛直方向上方からの平面図である。
【図5】図3に示された一体加硫成形品を示す鉛直方向下方からの平面図である。
【図6】図1に示されたアッパサポートの荷重ー撓み特性を表すグラフである。
【図7】本発明の第二の実施形態としてのアッパサポートを示す縦断面説明図である。
【符号の説明】
10,70 アッパサポート
12 インナ金具
14 アウタ筒金具
16 本体ゴム弾性体
24 一体加硫成形品
26,28 弾性突出部
34,44 弾性突部
36,46 弾性ブロック
38,48 突出先端面
40,50 凹溝
42,52 弾性小突起
60,64 ストッパ板部
72 アッパサポート本体
74 補助弾性突出部
Claims (6)
- 緩衝器のピストンロッドが取り付けられるインナ部材の軸直角方向外方に離間して、車両ボデーに取り付けられるアウタ筒部材を配設せしめて、それらインナ部材とアウタ筒部材の軸直角方向対向面間を本体ゴム弾性体で連結する一方、該アウタ筒部材の軸方向両側開口部分において内周側に突出する上下のストッパ部を設けると共に、該インナ部材を軸直角方向に広がる円環板形状として、該インナ部材から軸方向両側に突出して該アウタ筒部材のストッパ部に対してそれぞれ当接せしめられる上側弾性突出部と下側弾性突出部を設けて、該緩衝器のピストンロッドを該車両ボデーに対してサスペンションスプリングから独立して弾性支持せしめるサスペンション用アッパサポートにおいて、
前記本体ゴム弾性体には、前記アウタ筒部材から径方向内方に離隔位置して軸方向両端面からそれぞれ軸方向内方に所定深さで延びる上側周溝および下側周溝を形成し、
これら上下周溝よりも内周側に位置する部分において、前記インナ部材から軸方向両側に向かって先細状に突出して、前記アウタ筒部材の上下ストッパ部に対してそれぞれ当接状態に保持せしめられた上下少なくとも各三つの先細形状の弾性突部と、該インナ部材の軸方向両側で、かかる弾性突部の周方向間において該弾性突部から実質的に独立して突出形成されて、該アウタ筒部材の上下ストッパ部に対してそれぞれ離間して対向位置せしめられた上下少なくとも各三つの弾性ブロックとを含んで、前記上側及び下側の弾性突出部を構成し、更に該上下の弾性突出部における各弾性ブロックの突出先端面において、径方向に延びる凹溝を、該弾性ブロックの突出高さよりも小さな深さで少なくとも一つ形成すると共に、それら各弾性ブロックの突出先端面に対して、弾性小突起を多数一体形成する一方、
該下側弾性突出部における該弾性突部および該弾性ブロックの該インナ部材からの軸方向の突出高さを、該上側弾性突出部における該弾性突部および該弾性ブロックの該インナ部材からの軸方向の突出高さよりも、何れも小さくすると共に、
該下側周溝を該上側周溝よりも径方向外方に位置せしめて、該下側弾性突出部における該弾性突部および該弾性ブロックの外径寸法を、該上側弾性突出部における該弾性突部および該弾性ブロックの外径寸法よりも、何れも大きくし、且つ該下側周溝を該インナ部材の外周側で該インナ部材にまで至る深さとすると共に、該上側周溝を該インナ部材の外周側で該インナ部材にまで至らない深さとしたことを特徴とするサスペンション用アッパサポート。 - 前記上下の弾性突出部において、前記弾性ブロックの周方向長さを前記弾性突部の周方向長さよりも大きくすると共に、該弾性ブロックの突出先端面には前記凹溝を少なくとも二つ形成し、且つ該弾性ブロックの突出先端面では該凹溝が形成されている部分の周方向寸法よりも該凹溝が形成されていない部分の周方向寸法を大きくすると共に、該弾性ブロックの突出先端面における該凹溝が形成されていない部分の全体に亘って前記弾性小突起を形成した請求項1に記載のサスペンション用アッパサポート。
- 少なくとも下側の前記弾性ブロック部の突出先端面を、径方向で高さが変化する山形状とした請求項1又は2に記載のサスペンション用アッパサポート。
- 上側および下側の少なくとも何れか一方の前記弾性ブロック部の突出先端面を、周方向で高さが変化する山形状とした請求項1乃至3の何れかに記載のサスペンション用アッパサポート。
- 前記アウタ筒部材の上側ストッパ部の上方に離間位置して略軸直角方向に広がるストッパプレートを、前記インナ部材に対して固定的に設けると共に、該ストッパプレートにおける上側ストッパ部との対向面において、軸方向に先細状に突出して、該上側ストッパ部に対して当接状態に保持せしめられた少なくとも三つの補助弾性突部と、かかる補助弾性突部の周方向間において該補助弾性突部から実質的に独立して突出形成されて、前記上側ストッパ部に対してそれぞれ離間して対向位置せしめられた少なくとも三つの補助弾性ブロックとを含んで、補助弾性突出部を構成し、更に該補助弾性突出部における各補助弾性ブロックの突出先端面において、径方向に延びる凹溝を、該補助弾性ブロックの突出高さよりも小さな深さで少なくとも一つ形成すると共に、それら各補助弾性ブロックの突出先端面に対して、弾性小突起を多数一体形成した請求項1乃至4の何れかに記載のサスペンション用アッパサポート。
- 前記補助弾性ブロック部の突出先端面を、径方向で高さが変化する山形状とした請求項5に記載のサスペンション用アッパサポート。
Priority Applications (1)
| Application Number | Priority Date | Filing Date | Title |
|---|---|---|---|
| JP2000002994A JP3962971B2 (ja) | 2000-01-11 | 2000-01-11 | サスペンション用アッパサポート |
Applications Claiming Priority (1)
| Application Number | Priority Date | Filing Date | Title |
|---|---|---|---|
| JP2000002994A JP3962971B2 (ja) | 2000-01-11 | 2000-01-11 | サスペンション用アッパサポート |
Publications (2)
| Publication Number | Publication Date |
|---|---|
| JP2001193781A JP2001193781A (ja) | 2001-07-17 |
| JP3962971B2 true JP3962971B2 (ja) | 2007-08-22 |
Family
ID=18532015
Family Applications (1)
| Application Number | Title | Priority Date | Filing Date |
|---|---|---|---|
| JP2000002994A Expired - Fee Related JP3962971B2 (ja) | 2000-01-11 | 2000-01-11 | サスペンション用アッパサポート |
Country Status (1)
| Country | Link |
|---|---|
| JP (1) | JP3962971B2 (ja) |
Families Citing this family (8)
| Publication number | Priority date | Publication date | Assignee | Title |
|---|---|---|---|---|
| JP5325653B2 (ja) | 2009-05-19 | 2013-10-23 | 東海ゴム工業株式会社 | 電動モータ駆動式車両用の駆動ユニット防振保持装置 |
| WO2020090273A1 (ja) * | 2018-10-30 | 2020-05-07 | 本田技研工業株式会社 | ダンパマウント取付構造およびダンパマウント |
| JP7122222B2 (ja) * | 2018-10-30 | 2022-08-19 | 本田技研工業株式会社 | ダンパマウント取付構造 |
| JP6954881B2 (ja) * | 2018-10-30 | 2021-10-27 | 本田技研工業株式会社 | ダンパマウント |
| CN110425249B (zh) * | 2019-08-09 | 2020-12-25 | 长沙中联恒通机械有限公司 | 一种缓冲减震装置 |
| FR3117703A1 (fr) * | 2020-12-15 | 2022-06-17 | Valeo Equipements Electriques Moteur | dispositif de roulement pour machine électrique tournante |
| CN115635986A (zh) * | 2022-10-31 | 2023-01-24 | 中车南京浦镇车辆有限公司 | 一种弹性支承座 |
| CN119283618A (zh) * | 2024-11-29 | 2025-01-10 | 中国第一汽车股份有限公司 | 悬置组件及车辆 |
-
2000
- 2000-01-11 JP JP2000002994A patent/JP3962971B2/ja not_active Expired - Fee Related
Also Published As
| Publication number | Publication date |
|---|---|
| JP2001193781A (ja) | 2001-07-17 |
Similar Documents
| Publication | Publication Date | Title |
|---|---|---|
| CA2400971C (en) | Dust cover attaching structure for hydraulic damper | |
| JP3704032B2 (ja) | ストラットマウント | |
| JP2009222223A (ja) | 油圧緩衝器のバンプキャップ | |
| JP3962971B2 (ja) | サスペンション用アッパサポート | |
| JP2001280400A (ja) | サスペンション用アッパサポート | |
| JP3959527B2 (ja) | 防振装置 | |
| JP6537958B2 (ja) | ブラケット付き防振装置 | |
| JP4716387B2 (ja) | 防振ブッシュ | |
| JP3956261B2 (ja) | アブソーバ用クッションゴム | |
| JP3937042B2 (ja) | ストラットマウント | |
| JP2012127441A (ja) | 防振ブッシュ、及び該防振ブッシュを備えたトルクロッド | |
| JP3733306B2 (ja) | 筒型防振装置 | |
| JP2002081503A (ja) | ストラットマウント | |
| JP5662795B2 (ja) | 筒形防振装置 | |
| JP4017213B2 (ja) | 防振機構 | |
| JP5060994B2 (ja) | アッパーサポート | |
| JPH0361855B2 (ja) | ||
| JP2007239916A (ja) | ストラットマウント | |
| JP2023159960A (ja) | 筒形マウント | |
| JP4291347B2 (ja) | 防振装置 | |
| JPS6115322Y2 (ja) | ||
| JP2662164B2 (ja) | ストラットマウントインシュレータ | |
| JP4005607B2 (ja) | ストラットマウント | |
| JP4295309B2 (ja) | 液封入式防振装置 | |
| JP3772535B2 (ja) | ショックアブソーバ用取付金具 |
Legal Events
| Date | Code | Title | Description |
|---|---|---|---|
| A621 | Written request for application examination |
Free format text: JAPANESE INTERMEDIATE CODE: A621 Effective date: 20040127 |
|
| A977 | Report on retrieval |
Free format text: JAPANESE INTERMEDIATE CODE: A971007 Effective date: 20050926 |
|
| A131 | Notification of reasons for refusal |
Free format text: JAPANESE INTERMEDIATE CODE: A131 Effective date: 20051025 |
|
| A521 | Written amendment |
Free format text: JAPANESE INTERMEDIATE CODE: A523 Effective date: 20051220 |
|
| A131 | Notification of reasons for refusal |
Free format text: JAPANESE INTERMEDIATE CODE: A131 Effective date: 20060613 |
|
| A521 | Written amendment |
Free format text: JAPANESE INTERMEDIATE CODE: A523 Effective date: 20060807 |
|
| TRDD | Decision of grant or rejection written | ||
| A01 | Written decision to grant a patent or to grant a registration (utility model) |
Free format text: JAPANESE INTERMEDIATE CODE: A01 Effective date: 20070427 |
|
| A61 | First payment of annual fees (during grant procedure) |
Free format text: JAPANESE INTERMEDIATE CODE: A61 Effective date: 20070510 |
|
| R150 | Certificate of patent or registration of utility model |
Free format text: JAPANESE INTERMEDIATE CODE: R150 |
|
| FPAY | Renewal fee payment (event date is renewal date of database) |
Free format text: PAYMENT UNTIL: 20110601 Year of fee payment: 4 |
|
| FPAY | Renewal fee payment (event date is renewal date of database) |
Free format text: PAYMENT UNTIL: 20110601 Year of fee payment: 4 |
|
| FPAY | Renewal fee payment (event date is renewal date of database) |
Free format text: PAYMENT UNTIL: 20120601 Year of fee payment: 5 |
|
| LAPS | Cancellation because of no payment of annual fees |