JP3891069B2 - 燃料電池のセパレータ - Google Patents

燃料電池のセパレータ Download PDF

Info

Publication number
JP3891069B2
JP3891069B2 JP2002233621A JP2002233621A JP3891069B2 JP 3891069 B2 JP3891069 B2 JP 3891069B2 JP 2002233621 A JP2002233621 A JP 2002233621A JP 2002233621 A JP2002233621 A JP 2002233621A JP 3891069 B2 JP3891069 B2 JP 3891069B2
Authority
JP
Japan
Prior art keywords
cell
flow path
gas flow
metal plate
terminal
Prior art date
Legal status (The legal status is an assumption and is not a legal conclusion. Google has not performed a legal analysis and makes no representation as to the accuracy of the status listed.)
Expired - Fee Related
Application number
JP2002233621A
Other languages
English (en)
Other versions
JP2004079193A (ja
Inventor
晃 青砥
Current Assignee (The listed assignees may be inaccurate. Google has not performed a legal analysis and makes no representation or warranty as to the accuracy of the list.)
Toyota Motor Corp
Original Assignee
Toyota Motor Corp
Priority date (The priority date is an assumption and is not a legal conclusion. Google has not performed a legal analysis and makes no representation as to the accuracy of the date listed.)
Filing date
Publication date
Application filed by Toyota Motor Corp filed Critical Toyota Motor Corp
Priority to JP2002233621A priority Critical patent/JP3891069B2/ja
Priority to US10/629,764 priority patent/US7459228B2/en
Priority to CA2436562A priority patent/CA2436562C/en
Priority to DE10336510A priority patent/DE10336510B4/de
Publication of JP2004079193A publication Critical patent/JP2004079193A/ja
Application granted granted Critical
Publication of JP3891069B2 publication Critical patent/JP3891069B2/ja
Anticipated expiration legal-status Critical
Expired - Fee Related legal-status Critical Current

Links

Images

Classifications

    • HELECTRICITY
    • H01ELECTRIC ELEMENTS
    • H01MPROCESSES OR MEANS, e.g. BATTERIES, FOR THE DIRECT CONVERSION OF CHEMICAL ENERGY INTO ELECTRICAL ENERGY
    • H01M8/00Fuel cells; Manufacture thereof
    • H01M8/02Details
    • H01M8/0202Collectors; Separators, e.g. bipolar separators; Interconnectors
    • H01M8/0204Non-porous and characterised by the material
    • H01M8/0206Metals or alloys
    • H01M8/0208Alloys
    • H01M8/021Alloys based on iron
    • HELECTRICITY
    • H01ELECTRIC ELEMENTS
    • H01MPROCESSES OR MEANS, e.g. BATTERIES, FOR THE DIRECT CONVERSION OF CHEMICAL ENERGY INTO ELECTRICAL ENERGY
    • H01M8/00Fuel cells; Manufacture thereof
    • H01M8/02Details
    • H01M8/0202Collectors; Separators, e.g. bipolar separators; Interconnectors
    • H01M8/0204Non-porous and characterised by the material
    • H01M8/0213Gas-impermeable carbon-containing materials
    • HELECTRICITY
    • H01ELECTRIC ELEMENTS
    • H01MPROCESSES OR MEANS, e.g. BATTERIES, FOR THE DIRECT CONVERSION OF CHEMICAL ENERGY INTO ELECTRICAL ENERGY
    • H01M8/00Fuel cells; Manufacture thereof
    • H01M8/02Details
    • H01M8/0202Collectors; Separators, e.g. bipolar separators; Interconnectors
    • H01M8/0204Non-porous and characterised by the material
    • H01M8/0223Composites
    • H01M8/0228Composites in the form of layered or coated products
    • HELECTRICITY
    • H01ELECTRIC ELEMENTS
    • H01MPROCESSES OR MEANS, e.g. BATTERIES, FOR THE DIRECT CONVERSION OF CHEMICAL ENERGY INTO ELECTRICAL ENERGY
    • H01M8/00Fuel cells; Manufacture thereof
    • H01M8/02Details
    • H01M8/0202Collectors; Separators, e.g. bipolar separators; Interconnectors
    • H01M8/0258Collectors; Separators, e.g. bipolar separators; Interconnectors characterised by the configuration of channels, e.g. by the flow field of the reactant or coolant
    • HELECTRICITY
    • H01ELECTRIC ELEMENTS
    • H01MPROCESSES OR MEANS, e.g. BATTERIES, FOR THE DIRECT CONVERSION OF CHEMICAL ENERGY INTO ELECTRICAL ENERGY
    • H01M8/00Fuel cells; Manufacture thereof
    • H01M8/02Details
    • H01M8/0271Sealing or supporting means around electrodes, matrices or membranes
    • H01M8/0273Sealing or supporting means around electrodes, matrices or membranes with sealing or supporting means in the form of a frame
    • HELECTRICITY
    • H01ELECTRIC ELEMENTS
    • H01MPROCESSES OR MEANS, e.g. BATTERIES, FOR THE DIRECT CONVERSION OF CHEMICAL ENERGY INTO ELECTRICAL ENERGY
    • H01M8/00Fuel cells; Manufacture thereof
    • H01M8/24Grouping of fuel cells, e.g. stacking of fuel cells
    • H01M8/2465Details of groupings of fuel cells
    • H01M8/2483Details of groupings of fuel cells characterised by internal manifolds
    • YGENERAL TAGGING OF NEW TECHNOLOGICAL DEVELOPMENTS; GENERAL TAGGING OF CROSS-SECTIONAL TECHNOLOGIES SPANNING OVER SEVERAL SECTIONS OF THE IPC; TECHNICAL SUBJECTS COVERED BY FORMER USPC CROSS-REFERENCE ART COLLECTIONS [XRACs] AND DIGESTS
    • Y02TECHNOLOGIES OR APPLICATIONS FOR MITIGATION OR ADAPTATION AGAINST CLIMATE CHANGE
    • Y02EREDUCTION OF GREENHOUSE GAS [GHG] EMISSIONS, RELATED TO ENERGY GENERATION, TRANSMISSION OR DISTRIBUTION
    • Y02E60/00Enabling technologies; Technologies with a potential or indirect contribution to GHG emissions mitigation
    • Y02E60/30Hydrogen technology
    • Y02E60/50Fuel cells

Landscapes

  • Chemical & Material Sciences (AREA)
  • Life Sciences & Earth Sciences (AREA)
  • Engineering & Computer Science (AREA)
  • Manufacturing & Machinery (AREA)
  • Sustainable Development (AREA)
  • Sustainable Energy (AREA)
  • Chemical Kinetics & Catalysis (AREA)
  • Electrochemistry (AREA)
  • General Chemical & Material Sciences (AREA)
  • Composite Materials (AREA)
  • Fuel Cell (AREA)

Description

【0001】
【発明の属する技術分野】
本発明は低温型燃料電池、とくに固体高分子電解質型燃料電池、のセパレータに関し、セパレータの金属板の表面処理構造に関する。
【0002】
【従来の技術】
固体高分子電解質型燃料電池は、膜−電極アッセンブリ(MEA:Membrane-Electrode Assembly )とセパレータとの積層体からなる。膜−電極アッセンブリは、イオン交換膜からなる電解質膜とこの電解質膜の一面に配置された触媒層からなる電極(アノード、燃料極)および電解質膜の他面に配置された触媒層からなる電極(カソード、空気極)とからなる。膜−電極アッセンブリとセパレータとの間には、アノード側、カソード側にそれぞれ拡散層が設けられる。セパレータには、アノードに燃料ガス(水素)を供給するための燃料ガス流路が形成され、カソードに酸化ガス(酸素、通常は空気)を供給するための酸化ガス流路が形成されている。また、セパレータには冷媒(通常、冷却水)を流すための冷媒流路も形成されている。膜−電極アッセンブリとセパレータを重ねてセルを構成し、少なくとも1つのセルからモジュールを構成し、モジュールを積層してセル積層体とし、セル積層体のセル積層方向両端に、ターミナル、インシュレータ、エンドプレートを配置し、セル積層体をセル積層方向に締め付け、セル積層体の外側でセル積層方向に延びる締結部材(たとえば、テンションプレート)、ボルト・ナットにて固定して、スタックを構成する。
各セルの、アノード側では、水素を水素イオン(プロトン)と電子にする反応が行われ、水素イオンは電解質膜中をカソード側に移動し、カソード側では酸素と水素イオンおよび電子(隣りのMEAのアノードで生成した電子がセパレータを通してくる、またはセル積層方向一端のセルのアノードで生成した電子が外部回路を通して他端のセルのカソードにくる)から水を生成するつぎの反応が行われる。
アノード側:H2 →2H+ +2e-
カソード側:2H+ +2e- +(1/2)O2 →H2
各セル毎に、または複数のセル毎に、セルで正常な発電が行われていることを確認するとともに、セル電圧に基づいて反応ガスの流量制御を行ったり、異常電圧の場合にモータにガイドをかけるために、セル電圧がモニタされる。
特開平11−339828号は、燃料電池のセル電圧モニタを開示している。また、特開2001−283880は、メタルセパレータのガス流路部の耐食性向上のために、メタルセパレータ全体にカーボンコートを施すことを開示している。
【0003】
【発明が解決しようとする課題】
しかし、従来技術には、つぎの問題がある。
メタルセパレータの、セル電圧モニタ端子接触部にカーボンコートが施されていると、メタルセパレータの、端子接触部の接触抵抗が安定しなくなり、セル電圧検出精度が低下する。また、カーボンコートを施さないと、ガス流路部の腐食の進行が早くなる。したがって、端子接触部の接触抵抗の安定と、ガス流路部の耐食性とを両立させることが困難である。
本発明の目的は、ガス流路部の耐食性を低下させることなく、端子接触部の接触抵抗を安定させることができる、燃料電池のセパレータを提供することにある。
【0004】
【課題を解決するための手段】
上記目的を達成する本発明はつぎの通りである。
(1) 金属板を有し、該金属板はガス流路部とガス流路部外にセル電圧モニター端子との接触部を有する燃料電池のセパレータであって、
前記ガス流路部では、前記金属板に金属メッキが施されるとともに該金属メッキの上にカーボンコートが施されており、
前記ガス流路部外の前記セル電圧モニター端子との接触部では、カーボンコート時に前記セル電圧モニター端子との接触部をマスキングすることにより、前記金属板に前記金属メッキが施されたままとされている燃料電池のセパレータ。
(2) 前記金属板はステンレス板であり、前記金属メッキは金メッキである(1)記載の燃料電池のセパレータ。
(3) 前記ガス流路部は周囲をシール材でシールされており、該シール材の内縁より外が前記ガス流路部外である(1)記載の燃料電池のセパレータ。
【0005】
上記(1)〜(3)の燃料電池のセパレータでは、ガス流路部では、金属メッキが施されるとともに該金属メッキの上にカーボンコートが施されており、ガス流路部外のセル電圧モニター端子との接触部では、カーボンコート時に前記セル電圧モニター端子との接触部をマスキングすることにより、金属板に金属メッキが施されたままとされているので、ガス流路部には耐食性のある表面処理を施し、セル電圧モニター端子接触部には接触抵抗を少なくし、かつ、安定化させる表面処理を施すことにより、ガス流路部の耐食性を良好に維持しながら、端子接触部の接触抵抗を安定させることができる。その結果、端子接触部の接触抵抗の安定と、ガス流路部の耐食性とを容易に両立させることができる。
ス流路部の表面処理はカーボンコートを含み、セル電圧モニター端子との接触部の表面処理は金属メッキのままでカーボンコートを含まないようにしたので、ガス流路部の耐食性を良好に維持しながら、端子接触部の接触抵抗を安定させることができる。その結果、端子接触部の接触抵抗の安定と、ガス流路部の耐食性とを容易に両立させることができる。
【0006】
【発明の実施の形態】
以下に、本発明の燃料電池のセパレータを図1〜図8を参照して説明する。
本発明で対象となる燃料電池は低温型燃料電池であり、たとえば固体高分子電解質型燃料電池10である。該燃料電池10は、たとえば燃料電池自動車に搭載される。ただし、自動車以外に用いられてもよい。
【0007】
固体高分子電解質型燃料電池10は、図1、図2に示すように、膜−電極アッセンブリ(MEA:Membrane-Electrode Assembly )とセパレータ18との積層体からなる。膜−電極アッセンブリは、イオン交換膜からなる電解質膜11と、この電解質膜の一面に配置された触媒層12からなる電極(アノード、燃料極)14および電解質膜11の他面に配置された触媒層15からなる電極(カソード、空気極)17とからなる。膜−電極アッセンブリとセパレータ18との間には、アノード側、カソード側にそれぞれ拡散層13、16が設けられる。
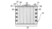
膜−電極アッセンブリとセパレータ18を重ねてセル19を構成し、少なくとも1つのセルからモジュールを構成し、モジュールを積層してセル積層体とし、セル積層体のセル積層方向両端に、ターミナル20、インシュレータ21、エンドプレート22を配置し、セル積層体をセル積層方向に締め付け、セル積層体の外側でセル積層方向に延びる締結部材(たとえば、テンションプレート24)、ボルト・ナット25にて固定して、スタック23を構成する。
【0008】
セパレータ18には、アノード14に燃料ガス(水素)を供給するための燃料ガス流路27が形成され、カソード17に酸化ガス(酸素、通常は空気)を供給するための酸化ガス流路28が形成されている。また、セパレータには冷媒(通常、冷却水)を流すための冷媒流路26も形成されている。冷媒流路26はセル毎に、または複数のセル毎に(たとえば、モジュール毎に)設けられている。
セパレータ18は、金属板29と樹脂フレーム30とを有する合成セパレータである。
図3に示すように、金属板29はセル面内中央部にガス流路部40とガス流路部外の部分41とを有し、ガス流路部40にガス流路27、28が形成される。ガス流路部40では金属板29は一面で燃料ガスと酸化ガスの何れか一方に触れ、他面で冷却水または燃料ガスと酸化ガスの他方に触れる。ガス流路部40は周囲で接着剤、シール材でシールされ、シール部内縁より外がガス流路部外の部分41で、ガス流路部外の部分41ではガスマニホールド部を除き金属板29は燃料ガス、酸化ガスに接触しない。樹脂フレーム40はセル面内のセル外周部に設けられる。
【0009】
プラス側の金属板29とマイナス側の金属板29との間にMEAが挟まれ、セル面内中央部では金属板29のMEA側にガス流路27、28が形成され、周囲部ではプラス側の金属板29とマイナス側の金属板29との間に電解質膜11が挟まれる。金属板29同士の間、樹脂フレーム30と金属板29との間、金属板29と電解質膜11との間は、シール材を兼ねる接着剤にてシールされる。
電解質膜11を挟んで対峙するプラス側の金属板とマイナス側の金属板との間には電位差があり、その電位差は約1ボルトである。1つのセル19のプラス側の金属板29と、隣りのセル19のマイナス側の金属板29とはセル面内中央部で接触していて、電位差はない。
【0010】
複数のセル電圧モニター31が燃料電池スタック23に取付けられている。
各セル電圧モニター31は、燃料電池スタックへの固定部35を有する1つのハウジング33と、そのハウジング33で保持された1つ以上の端子32を含む。端子32は導電性で金属製(金属メッキのものを含む)であり、ハウジング33は非導電性でたとえば樹脂製である。
各セル電圧モニター31の1つ以上の端子32は、そのセル電圧モニター31のハウジング33内で、端子32同士互いに並列に、かつ、燃料電池スタック23のセル積層方向に列状に、配置されている。
また、各セル電圧モニター31に1つづつ設けられた複数のハウジング33は燃料電池スタック23の側面(四側の側面の一つの側面)に配置されている。
セル電圧モニター31の極数は、そのセル電圧モニター31のハウジング33に保持される端子32の数と等しい。たとえば、図4は、極数が2のセル電圧モニター31と極数が8のセル電圧モニター31との2種類のセル電圧モニター31がスタック23に取り付けられた場合を示している。
【0011】
各セル電圧モニター31の各端子32は、セル19の同極(プラスならプラス、マイナスならマイナス)の金属板29に接触されてそのセル19の電位を検出する。たとえば、一つの端子32が一つのセル19のプラス極の金属板29に接触されると、隣りの端子32は隣りのセル19のプラス極の金属板29に接触される。そのため、隣接する端子32間には少なくとも1セルの厚さ分のピッチ間隔があり、各ハウジング33において、端子32同士の干渉を生じることなく、複数の端子32をセル積層方向に並べて配置することができる。そして、隣接する端子32間にはハウジング33の仕切板33jが位置していて、端子32同士が接触して短絡することを防止している。
【0012】
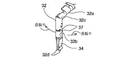
図1に示すように、セル電圧モニター31の端子32の金属板29とのコンタクト部34は、金属板29部位に設けられており、セル電圧モニター31のハウジング33の燃料電池への固定部35は、樹脂フレーム30部位に設けられている。
コンタクト部34と固定部35とは離れている。
【0013】
セパレータ18の金属板29には、ガス流路部外の部分41に、セル電圧モニター31の端子32との接触部42が形成される。コンタクト部34は端子32に設けられ接触部42は金属板29に設けられ、両者が接触する。
セパレータ18の金属板29には、ガス流路部40とセル電圧モニター端子との接触部42とで異なる表面処理が施されている。
ガス流路部40の表面処理はカーボンコートを含み、セル電圧モニター端子との接触部42の表面処理はカーボンコートを含まない。
【0014】
金属板29はたとえばステンレス板で、その表面に導電性の金属メッキ、たとえば金メッキ、が施されている。そして、メッキにピンホールがある場合にはそこからステンレス板の腐食が進行するおそれがあるので、腐食の進行が予想されるガス流路部40においては、ガスと接触する側の面に、耐食性を向上させるためにメッキの上からカーボンコートを施し、ピンホールをカーボン粉末または粒子で埋めるようにする。ガス流路部であっても冷却水に接触する側の面は、酸素がないのでメッキのままで、カーボンコートは施されない。また、ガス流路部であっても燃料ガスである水素に触れる場合は水素接触面にはカーボンコートは施さなくてもよい(ただし、施してもよい)。
【0015】
また、ガス流路部外の部分41にもカーボンコートを施すと、とくにセル電圧モニター31の端子32との接触部42にもカーボンコートを施すと、セル電圧モニター31の端子32との接触部42では接触電気抵抗が安定しなくなるか、または安定しなくなるおそれがあるので、ガス流路部外の部分41には、とくにセル電圧モニター端子との接触部42には、カーボンコートを施さないようにする(ただし、ガス流路部外の部分41であっても、セル電圧モニター端子との接触部42以外の部分には、カーボンコートを施してもよい)。したがって、セル電圧モニター31の端子32は、ステンレス板に直接、または導電性の金属メッキ、たとえば金メッキ、が施されている場合は導電性の金属メッキ、たとえば金メッキ、に直接、接触する。カーボンコートを施さない面は、カーボンコーティング時にマスキングすることにより、容易にマスキングした部位だけカーボンコートが形成されないようにすることができる。
【0016】
セル電圧モニター31は、燃料電池スタック23へ、つぎのように取付けられる。
図4〜図8に示すように、スタック23のうちセル電圧モニター31が取付けられる部位には、樹脂フレーム30に第1の溝30aと第2の溝30bが形成されている。第1の溝30aと第2の溝30bとは離れた位置に形成されており互いに平行である。プラス極の金属板29とマイナス極の金属板29とのうち何れか一方の金属板29に端子31が接触される。端子31が接触される方の金属板29には、樹脂フレーム30の第1の溝30aのみと位置、形状を対応させて狭幅の溝29aが形成されており、端子31が接触されない方の金属板29には、樹脂フレーム30の第1の溝30aと第2の溝30bの両方にわたる広幅の溝29bが形成されている。
【0017】
端子32は、導線36に接続されている。端子32は、側面視でL字状のL字状部材からなり、L字の第1の脚32aと、L字の第2の脚32bと、L字の折れ曲がり部32cとを有する。端子32は、第1の脚32aでかしめによって導線36に連結される。端子32の第2の脚32bは折れ曲がり部32cと反対側の端部に一対のアーム32dを有し、一対のアーム32d間にセパレータの金属板29を挟んで金属板29と接触し、金属板29とのコンタクト部(電気的接触部)34を構成している。
【0018】
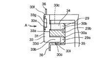
ハウジング33は、側面視でF字状のF字状部材からなり、F字の柱33aと、柱33aの先端33dから柱33aと直交方向に延びる第1の脚33bと、柱33aの中間部33eから柱33aと直交方向に延びる第2の脚33cとを有する。
セル電圧モニター31がスタック23に取付けられた時には、ハウジング33の第1の脚33bは樹脂フレーム30に第1の溝30aと金属板29の溝29aに突入し、ハウジング33の第2の脚33cは樹脂フレーム30に第2の溝30bと金属板29の溝29bに突入する。
【0019】
ハウジング33の柱33aの、先端33dと反対側の端部33fから中間部33eまでの間の部分、および第2の脚33cとは、端子32を保持する端子保持部33gを構成する。端子32を端子保持部33gに挿入後ハウジング33の蓋33hを閉じて端子32が端子保持部33gから抜け出ないようにする。
また、ハウジング33の第1の脚33bには、第2の脚33cに対向する側と反対側の面に該面から突出する爪33iが形成されている。爪33iは、樹脂フレーム30の第1の溝30aの、爪対応部に形成された爪係合凹部30cに入り、爪係合凹部30cと係合し、爪33iと爪係合凹部30cはセル電圧モニター31の燃料電池に固定する固定部35を構成している。
金属板29の溝29a、29bの、ハウジング33の第1の脚33bに対向する縁部は、樹脂フレーム30の第1の溝30aの、ハウジング33の第1の脚33bに対向する縁部よりも、第1の脚33bから離れていて爪33iと当たらず、爪33iが爪係合凹部30cに入ることを阻害しない。
【0020】
端子32には、一対のアーム32dと折れ曲がり部32cとの間に、スリット37が形成されていて、第1の脚32aが一対のアーム32dに対してセル積層方向に若干首振りすることができるようになっている。これによって、セルの厚さ方向の寸法に誤差があっても、それを吸収して端子32を取付けることができるようにしてある。このスリット37があっても、セル数が多くなると寸法誤差が積算されて大きな誤差となってその誤差を吸収できなくなるので、1つのハウジング33に保持される端子32の数は約10以下とすることが望ましい。
【0021】
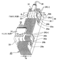
また、図4に示すように、ハウジング33は、スタック23のセル積層方向に左右互い違いに配置されて、千鳥配置となっている。燃料電池スタック23の各セルには、ハウジング33の千鳥状の配置の左右の両方の列に対して、セル電圧モニター31を取り付けるためのセル電圧モニター取付け部が設けられている。各セル電圧モニター取付け部は、樹脂フレーム30の第1の溝30a、第2の溝30b、爪係合凹部30c、金属板29の2つの溝29a、29bを含む。セルには、千鳥配置の左列か右列かのハウジング33が取付けられ固定されるが、ハウジング33が取付けられる方の列に対応する部位にはセル電圧モニター取付け部が形成されことは勿論であるが、ハウジングが取付けられない方の列に対応する部位にも、セル電圧モニター取付け部が形成されている。これによって、左右列2つのセル電圧モニター取付け部がいずれのセルにも形成され、いずれのセルも、2つのセル電圧モニター取付け部が形成された構造をとる。その結果、セル電圧モニター取付けに1種類のセルを用意すればよく、従来のように左列の端子が取付けられるセルと右列の端子が取付けられるセルとの構造を変えて2種類のセルを用意する必要がなくなる。
【0022】
つぎに、本発明の燃料電池のセパレータの作用を説明する。
まず、セパレータ18の金属板29の表面処理を、ガス流路部40とセル電圧モニター端子接触部42とで変えたので、ガス流路部40には耐食性のある表面処理を施し、セル電圧モニター端子接触部42には接触抵抗を少なくし、かつ、安定化させる表面処理を施すことにより、ガス流路部40の耐食性を良好に維持しながら、端子接触部42の接触抵抗を安定させることができる。その結果、端子接触部42の接触抵抗の安定と、ガス流路部40の耐食性とを容易に両立させることができる。
【0023】
具体的には、セパレータ18の金属板29のガス流路部40の表面処理はカーボンコートを含み、セパレータ18の金属板29のセル電圧モニター端子との接触部42の表面処理はカーボンコートを含まないようにしたので、ガス流路部40の耐食性を良好に維持しながら、端子接触部42の接触抵抗を安定させることができる。その結果、端子接触部42の接触抵抗の安定と、ガス流路部40の耐食性とを容易に両立させることができる。
セパレータ18の金属板29は、たとえばステンレス板のガス流路部表面に金メッキしたものからなるが、ガス流路部40は、とくに酸化ガス流路28が形成されているガス流路部40は、生成水と酸素に触れるので、酸化しやすい環境にあり、もしも金メッキにピンホールがあると、ステンレス素地の腐食が進行しやすいので、カーボンコートを施してメッキ層のピンホールを埋め、耐食性を向上させる。しかし、カーボンコートを施すと表面の凹凸等により、金属板29の端子接触部42の接触抵抗が安定しにくくなり、検出電位の精度が低下する。本発明では、金属板29の端子接触部42はカーボンコートを施さず、導電性金属メッキ、とくに金メッキのままとしたので、端子接触部42の接触抵抗が安定し、検出電位の精度が向上する。
【0024】
【発明の効果】
請求項1〜3の燃料電池のセパレータによれば、ガス流路部では、金属板に金属メッキが施されるとともに該金属メッキの上にカーボンコートが施されており、ガス流路部外のセル電圧モニター端子との接触部では、カーボンコート時に前記セル電圧モニター端子との接触部をマスキングすることにより、金属板に金属メッキが施されたままとされているので、ガス流路部には耐食性のある表面処理を施し、セル電圧モニター端子接触部には接触抵抗を少なくし、かつ、安定化させる表面処理を施すことにより、ガス流路部の耐食性を良好に維持しながら、端子接触部の接触抵抗を安定させることができる。その結果、端子接触部の接触抵抗の安定と、ガス流路部の耐食性とを容易に両立させることができる。
ス流路部の表面処理はカーボンコートを含み、セル電圧モニター端子との接触部の表面処理は金属メッキのままでカーボンコートを含まないようにしたので、ガス流路部の耐食性を良好に維持しながら、端子接触部の接触抵抗を安定させることができる。その結果、端子接触部の接触抵抗の安定と、ガス流路部の耐食性とを容易に両立させることができる。
【図面の簡単な説明】
【図1】燃料電池スタックの、セル積層方向と直交する方向から見た、側面図である。
【図2】燃料電池スタックの単セルの一部分の断面図である。
【図3】本発明の燃料電池のセパレータの正面図である。
【図4】本発明の燃料電池のセパレータが組み付けられたスタックへのセル電圧モニター取付け構造の斜視図である。
【図5】図4のB−B線で切断して見た断面図である。
【図6】図4のセル電圧モニター取付け構造の側面図である。
【図7】図6のうちセル電圧モニターの、図6におけるA方向視図である。
【図8】図6のうちセル電圧モニターの、端子のみの斜視図である。
【符号の説明】
10 (固体高分子電解質型)燃料電池
11 電解質膜
12、15 触媒層
13、16 拡散層
14 電極(アノード、燃料極)
17 電極(カソード、空気極)
18 セパレータ
19 セル
20 ターミナル
21 インシュレータ
22 エンドプレート
23 スタック
24 締結部材(テンションプレート)
25 ボルト
26 冷媒流路(冷却水流路)
27 燃料ガス流路
28 酸化ガス流路
29 金属板
29a、29b 溝
30 樹脂フレーム
30a 第1の溝
30b 第2の溝
30c 爪係合凹部
31 セル電圧モニター
32 端子
32a 第1の脚
32b 第2の脚
32c 折れ曲がり部
32d 一対のアーム
33 ハウジング
33a 柱
33b 第1の脚
33c 第2の脚
33d 先端
33e 中間部
33f 反対側端部
33g 端子保持部
33h 蓋
33i 爪
33j 仕切板
34 コンタクト部
35 抜け止め部
36 導線
37 スリット
40 ガス流路部40
41 ガス流路部外の部分
42 セル電圧モニター端子との接触部

Claims (3)

  1. 金属板を有し、該金属板はガス流路部とガス流路部外にセル電圧モニター端子との接触部を有する燃料電池のセパレータであって、
    前記ガス流路部では、前記金属板に金属メッキが施されるとともに該金属メッキの上にカーボンコートが施されており、
    前記ガス流路部外の前記セル電圧モニター端子との接触部では、カーボンコート時に前記セル電圧モニター端子との接触部をマスキングすることにより、前記金属板に前記金属メッキが施されたままとされている燃料電池のセパレータ。
  2. 前記金属板はステンレス板であり、前記金属メッキは金メッキである請求項1記載の燃料電池のセパレータ。
  3. 前記ガス流路部は周囲をシール材でシールされており、該シール材の内縁より外が前記ガス流路部外である請求項1記載の燃料電池のセパレータ。
JP2002233621A 2002-08-09 2002-08-09 燃料電池のセパレータ Expired - Fee Related JP3891069B2 (ja)

Priority Applications (4)

Application Number Priority Date Filing Date Title
JP2002233621A JP3891069B2 (ja) 2002-08-09 2002-08-09 燃料電池のセパレータ
US10/629,764 US7459228B2 (en) 2002-08-09 2003-07-30 Separator for fuel cell including a terminal of a cell voltage monitor
CA2436562A CA2436562C (en) 2002-08-09 2003-08-06 Separator for fuel cell
DE10336510A DE10336510B4 (de) 2002-08-09 2003-08-08 Separator für Brennstoffzelle und Brennstoffzellenstapel

Applications Claiming Priority (1)

Application Number Priority Date Filing Date Title
JP2002233621A JP3891069B2 (ja) 2002-08-09 2002-08-09 燃料電池のセパレータ

Publications (2)

Publication Number Publication Date
JP2004079193A JP2004079193A (ja) 2004-03-11
JP3891069B2 true JP3891069B2 (ja) 2007-03-07

Family

ID=31185140

Family Applications (1)

Application Number Title Priority Date Filing Date
JP2002233621A Expired - Fee Related JP3891069B2 (ja) 2002-08-09 2002-08-09 燃料電池のセパレータ

Country Status (4)

Country Link
US (1) US7459228B2 (ja)
JP (1) JP3891069B2 (ja)
CA (1) CA2436562C (ja)
DE (1) DE10336510B4 (ja)

Cited By (2)

* Cited by examiner, † Cited by third party
Publication number Priority date Publication date Assignee Title
WO2009054366A1 (ja) * 2007-10-23 2009-04-30 Toyota Jidosha Kabushiki Kaisha 燃料電池用セパレータの製造方法及び燃料電池の製造方法
DE112008003032T5 (de) 2007-11-12 2010-09-02 Toyota Jidosha Kabushiki Kaisha, Toyota-shi Verfahren zur Herstellung eines Brennstoffzellenseparators

Families Citing this family (21)

* Cited by examiner, † Cited by third party
Publication number Priority date Publication date Assignee Title
EP1691435A4 (en) 2003-11-19 2009-06-17 Aquafairy Corp FUEL CELL
US7153600B2 (en) * 2004-02-24 2006-12-26 General Motors Corporation Integrated cell voltage monitoring module
FR2887690B1 (fr) * 2005-06-28 2007-09-14 Peugeot Citroen Automobiles Sa Plaque bipolaire pour pile a combustible comportant un logement pour connecteur de mesure
FR2887689B1 (fr) * 2005-06-28 2007-09-21 Peugeot Citroen Automobiles Sa Plaque bipolaire pour pile a combustible comprenant un canal de liaison
DE102005032467A1 (de) * 2005-07-08 2007-01-11 Volkswagen Ag Kontaktanordnung zur Kontaktierung von Elektroden eines Brennstoffzellenstapels
JP5034273B2 (ja) * 2006-03-07 2012-09-26 トヨタ自動車株式会社 燃料電池
JP5011759B2 (ja) * 2006-03-07 2012-08-29 トヨタ自動車株式会社 セル電圧モニタを取り付けた燃料電池
JP4910461B2 (ja) * 2006-04-13 2012-04-04 トヨタ自動車株式会社 燃料電池スタック用流体導入部材および燃料電池スタック
US7361065B1 (en) * 2006-11-03 2008-04-22 Tyco Electronics Corporation Connector assembly for conductive plates
JP5233181B2 (ja) * 2007-06-27 2013-07-10 トヨタ自動車株式会社 燃料電池
JP4434264B2 (ja) 2007-11-05 2010-03-17 トヨタ自動車株式会社 燃料電池用セル、燃料電池用セルの製造方法及び燃料電池用ガス流路構造体
JP5307441B2 (ja) * 2008-04-22 2013-10-02 本田技研工業株式会社 燃料電池スタック
JP5188459B2 (ja) * 2009-06-10 2013-04-24 本田技研工業株式会社 燃料電池スタック
US9502731B2 (en) * 2010-11-18 2016-11-22 GM Global Technology Operations LLC Fuel cell plate features to resolve differences in component tolerances
JP5728283B2 (ja) * 2011-04-22 2015-06-03 本田技研工業株式会社 燃料電池
JP5604361B2 (ja) * 2011-04-22 2014-10-08 本田技研工業株式会社 燃料電池
GB2506927A (en) * 2012-10-15 2014-04-16 Intelligent Energy Ltd Cell voltage monitoring connector system for a fuel cell stack
DE102013013295A1 (de) * 2013-08-12 2015-02-12 Airbus Defence and Space GmbH Ionendosiervorrichtung für eine Energiespeichervorrichtung, Verfahren zum Herstellen einer Ionendosiervorrichtung und Energiespeichervorrichtung
JP6569582B2 (ja) * 2016-04-11 2019-09-04 トヨタ自動車株式会社 燃料電池用セパレータの製造方法
JP6568011B2 (ja) * 2016-04-28 2019-08-28 トヨタ自動車株式会社 燃料電池用のセパレータ材の表面処理方法
DE102016225438A1 (de) * 2016-12-19 2018-06-21 Bayerische Motoren Werke Aktiengesellschaft Verbindungselement zum elektrischen Kontaktieren von Separatorplatten eines Brennstoffzellenstapels

Family Cites Families (16)

* Cited by examiner, † Cited by third party
Publication number Priority date Publication date Assignee Title
JP3141908B2 (ja) * 1993-03-24 2001-03-07 株式会社エクォス・リサーチ 燃料電池の温度制御装置
JPH09139218A (ja) * 1995-11-14 1997-05-27 Ishikawajima Harima Heavy Ind Co Ltd 溶融炭酸塩型燃料電池用セパレータとその製造方法
JP3854682B2 (ja) * 1997-02-13 2006-12-06 アイシン高丘株式会社 燃料電池用セパレータ
US5858569A (en) * 1997-03-21 1999-01-12 Plug Power L.L.C. Low cost fuel cell stack design
CA2299474C (en) * 1997-10-14 2007-10-09 Nisshin Steel Co., Ltd. A separator of a low-temperature fuel cell and manufacturing method thereof
JP4707786B2 (ja) * 1998-05-07 2011-06-22 トヨタ自動車株式会社 燃料電池用ガスセパレータの製造方法
JP4069494B2 (ja) * 1998-05-29 2008-04-02 アイシン精機株式会社 セル電圧測定端子付き燃料電池スタック
JPH11354142A (ja) * 1998-06-11 1999-12-24 Toshiba Corp 固体高分子電解質型燃料電池
JP3468739B2 (ja) 1999-12-27 2003-11-17 新東ブレーター株式会社 高耐食性かつ対カーボン低接触抵抗性金属の燃料電池用セパレーターへの付着方法
JP4087039B2 (ja) * 2000-03-14 2008-05-14 本田技研工業株式会社 燃料電池
JP2001283880A (ja) 2000-03-30 2001-10-12 Nisshin Steel Co Ltd 低温型燃料電池用セパレータ及びその製造方法
US6724194B1 (en) * 2000-06-30 2004-04-20 Ballard Power Systems Inc. Cell voltage monitor for a fuel cell stack
JP4493836B2 (ja) * 2000-12-18 2010-06-30 本田技研工業株式会社 燃料電池のセル電圧検出装置
US7682714B2 (en) * 2001-05-25 2010-03-23 Toyota Jidosha Kabushiki Kaisha Connecting structure of a cell monitor connector to a fuel cell stack
JP2002358993A (ja) * 2001-05-31 2002-12-13 Mitsubishi Electric Corp 積層型燃料電池およびセル電圧の測定方法
JP3868784B2 (ja) * 2001-10-02 2007-01-17 本田技研工業株式会社 燃料電池

Cited By (2)

* Cited by examiner, † Cited by third party
Publication number Priority date Publication date Assignee Title
WO2009054366A1 (ja) * 2007-10-23 2009-04-30 Toyota Jidosha Kabushiki Kaisha 燃料電池用セパレータの製造方法及び燃料電池の製造方法
DE112008003032T5 (de) 2007-11-12 2010-09-02 Toyota Jidosha Kabushiki Kaisha, Toyota-shi Verfahren zur Herstellung eines Brennstoffzellenseparators

Also Published As

Publication number Publication date
DE10336510A1 (de) 2004-02-26
JP2004079193A (ja) 2004-03-11
CA2436562A1 (en) 2004-02-09
US20040028969A1 (en) 2004-02-12
DE10336510B4 (de) 2005-11-24
US7459228B2 (en) 2008-12-02
CA2436562C (en) 2012-04-17

Similar Documents

Publication Publication Date Title
JP3891069B2 (ja) 燃料電池のセパレータ
US7323269B2 (en) Fuel cell
US20050136316A1 (en) Fuel cell and fuel cell stack
JP4098582B2 (ja) セル電圧モニターを取り付けた燃料電池
US20060024561A1 (en) Fuel cell stack
CN101375451B (zh) 具有高耐淹没性的燃料电池组
KR101941739B1 (ko) 연료 전지 스택
JP2004079192A (ja) セル電圧モニターの燃料電池スタックへの取付け構造
JP2002124285A5 (ja)
JP2002124285A (ja) 燃料電池の電圧測定装置
JP2007087766A (ja) 燃料電池スタック
JP4211317B2 (ja) セル電圧モニター
US7368199B2 (en) Fuel cell stack
US7722977B2 (en) Fuel cell stack comprising current collector provided at least at one fluid passage
US7846589B2 (en) Fuel cell having separator with cell voltage terminal
JP4595476B2 (ja) 燃料電池
JP2002352820A (ja) セル電圧モニタ用コネクタのセルへの接続構造
JP5034273B2 (ja) 燃料電池
JP4726182B2 (ja) 燃料電池スタック
JP4134615B2 (ja) 燃料電池
JP2006100021A (ja) 燃料電池スタック
JP2005293924A (ja) 燃料電池用セル電圧モニター装置とその燃料電池スタックへの取付け方法
JP2003297395A (ja) 燃料電池
JP2006140166A (ja) 燃料電池セルモニタ装置
JP3788273B2 (ja) セルモニタの取付構造を有する燃料電池

Legal Events

Date Code Title Description
A621 Written request for application examination

Free format text: JAPANESE INTERMEDIATE CODE: A621

Effective date: 20050316

A977 Report on retrieval

Free format text: JAPANESE INTERMEDIATE CODE: A971007

Effective date: 20060815

A131 Notification of reasons for refusal

Free format text: JAPANESE INTERMEDIATE CODE: A131

Effective date: 20060822

A521 Request for written amendment filed

Free format text: JAPANESE INTERMEDIATE CODE: A523

Effective date: 20061023

TRDD Decision of grant or rejection written
A01 Written decision to grant a patent or to grant a registration (utility model)

Free format text: JAPANESE INTERMEDIATE CODE: A01

Effective date: 20061114

A61 First payment of annual fees (during grant procedure)

Free format text: JAPANESE INTERMEDIATE CODE: A61

Effective date: 20061127

FPAY Renewal fee payment (event date is renewal date of database)

Free format text: PAYMENT UNTIL: 20101215

Year of fee payment: 4

FPAY Renewal fee payment (event date is renewal date of database)

Free format text: PAYMENT UNTIL: 20101215

Year of fee payment: 4

FPAY Renewal fee payment (event date is renewal date of database)

Free format text: PAYMENT UNTIL: 20111215

Year of fee payment: 5

LAPS Cancellation because of no payment of annual fees