JP3762529B2 - 密封装置 - Google Patents

密封装置 Download PDF

Info

Publication number
JP3762529B2
JP3762529B2 JP26934497A JP26934497A JP3762529B2 JP 3762529 B2 JP3762529 B2 JP 3762529B2 JP 26934497 A JP26934497 A JP 26934497A JP 26934497 A JP26934497 A JP 26934497A JP 3762529 B2 JP3762529 B2 JP 3762529B2
Authority
JP
Japan
Prior art keywords
housing
lip
outer peripheral
shaped protrusion
atmosphere side
Prior art date
Legal status (The legal status is an assumption and is not a legal conclusion. Google has not performed a legal analysis and makes no representation as to the accuracy of the status listed.)
Expired - Lifetime
Application number
JP26934497A
Other languages
English (en)
Other versions
JPH1182751A (ja
Inventor
芳夫 敷井
Current Assignee (The listed assignees may be inaccurate. Google has not performed a legal analysis and makes no representation or warranty as to the accuracy of the list.)
Nok Corp
Toyota Motor Corp
Original Assignee
Nok Corp
Toyota Motor Corp
Priority date (The priority date is an assumption and is not a legal conclusion. Google has not performed a legal analysis and makes no representation as to the accuracy of the date listed.)
Filing date
Publication date
Application filed by Nok Corp, Toyota Motor Corp filed Critical Nok Corp
Priority to JP26934497A priority Critical patent/JP3762529B2/ja
Publication of JPH1182751A publication Critical patent/JPH1182751A/ja
Application granted granted Critical
Publication of JP3762529B2 publication Critical patent/JP3762529B2/ja
Anticipated expiration legal-status Critical
Expired - Lifetime legal-status Critical Current

Links

Images

Landscapes

  • Sealing With Elastic Sealing Lips (AREA)

Description

【0001】
【発明の属する技術分野】
本発明は、たとえば自動車のパワーステアリング等の高圧が作用する軸封部に用いられる密封装置に関し、特に外周固定部のシール構造に関する。
【0002】
【従来の技術】
従来のこの種の高圧用の密封装置としては、たとえば図3に示すようなものが知られている。
【0003】
すなわち、密封装置100の外周は、ハウジング101の軸孔101a内周に対して適正な外周しめしろによって嵌合固定される外周固定部102となっている。この外周固定部102は、金属環105外周に被覆された外周ゴム部106によってシール性が高められていた。
【0004】
また、このような耐圧シールの場合には、密封対象流体の圧力によって密封装置100が大気側に抜けないように、外周固定部102の大気側端面が抜け止め用の押え部材103によって押さえられた状態で使用される。
【0005】
押え部材103には、実機組立時において取扱い易いように、押え部材103の外径端部には面取り部104が設けられ、押え部材103をハウジング101の軸孔101a内に差し込み易くしていた。
【0006】
【発明が解決しようとする課題】
しかし上記した従来の密封装置の場合には、ハウジング101に嵌合されることによって、図3(b)に示すように、外周固定部102の外周ゴム部106が、金属環105とハウジング101との間で径方向に圧縮され、圧縮された外周ゴム部106が軸方向密封対象流体側Oおよび大気側Aへはみ出すために、外周固定部106に強い面圧(張り力)を保つことができない。
【0007】
外周固定部102の大気側端面には押え部材103が突当てられているものの、その外径端部には面取り部104が設けられているので、外周ゴム部106の軸方向大気側Aへのはみ出しを規制することができない。
【0008】
この状態で常に高温高圧条件で使用されると、外周固定部106にへたりが生じ、使用圧P0に対して外周面圧paが小さくなり、外周から油漏れが生じるおそれがある。
【0009】
本発明は上記した従来技術の問題を解決するためになされたもので、その目的とするところは、ハウジングに固定される外周固定部のシール性向上を図り、ひいては寿命向上を図り得る密封装置を提供することにある。
【0010】
【課題を解決するための手段】
上記目的を達成するために、本発明にあっては、ハウジングの軸孔内周と移動軸間の隙間をシールするもので、環状の装置本体外周におけるハウジングの軸孔内周に、円筒部と該円筒部の大気側端部に設けられる内向きフランジ部とを備える断面L字形状の金属環の前記円筒部の外周に被覆される外周ゴム部で接触面圧を発生させて嵌合固定される外周固定部を有する密封装置において、前記外周固定部の大気側端部における断面L字形状の金属環の前記円筒部と前記内向きフランジ部とが接続された角部、当該大気側端部よりも大気側に突出し、かつ、前記外周ゴム部から連続して、前記ハウジングの軸孔内周に密接するゴム状弾性材製のリップ状突起を設け、前記外周固定部の大気側端部は前記金属環の内向きフランジ部が露出しており、当該内向きフランジ部がハウジングの軸孔に差し込まれる押え部材端面にほぼ全幅にわたって当接し、押え部材端面の外径端部には面取りが施され、該面取り部とハウジング内周間の隙間に前記リップ状突起が当該隙間を埋めてハウジング内周面に接触面圧を発生可能なボリュームで充填され、前記リップ状突起が前記面取り部によって半径方向外方に向けて押し広げられ、前記リップ状突起の外周がハウジング内周面に強く圧接され、接触面圧が高められる構成としたことを特徴とする。
【0011】
リップ状突起によってハウジングとの間で局部的に高い面圧が発生し、外周シール性が向上する。外周固定部全体の接触面圧が低下しても、リップ状突起によって外周固定部とハウジング間の隙間がシールされる。
【0012】
リップ状突起を外周固定部の大気側端部に設けたことを特徴とする。
【0013】
このようにすれば、密封装置の外周嵌合部からのシール漏れが大気側端部において防止される。
【0014】
外周固定部の大気側端部はハウジングの軸孔に差し込まれる押え部材端面に当接し、押え部材端面の外径端部には面取りが施され、該面取り部とハウジング内周間の隙間にリップ状突起が充填される構成としたことを特徴とする。
【0015】
このようにすれば、実機組立時に、押え部材を外周固定部の大気側端面に突き当てると、押え部材の面取り部とハウジング内周面との間に形成される環状の隙間内にリップ状突起が入り込み、リップ状突起が面取り部によって半径方向外方に向けて押し広げられ、リップ状突起の外周がハウジング内周面に強く圧接され接触面圧が高められる。
【0016】
この接触面圧は、密封対象流体が高圧の場合には、圧力によって密封装置が軸方向押えに対して軸方向に押し付けられるので、接触面圧がさらに大きくなる。
【0019】
【発明の実施の形態】
以下に本発明を図示の実施の形態に基づいて説明する。
【0020】
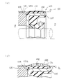
図1は本発明の第1の実施の形態に係る密封装置を示している。
【0021】
本実施の形態に係る密封装置1は、外周固定部の大気側端部にリップ状突起2を設けたものである。
【0022】
すなわち、図において、1は密封装置全体を示している。この密封装置1は、断面L字形状の金属環3と、金属環3に一体的に焼き付けられるシールリップ4を備えたゴム状弾性体5と、シールリップ4を支える樹脂製のバックアップリング6と、から構成されている。
【0023】
金属環3は断面L字形状で、円筒部31と、円筒部31の大気側端部に設けられる内向きフランジ部32と、を備えている。内向きフランジ部32の内径は、移動軸7の外周との間の所定の環状隙間を介して対向している。
【0024】
ゴム状弾性体5は、金属環3の円筒部31の外周に被覆される外周ゴム部51と、円筒部31の端面に被覆される端面ゴム部54と、円筒部31の内周に被覆される内周ゴム部55と、円筒部31内周と内向きフランジ部32の密封対象流体側端面との空間に部分的に充填される略四角形状の腰部52と、この腰部52の内径端部から軸方向密封対象流体側Oに延びるシールリップ4と、を備えている。
【0025】
この外周ゴム部51が、ハウジング8の軸孔8a内周に対して金属環3の円筒部31との間で所定のしめしろでもって嵌着され、外周固定部9を構成している。
【0026】
腰部52の軸方向厚さは円筒部31の長さのほぼ半分程度で、シールリップ4の長さも円筒部31の長さの半分程度と短くなっており、シールリップ4には緊迫力を高めるためのスプリング41が装着されている。
【0027】
この腰部52内周には凹部53が設けられ、この凹部53にバックアップリング6が装着されている。このバックアップリング6は断面略台形状のリング部材で、シールリップ4を支持するようになっている。
【0028】
この密封装置1の外周固定部9に、ゴム状弾性体製のリップ状突起2が設けられている。この実施の形態では、リップ状突起2が外周固定部9の大気側端部に設けられている。
【0029】
このリップ状突起2は、外周固定部9の大気側端部から軸方向大気側Aに向けて徐々に径方向外方に斜めに突出するように延びている。すなわち、リップ状突起2は外周ゴム部51の外周面よりも外方に突出し、密封装置1の大気側端面である金属環3の内向きフランジ部32の大気側端面よりも軸方向大気側Aに突出している。
【0030】
このリップ状突起2の先端部は、軸方向大気側Aに向けて徐々に小径となるように円錐状に傾斜する傾斜面21と、軸方向に対して直交する直交面22との2面によってカットされている。
【0031】
この密封装置1の大気側Aには、密封装置1が密封対象流体Oの圧力によって大気側Aに抜けないように、抜け止め用の押え部材10が配置されている。押え部材10は外周がハウジング内周に差し込み固定される環状部材で、その先端面が金属環3の内向きフランジ32端面のほぼ全幅にわたって当接するようになっている。そして、実機組立時に取扱い易いように、押え部材10端面の外径端部には面取り部11が設けられている。
【0032】
上記リップ状突起2は、上記面取り部11の大きさによってボリュームが決定される。
【0033】
密封装置1の装着時に、図1(b)に示すように、押え部材10を密封装置1の外周固定部9の大気側端面に突き当てると、押え部材10の面取り部11とハウジング8内周面との間に形成される環状の隙間内にリップ状突起2が入り込み、リップ状突起2が面取り部10によって半径方向外方に向けて押し広げられ、リップ状突起2の外周がハウジング8内周面に強く圧接され、接触面圧paが高められる。
【0034】
この接触面圧paは、密封対象流体が高圧の場合には、圧力によって密封装置が軸方向押えに軸方向に押し付けられるので、さらに接触面圧が大きくなる。[参考例]図2には参考例に係る密封装置が示されている。
【0035】
この参考例では、リップ状突起12を外周固定部9の密封対象流体側Oに設けたものである。外周固定部9の大気側端部は面取り部13となっている。
【0036】
このリップ状突起12は軸方向密封対象流体側Oに向けて徐々に拡径する方向に傾斜している。このリップ状突起12の付け根位置は金属環3の円筒部31の密封対象流体側端部から軸方向に延びており、その先端は金属環3の円筒部31の密封対象流体側端面を被覆する端面ゴム部54の端面位置よりも大気側Aに位置しており、自由状態ではリップ状突起12と端面ゴム部の外周との間にV字状の空間が形成されている。
【0037】
ハウジング8内周面に接触するリップ状突起12の先端において、密封対象流体側傾斜面とハウジング8内周面と平行の円筒面との成す接触角をα、大気側傾斜面とハウジング8の軸孔8a内周面と平行の円筒面とのなす接触角をβとして、α>βに設定することが好ましい。
【0038】
密封装置1をハウジング8に装着した際には、図2(b)に示すように、外周ゴム部51が径方向に圧縮されると同時に軸方向大気側と密封対象流体側Oに延びて、大気側Aの端部が押え部材10の外径端部の面取り部11内に入り込んで大気側Aの面圧が上がらないが、使用密封対象流体側Oの端部はリップ状突起12によって面圧が確保される。特に、使用中の圧力P0によってリップ状突起12がハウジング8内周に圧接されて、常に強い面圧paを発生させることができるため、外周漏れを防止することができる。
【0039】
その他の構成および作用は上記実施の形態と同様なので、同一の構成部分については同一の符号を付してその説明を省略する。
【0041】
【発明の効果】
以上説明したように、本発明によれば、外周固定部にハウジングの軸孔内周に密接するゴム状弾性材製のリップ状突起を設けたので、外周固定部全体の接触面圧が低下しても、リップ状突起によって外周固定部とハウジング間の隙間がシールされ、外周シール性が向上し、ひいてはシール寿命向上を図ることができる。
【0042】
外周固定部の大気側端部に設けられるリップ状突起を、押え部材端面の面取り部とハウジング内周間の隙間に入り込む構成とすれば、リップ状突起が面取り部によって半径方向外方に向けて押し広げられ、リップ状突起の外周がハウジング内周面に強く圧接され接触面圧が高められる。
【図面の簡単な説明】
【図1】図1は本発明の一実施の形態に係る密封装置を示すもので、同図(a)は要部縦断面、同図(b)は装着状態の部分断面図である。
【図2】図2は参考例に係る密封装置を示すもので、同図(a)は要部縦断面、同図(b)は装着状態の部分断面図である。
【図3】図3は従来の密封装置を示すもので、同図(a)は要部縦断面、同図(b)は装着状態の部分断面図である。
【符号の説明】
1 密封装置
2 リップ状突起
21 傾斜面
22 直交面
3 金属環
31 円筒部
32 内向きフランジ部
4 シールリップ
5 ゴム状弾性体
51 外周ゴム部
52 腰部
53 凹部
54 端面ゴム部
55 内周ゴム部
6 バックアップリング
7 移動軸
8 ハウジング
8a 軸孔
9 外周固定部
10 押え部材
11 面取り部
12 リップ状突起
13 面取り部

Claims (1)

  1. ハウジングの軸孔内周と移動軸間の隙間をシールするもので、環状の装置本体外周におけるハウジングの軸孔内周に、円筒部と該円筒部の大気側端部に設けられる内向きフランジ部とを備える断面L字形状の金属環の前記円筒部の外周に被覆される外周ゴム部で接触面圧を発生させて嵌合固定される外周固定部を有する密封装置において、
    前記外周固定部の大気側端部における断面L字形状の金属環の前記円筒部と前記内向きフランジ部とが接続された角部、当該大気側端部よりも大気側に突出し、かつ、前記外周ゴム部から連続して、前記ハウジングの軸孔内周に密接するゴム状弾性材製のリップ状突起を設け、
    前記外周固定部の大気側端部は前記金属環の内向きフランジ部が露出しており、当該内向きフランジ部がハウジングの軸孔に差し込まれる押え部材端面にほぼ全幅にわたって当接し、押え部材端面の外径端部には面取りが施され、該面取り部とハウジング内周間の隙間に前記リップ状突起が当該隙間を埋めてハウジング内周面に接触面圧を発生可能なボリュームで充填され、前記リップ状突起が前記面取り部によって半径方向外方に向けて押し広げられ、前記リップ状突起の外周がハウジング内周面に強く圧接され、接触面圧が高められる構成としたことを特徴とする密封装置。
JP26934497A 1997-09-16 1997-09-16 密封装置 Expired - Lifetime JP3762529B2 (ja)

Priority Applications (1)

Application Number Priority Date Filing Date Title
JP26934497A JP3762529B2 (ja) 1997-09-16 1997-09-16 密封装置

Applications Claiming Priority (1)

Application Number Priority Date Filing Date Title
JP26934497A JP3762529B2 (ja) 1997-09-16 1997-09-16 密封装置

Publications (2)

Publication Number Publication Date
JPH1182751A JPH1182751A (ja) 1999-03-26
JP3762529B2 true JP3762529B2 (ja) 2006-04-05

Family

ID=17471081

Family Applications (1)

Application Number Title Priority Date Filing Date
JP26934497A Expired - Lifetime JP3762529B2 (ja) 1997-09-16 1997-09-16 密封装置

Country Status (1)

Country Link
JP (1) JP3762529B2 (ja)

Families Citing this family (4)

* Cited by examiner, † Cited by third party
Publication number Priority date Publication date Assignee Title
JP2007010009A (ja) * 2005-06-29 2007-01-18 Nsk Ltd 密封シールおよび密封ころがり軸受
JP6845643B2 (ja) * 2016-09-20 2021-03-24 Kyb株式会社 ショックアブソーバ
JP7285683B2 (ja) * 2019-05-07 2023-06-02 Nok株式会社 密封装置、及び、密封構造
CN119244746B (zh) * 2024-12-05 2025-03-11 宁国市四方精工机械股份有限公司 一种汽轮机主气门用轴承座油封

Also Published As

Publication number Publication date
JPH1182751A (ja) 1999-03-26

Similar Documents

Publication Publication Date Title
US4981303A (en) Sealing device
US4026563A (en) Oil seal with locking bead and O. D. sealing rib
US7648144B2 (en) Sealing device
JP3762529B2 (ja) 密封装置
JPH11125337A (ja) リップタイプシール
JP3293075B2 (ja) リップ型シール
JP3338189B2 (ja) 往復動用密封装置
JPH0649973Y2 (ja) オイルシール
JPH0712762Y2 (ja) 密封装置
JP2005308204A (ja) オイルシール
JPH11141688A (ja) 密封装置
JP3785843B2 (ja) 密封装置
JPH0446137Y2 (ja)
JP3533847B2 (ja) シールリング
JPH0571541U (ja) 密封装置
JPH0247311Y2 (ja)
JPH0744855Y2 (ja) 密封装置
JP2003097716A (ja) 車軸用密封装置
JPH0810713Y2 (ja) 密封装置
JPH11351406A (ja) 密封装置
JPH0448366Y2 (ja)
JPH0225978Y2 (ja)
JPH0720447Y2 (ja) リップ型シール
JPH0624270U (ja) パッキン
JPH0633261Y2 (ja) 密封装置

Legal Events

Date Code Title Description
A977 Report on retrieval

Free format text: JAPANESE INTERMEDIATE CODE: A971007

Effective date: 20040702

A131 Notification of reasons for refusal

Free format text: JAPANESE INTERMEDIATE CODE: A131

Effective date: 20040720

A521 Written amendment

Free format text: JAPANESE INTERMEDIATE CODE: A523

Effective date: 20040916

A131 Notification of reasons for refusal

Free format text: JAPANESE INTERMEDIATE CODE: A131

Effective date: 20050105

A521 Written amendment

Free format text: JAPANESE INTERMEDIATE CODE: A523

Effective date: 20050302

A02 Decision of refusal

Free format text: JAPANESE INTERMEDIATE CODE: A02

Effective date: 20050906

A521 Written amendment

Free format text: JAPANESE INTERMEDIATE CODE: A523

Effective date: 20051101

A911 Transfer of reconsideration by examiner before appeal (zenchi)

Free format text: JAPANESE INTERMEDIATE CODE: A911

Effective date: 20051107

TRDD Decision of grant or rejection written
A01 Written decision to grant a patent or to grant a registration (utility model)

Free format text: JAPANESE INTERMEDIATE CODE: A01

Effective date: 20051220

A61 First payment of annual fees (during grant procedure)

Free format text: JAPANESE INTERMEDIATE CODE: A61

Effective date: 20060113

R150 Certificate of patent or registration of utility model

Free format text: JAPANESE INTERMEDIATE CODE: R150

FPAY Renewal fee payment (event date is renewal date of database)

Free format text: PAYMENT UNTIL: 20100120

Year of fee payment: 4

FPAY Renewal fee payment (event date is renewal date of database)

Free format text: PAYMENT UNTIL: 20100120

Year of fee payment: 4

FPAY Renewal fee payment (event date is renewal date of database)

Free format text: PAYMENT UNTIL: 20110120

Year of fee payment: 5

FPAY Renewal fee payment (event date is renewal date of database)

Free format text: PAYMENT UNTIL: 20110120

Year of fee payment: 5

FPAY Renewal fee payment (event date is renewal date of database)

Free format text: PAYMENT UNTIL: 20120120

Year of fee payment: 6

FPAY Renewal fee payment (event date is renewal date of database)

Free format text: PAYMENT UNTIL: 20130120

Year of fee payment: 7

FPAY Renewal fee payment (event date is renewal date of database)

Free format text: PAYMENT UNTIL: 20130120

Year of fee payment: 7

FPAY Renewal fee payment (event date is renewal date of database)

Free format text: PAYMENT UNTIL: 20140120

Year of fee payment: 8

S111 Request for change of ownership or part of ownership

Free format text: JAPANESE INTERMEDIATE CODE: R313117

R350 Written notification of registration of transfer

Free format text: JAPANESE INTERMEDIATE CODE: R350

EXPY Cancellation because of completion of term