JP3734412B2 - 履帯自動車 - Google Patents
履帯自動車 Download PDFInfo
- Publication number
- JP3734412B2 JP3734412B2 JP2000232649A JP2000232649A JP3734412B2 JP 3734412 B2 JP3734412 B2 JP 3734412B2 JP 2000232649 A JP2000232649 A JP 2000232649A JP 2000232649 A JP2000232649 A JP 2000232649A JP 3734412 B2 JP3734412 B2 JP 3734412B2
- Authority
- JP
- Japan
- Prior art keywords
- crawler belt
- crawler
- driven wheel
- wheel
- driving wheel
- Prior art date
- Legal status (The legal status is an assumption and is not a legal conclusion. Google has not performed a legal analysis and makes no representation as to the accuracy of the status listed.)
- Expired - Fee Related
Links
- 230000006835 compression Effects 0.000 description 4
- 238000007906 compression Methods 0.000 description 4
- 238000006243 chemical reaction Methods 0.000 description 2
- 238000002485 combustion reaction Methods 0.000 description 2
- 230000008602 contraction Effects 0.000 description 2
- 229910000831 Steel Inorganic materials 0.000 description 1
- 230000004323 axial length Effects 0.000 description 1
- 238000005553 drilling Methods 0.000 description 1
- 230000000694 effects Effects 0.000 description 1
- 238000005242 forging Methods 0.000 description 1
- 230000005484 gravity Effects 0.000 description 1
- 239000002184 metal Substances 0.000 description 1
- 230000000149 penetrating effect Effects 0.000 description 1
- 239000010959 steel Substances 0.000 description 1
Images
Landscapes
- Handcart (AREA)
Description
【発明の属する技術分野】
本発明は走行装置に履帯を備えた履帯自動車に関する。ここで履帯自動車としては、ブルドーザ、トラクタ、雪上車、バックホーなどがある。本発明は1つの駆動輪と1つの従動輪に履帯を掛けた履帯自動車を発明の対象としている。
【0002】
【従来の技術】
図9は従来の履帯による走行装置を示している。シャーシー枠1に回転駆動を受けるように支持された駆動輪2、従動輪3には履帯4が掛けられている。シャーシー枠1にはトラックローラ5が回転自在に支持されている。履帯4の上部はシャーシー枠1上に設けた固設部材6で支持されている。この固設部材6の位置は駆動輪2と従動輪3の上側を結ぶ接線よりも上方において履帯4に接触するように設けてある。
【0003】
【発明が解決しようとする課題】
図8は上述の履帯自動車を走行する場合の挙動を示すものである。地上9から突出している突出物、例えばマンホール10上を図示矢印方向のように左方から右方へ履帯自動車が移動する際、駆動輪2側が地上9から大きく離れる。そして、駆動輪2が更に図示矢印方向へ履帯自動車を移動するので履帯自動車の重心は右行し、或程度慣性で図8の状態で更に右行した履帯自動車は重心が支点8aから離れた状態で駆動輪2側が高さh1下り、駆動輪2に掛けられている部分で履帯4が地上9に衝突する。これによって、駆動輪側の履帯のリンク(駒)、駆動輪及び駆動輪を支持する軸受に加える負荷が大きくなり、その結果駆動輪、履帯、駆動輪を支持する軸受の寿命を短くする。そして乗用履帯自動車等では運転者を不安定な状態とする。なお、走行方向が逆方向の場合は従動輪3側についても同様の現象がある。
【0004】
本発明は地面の凸凹形状に追従性のよい走行装置によって走行時に受ける衝撃の小さな履帯自動車を提供することを目的とする。
【0005】
金属製履帯を有する履帯自動車では、履帯にゴムのシューパッドを有する場合であっても騒音が大きい。
【0006】
本発明はシューパッドを有する履帯を備えた場合において騒音の小さな履帯自動車を提供することを目的とする。
【0007】
【課題を解決するための手段】
本出願に係る第1の発明は、実施の形態に用いた符号を借用して示せば、金属性のリンク11を互いに回動自在に連結した無端の履帯4であって駆動輪2と従動輪3に掛けられた履帯4と、
前記リンク11に取り付けられ接地するシューパッド18と、
前記駆動輪2及び従動輪3を回転自在に支持し、前記駆動輪2を駆動する原動機を支持するシャーシー枠1であって、走行方向の両側に設けられた中間支持部1aを有するシャーシー枠1と、
前記シャーシー枠1に回転自在に支持され前記履帯4の接地側の内周において履帯をガイドするトラックローラ5と、
駆動輪2と従動輪3間のほぼ中央部において、上側の履帯4の内周に沿って配設され、上方へ向って凸な変曲点のない曲線状で両端が中間支持枠1aの上側に一端を回転自在に枢着され他端を中間支持枠1aの上面に当接して摺動自在に支持されると共に両端間において上側の履帯4の内周に接触して押圧し上側の履帯4を弾力で押し上げている板ばね7と、
を有することを特徴とする履帯自動車である。
【0010】
【発明の実施の形態】
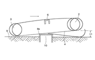
以下、本発明の実施の形態を図面を用いて説明する。図1は履帯自動車の走行装置を示す斜視図である。
【0011】
シャーシー枠1には原動機例えば図示されない内燃機関及び作業装置例えば、バックホーにおいては掘削装置が装着される。シャーシー枠1には駆動軸2aが回転自在に支持されている。駆動軸2aは図示されない内燃機関の出力軸と連結されると共に駆動輪2が固定されている。駆動輪2と従動輪3には履帯4が掛けられる。駆動輪2は履帯4と係合して履帯4を走行する。シャーシー枠1には車軸を介して従動輪3が回転自在に支持されている。シャーシー枠1にはトラックローラ5が複数並列している。トラックローラ5は地面に接触する側の履帯4の内側に接触している。
【0012】
シャーシー枠1は履帯自動車の上方から見て走行方向の両側に走行装置の中間支持部1aが設けられている。中間支持部1aの上側には板ばね7が設けられる。板ばね7は上方に向って凸で変曲点のない曲線、例えばほぼ円弧形である。板ばね7の両端はシャーシー枠1の中間支持部1aに支持されている。
【0013】
板ばね7の中央部は上側の履帯4の内側を押圧し上側の履帯4を押し上げている。板ばね7の一端は駆動軸2aと平行なピン8の両端を中間支持部1aに嵌入支持し、ピン8の中間に板ばね7のアイ部7aをブッシング(図示されない)を介して嵌合してある。板ばね7の他端は中間支持部1a上面に当接し摺動自在に接触している。板ばね7の他端の移動方向を規制するために、履帯4の走行方向に平行に板ばね7の他端の両側のすぐ外にガイド部1bが設けられている。ガイド部1bは本例では中間支持部1aの上面に溶接された突条である。
【0014】
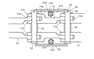
履帯4は図2から図3に示すようにリンク11を連結ピン12で連結して無端としたものである。リンク11は図3に示すように左右のリンク部11aをシュー取り付け部11bで一体に型鍛造で成形した鋼製である。各リンク11は同一で一端11cは他のリンク11の他端11dに嵌合して嵌合部分を直交して頭付の連結ピン12が貫通している。リンク11の一端11c、11c間にはチューブ13が挿入されている。連結ピン12はチューブ13中を挿通している。連結ピン12は頭を付した端部とは反対側の端部に座金14を嵌め込まれている。座金14の外側に沿って割りピン15が連結ピン12の直径をわたる穴を貫通している。
【0015】
シュー取付部11bは1つのリンク11の両側に設けた2本の連結ピン12の中心を含む平面に平行な平板状である。このシュー取付部11bの外面にはシューパッド16が取り付けられている。シューパッド16はシュー取付板17にゴムパッド18を加硫して固定してある。シュー取付板17に固定された植ボルト17aはシュー取付部11bのボルト穴を挿通している。植ボルト17aにはナット17bがねじ込まれてシュー16は取り換え可能にリンク11に取り付けられている。
【0016】
駆動輪2はシャーシー枠1に対しては移動しないが、図4、図5に示すように従動輪3は図示矢印イの方向にシャーシー枠1に対して移動可能となっており、これにより、駆動輪2と従動輪3の夫々の中心間距離を調節可能である。この心間距離Dを調節することによって履帯4の張り具合を調節する。履帯4の張り具合において弛く張ると、リンク11のリンク溝11eに入っている従動輪3の外周幅方向中央部に設けたつば3aがはずれるおそれは少ないが、トラックローラ5の外周幅方向中央に設けたつば5aがリンク溝11eから外れるおそれがある。そこで、従来は履帯4を強く張る傾向にある。しかし乍ら、強く履帯4に張力を与えると、各リンク11間の連結部の摩耗、駆動輪2、従動輪3を支持する軸受部の摩耗等が著しくなる。また、履帯4を強く張ると地面の凹凸に対する履帯4の追従性が落ち、地上から突出している突出部分をのり越える際の前進方向前端の地上と履帯間距離が大きくなり、前記突出部分を越えて履帯4の前進方向先端部の地上へ突っ込む速度が大きく、地上へ履帯4が衝突したときの反力が大きい。即ち、履帯自動車の揺れ、衝撃が大きくなる。
【0017】
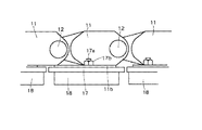
従動輪3のシャーシー枠1に対する移動装置について説明する。図4に示すようにシャーシー枠1には一体にシリンダ1cが設けてある。シリンダ1cはスライドベースとして機能するものであり、シリンダ1c内には移動自在にスライダ19が滑入している。スライダ19の移動方向に直交してスライダ19には車軸21の嵌合部21bがスライダ19の穴19aに嵌合している。車軸21の嵌合部21bから拡径された拡径部21cは拡径部21cの上下方向寸法と同寸の矢印イ方向の長穴1dに移動自在に嵌合している。拡径部21cは円形断面又は上下に二面幅部を有している。拡径部21cに続くつば部21dは従動輪3に嵌入したオイルシール22によって軸封されている。つば部21dから縮径した軸承部21eには球軸受23の内輪が圧入されている。球軸受23の外輪には従動輪3が嵌入している。従動輪3は外周につば3aを有する。従動輪3にボルト24により固定された軸封カバー25にはオイルシール26が嵌入している。軸承部21eには軸受止め28が嵌入し、軸受止め28のボルト穴を挿通してボルト29を車軸21端にねじ込み球軸受23の車軸21からの脱出を阻止してある。前述した軸封カバー25に嵌入したオイルシール26のリップは軸受止め28の外周に接している。車軸21の嵌合部21bからシャーシー枠1内の方向へ向って縮径した軸端部21aが設けてある。軸端部21aにはスライダ19の穴19aの縁に接する座板31、リング32が嵌合している。軸端部21aにはおねじが切られており、おねじにはダブルナット33がねじ込まれ、座板31、リング32をスライダ19に対して圧接固定している。リング32の外周は円筒形又は二面幅部を有する。リング32はシリンダ1cの長穴1eに矢印イの方向に移動自在に嵌合している。なお、嵌合部21bの軸長は穴19aの長さよりも短い。スライダ19の移動方向に長くばね支持ロッド部19bが設けてある。該ロッド部19bはおねじ19cを備えている。シリンダ1cの左端は開口が設けられている。この開口にはシリンダカバー34が嵌合してボルト35によりシリンダ1cに固定されている。シリンダカバー34の中心の穴を前述のロッド部19bが移動自在に挿通している。ロッド部19bには角ばね(圧縮コイルばねで線の断面が角形)36が挿入されている。角ばね36は一端をばね座としてのシリンダカバー34に接し、他端をばね座としての座金37に接している。おねじ19cにはナット38がねじ込まれている。ナット38は座金37に接している。
【0018】
上述した圧縮コイルばねとされた角ばね36は履帯4の張力を生ずるように大きなばね力を有する。即ち、角ばね36のばね力は上側と下側の履帯4の張力の和となる。
【0019】
ナット38をねじ込んで角ばね36を圧縮することにより、角ばね36のばね力が増大すると、スライダ19は図4において左行し、車軸21が共に左行して従動輪3は左行する。これによって駆動輪2と従動輪3間の車軸間距離Dが長くなり履帯4の張力が増大する。逆にナット38を弛めると駆動輪2と従動輪3間の距離が縮まる。そこで履帯4の張力を小さくすることができる。
【0020】
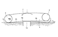
上記において、履帯自動車が地上9より突出したマンホール10を越える場合についてのべる。図7に示すように履帯自動車が地上9からマンホール10にのり上げて進むとマンホール10からの反力で履帯4の下側のマンホール10上の部分は駆動輪2と従動輪3の下側の円弧を結ぶ直線よりも上方へ移動し、駆動輪2の下側とマンホール8を結ぶ線上にくる履帯4部分4aとマンホール8と従動輪3の下側とを結ぶ線上にくる履帯4部分4bとなる。このとき、板ばね7によって上方へ押し上げられていた上側の履帯4は板ばね7を下方へ押し下げ、駆動輪2と従動輪3間で長さが長くなった下側の履帯4の長くなった分だけ上側の履帯4は短くなることができる。
【0021】
図8に示す従来の上側の履帯4の支持が固設部材6である場合下側の履帯4は大きくのびることはできないので既にのべたように履帯4は駆動輪2の側で地上9から距離h1離れるのに対して本発明の実施の形態では駆動輪2の位置における履帯4と地上7の距離h2であり、h1≫h2である。図8の従来例の場合に下側の履帯4の駆動輪2及び従動輪3の下側に夫々接する直線と、マンホール10の位置における下側の履帯4との距離は本発明の実施の形態である図7の場合よりは小さい。この理由は従来例では固設部材6と接している履帯4部分は履帯4の張力が大きくなっても下り得ない。従って、図8のようにマンホール10上に下側の履帯4がのり上げても、下側の履帯4はマンホール10に適合できず、駆動輪2の位置において地上9から大きく離れる。
【0022】
ここで、従来例と本発明の実施の形態での角ばね36の圧縮量は従来例では大きい。本発明の実施の形態では板ばね7が縮むことにより角ばね36の圧縮量は小さい。
【0023】
上述のように板ばね7を設けた本発明の実施の形態によれば地上の突起物を履帯自動車がのり越える際の地上へ履帯が衝突する衝撃を小さくできる。
【0024】
次に本発明の実施の形態によれば履帯に基ずく騒音が小さくなることを説明する。図9の従来例によればシャーシー枠1に対して駆動輪2、従動輪3、固設部材6の関係位置は定まったものである。即ち、上側の履帯4が固設部材6と接する位置P、Qから駆動輪2、従動輪3へ引いた接線の長さは一定している。なお、ここで駆動輪2の接線とは駆動輪2へ円弧状となって掛けられた履帯4の内側に接する内接円であり、この内接円は駆動輪2の中心を中心とする円である。
【0025】
履帯4は上側では駆動輪2と固設部材6、固設部材6と従動輪3、下側では駆動輪2と従動輪3間で夫々一直線に張ることはできない。そこで或程度、弛く張ることになる。そうすると、上側の履帯4は位置P,Qと駆動輪2、従動輪3間で夫々下方へ向ってたるむ。そこで履帯4が図9の矢印方向へ従動輪3へ進入する際は、リンク11は連結ピン12を中心に回動して従動輪3の外周に沿う。このとき、位置Qと従動輪3間において履帯4がたるんでいるため、上下動させられて、ガチャ、カチャと騒音を発するものである。位置Qと縦動輪3間における履帯4は下側の履帯4の伸縮によってもたるみが変化するのでこの騒音は更に間欠的に大きくなる。位置Pと駆動輪2間においても、図示矢印方向に履帯4が進む際、リンク11が駆動輪2から離れる際の連結ピン12を中心とする回動によって位置Pと駆動輪2の履帯4は下方へ向ってたるんでいること及び下側の履帯4の伸縮により上下動して騒音を発する。
【0026】
また、固設部材6に対して履帯4が進入退出することに基いても上側の履帯4は上下動して騒音を発する。上述は上側の履帯4が駆動輪2から従動輪3へ向って移動する場合をのべたが、上側の履帯4が従動輪3から駆動輪2へ向って移動する場合も同様である。
【0027】
本発明の実施の形態によれば、図1に示すように上側の履帯4は板ばね7によって上方へ向って付勢されている。従って、リンク11が駆動輪2、従動輪3に対して進入退出する際のリンク11が隣接するリンク11に対して連結ピン12を中心として回動する角度は小さい上、板ばね7と駆動輪2、従動輪3間における上側の履帯4は板ばね7のばね力によって持ち上げられているため、上側の履帯4の板ばね7と駆動輪2、従動輪3間に夫々張られた部分上下動は抑制され騒音が小さくなる。
【0028】
また、上側の履帯4が固設部材6に対して進入退出する際にリンク11が連結ピン12を中心として回動する角は本発明の実施の形態に比較して大きい。本発明の実施の形態では板ばね7によって履帯4が押し上げられている上、板ばね7の上方へ向って凸な曲線に対して接線に近い方向から履帯4が板ばね7に進入、退出するため、履帯4のリンク11間の運動に基づく騒音を低くできる。
【0029】
【発明の効果】
以上説明したように、本発明によれば、地面の凸凹形状に履帯がよく追従し、履帯の受ける衝撃が小さく、また騒音の小さい履帯自動車を提供できる。
【図面の簡単な説明】
【図1】本発明の実施の形態の履帯自動車の走行装置の斜視図である。
【図2】履帯の一部側面図である。
【図3】履帯の一部平面断面図である。
【図4】従動輪部分の水平断面図である。
【図5】トラックローラ部分を示す斜視図である。
【図6】履帯の概略を示す側面図である。
【図7】本発明の実施の形態の作用を示す側面図である。
【図8】従来例の作用を示す側面図である。
【図9】従来例の斜視図である。
【符号の説明】
1…シャーシー枠 1a…中間支持部 1b…ガイド部 1c…シリンダ 1d…長穴 1e…長穴
2…駆動輪 2a…駆動軸
3…従動輪 3a…つば
4…履帯 4a,4b…部分
5…トラックローラ
6…固設部材
7…板ばね 7a…アイ部
8…ピン
9…地上
10…マンホール
11…リンク 11a…リンク部 11b…シュー取付部 11c…一端 11d…他端 11e…リンク溝
12…連結ピン
13…チューブ
14…座金
15…割りピン
16…シューパッド
17…シュー取付板 17a…植ボルト 17b…ナット
18…ゴムパッド
19…スライダ 19a…穴 19b…ロッド部 19c…おねじ
21…車軸 21a…軸端部 21b…嵌合部 21c…拡径部 21d…つば部 21e…軸承部
22…オイルシール
23…球軸受
24…ボルト
25…軸封カバー
26…オイルシール
28…軸受止め
29…ボルト
31…座板
32…リング
33…ダブルナット
34…シリンダカバー
35…ボルト
36…角ばね
37…座金
38…ナット
Claims (1)
- 金属性のリンク11を互いに回動自在に連結した無端の履帯4であって駆動輪2と従動輪3に掛けられた履帯4と、
前記リンク11に取り付けられ接地するシューパッド18と、
前記駆動輪2及び従動輪3を回転自在に支持し、前記駆動輪2を駆動する原動機を支持するシャーシー枠1であって、走行方向の両側に設けられた中間支持部1aを有するシャーシー枠1と、
前記シャーシー枠1に回転自在に支持され前記履帯4の接地側の内周において履帯をガイドするトラックローラ5と、
駆動輪2と従動輪3間のほぼ中央部において、上側の履帯4の内周に沿って配設され、上方へ向って凸な変曲点のない曲線状で両端が中間支持枠1aの上側に一端を回転自在に枢着され他端を中間支持枠1aの上面に当接して摺動自在に支持されると共に両端間において上側の履帯4の内周に接触して押圧し上側の履帯4を弾力で押し上げている板ばね7と、
を有することを特徴とする履帯自動車。
Priority Applications (1)
| Application Number | Priority Date | Filing Date | Title |
|---|---|---|---|
| JP2000232649A JP3734412B2 (ja) | 2000-08-01 | 2000-08-01 | 履帯自動車 |
Applications Claiming Priority (1)
| Application Number | Priority Date | Filing Date | Title |
|---|---|---|---|
| JP2000232649A JP3734412B2 (ja) | 2000-08-01 | 2000-08-01 | 履帯自動車 |
Publications (2)
| Publication Number | Publication Date |
|---|---|
| JP2002046669A JP2002046669A (ja) | 2002-02-12 |
| JP3734412B2 true JP3734412B2 (ja) | 2006-01-11 |
Family
ID=18725299
Family Applications (1)
| Application Number | Title | Priority Date | Filing Date |
|---|---|---|---|
| JP2000232649A Expired - Fee Related JP3734412B2 (ja) | 2000-08-01 | 2000-08-01 | 履帯自動車 |
Country Status (1)
| Country | Link |
|---|---|
| JP (1) | JP3734412B2 (ja) |
Families Citing this family (2)
| Publication number | Priority date | Publication date | Assignee | Title |
|---|---|---|---|---|
| JP6206917B2 (ja) * | 2013-11-18 | 2017-10-04 | 学校法人 名古屋電気学園 | 形状可変クローラ型移動体 |
| US11766774B2 (en) | 2017-01-23 | 2023-09-26 | Mitsubishi Electric Corporation | Endless-track traveling apparatus and traveling body |
-
2000
- 2000-08-01 JP JP2000232649A patent/JP3734412B2/ja not_active Expired - Fee Related
Also Published As
| Publication number | Publication date |
|---|---|
| JP2002046669A (ja) | 2002-02-12 |
Similar Documents
| Publication | Publication Date | Title |
|---|---|---|
| CN101583531B (zh) | 履带行进装置 | |
| US5988775A (en) | Resilient track tensioning device for track-driven vehicles and track unit comprising such a track tensioning device | |
| US4953921A (en) | Ground engaging surface for endless tracks, wheels and tires | |
| JP2008526602A (ja) | 履帯式作業機械の振動を低減するための装置および方法 | |
| CN112706847A (zh) | 多摆臂多悬挂式履带行走机构 | |
| JP5893192B2 (ja) | クローラ走行装置 | |
| JP3734412B2 (ja) | 履帯自動車 | |
| AU728297B2 (en) | Cushioned roller for a belted undercarriage | |
| JPH09240526A (ja) | 三角クローラ及びクローラ車 | |
| JP3560893B2 (ja) | クローラ走行装置 | |
| JP2006151331A (ja) | 履帯式走行装置 | |
| KR100480392B1 (ko) | 크롤러 벨트 및 크롤러 벨트에 사용하는 실 | |
| CN1171086A (zh) | 履带式车辆的行走装置 | |
| CN219096860U (zh) | 全地形三角履带装置及履带全地形车 | |
| CN216761950U (zh) | 一种组合式水平螺旋弹簧悬挂系统 | |
| CN215321854U (zh) | 一种空气悬挂导向臂及具有其的空气悬挂机构 | |
| JP4683183B2 (ja) | クローラ式作業車両 | |
| US3934361A (en) | Idler construction for earth-moving elevator | |
| CN113371089A (zh) | 一种张紧力可量化调节防脱橡胶履带张紧机构 | |
| US20020190575A1 (en) | Endless track constructed from vehicle tire | |
| CN2787541Y (zh) | 履带悬挂减震装置 | |
| CN2635985Y (zh) | 弹簧、液压、滚轮式减震器 | |
| JP5822958B2 (ja) | クローラ走行装置 | |
| JPH0640067Y2 (ja) | 移動農機のクローラ走行装置 | |
| JP4761642B2 (ja) | クローラ走行装置 |
Legal Events
| Date | Code | Title | Description |
|---|---|---|---|
| A977 | Report on retrieval |
Free format text: JAPANESE INTERMEDIATE CODE: A971007 Effective date: 20050523 |
|
| A131 | Notification of reasons for refusal |
Free format text: JAPANESE INTERMEDIATE CODE: A131 Effective date: 20050607 |
|
| A521 | Written amendment |
Free format text: JAPANESE INTERMEDIATE CODE: A523 Effective date: 20050804 |
|
| TRDD | Decision of grant or rejection written | ||
| A01 | Written decision to grant a patent or to grant a registration (utility model) |
Free format text: JAPANESE INTERMEDIATE CODE: A01 Effective date: 20051018 |
|
| A61 | First payment of annual fees (during grant procedure) |
Free format text: JAPANESE INTERMEDIATE CODE: A61 Effective date: 20051018 |
|
| R150 | Certificate of patent or registration of utility model |
Free format text: JAPANESE INTERMEDIATE CODE: R150 |
|
| FPAY | Renewal fee payment (event date is renewal date of database) |
Free format text: PAYMENT UNTIL: 20111028 Year of fee payment: 6 |
|
| FPAY | Renewal fee payment (event date is renewal date of database) |
Free format text: PAYMENT UNTIL: 20111028 Year of fee payment: 6 |
|
| FPAY | Renewal fee payment (event date is renewal date of database) |
Free format text: PAYMENT UNTIL: 20121028 Year of fee payment: 7 |
|
| FPAY | Renewal fee payment (event date is renewal date of database) |
Free format text: PAYMENT UNTIL: 20121028 Year of fee payment: 7 |
|
| FPAY | Renewal fee payment (event date is renewal date of database) |
Free format text: PAYMENT UNTIL: 20131028 Year of fee payment: 8 |
|
| LAPS | Cancellation because of no payment of annual fees |