JP3661069B2 - 車高調整装置 - Google Patents
車高調整装置 Download PDFInfo
- Publication number
- JP3661069B2 JP3661069B2 JP31158395A JP31158395A JP3661069B2 JP 3661069 B2 JP3661069 B2 JP 3661069B2 JP 31158395 A JP31158395 A JP 31158395A JP 31158395 A JP31158395 A JP 31158395A JP 3661069 B2 JP3661069 B2 JP 3661069B2
- Authority
- JP
- Japan
- Prior art keywords
- chamber
- pump
- oil
- piston
- cylinder
- Prior art date
- Legal status (The legal status is an assumption and is not a legal conclusion. Google has not performed a legal analysis and makes no representation as to the accuracy of the status listed.)
- Expired - Fee Related
Links
Images
Landscapes
- Vehicle Body Suspensions (AREA)
- Fluid-Damping Devices (AREA)
Description
【0001】
【発明の属する技術分野】
この発明は、自動車,二輪車,産業用車両などに用いられる車高調整装置に関する。
【0002】
【従来の技術】
従来の車高調整装置として、例えば、図4に示すようなボーゲ社製のセルフポンピング型ショックアブソーバが提供されているが、これについて説明すると、まず、15は、車体に係止される外筒16内に配設されたシリンダである。
【0003】
また、11は、車輪に係止されて上記シリンダ15内を摺動するピストン3を具備するピストンロッド、10は、該ピストンロッド11内に設けられてこれとの間に上記ピストン3により区画された高圧室13に通じる油路17を形成する円筒状のポンプシリンダである。
【0004】
さらに、9は、上記外筒16の底部(上端内面)に一端が保持され、他端が上記ポンプシリンダ10内に挿通されて、途中に上記高圧室13に開口する車高低下用の制御オリフィス2を持ったポンプロッドである。
【0005】
また、1は、上記外筒16内に設けられて、上記ポンプロッド9およびインレットバルブ6を通じてポンプシリンダ10内下部のポンプ室12に連通するオイルリザーバである。
【0006】
7は、上記ポンプシリンダ10の下部の上記ポンプ室12および上記油路17間に設けられたアウトレットバルブ、5は、上記高圧室13に連通する上記外筒16内の高圧室18とガス室5とを隔成するダイヤフラムである。
【0007】
また、8は、上記ポンプロッド9の外周の一部に軸方向の一定長に亘って設けられた切欠溝であり、これの上部が上記ポンプシリンダ10の上方に出ているときは、高圧室13とポンプ室を連通するように機能する。
【0008】
次に、動作について説明すると、いま、車両への積荷が増大して、車高が低下した場合を考えると、ショックアブソーバとしての車高調整装置の全体が圧縮力を受けて縮み、このとき、上記制御オリフィス2および切欠8がポンプシリンダ10内に入り込んだ位置にある。
【0009】
この状態において、車両が走行しショックアブソーバに加振力が働くと、このときのピストンロッド11の伸行程で、オイルリザーバ1内の油が連通管19,ポンプロッド9内の油路20,インレットバルブ6をそれぞれ介してポンプ室12内に入り込む。
【0010】
一方、続く圧行程では、上記ポンプ室12内の油がポンプロッド9により押されてアウトレットバルブ7,ポンプシリンダ10とピストンロッド11との間の油路17を介して上記高圧室13内へ流れ込む。
【0011】
そして、この高圧室13内へ流れ込んだ油の体積分でけ、上記シリンダ15の底部に設けた小孔21およびシリンダ15外周の油路22を介して、ダイヤフラム4によって隔成された高圧室18に流れ込む。
【0012】
このため、その体積分に応じた量だけ、ガス室5が圧縮されて、高圧室18が高圧化し、ピストンロッド11の反発力が増大し、この反発力の増大によって車高が上昇することとなる。
【0013】
一方、上記高圧室13の圧力の増加は、車高の上昇により切欠8がポンプシリンダ10の外に出て高圧室13とポンプ室12とが連通し、ポンプ室12が高圧となり、これによって、上記インレットバルブ6を押し付けるように閉じ、オイルリザーバ1からポンプ室12に油を汲み上げなくなるまで、この伸行程が続けられる。
【0014】
次に、車両から荷降しを行うなどして車高が上昇すると、ショックアブソーバとしての全長が伸び、上記制御オリフィス2がポンプシリンダ10の外部に出る位置にくると、高圧室13とオイルリザーバ1とが制御オリフィス2を介して連通する。
【0015】
このため、高圧室13の油がオイルリザーバ1に流入し、この流入によって高圧室13から出た油の体積分だけ、ガス室5の容積が膨張し、これによって、高圧室13の圧力が低下し、ピストンロッド11の反発が減少して、車高が低下していく。
【0016】
そして、この車高の低下は、制御オリフィス2がポンプシリンダ10内に入り込んで、高圧室13とオイルリザーバ1との間の油の流通が分断されるまで続くこととなる。
【0017】
【発明が解決しようとする課題】
従来の車高調整装置は、以上のように構成されているので、高圧室18とガス室5とを隔成するダイヤフラム4がガスばね動作のヒステリシスを大きくし、このため車両の乗心地を悪くするという課題があった。
【0018】
また、ガスの圧縮比が大きく、かつ膨張,圧縮動作が頻繁であるため、ダイヤフラム4自体の耐久性が著しく低下し易くなるという問題点があった。
【0019】
さらに、オイルリザーバ1内のガスが、一旦、高圧室13内のオイルリザーバ1より高い部位へ流入すると、この高圧室13からそのガスを抜くことが困難となり、シリンダ15におけるピストン3の動きが不安定となり、これによって発生する減衰力波形が乱れ、車両の乗心地を悪くするなどの課題があった。
【0020】
この発明は、上記のような課題を解決するためになされたものであり、ガスばねのヒステリシスを低減することで、車両の乗心地を向上でき、かつガスばねの耐久性の向上およびシリンダ内のガス抜きを良好に実現できる車高調整装置を提供することを目的とする。
【0021】
【課題を解決するための手段】
請求項1の発明にかかる車高調整装置は、ピストンロッド内に設けられてこれとの間にピストンにより区画された高圧室に通じる油路を形成する円筒状のポンプシリンダと、外筒の底部との間に高圧ガスおよび油を貯溜する高圧ガス貯溜室を隔成する隔成板と、該隔成板に形成されて上記ピストンによって隔成された上記高圧室と上記ガス貯溜室とに連通する連通孔と、上記隔成板に一端が保持されるように上記ポンプシリンダ内に挿通されて途中には上記高圧室に開口する制御オリフイスを他端には径方向に貫通する吐出ポートをそれぞれ持ったポンプロッドと、上記ピストンロッド内のポンプシリンダ下部に形成されたポンプ室と、上記外筒内に設けられて上記ポンプロッド内およびチェック弁を通じて上記ポンプ室に連通するオイルリザーバと、シリンダおよび外筒間に上記オイルリザーバおよび低圧ガス室を隔成するダイヤフラムと、上記隔成板に設けられて該隔成板下部の上記オイルリザーバ内のガスを上記高圧ガス貯溜室へ抜くガス抜きチェック弁と、を備え、吐出ポートがポンプ室に開口される車高低下時に伸行程で上記オイルリザーバ内の油を上記ポンプ室に送り込み、次の圧行程でこのポンプ室の油を上記高圧室および上記高圧ガス貯溜室に送り込み、吐出ポートのポンプ室への連通が断たれその送り込みができなくなるまで上記ピストンロッドの反発力を高める一方で、制御オリフィスが上記高圧室に開口する車高上昇時に上記制御オリフィスを通じて上記高圧ガス貯溜室の油をオイルリザーバへ戻してピストンロッドの反発力を低減させるようにしたものである。
【0022】
また、請求項2の発明にかかる車高調整装置は、圧行程において上記ポンプ室の油を高圧室へ導出するチェック弁をピストンに設けたものである。
【0023】
さらに、請求項3の発明にかかる車高調整装置は、ピストンに設けられるチェック弁をピストンに設けられた圧側減衰力発生用の減衰バルブと共用するようにしたものである。
【0024】
【発明の実施の形態】
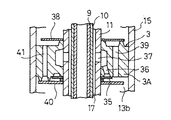
以下、この発明の実施の一形態を図について説明するが、図1は、この発明の車高調整装置の全体を示す断面図であり、図において、15は、車体に係止される外筒16内に配設されたシリンダ、11は、車輪に係止されて上記シリンダ15内を摺動するピストン3を具備するピストンロッドである。
【0025】
また、10は、ピストンロッド11内に設けられて、これとの間に上記ピストン3により区画された高圧室13a,13bのうち高圧室13bに通じる油路17を形成する円筒状のポンプシリンダ、22は、上記外筒16の底部16aとの間に高圧ガスおよび油を貯溜する高圧ガス貯溜室23を隔成するところの隔成板である。
【0026】
さらに、24は、隔成板22に形成されて、上記ピストン3によって隔成された上記高圧室13aと上記高圧ガス貯溜室23とに連通する連通孔である。
【0027】
9は、ポンプロッドで、これが上記隔成板22に一端が保持されるように上記ポンプシリンダ10内に挿通されて、途中には、上記高圧室13aに開口可能な制御オリフイス2を他端部には径方向に貫通する吐出ポート26aをそれぞれ持つもので、該他端部は閉塞されている。
【0028】
また、12は、上記ピストンロッド11内のポンプシリンダ10下部に形成されたポンプ室、1は、上記外筒16内に設けられたオイルリザーバで、これが上記隔成板22に形成された油孔25,上記ポンプロッド9内およびチェック弁としてのポンプチェック弁26を通じて上記ポンプ室12に連通する。
【0029】
さらに、4は、上記シリンダ15および外筒16の間に上記オイルリザーバ1および低圧ガス室27を隔成するダイヤフラムである。
【0030】
28は、上記隔成板22に設けられて、該隔成板22下部の上記オイルリザーバ1内のガスを上記高圧ガス貯溜室23へ抜くガス抜きチェック弁である。
【0031】
なお、高圧ガス貯溜室23にはガスと油との間を隔成するダイヤフラムは設けられていない。
【0032】
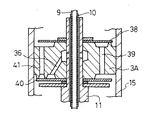
また、上記ピストン3には、図2に示すように、上記圧行程において上記ポンプ室12の油を上記高圧室12bへ導出するチェック弁35を設けてある。
【0033】
なお、必要に応じて、上記ピストン3に設けられるチェック弁35を、図3に示すように、上記ピストン3に設けられた圧側減衰力発生用の減衰力発生バルブ40と共用することもできる。
【0034】
また、29は、上記外筒16の下端開口をピストンロッド11外周に接するオイルシール30を介して塞ぐキャップ、31は、このキャップ29の内側面中央部に保持されて、上記シリンダ15の下端を密閉するベアリングで、このベアリング31の中心部および上記オイルシール30には上記ピストンロッド11が摺動自在にかつ油密的に支承されている。
【0035】
32は、上記外筒16の底部16a中心に貫通形成されたガス注入孔で、このガス注入孔32は、車体取付側部材33の溶接によって栓がなされており、34は、隔成板22を底部16aに支持する支持部材である。
【0036】
また、上記ピストン3は、図2に示すように構成され、シリンダ15内を摺動するピストン本体3Aには、高圧室13b側に設けられたチェック弁35により開閉される油路36が形成され、この油路36の他端がピストンロッド11に形成された油孔37を通して上記油路17に連通している。
【0037】
なお、38は、ピストン3に形成された油孔39を開閉する伸側減衰バルブ、40は、油孔41を開閉する圧側減衰バルブである。
【0038】
次に、動作について説明すると、まず、車両への積荷が多くなって車高が低下した場合には、ショックアブソーバが圧縮力を受けて全長が縮むことになり、このため、ピストンロッド11は、シリンダ15内に進入し、制御オリフィス2がポンプシリンダ10内に入り込んでしまう。
【0039】
なお、このとき、ポンプチェック弁26側の吐出ポート26aがポンプシリンダ10の下端から外へ出る状態とする。
【0040】
かかる状態にて、車両が走行し、ショックアブソーバが加振された場合には、その加振による伸行程では、オイルリザーバ1内の油が、油孔25,ポンプロッド9内油路,ポンプチェック弁26,吐出ポート26aをそれぞれ介してポンプ室12内に入り込む。
【0041】
一方、上記加振による圧行程では、そのポンプ室12内の油がポンプロッド9下端により押されて油路17,ピストン3に形成されたチェック弁35を介してシリンダ15内の高圧室13bへと流れ込む。
【0042】
こうして、高圧室13bに油が流れ込むと、その流れ込んだ体積分だけ、高圧室13a,連通孔24を介して高圧ガス貯溜室23が圧縮され、この高圧ガス貯溜室23内の圧力が高まる。
【0043】
このため、この圧力を受けてピストンロッド11の反発力が増大し、この反発力の増大によってピストン3がシリンダ15内にて押し上げられ、車高が上昇することとなる。
【0044】
なお、この高圧ガス貯溜室23内の圧力の増加は、ポンプシリンダ10におけるポンプロッド9の上昇によって、吐出ポート26aがポンプシリンダ10内に入り込むことにより、つまり、伸行程によってオイルリザーバ1からポンプ室12に油を汲み上げなくなるまで続くことになる。
【0045】
一方、車両の荷降ろしが行われるなどして、車高が上昇した場合には、ショックアブソーバが伸長する。
【0046】
このため、ピストンロッド11は、シリンダ15の外へ進出して全長が伸び、上記制御オリフィス2がポンプシリンダ10の外に出ることとなり、このため、その制御オリフィス2およびポンプロッド9の油路を通じて高圧室13aとオイルリザーバ1とが連通することとなり、その高圧室13a内の油がオイルリザーバ1内へ流入する。
【0047】
そして、その流入した油の体積分だけ、連通孔24を通じて高圧ガス貯溜室23内のガス室体積が膨張し、これにより、高圧室13a内の圧力が低下し、上記とは逆にピストンロッド11の反発力が低減し、この反発力の低減によって車高が低下することとなる。
【0048】
なお、この車高の低下は、制御オリフィス2がポンプシリンダ10内に入り込んで高圧室13aとオイルリザーバ1とが油圧的に分離されるまで続けられる。
【0049】
また、車高の上下動作中に、高圧ガス貯溜室23内のガスばね用のガスが油とともに連通孔24,高圧室13a,制御オリフィス2,ポンプロッド9内,油孔25を介してオイルリザーバ1内に入り込んでしまう場合がある。
【0050】
このような場合でも、このオイルリザーバ1内のガスは、その高圧室13a内の圧力よりもオイルリザーバ1内の圧力が高くなった場合などにガス抜きチェック弁28を介して高圧ガス貯溜室23のガス室へ直接導出させることができる。
【0051】
このため、ピストン3の摺動時において、高圧室13a内に滞留したガスの気泡のつぶれなどによる発生減衰力の不安定化を回避することが可能となる。
【0052】
なお、上記実施例においては、圧行程においてポンプ室12内の油を高圧室13bを導出するチェック弁35および油路36を、ピストン3のピストン本体3Aに独立して設けたものを示したが、図3に示すように、チェック弁35のみを圧側減衰力発生用の圧側減衰バルブ40と共用してもよい。
【0053】
このように、上記チェック弁35を圧側減衰バルブ40と共用することで、ピストン本体3の構成およびこれに取り付けられるバルブ設置構造やこれらの組立作業の容易化,迅速化が図れるという利点が得られる。
【0054】
なお、上記実施の形態においては、車高の低下時には制御オリフィス2をポンプシリンダ10内に入り込ませ、車高の上昇時には制御オリフィス2をポンプシリンダ10の外に出すようにするものを示したが、制御オリフィス2をポンプシリンダ10の外へ出る頻度の高いポンプロッド9の上部位置に設けることで、高圧室13aからの油の供給を受けてオイルリザーバ1の圧力が高くなる状態をより頻繁にすることができる。
【0055】
従って、上記オイルリザーバ1からの上記ガス抜きチェック弁28を通じての高圧ガス貯溜室23へのガス抜きをさらに確実かつ十分に行うことができる。
【0056】
また、上記実施の形態にあっては、車高低下時に吐出ポート26aがポンプシリンダ10の外に出て、高圧室13aの圧力を上昇させ、車高上昇時に吐出ポート26aがポンプシリンダ10の中に入り込むまで、高圧室13aの圧力を上昇させるようにした場合を示したが、上記吐出ポート26aを予め定めた中立位置、すなわち、ポンプシリンダ10内に入り込んで閉じられるポンプロッド9の所定部位に設けるようにしてもよい。
【0057】
この場合には、中立車高時に車両が微振幅加振によるポンピングを行われなくなるため、この中立車高時における車両の乗心地を改善することができる。
【0058】
また、上記制御オリフィス2を中立車高時にはオープンとなる位置に設けるとともに、上記吐出ポート26aを中立車高時にはクローズになる位置に設けることによって、オイルリザーバ1内のガス抜きの効率化とともに、中立車高時の車両の乗心地の改善を共に図ることができる。
【0059】
【発明の効果】
以上のように、請求項1の発明によれば、ピストンロッド内に設けられてこれとの間にピストンにより区画された高圧室に通じる油路を形成する円筒状のポンプシリンダと、外筒の底部との間に高圧ガスおよび油を貯溜する高圧ガス貯溜室を隔成する隔成板と、該隔成板に形成されて上記ピストンによって隔成された上記高圧室と上記ガス貯溜室とに連通する連通孔と、上記隔成板に一端が保持されるように上記ポンプシリンダ内に挿通されて途中には上記高圧室に開口する制御オリフイスを他端には径方向に貫通する吐出ポートをそれぞれ持ったポンプロッドと、上記ピストンロッド内のポンプシリンダ下部に形成されたポンプ室と、上記外筒内に設けられて上記ポンプロッド内およびチェック弁を通じて上記ポンプ室に連通するオイルリザーバと、シリンダおよび外筒間に上記オイルリザーバおよび低圧ガス室を隔成するダイヤフラムと、上記隔成板に設けられて該隔成板下部の上記オイルリザーバ内のガスを上記高圧ガス貯溜室へ抜くガス抜きチェック弁と、を備え、吐出ポートがポンプ室に開口される車高低下時に伸行程で上記オイルリザーバ内の油を上記ポンプ室に送り込み、次の圧行程でこのポンプ室の油を上記高圧室および上記高圧ガス貯溜室に送り込み、吐出ポートのポンプ室への連通が断たれその送り込みができなくなるまで上記ピストンロッドの反発力を高める一方で、制御オリフィスが上記高圧室に開口する車高上昇時に上記制御オリフィスを通じて上記高圧ガス貯溜室の油をオイルリザーバへ戻してピストンロッドの反発力を低減させるように構成したので、高圧ガスと油が貯溜される高圧ガス貯溜室にゴムのダイヤフラムを設ける必要がなくなり、従って、このダイヤフラムによるガスばねのヒステリシスの発生、あるいはダイヤフラムの耐久性劣化という問題発生を回避できることになり、これが結果的に車両の乗心地を改善することとなる。
【0060】
また、ガス抜きチェック弁によってオイルリザーバ内のガスを円滑に高圧ガス貯溜室へ送り出すことができるため、シリンダの高圧室にガスが残留するのを回避でき、従ってピストンの動作を安定化でき、結果的に減衰力動作の安定化およびこれによる車両の乗心地の向上を図ることができる。
【0061】
そして、請求項2の発明によれば、圧行程においてポンプ室の油を高圧室へ導出するチェック弁をピストンに設けるように構成したので、このチェック弁を通じて高圧室へ送り込んだ油の体積分だけ高圧ガス貯溜室のガスを圧縮してピストンロッドの反発力の増大および車高上昇を簡単に実現できるという効果が得られる。
【0062】
また、請求項3の発明によれば、ピストンに設けられるチェック弁を、ピストンに設けられた圧側減衰力発生用の減衰バルブと共用するように構成したので、チェック弁を別途用意することによる組立作業上およびコスト上の負担を顕著に軽減できるという効果が得られる。
【図面の簡単な説明】
【図1】この発明の実施の一形態による車高調整装置を示す断面図である。
【図2】図1におけるピストンの構造を詳細に示す拡大断面図である。
【図3】図1におけるチェック弁の他の実施形態を示す拡大断面図である。
【図4】従来の車高調整装置を示す縦断面図である。
【符号の説明】
1 オイルリザーバ
2 制御オリフィス
3 ピストン
4 ダイヤフラム
9 ポンプロッド
10 ポンプシリンダ
11 ピストンロッド
12 ポンプ室
13a,13b 高圧室
15 シリンダ
16 外筒
17 油路
22 隔成板
23 高圧ガス貯溜室
24 連通孔
25 油孔
26 ポンプチェック弁(チェック弁)
26a 吐出ポート
27 低圧ガス室
28 ガス抜きチェック弁
35 チェック弁
40 減衰力発生バルブ
【発明の属する技術分野】
この発明は、自動車,二輪車,産業用車両などに用いられる車高調整装置に関する。
【0002】
【従来の技術】
従来の車高調整装置として、例えば、図4に示すようなボーゲ社製のセルフポンピング型ショックアブソーバが提供されているが、これについて説明すると、まず、15は、車体に係止される外筒16内に配設されたシリンダである。
【0003】
また、11は、車輪に係止されて上記シリンダ15内を摺動するピストン3を具備するピストンロッド、10は、該ピストンロッド11内に設けられてこれとの間に上記ピストン3により区画された高圧室13に通じる油路17を形成する円筒状のポンプシリンダである。
【0004】
さらに、9は、上記外筒16の底部(上端内面)に一端が保持され、他端が上記ポンプシリンダ10内に挿通されて、途中に上記高圧室13に開口する車高低下用の制御オリフィス2を持ったポンプロッドである。
【0005】
また、1は、上記外筒16内に設けられて、上記ポンプロッド9およびインレットバルブ6を通じてポンプシリンダ10内下部のポンプ室12に連通するオイルリザーバである。
【0006】
7は、上記ポンプシリンダ10の下部の上記ポンプ室12および上記油路17間に設けられたアウトレットバルブ、5は、上記高圧室13に連通する上記外筒16内の高圧室18とガス室5とを隔成するダイヤフラムである。
【0007】
また、8は、上記ポンプロッド9の外周の一部に軸方向の一定長に亘って設けられた切欠溝であり、これの上部が上記ポンプシリンダ10の上方に出ているときは、高圧室13とポンプ室を連通するように機能する。
【0008】
次に、動作について説明すると、いま、車両への積荷が増大して、車高が低下した場合を考えると、ショックアブソーバとしての車高調整装置の全体が圧縮力を受けて縮み、このとき、上記制御オリフィス2および切欠8がポンプシリンダ10内に入り込んだ位置にある。
【0009】
この状態において、車両が走行しショックアブソーバに加振力が働くと、このときのピストンロッド11の伸行程で、オイルリザーバ1内の油が連通管19,ポンプロッド9内の油路20,インレットバルブ6をそれぞれ介してポンプ室12内に入り込む。
【0010】
一方、続く圧行程では、上記ポンプ室12内の油がポンプロッド9により押されてアウトレットバルブ7,ポンプシリンダ10とピストンロッド11との間の油路17を介して上記高圧室13内へ流れ込む。
【0011】
そして、この高圧室13内へ流れ込んだ油の体積分でけ、上記シリンダ15の底部に設けた小孔21およびシリンダ15外周の油路22を介して、ダイヤフラム4によって隔成された高圧室18に流れ込む。
【0012】
このため、その体積分に応じた量だけ、ガス室5が圧縮されて、高圧室18が高圧化し、ピストンロッド11の反発力が増大し、この反発力の増大によって車高が上昇することとなる。
【0013】
一方、上記高圧室13の圧力の増加は、車高の上昇により切欠8がポンプシリンダ10の外に出て高圧室13とポンプ室12とが連通し、ポンプ室12が高圧となり、これによって、上記インレットバルブ6を押し付けるように閉じ、オイルリザーバ1からポンプ室12に油を汲み上げなくなるまで、この伸行程が続けられる。
【0014】
次に、車両から荷降しを行うなどして車高が上昇すると、ショックアブソーバとしての全長が伸び、上記制御オリフィス2がポンプシリンダ10の外部に出る位置にくると、高圧室13とオイルリザーバ1とが制御オリフィス2を介して連通する。
【0015】
このため、高圧室13の油がオイルリザーバ1に流入し、この流入によって高圧室13から出た油の体積分だけ、ガス室5の容積が膨張し、これによって、高圧室13の圧力が低下し、ピストンロッド11の反発が減少して、車高が低下していく。
【0016】
そして、この車高の低下は、制御オリフィス2がポンプシリンダ10内に入り込んで、高圧室13とオイルリザーバ1との間の油の流通が分断されるまで続くこととなる。
【0017】
【発明が解決しようとする課題】
従来の車高調整装置は、以上のように構成されているので、高圧室18とガス室5とを隔成するダイヤフラム4がガスばね動作のヒステリシスを大きくし、このため車両の乗心地を悪くするという課題があった。
【0018】
また、ガスの圧縮比が大きく、かつ膨張,圧縮動作が頻繁であるため、ダイヤフラム4自体の耐久性が著しく低下し易くなるという問題点があった。
【0019】
さらに、オイルリザーバ1内のガスが、一旦、高圧室13内のオイルリザーバ1より高い部位へ流入すると、この高圧室13からそのガスを抜くことが困難となり、シリンダ15におけるピストン3の動きが不安定となり、これによって発生する減衰力波形が乱れ、車両の乗心地を悪くするなどの課題があった。
【0020】
この発明は、上記のような課題を解決するためになされたものであり、ガスばねのヒステリシスを低減することで、車両の乗心地を向上でき、かつガスばねの耐久性の向上およびシリンダ内のガス抜きを良好に実現できる車高調整装置を提供することを目的とする。
【0021】
【課題を解決するための手段】
請求項1の発明にかかる車高調整装置は、ピストンロッド内に設けられてこれとの間にピストンにより区画された高圧室に通じる油路を形成する円筒状のポンプシリンダと、外筒の底部との間に高圧ガスおよび油を貯溜する高圧ガス貯溜室を隔成する隔成板と、該隔成板に形成されて上記ピストンによって隔成された上記高圧室と上記ガス貯溜室とに連通する連通孔と、上記隔成板に一端が保持されるように上記ポンプシリンダ内に挿通されて途中には上記高圧室に開口する制御オリフイスを他端には径方向に貫通する吐出ポートをそれぞれ持ったポンプロッドと、上記ピストンロッド内のポンプシリンダ下部に形成されたポンプ室と、上記外筒内に設けられて上記ポンプロッド内およびチェック弁を通じて上記ポンプ室に連通するオイルリザーバと、シリンダおよび外筒間に上記オイルリザーバおよび低圧ガス室を隔成するダイヤフラムと、上記隔成板に設けられて該隔成板下部の上記オイルリザーバ内のガスを上記高圧ガス貯溜室へ抜くガス抜きチェック弁と、を備え、吐出ポートがポンプ室に開口される車高低下時に伸行程で上記オイルリザーバ内の油を上記ポンプ室に送り込み、次の圧行程でこのポンプ室の油を上記高圧室および上記高圧ガス貯溜室に送り込み、吐出ポートのポンプ室への連通が断たれその送り込みができなくなるまで上記ピストンロッドの反発力を高める一方で、制御オリフィスが上記高圧室に開口する車高上昇時に上記制御オリフィスを通じて上記高圧ガス貯溜室の油をオイルリザーバへ戻してピストンロッドの反発力を低減させるようにしたものである。
【0022】
また、請求項2の発明にかかる車高調整装置は、圧行程において上記ポンプ室の油を高圧室へ導出するチェック弁をピストンに設けたものである。
【0023】
さらに、請求項3の発明にかかる車高調整装置は、ピストンに設けられるチェック弁をピストンに設けられた圧側減衰力発生用の減衰バルブと共用するようにしたものである。
【0024】
【発明の実施の形態】
以下、この発明の実施の一形態を図について説明するが、図1は、この発明の車高調整装置の全体を示す断面図であり、図において、15は、車体に係止される外筒16内に配設されたシリンダ、11は、車輪に係止されて上記シリンダ15内を摺動するピストン3を具備するピストンロッドである。
【0025】
また、10は、ピストンロッド11内に設けられて、これとの間に上記ピストン3により区画された高圧室13a,13bのうち高圧室13bに通じる油路17を形成する円筒状のポンプシリンダ、22は、上記外筒16の底部16aとの間に高圧ガスおよび油を貯溜する高圧ガス貯溜室23を隔成するところの隔成板である。
【0026】
さらに、24は、隔成板22に形成されて、上記ピストン3によって隔成された上記高圧室13aと上記高圧ガス貯溜室23とに連通する連通孔である。
【0027】
9は、ポンプロッドで、これが上記隔成板22に一端が保持されるように上記ポンプシリンダ10内に挿通されて、途中には、上記高圧室13aに開口可能な制御オリフイス2を他端部には径方向に貫通する吐出ポート26aをそれぞれ持つもので、該他端部は閉塞されている。
【0028】
また、12は、上記ピストンロッド11内のポンプシリンダ10下部に形成されたポンプ室、1は、上記外筒16内に設けられたオイルリザーバで、これが上記隔成板22に形成された油孔25,上記ポンプロッド9内およびチェック弁としてのポンプチェック弁26を通じて上記ポンプ室12に連通する。
【0029】
さらに、4は、上記シリンダ15および外筒16の間に上記オイルリザーバ1および低圧ガス室27を隔成するダイヤフラムである。
【0030】
28は、上記隔成板22に設けられて、該隔成板22下部の上記オイルリザーバ1内のガスを上記高圧ガス貯溜室23へ抜くガス抜きチェック弁である。
【0031】
なお、高圧ガス貯溜室23にはガスと油との間を隔成するダイヤフラムは設けられていない。
【0032】
また、上記ピストン3には、図2に示すように、上記圧行程において上記ポンプ室12の油を上記高圧室12bへ導出するチェック弁35を設けてある。
【0033】
なお、必要に応じて、上記ピストン3に設けられるチェック弁35を、図3に示すように、上記ピストン3に設けられた圧側減衰力発生用の減衰力発生バルブ40と共用することもできる。
【0034】
また、29は、上記外筒16の下端開口をピストンロッド11外周に接するオイルシール30を介して塞ぐキャップ、31は、このキャップ29の内側面中央部に保持されて、上記シリンダ15の下端を密閉するベアリングで、このベアリング31の中心部および上記オイルシール30には上記ピストンロッド11が摺動自在にかつ油密的に支承されている。
【0035】
32は、上記外筒16の底部16a中心に貫通形成されたガス注入孔で、このガス注入孔32は、車体取付側部材33の溶接によって栓がなされており、34は、隔成板22を底部16aに支持する支持部材である。
【0036】
また、上記ピストン3は、図2に示すように構成され、シリンダ15内を摺動するピストン本体3Aには、高圧室13b側に設けられたチェック弁35により開閉される油路36が形成され、この油路36の他端がピストンロッド11に形成された油孔37を通して上記油路17に連通している。
【0037】
なお、38は、ピストン3に形成された油孔39を開閉する伸側減衰バルブ、40は、油孔41を開閉する圧側減衰バルブである。
【0038】
次に、動作について説明すると、まず、車両への積荷が多くなって車高が低下した場合には、ショックアブソーバが圧縮力を受けて全長が縮むことになり、このため、ピストンロッド11は、シリンダ15内に進入し、制御オリフィス2がポンプシリンダ10内に入り込んでしまう。
【0039】
なお、このとき、ポンプチェック弁26側の吐出ポート26aがポンプシリンダ10の下端から外へ出る状態とする。
【0040】
かかる状態にて、車両が走行し、ショックアブソーバが加振された場合には、その加振による伸行程では、オイルリザーバ1内の油が、油孔25,ポンプロッド9内油路,ポンプチェック弁26,吐出ポート26aをそれぞれ介してポンプ室12内に入り込む。
【0041】
一方、上記加振による圧行程では、そのポンプ室12内の油がポンプロッド9下端により押されて油路17,ピストン3に形成されたチェック弁35を介してシリンダ15内の高圧室13bへと流れ込む。
【0042】
こうして、高圧室13bに油が流れ込むと、その流れ込んだ体積分だけ、高圧室13a,連通孔24を介して高圧ガス貯溜室23が圧縮され、この高圧ガス貯溜室23内の圧力が高まる。
【0043】
このため、この圧力を受けてピストンロッド11の反発力が増大し、この反発力の増大によってピストン3がシリンダ15内にて押し上げられ、車高が上昇することとなる。
【0044】
なお、この高圧ガス貯溜室23内の圧力の増加は、ポンプシリンダ10におけるポンプロッド9の上昇によって、吐出ポート26aがポンプシリンダ10内に入り込むことにより、つまり、伸行程によってオイルリザーバ1からポンプ室12に油を汲み上げなくなるまで続くことになる。
【0045】
一方、車両の荷降ろしが行われるなどして、車高が上昇した場合には、ショックアブソーバが伸長する。
【0046】
このため、ピストンロッド11は、シリンダ15の外へ進出して全長が伸び、上記制御オリフィス2がポンプシリンダ10の外に出ることとなり、このため、その制御オリフィス2およびポンプロッド9の油路を通じて高圧室13aとオイルリザーバ1とが連通することとなり、その高圧室13a内の油がオイルリザーバ1内へ流入する。
【0047】
そして、その流入した油の体積分だけ、連通孔24を通じて高圧ガス貯溜室23内のガス室体積が膨張し、これにより、高圧室13a内の圧力が低下し、上記とは逆にピストンロッド11の反発力が低減し、この反発力の低減によって車高が低下することとなる。
【0048】
なお、この車高の低下は、制御オリフィス2がポンプシリンダ10内に入り込んで高圧室13aとオイルリザーバ1とが油圧的に分離されるまで続けられる。
【0049】
また、車高の上下動作中に、高圧ガス貯溜室23内のガスばね用のガスが油とともに連通孔24,高圧室13a,制御オリフィス2,ポンプロッド9内,油孔25を介してオイルリザーバ1内に入り込んでしまう場合がある。
【0050】
このような場合でも、このオイルリザーバ1内のガスは、その高圧室13a内の圧力よりもオイルリザーバ1内の圧力が高くなった場合などにガス抜きチェック弁28を介して高圧ガス貯溜室23のガス室へ直接導出させることができる。
【0051】
このため、ピストン3の摺動時において、高圧室13a内に滞留したガスの気泡のつぶれなどによる発生減衰力の不安定化を回避することが可能となる。
【0052】
なお、上記実施例においては、圧行程においてポンプ室12内の油を高圧室13bを導出するチェック弁35および油路36を、ピストン3のピストン本体3Aに独立して設けたものを示したが、図3に示すように、チェック弁35のみを圧側減衰力発生用の圧側減衰バルブ40と共用してもよい。
【0053】
このように、上記チェック弁35を圧側減衰バルブ40と共用することで、ピストン本体3の構成およびこれに取り付けられるバルブ設置構造やこれらの組立作業の容易化,迅速化が図れるという利点が得られる。
【0054】
なお、上記実施の形態においては、車高の低下時には制御オリフィス2をポンプシリンダ10内に入り込ませ、車高の上昇時には制御オリフィス2をポンプシリンダ10の外に出すようにするものを示したが、制御オリフィス2をポンプシリンダ10の外へ出る頻度の高いポンプロッド9の上部位置に設けることで、高圧室13aからの油の供給を受けてオイルリザーバ1の圧力が高くなる状態をより頻繁にすることができる。
【0055】
従って、上記オイルリザーバ1からの上記ガス抜きチェック弁28を通じての高圧ガス貯溜室23へのガス抜きをさらに確実かつ十分に行うことができる。
【0056】
また、上記実施の形態にあっては、車高低下時に吐出ポート26aがポンプシリンダ10の外に出て、高圧室13aの圧力を上昇させ、車高上昇時に吐出ポート26aがポンプシリンダ10の中に入り込むまで、高圧室13aの圧力を上昇させるようにした場合を示したが、上記吐出ポート26aを予め定めた中立位置、すなわち、ポンプシリンダ10内に入り込んで閉じられるポンプロッド9の所定部位に設けるようにしてもよい。
【0057】
この場合には、中立車高時に車両が微振幅加振によるポンピングを行われなくなるため、この中立車高時における車両の乗心地を改善することができる。
【0058】
また、上記制御オリフィス2を中立車高時にはオープンとなる位置に設けるとともに、上記吐出ポート26aを中立車高時にはクローズになる位置に設けることによって、オイルリザーバ1内のガス抜きの効率化とともに、中立車高時の車両の乗心地の改善を共に図ることができる。
【0059】
【発明の効果】
以上のように、請求項1の発明によれば、ピストンロッド内に設けられてこれとの間にピストンにより区画された高圧室に通じる油路を形成する円筒状のポンプシリンダと、外筒の底部との間に高圧ガスおよび油を貯溜する高圧ガス貯溜室を隔成する隔成板と、該隔成板に形成されて上記ピストンによって隔成された上記高圧室と上記ガス貯溜室とに連通する連通孔と、上記隔成板に一端が保持されるように上記ポンプシリンダ内に挿通されて途中には上記高圧室に開口する制御オリフイスを他端には径方向に貫通する吐出ポートをそれぞれ持ったポンプロッドと、上記ピストンロッド内のポンプシリンダ下部に形成されたポンプ室と、上記外筒内に設けられて上記ポンプロッド内およびチェック弁を通じて上記ポンプ室に連通するオイルリザーバと、シリンダおよび外筒間に上記オイルリザーバおよび低圧ガス室を隔成するダイヤフラムと、上記隔成板に設けられて該隔成板下部の上記オイルリザーバ内のガスを上記高圧ガス貯溜室へ抜くガス抜きチェック弁と、を備え、吐出ポートがポンプ室に開口される車高低下時に伸行程で上記オイルリザーバ内の油を上記ポンプ室に送り込み、次の圧行程でこのポンプ室の油を上記高圧室および上記高圧ガス貯溜室に送り込み、吐出ポートのポンプ室への連通が断たれその送り込みができなくなるまで上記ピストンロッドの反発力を高める一方で、制御オリフィスが上記高圧室に開口する車高上昇時に上記制御オリフィスを通じて上記高圧ガス貯溜室の油をオイルリザーバへ戻してピストンロッドの反発力を低減させるように構成したので、高圧ガスと油が貯溜される高圧ガス貯溜室にゴムのダイヤフラムを設ける必要がなくなり、従って、このダイヤフラムによるガスばねのヒステリシスの発生、あるいはダイヤフラムの耐久性劣化という問題発生を回避できることになり、これが結果的に車両の乗心地を改善することとなる。
【0060】
また、ガス抜きチェック弁によってオイルリザーバ内のガスを円滑に高圧ガス貯溜室へ送り出すことができるため、シリンダの高圧室にガスが残留するのを回避でき、従ってピストンの動作を安定化でき、結果的に減衰力動作の安定化およびこれによる車両の乗心地の向上を図ることができる。
【0061】
そして、請求項2の発明によれば、圧行程においてポンプ室の油を高圧室へ導出するチェック弁をピストンに設けるように構成したので、このチェック弁を通じて高圧室へ送り込んだ油の体積分だけ高圧ガス貯溜室のガスを圧縮してピストンロッドの反発力の増大および車高上昇を簡単に実現できるという効果が得られる。
【0062】
また、請求項3の発明によれば、ピストンに設けられるチェック弁を、ピストンに設けられた圧側減衰力発生用の減衰バルブと共用するように構成したので、チェック弁を別途用意することによる組立作業上およびコスト上の負担を顕著に軽減できるという効果が得られる。
【図面の簡単な説明】
【図1】この発明の実施の一形態による車高調整装置を示す断面図である。
【図2】図1におけるピストンの構造を詳細に示す拡大断面図である。
【図3】図1におけるチェック弁の他の実施形態を示す拡大断面図である。
【図4】従来の車高調整装置を示す縦断面図である。
【符号の説明】
1 オイルリザーバ
2 制御オリフィス
3 ピストン
4 ダイヤフラム
9 ポンプロッド
10 ポンプシリンダ
11 ピストンロッド
12 ポンプ室
13a,13b 高圧室
15 シリンダ
16 外筒
17 油路
22 隔成板
23 高圧ガス貯溜室
24 連通孔
25 油孔
26 ポンプチェック弁(チェック弁)
26a 吐出ポート
27 低圧ガス室
28 ガス抜きチェック弁
35 チェック弁
40 減衰力発生バルブ
Claims (3)
- 車体に係止される外筒内に配設されたシリンダと、車輪に係止されて上記シリンダ内を摺動するピストンを具備するピストンロッドと、該ピストンロッド内に設けられてこれとの間に上記ピストンにより区画された高圧室に通じる油路を形成する円筒状のポンプシリンダと、上記外筒の底部との間に高圧ガスおよび油を貯溜する高圧ガス貯溜室を隔成する隔成板と、該隔成板に形成されて上記ピストンによって隔成された上記高圧室と上記ガス貯溜室とに連通する連通孔と、上記隔成板に一端が保持されるように上記ポンプシリンダ内に挿通されて途中には上記高圧室に開口する制御オリフイスを他端には径方向に貫通する吐出ポートをそれぞれ持ったポンプロッドと、上記ピストンロッド内のポンプシリンダ下部に形成されたポンプ室と、上記外筒内に設けられて上記ポンプロッド内およびチェック弁を通じて上記ポンプ室に連通するオイルリザーバと、上記シリンダおよび外筒間に上記オイルリザーバおよび低圧ガス室を隔成するダイヤフラムと、上記隔成板に設けられて該隔成板下部の上記オイルリザーバ内のガスを上記高圧ガス貯溜室へ抜くガス抜きチェック弁と、を備え、吐出ポートがポンプ室に開口される車高低下時に伸行程で上記オイルリザーバ内の油を上記ポンプ室に送り込み、次の圧行程でこのポンプ室の油を上記高圧室および上記高圧ガス貯溜室に送り込み、吐出ポートのポンプ室への連通が断たれその送り込みができなくなるまで上記ピストンロッドの反発力を高める一方で、制御オリフィスが上記高圧室に開口する車高上昇時に上記制御オリフィスを通じて上記高圧ガス貯溜室の油をオイルリザーバへ戻してピストンロッドの反発力を低減させる車高調整装置。
- 上記ピストンに上記圧行程において上記ポンプ室の油を上記高圧室へ導出するチェック弁を設けたことを特徴とする請求項1に記載の車高調整装置。
- 上記ピストンに設けられるチェック弁が上記ピストンに設けられた圧側減衰力発生用の減衰バルブと共用されることを特徴とする請求項2に記載の車高調整装置。
Priority Applications (1)
| Application Number | Priority Date | Filing Date | Title |
|---|---|---|---|
| JP31158395A JP3661069B2 (ja) | 1995-11-06 | 1995-11-06 | 車高調整装置 |
Applications Claiming Priority (1)
| Application Number | Priority Date | Filing Date | Title |
|---|---|---|---|
| JP31158395A JP3661069B2 (ja) | 1995-11-06 | 1995-11-06 | 車高調整装置 |
Publications (2)
| Publication Number | Publication Date |
|---|---|
| JPH09133172A JPH09133172A (ja) | 1997-05-20 |
| JP3661069B2 true JP3661069B2 (ja) | 2005-06-15 |
Family
ID=18018992
Family Applications (1)
| Application Number | Title | Priority Date | Filing Date |
|---|---|---|---|
| JP31158395A Expired - Fee Related JP3661069B2 (ja) | 1995-11-06 | 1995-11-06 | 車高調整装置 |
Country Status (1)
| Country | Link |
|---|---|
| JP (1) | JP3661069B2 (ja) |
Families Citing this family (2)
| Publication number | Priority date | Publication date | Assignee | Title |
|---|---|---|---|---|
| KR100596929B1 (ko) * | 2005-01-13 | 2006-07-06 | 주식회사 만도 | 스프링레이트 저감을 위한 차고 조정식 쇽업소버 |
| CN108937109B (zh) * | 2018-09-14 | 2024-06-18 | 深圳美力王智能科技有限公司 | 一种可控式升降机构及其家具和控制方法 |
-
1995
- 1995-11-06 JP JP31158395A patent/JP3661069B2/ja not_active Expired - Fee Related
Also Published As
| Publication number | Publication date |
|---|---|
| JPH09133172A (ja) | 1997-05-20 |
Similar Documents
| Publication | Publication Date | Title |
|---|---|---|
| US6871845B2 (en) | Self-pumping, hydropneumatic suspension strut unit | |
| KR20080074015A (ko) | 유압 완충기 | |
| JP2952149B2 (ja) | ハイドロニューマチックシリンダ | |
| JP2000127734A (ja) | 内的なレベル調節を有するセルフポンプ式のハイドロニュ―マチックな弾性ストラット | |
| JP3696671B2 (ja) | 車高調整装置 | |
| JP3661069B2 (ja) | 車高調整装置 | |
| KR20050107664A (ko) | 셀프 레벨라이저 댐퍼 | |
| JPH05162525A (ja) | 車高調整装置 | |
| JP2998580B2 (ja) | セルフポンピング式ショックアブソーバ | |
| KR100759931B1 (ko) | 차량의 높이 조절 댐퍼 장치 | |
| JP3649352B2 (ja) | 車高調整装置 | |
| JP3087589B2 (ja) | セルフポンピング式ショックアブソーバ | |
| JPH0942356A (ja) | 油圧緩衝器 | |
| KR100447618B1 (ko) | 자동차의 높이 조절 댐퍼 장치 | |
| JP3279127B2 (ja) | セルフポンピング式ショックアブソーバ | |
| KR100489335B1 (ko) | 자동차의 높이 조절 댐퍼 장치 | |
| KR100721673B1 (ko) | 차량의 높이 조절 댐퍼 장치 | |
| JP5110285B2 (ja) | 油圧緩衝器 | |
| KR100747989B1 (ko) | 높이 조절 댐퍼의 릴리프밸브 | |
| JPH07253136A (ja) | ハイドロニューマチックシリンダ | |
| KR100722134B1 (ko) | 차량의 높이 조절 댐퍼 장치 | |
| JP2000135909A (ja) | 油圧緩衝器 | |
| KR100716427B1 (ko) | 차고 조절용 쇽 업소버 | |
| JPH06206419A (ja) | ハイドロニューマチックサスペンション | |
| JP2001027276A (ja) | 車高調整機構付きダンパ |
Legal Events
| Date | Code | Title | Description |
|---|---|---|---|
| A977 | Report on retrieval |
Free format text: JAPANESE INTERMEDIATE CODE: A971007 Effective date: 20041228 |
|
| TRDD | Decision of grant or rejection written | ||
| A01 | Written decision to grant a patent or to grant a registration (utility model) |
Free format text: JAPANESE INTERMEDIATE CODE: A01 Effective date: 20050208 |
|
| A61 | First payment of annual fees (during grant procedure) |
Free format text: JAPANESE INTERMEDIATE CODE: A61 Effective date: 20050308 |
|
| LAPS | Cancellation because of no payment of annual fees |