JP3660774B2 - Afコンパクトカメラの組立時ピント調節機構 - Google Patents
Afコンパクトカメラの組立時ピント調節機構 Download PDFInfo
- Publication number
- JP3660774B2 JP3660774B2 JP02795197A JP2795197A JP3660774B2 JP 3660774 B2 JP3660774 B2 JP 3660774B2 JP 02795197 A JP02795197 A JP 02795197A JP 2795197 A JP2795197 A JP 2795197A JP 3660774 B2 JP3660774 B2 JP 3660774B2
- Authority
- JP
- Japan
- Prior art keywords
- lens frame
- ring
- coupling member
- shaped coupling
- adjustment
- Prior art date
- Legal status (The legal status is an assumption and is not a legal conclusion. Google has not performed a legal analysis and makes no representation as to the accuracy of the status listed.)
- Expired - Fee Related
Links
- 230000008878 coupling Effects 0.000 claims description 40
- 238000010168 coupling process Methods 0.000 claims description 40
- 238000005859 coupling reaction Methods 0.000 claims description 40
- 230000003287 optical effect Effects 0.000 claims description 10
- 230000002093 peripheral effect Effects 0.000 claims description 4
- 239000000853 adhesive Substances 0.000 claims description 3
- 230000001070 adhesive effect Effects 0.000 claims description 3
- 230000004323 axial length Effects 0.000 description 1
- 230000000694 effects Effects 0.000 description 1
Images
Classifications
-
- G—PHYSICS
- G02—OPTICS
- G02B—OPTICAL ELEMENTS, SYSTEMS OR APPARATUS
- G02B7/00—Mountings, adjusting means, or light-tight connections, for optical elements
- G02B7/02—Mountings, adjusting means, or light-tight connections, for optical elements for lenses
- G02B7/04—Mountings, adjusting means, or light-tight connections, for optical elements for lenses with mechanism for focusing or varying magnification
- G02B7/08—Mountings, adjusting means, or light-tight connections, for optical elements for lenses with mechanism for focusing or varying magnification adapted to co-operate with a remote control mechanism
Landscapes
- Physics & Mathematics (AREA)
- General Physics & Mathematics (AREA)
- Optics & Photonics (AREA)
- Lens Barrels (AREA)
- Focusing (AREA)
Description
【技術分野】
本発明は、AFコンパクトカメラの組立時に、ピント調節レンズの光軸方向位置を調節するための構造に関する。
【0002】
【従来技術及びその問題点】
AFコンパクトカメラは、全体として環状をなすシャッタユニットを有し、このシャッタユニットの中心部の雌ヘリコイドに、ピント調節レンズのレンズ枠の雄ヘリコイドを螺合させている。このシャッタユニットには、被写体距離情報に応じた量だけ、雌ヘリコイドと略同心の円弧上を回転駆動されるAF駆動レバーが備えられていて、このAF駆動レバーは、レンズ枠に固定されているリング状結合部材の腕部を介して該レンズ枠と連動する。このAF駆動レバーは常時は無限遠撮影位置に保持され、シャッタレリーズ時に、被写体距離情報に応じて駆動される。
【0003】
このAFコンパクトカメラは、組立時にはリング状結合部材とレンズ枠との相対回動ができるようにしておいて、シャッタユニットに螺合されているレンズ枠を所定位置(例えば無限遠撮影位置)に移動(回動)させる。このときAF駆動レバーと(これに係合しているリング状結合部材)は、同じ無限遠撮影位置に保持しておき、調節終了後、レンズ枠とリング状結合部材とを固定(通常接着)する。ズームレンズに適用した場合は、調整用コリメータに対応した距離にAFレバーをセットして、ズーミング調整を行なう。
【0004】
この組立時ピント調節を行なうため従来、レンズ枠には、リング状結合部材の光軸方向移動を規制し、回動のみ可能に支持する環状溝を形成していた。しかし、極限迄の小型化が進むAFコンパクトカメラでは、この環状溝を形成することが困難になる場合がある。
【0005】
【発明の目的】
本発明は、AFコンパクトカメラについての以上の問題意識に基づき、レンズ枠に、リング状結合部材を回動のみ自在に支持する環状溝を形成することなく、同様の組立時ピント調節を行なうことができる組立時ピント調節機構を得ることを目的とする。
【0006】
【発明の概要】
本発明は、ピント調節レンズを保持した、外周面に雄ヘリコイドを有するレンズ枠;このレンズ枠の雄ヘリコイドを螺合させる雌ヘリコイドと、この雌ヘリコイドと同心の円弧上を被写体距離情報に応じた量だけ回転駆動されるAF駆動レバーとを有するシャッタユニット;及びAF駆動レバーに係合する腕部を有し、組立時のピント調節前は上記ピント調節レンズのレンズ枠に対して相対回動可能で、組立調節後に該レンズ枠に固定するリング状結合部材;を有するAFコンパクトカメラにおいて、レンズ枠に、前方からリング状結合部材を嵌合させる筒状嵌合面と;この筒状嵌合面の奥部にあって該リング状結合部材の光軸方向位置を規制する当付面と;レンズ枠を回転させるための調節治具を係合させる周方向に離間した複数の係合部と;を設け、調節治具に、レンズ枠側の係合部に係合する複数の係合部と;レンズ枠側の当付面との間にリング状結合部材を挟む挟着端面と;を設けたことを特徴としている。
【0007】
レンズ枠とリング状結合部材とは、調節治具によって両者の相対回動位置を調節した後、固定するが、この固定には接着剤を用いることが好ましい。
また、リング状結合部材は、完全環体としてもよいが、レンズ枠の筒状嵌合面に密着する弾性を有する不完全環体から構成すれば、仮組立状態でリング状結合部材がレンズ枠から脱落することがないという利点が得られる。
【0008】
【発明の実施の形態】
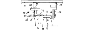
ピント調節レンズ(フォーカシングレンズ)11を固定したレンズ枠10には、その外周面の後部に雄ヘリコイド12が形成され、前部に、筒状嵌合面13が形成されている。この筒状嵌合面13の奥部には、光軸と直交する平面からなる環状当付面14が形成されている。また、レンズ枠10の前端面には、周方向に等間隔に離間させて、複数(図示例では3個)の係合凹部15が形成されている。
【0009】
リング状結合部材20は、このレンズ枠10の筒状嵌合面13に、その前方から嵌合可能なもので、不連続部21を有する不完全環体からなっている。このリング状結合部材20は、自由状態での径を筒状嵌合面13の径より若干小さく形成し、嵌合させたとき、その弾性で嵌合面13に密着し、容易に脱落しないようにすることが好ましい。勿論、筒状嵌合面13に対する相対回動は軽い力で行なえるように、その径(弾性)を設定する。このリング状結合部材20には、半径方向腕部22が一体に曲折形成されており、この半径方向腕部22の先端部には、AF駆動レバー(ピン)を受け入れる二股部23が設けられている。この半径方向腕部22は、リング状結合部材20の前端面20fより後方(環状当付面14側)に位置している。また、このリング状結合部材20の幅は、環状当付面14より前方のレンズ枠10の軸方向長さと同等以上に設定されている。
【0010】
全体として環状をなすシャッタユニット30は、AFコンパクトカメラ用レンズ鏡筒のいずれかの筒状部材31(図3)に固定されるもので、中心部に、レンズ枠10の雄ヘリコイド12を螺合させる雌ヘリコイド32(同)を有している。また、このシャッタユニット30は、雌ヘリコイド32と略同心の円弧上を被写体距離情報に応じた量だけ回転駆動されるAF駆動レバー(ピン)33と、被写体輝度情報に応じて開閉されるシャッタブレード34を備えている。リング状結合部材20の二股部23は、AF駆動レバー33に周方向の遊びなく係合する。
【0011】
調節治具40は、筒状をなし、その一端面に、レンズ枠10の3個の係合凹部15に係合する3個の係合突起41と、この係合突起41と係合凹部15とが係合した状態で、レンズ枠10の環状当付面14との間にリング状結合部材20を挟む挟着端面42とを有している。勿論、係合凹部15と係合突起41の凹凸関係は、逆でもよい。
【0012】
上記構成の本機構の組立時ピント調節は、例えば次のように行なう。シャッタユニット30のAF駆動レバー33を無限遠撮影位置に保持し、レンズ枠10の雄ヘリコイド12をシャッタユニット30の雌ヘリコイド32に螺合させ、概略無限遠撮影位置に保持する。レンズ枠10の筒状嵌合面13には、予めリング状結合部材20を嵌めておき、その半径方向腕部22の二股部23を無限遠撮影位置にあるAF駆動レバー33に係合させておく。この状態において、調節治具40の係合突起41をレンズ枠10の係合凹部15に嵌め、同時に、その挟着端面42とレンズ枠10の環状当付面14との間に、リング状結合部材20を挟着する。つまりリング状結合部材20の後端面20rと前端面20fをそれぞれ環状当付面14と挟着端面42に密着させる。この状態では、リング状結合部材20は回動はできるが、光軸方向の移動は規制されている。
【0013】
このセット状態において、ピント状態を見ながら、調節治具40を使ってレンズ枠10を回動させる。レンズ枠10は、雄ヘリコイド12と雌ヘリコイド32の関係により、回動しながら光軸方向位置を変えるから、ピント位置が無限遠撮影状態になったとき、調節を終了する。このレンズ枠10の回動調節の際には、リング状結合部材20の二股部23は、AF駆動レバー33に係合していて、AF駆動レバー33は移動しないので、レンズ枠10が固定状態のリング状結合部材20に対して相対回動する。
【0014】
以上の組立時ピント調節が終了したら、調節治具40を外し、リング状結合部材20をレンズ枠10に接着する。接着剤は、例えば、レンズ枠10の係合凹部15とリング状結合部材20の半径方向腕部22の間(図2のA部)に付着させることができる。このようにピント調節終了後、レンズ枠10とリング状結合部材20を固定すれば、被写体距離情報に基づいた量だけAF駆動レバー33が回動すると、それに応じてレンズ枠10が回動して光軸方向に移動し、常に正しいピントが得られる。
【0015】
図4は、従来機構を示している。レンズ枠10の外周面には、リング状結合部材20を光軸方向に移動させることなく回動のみ可能に保持するための保持溝19が形成されている。図3と図4を比較すると、本実施例により、レンズ枠10の小型化(軸方向長の短縮)が図られていることが分かる。
【0016】
以上の実施形態では、シャッタユニット30を固定する部材を単に筒状部材31とし、その周辺の構成を示していない。しかし、AF機構を有するカメラであれば、筒状部材31に相当する部材は、必ず存在し、しかも、本発明は、シャッタユニット30の前後の構成を問うものではないので、その図示を省略する。
【0017】
【発明の効果】
本発明によれば、AFコンパクトカメラのピント調節レンズのレンズ枠に、リング状結合部材を光軸方向に移動させず回動のみ可能に保持する保持溝を形成する必要がないから、組立時ピント調節機構を小型化できる。
【図面の簡単な説明】
【図1】本発明によるAFコンパクトカメラの組立時ピント調節機構の実施形態を示す分解斜視図である。
【図2】同調節治具との関係を示す斜視図である。
【図3】調節治具による調節状態を示す断面図である。
【図4】従来の同種組立時ピント調節機構を示す、図3に対応する断面図である。
【符号の説明】
10 レンズ枠
11 ピント調節レンズ
12 雄ヘリコイド
13 筒状嵌合面
14 環状当付面
15 係合凹部(係合部)
20 リング状結合部材
20f 前端面
20r 後端面
22 半径方向腕部(腕部)
23 二股部
30 シャッタユニット
32 雌ヘリコイド
33 AF駆動レバー
40 調節治具
41 係合突起
42 挟着端面
Claims (3)
- ピント調節レンズを保持した、外周面に雄ヘリコイドを有するレンズ枠;
このレンズ枠の雄ヘリコイドを螺合させる雌ヘリコイドと、この雌ヘリコイドと略同心の円弧上を被写体距離情報に応じた量だけ回転駆動されるAF駆動レバーとを有するシャッタユニット;及び
上記AF駆動レバーに係合する腕部を有し、組立時のピント調節前は上記ピント調節レンズのレンズ枠に対して相対回動可能で、組立調節後に該レンズ枠に固定するリング状結合部材;
を有するAFコンパクトカメラにおいて、
上記レンズ枠に、
前方から上記リング状結合部材を嵌合させる筒状嵌合面と;
この筒状嵌合面の奥部にあって該リング状結合部材の光軸方向位置を規制する当付面と;
レンズ枠を回転させるための調節治具を係合させる周方向に離間した複数の係合部と;
を設け、
上記調節治具に、
上記レンズ枠側の係合部に係合する複数の係合部と;
上記当付面との間に上記リング状結合部材を挟む挟着端面と;
を設けたことを特徴とするAFコンパクトカメラの組立時ピント調節機構。 - 請求項1記載のピント調節機構において、レンズ枠とリング状結合部材とは、調節治具により、両者の相対回動位置を調節した後接着剤を介して固定されるAFコンパクトカメラの組立時ピント調節機構。
- 請求項1または2記載のピント調節機構において、リング状結合部材は、レンズ枠の筒状嵌合面に密着する弾性を有する不完全環体から構成されているAFコンパクトカメラの組立時ピント調節機構。
Priority Applications (2)
| Application Number | Priority Date | Filing Date | Title |
|---|---|---|---|
| JP02795197A JP3660774B2 (ja) | 1997-02-12 | 1997-02-12 | Afコンパクトカメラの組立時ピント調節機構 |
| US09/022,118 US6026244A (en) | 1997-02-12 | 1998-02-11 | Focus adjustment mechanism and method for the assembly of AF compact camera |
Applications Claiming Priority (1)
| Application Number | Priority Date | Filing Date | Title |
|---|---|---|---|
| JP02795197A JP3660774B2 (ja) | 1997-02-12 | 1997-02-12 | Afコンパクトカメラの組立時ピント調節機構 |
Publications (2)
| Publication Number | Publication Date |
|---|---|
| JPH10221582A JPH10221582A (ja) | 1998-08-21 |
| JP3660774B2 true JP3660774B2 (ja) | 2005-06-15 |
Family
ID=12235210
Family Applications (1)
| Application Number | Title | Priority Date | Filing Date |
|---|---|---|---|
| JP02795197A Expired - Fee Related JP3660774B2 (ja) | 1997-02-12 | 1997-02-12 | Afコンパクトカメラの組立時ピント調節機構 |
Country Status (2)
| Country | Link |
|---|---|
| US (1) | US6026244A (ja) |
| JP (1) | JP3660774B2 (ja) |
Families Citing this family (11)
| Publication number | Priority date | Publication date | Assignee | Title |
|---|---|---|---|---|
| JP3831579B2 (ja) | 2000-06-14 | 2006-10-11 | ペンタックス株式会社 | レンズ駆動装置 |
| KR100448257B1 (ko) * | 2002-09-30 | 2004-09-10 | 삼성전기주식회사 | 컴퓨터용 카메라의 렌즈 조립체 |
| USD505147S1 (en) * | 2003-01-16 | 2005-05-17 | Pharma Sept Medical, Products (1995) Ltd. | Lens cover |
| JP4537800B2 (ja) | 2004-08-13 | 2010-09-08 | Hoya株式会社 | ズームレンズ鏡筒のズーム調整機構 |
| JP4715256B2 (ja) * | 2005-03-18 | 2011-07-06 | 株式会社ニコン | ズームレンズ鏡筒 |
| JP2008064942A (ja) * | 2006-09-06 | 2008-03-21 | Konica Minolta Opto Inc | レンズ調整機構及び撮像装置 |
| CN101387727A (zh) * | 2007-09-14 | 2009-03-18 | 鸿富锦精密工业(深圳)有限公司 | 镜头模组 |
| JP5544470B2 (ja) * | 2008-02-01 | 2014-07-09 | カンタツ株式会社 | 撮像レンズユニット |
| USD649993S1 (en) * | 2010-09-17 | 2011-12-06 | Leapers, Inc. | Lens cover |
| USD746352S1 (en) * | 2014-12-16 | 2015-12-29 | Intellijoint Surgical Inc. | Camera shroud |
| JP1573246S (ja) | 2015-12-11 | 2017-04-03 |
Family Cites Families (7)
| Publication number | Priority date | Publication date | Assignee | Title |
|---|---|---|---|---|
| US5446593A (en) * | 1992-11-05 | 1995-08-29 | Asahi Kogaku Kogyo Kabushiki Kaisha | Lens advancing mechanism |
| JP3248968B2 (ja) * | 1993-01-13 | 2002-01-21 | 旭光学工業株式会社 | ズームレンズ鏡筒 |
| JP2597356Y2 (ja) * | 1993-12-06 | 1999-07-05 | 旭光学工業株式会社 | ズームレンズ鏡筒の直進案内装置 |
| JPH07287153A (ja) * | 1994-04-15 | 1995-10-31 | Asahi Optical Co Ltd | カメラのピント調整装置 |
| US5594589A (en) * | 1994-05-03 | 1997-01-14 | Industrial Technology Research Institute | Zoom-lens structure for a camera |
| JPH10293239A (ja) * | 1997-04-18 | 1998-11-04 | Asahi Optical Co Ltd | ズームレンズ鏡筒 |
| US5831778A (en) * | 1997-06-18 | 1998-11-03 | Behavior Tech Computer Corp. | Device for lenses of various lengths |
-
1997
- 1997-02-12 JP JP02795197A patent/JP3660774B2/ja not_active Expired - Fee Related
-
1998
- 1998-02-11 US US09/022,118 patent/US6026244A/en not_active Expired - Fee Related
Also Published As
| Publication number | Publication date |
|---|---|
| JPH10221582A (ja) | 1998-08-21 |
| US6026244A (en) | 2000-02-15 |
Similar Documents
| Publication | Publication Date | Title |
|---|---|---|
| JP3660774B2 (ja) | Afコンパクトカメラの組立時ピント調節機構 | |
| JP3450778B2 (ja) | 遮光枠の固定装置 | |
| JP3450670B2 (ja) | フローティングレンズ鏡筒、レンズ鏡筒及び共用レンズ鏡筒システム | |
| JP3450780B2 (ja) | 環状部材のバヨネット固定装置及びズームレンズ鏡筒 | |
| WO2017115465A1 (ja) | レンズ鏡筒およびこれを備えたカメラ | |
| JP4697587B2 (ja) | レンズ鏡胴 | |
| JP2011095617A (ja) | レンズ装置 | |
| JPH07120647A (ja) | レンズ位置調整機構 | |
| JP4074800B2 (ja) | レンズ鏡胴、カメラ、画像投影装置、レンズ保持枠、カメラ、及び光学機器 | |
| JPH10160994A (ja) | レンズ鏡筒 | |
| JP4056758B2 (ja) | 嵌合二部材間のクリックストップ機構 | |
| JP4137449B2 (ja) | ズームレンズ鏡筒及びカメラ装置 | |
| JP4588862B2 (ja) | カメラレンズの焦点調節モード切換装置 | |
| JP3899512B2 (ja) | レンズ装置 | |
| JP4841213B2 (ja) | 撮像装置 | |
| JPH08211277A (ja) | ズームレンズ鏡筒、及びズームレンズ鏡筒のフランジバックの調整方法 | |
| JP3125185B2 (ja) | Cctvカメラ用レンズのマウントシフト装置 | |
| JP4256689B2 (ja) | レンズ鏡筒の切替移動構造 | |
| JP4420501B2 (ja) | カメラレンズの焦点調節モード切換装置 | |
| JPH0410584Y2 (ja) | ||
| JP4180348B2 (ja) | レンズ駆動装置 | |
| JP2001091810A (ja) | レンズ鏡筒 | |
| JPH0449610Y2 (ja) | ||
| JPH07120651A (ja) | レンズ位置調整機構 | |
| JP2001208949A (ja) | 付勢部材、環状部材及びレンズ鏡筒 |
Legal Events
| Date | Code | Title | Description |
|---|---|---|---|
| A977 | Report on retrieval |
Free format text: JAPANESE INTERMEDIATE CODE: A971007 Effective date: 20041122 |
|
| A131 | Notification of reasons for refusal |
Free format text: JAPANESE INTERMEDIATE CODE: A131 Effective date: 20041130 |
|
| A521 | Written amendment |
Free format text: JAPANESE INTERMEDIATE CODE: A523 Effective date: 20050125 |
|
| TRDD | Decision of grant or rejection written | ||
| A01 | Written decision to grant a patent or to grant a registration (utility model) |
Free format text: JAPANESE INTERMEDIATE CODE: A01 Effective date: 20050308 |
|
| A61 | First payment of annual fees (during grant procedure) |
Free format text: JAPANESE INTERMEDIATE CODE: A61 Effective date: 20050318 |
|
| R150 | Certificate of patent or registration of utility model |
Free format text: JAPANESE INTERMEDIATE CODE: R150 |
|
| LAPS | Cancellation because of no payment of annual fees |