JP3645809B2 - 光ディスク記憶装置の符号化/復号化システム - Google Patents
光ディスク記憶装置の符号化/復号化システム Download PDFInfo
- Publication number
- JP3645809B2 JP3645809B2 JP2000373481A JP2000373481A JP3645809B2 JP 3645809 B2 JP3645809 B2 JP 3645809B2 JP 2000373481 A JP2000373481 A JP 2000373481A JP 2000373481 A JP2000373481 A JP 2000373481A JP 3645809 B2 JP3645809 B2 JP 3645809B2
- Authority
- JP
- Japan
- Prior art keywords
- address mapper
- decoder
- encoder
- polynomial
- encoding
- Prior art date
- Legal status (The legal status is an assumption and is not a legal conclusion. Google has not performed a legal analysis and makes no representation as to the accuracy of the status listed.)
- Expired - Fee Related
Links
- 230000003287 optical effect Effects 0.000 title description 17
- 208000011580 syndromic disease Diseases 0.000 claims description 72
- 238000000034 method Methods 0.000 claims description 44
- 238000011156 evaluation Methods 0.000 claims description 25
- 208000012747 Cardiospondylocarpofacial syndrome Diseases 0.000 claims description 13
- 238000012545 processing Methods 0.000 claims description 11
- 238000012937 correction Methods 0.000 description 11
- 238000004364 calculation method Methods 0.000 description 6
- 230000008030 elimination Effects 0.000 description 5
- 238000003379 elimination reaction Methods 0.000 description 5
- 230000003111 delayed effect Effects 0.000 description 4
- 238000010586 diagram Methods 0.000 description 4
- 230000009977 dual effect Effects 0.000 description 3
- 238000013459 approach Methods 0.000 description 2
- 238000013461 design Methods 0.000 description 2
- 238000005516 engineering process Methods 0.000 description 2
- 230000003068 static effect Effects 0.000 description 2
- 238000006243 chemical reaction Methods 0.000 description 1
- 239000003086 colorant Substances 0.000 description 1
- 238000004891 communication Methods 0.000 description 1
- 125000004122 cyclic group Chemical group 0.000 description 1
- 230000007423 decrease Effects 0.000 description 1
- 230000001934 delay Effects 0.000 description 1
- 230000000694 effects Effects 0.000 description 1
- 238000004193 electrokinetic chromatography Methods 0.000 description 1
Images
Classifications
-
- G—PHYSICS
- G11—INFORMATION STORAGE
- G11B—INFORMATION STORAGE BASED ON RELATIVE MOVEMENT BETWEEN RECORD CARRIER AND TRANSDUCER
- G11B20/00—Signal processing not specific to the method of recording or reproducing; Circuits therefor
- G11B20/10—Digital recording or reproducing
- G11B20/10009—Improvement or modification of read or write signals
-
- G—PHYSICS
- G11—INFORMATION STORAGE
- G11B—INFORMATION STORAGE BASED ON RELATIVE MOVEMENT BETWEEN RECORD CARRIER AND TRANSDUCER
- G11B20/00—Signal processing not specific to the method of recording or reproducing; Circuits therefor
- G11B20/10—Digital recording or reproducing
- G11B20/18—Error detection or correction; Testing, e.g. of drop-outs
-
- H—ELECTRICITY
- H04—ELECTRIC COMMUNICATION TECHNIQUE
- H04N—PICTORIAL COMMUNICATION, e.g. TELEVISION
- H04N9/00—Details of colour television systems
- H04N9/79—Processing of colour television signals in connection with recording
- H04N9/7921—Processing of colour television signals in connection with recording for more than one processing mode
-
- H—ELECTRICITY
- H04—ELECTRIC COMMUNICATION TECHNIQUE
- H04N—PICTORIAL COMMUNICATION, e.g. TELEVISION
- H04N5/00—Details of television systems
- H04N5/76—Television signal recording
- H04N5/84—Television signal recording using optical recording
- H04N5/85—Television signal recording using optical recording on discs or drums
-
- H—ELECTRICITY
- H04—ELECTRIC COMMUNICATION TECHNIQUE
- H04N—PICTORIAL COMMUNICATION, e.g. TELEVISION
- H04N9/00—Details of colour television systems
- H04N9/79—Processing of colour television signals in connection with recording
- H04N9/80—Transformation of the television signal for recording, e.g. modulation, frequency changing; Inverse transformation for playback
- H04N9/804—Transformation of the television signal for recording, e.g. modulation, frequency changing; Inverse transformation for playback involving pulse code modulation of the colour picture signal components
- H04N9/8042—Transformation of the television signal for recording, e.g. modulation, frequency changing; Inverse transformation for playback involving pulse code modulation of the colour picture signal components involving data reduction
Landscapes
- Engineering & Computer Science (AREA)
- Signal Processing (AREA)
- Multimedia (AREA)
- Error Detection And Correction (AREA)
- Signal Processing For Digital Recording And Reproducing (AREA)
Description
【発明の属する技術分野】
本発明は、光ディスク記憶装置の符号化/復号化システム、特に、CD/DVDデュアルシステムの光ディスク記憶装置の符号化/復号化システムに関するものである。
【0002】
【従来の技術】
CD/DVDデュアルシステムの光ディスク記憶装置は、CD又はDVDいずれかのデータの符号化/復号化が可能である。CD/DVDデュアルシステムの光記憶装置の符号化/復号化システムのハードウエアをより効果的に設計することが可能であれば、ハードウエア設計がよりコンパクトになり、それによってハードウエアに必要な空間も減少する。より効果的にハードウエアを設計するために、光ディスク記憶装置の符号化/復号化について、以下の理論がまず討論される。
【0003】
ユーザデータを確実且つ効率的に符号化/復号化するためには、ディスク記憶システムでECC(error correcting code)を用いる必要がある。ECCには多様なものがあるが、ディスク記憶システムにおいて最も一般的に用いられるのはリードソロモン(RS)コードである。
【0004】
入力データストリームは、RSコードにより一連のシンボルとして処理され、全ての記号は有限体GF(2W)の要素である(Wはシンボル1個当たりのビット数を示す)。RSコードは(N,K)ブロックコードである。そのうち、K個のメッセージシンボルの入力データブロックを符号化することにより、N個のシンボル、又は長さがNであるコードワードの出力データブロックを生じる。さらに、N個のシンボルからなるコードワードは2T=N−K個のシンボルからなるパリティ・コードで構成されている。
【0005】
K個のメッセージシンボルの入力データブロックの各シンボルは、多項式I(x)の係数と関連している。同様に、2T個のパリティ・シンボル(parity symbol)の各シンボルは多項式R(x)の係数と、1個のコードワードのN個のシンボルは多項式C(x)の係数とそれぞれ関連している。多項式R(x)は以下の式で表される。
【0006】
R(x)=(I(x)・xm)MOD(G(x))
そのうち、G(x)は次数mの生成多項式(generator polynomial)であり、m=2Tである。G(x)は以下の式で表される。
【0007】
G(x)=Пk=0〜(2T−1)(x+αk)
そして、コードワード多項式は以下の式で得られる。
【0008】
C(x)=(I(x)・Xm)+R(x)
以上の演算はRSデコーダによって行われ、その結果、コードワード多項式C(x)に対応するコードワードを得る。一方、RSデコーダは、ノイズのある通信チャネルを通じて送信されたコードワードを受信する。受信されたコードワードはランダムな誤りシンボルを有している。受信したコードワードにより生じる誤りシンボルを訂正するため、RSデコーダは、(i)シンドローム値Siを計算する工程と、(ii)シンドローム値を用いてエラー位置多項式(error locator polynomial)の係数を計算する工程と、(iii)エラー位置多項式の根を計算する工程と、(iv)エラー位置多項式の根とシンドローム値とを用いてエラー値を計算する工程と、からなる復号化を行う。
【0009】
図1は、CD/DVD記憶装置における符号化/復号化システムの従来の構造を示している。データをディスク記憶媒体に書き込む間、まず、ホストから受信した入力データがバス101を通じてデータバッファ102に記憶される。それから、CRC(cyclic redundancy check)ジェネレータ及び訂正バリデータ104がデータバッファ102に記憶されたデータを読み込んでCRCシンボルを生成する。CRCシンボルを含む入力データは再度データバッファ102に記憶される。CRCシンボルを含む入力データはデータバッファ102から読み込まれ、ランダマイザ/デランダマイザ(randomizer/derandomizer)106によりランダム化される。それから、ランダム化されたデータはデータバッファ102へ記憶される。異なった光記憶媒体によって、書き込み操作も異なった方法で行われる。
【0010】
光記憶媒体108がCDである場合、データバッファ102に記憶されたデータはCD P/Qエンコーダ/デコーダ110、C2エンコーダ/デコーダ112、インターリーバ/デインターリーバ114、及びC1エンコーダ/デコーダ116により処理される。そして、処理されたデータはCDに書き込まれる。さらに、符号化の間、SRAM(static random access memory)118はバス117を通じて処理データを記憶するのに用いられる。
【0011】
光記憶媒体108がDVDである場合、データバッファ102に記憶されたデータはDVD内部/外部 エンコーダ/デコーダ120により処理される。処理後、符号化されたデータはDVDに書き込まれる。また、あるDVDには、書き込み処理の完了後、記録情報を任意に記憶するBCA(burst cutting area)が含まれている。光記憶媒体108がBCAを有するDVDである場合、BCA ECCエンコーダ/デコーダ122は記録情報の処理に用いることができる。それから、符号化した記録情報に付加された符号化データはDVDに書き込まれる。
【0012】
データをディスク記憶媒体に書き込む過程において、CD P/Qエンコーダ/デコーダ110、C2エンコーダ/デコーダ112、インターリーバ/デインターリーバ114、C1エンコーダ/デコーダ116、DVD内部/外部 エンコーダ/デコーダ120、及びBCA ECCエンコーダ/デコーダ122は、それぞれ異なった形で生成多項式を用いる。さらに、それぞれの多項式に伴って、符号化の計算に含まれるシンボルの長さも異なっている。
【0013】
CD/DVDに記憶されているデータの読み込み中に、書き込みが反転して行われるが、説明の便宜上、ここでは述べない。
【0014】
図1で示されるCD/DVD記憶装置のエラー訂正システムの従来の構造には以下の欠点があった。
【0015】
(1)CDデータフォーマット中のデータを処理するのに、エラー訂正システムを構成する場合、DVD内部/外部 エンコーダ/デコーダ120及びBCA ECCエンコーダ/デコーダがアイドル状態となる。一方、DVDデータフォーマット中のデータを処理するのにシステムを構成する場合、CD P/Qエンコーダ/デコーダ110、C2エンコーダ/デコーダ112、インターリーバ/デインターリーバ114、及びC1エンコーダ/デコーダ116がアイドル状態となる。したがって、CD/DVD中のデータを処理するためのシステム構成がどんなものであろうとも、一部の回路がアイドル状態となるため、システム構成を効率的に使用することができない。
【0016】
(2)CDデータフォーマット中のデータを処理するのに、エラー訂正システムを構成する場合、インターリーバ/デインターリーバ114は、インターリーブ又はデインターリーブするために、データバッファ102へのアクセス時間をさらに必要とする。このため、特にブロックの大きい音声/画像データが記憶システムから読み取られるようなマルチメディアへの応用において、記憶システムのレイテンシ(latency)が増加することになる。したがって、システムの使用は音声/画像の再生又は記録の品質に影響する。
【0017】
【発明が解決しようとする課題】
以上により、本発明は、共用(shareble)リードソロモンエンコーダ/デコーダを用いる光記憶装置の符号化/復号化システムを提供することを目的とする。本発明によれば、符号化/復号化システムのハードウエアのコストを低くすることができ、ハードウエアの構成部品を効率的に使用することができる。また、本発明は、インターリーブ/デインターリーブを、C1符合化/復号化又はC2符号化/復号化と一体化することにより、レイテンシを減少させる。
【0018】
【課題を解決するための手段】
本発明の目的によると、データバッファに記憶されているCD/DVDデータの符号化/復号化を行う光ディスク記憶装置の符号化/復号化システムを提供する。符号化/復号化システムは、C1アドレスマッパー、C2アドレスマッパー、CD P/Qアドレスマッパー、DVD内部/外部アドレスマッパー、及び共用RSエンコーダ/デコーダからなる。
【0019】
C1アドレスマッパーは、C1アドレスマッパーに記憶されているアクセス順序によってデータバッファにアクセスするのに用いられる。C2アドレスマッパーは、C2アドレスマッパーに記憶されているアクセス順序によってデータバッファにアクセスするのに用いられる。CD P/Qアドレスマッパーは、CD P/Qアドレスマッパーに記憶されているアクセス順序によってデータバッファにアクセスするのに用いられる。DVD内部/外部アドレスマッパーは、DVD内部/外部アドレスマッパーに記憶されているるアクセス順序によってデータバッファにアクセスするのに用いられる。共用RSエンコーダ/デコーダは、C1アドレスマッパー、C2アドレスマッパー、CD P/Qアドレスマッパー、又はDVD内部/外部アドレスマッパーのいずれかと選択的に接続することが可能である。
【0020】
符号化/復号化システムが符合化を行っているとき、共用RSエンコーダ/デコーダはRSコードの生成多項式を用いて2T個のシンボルからなるパリティ・コードを含むN個のシンボルからなる第1コードワードを生成する。N及び2Tの値は選ばれたアドレスマッパーと関連している。
【0021】
符号化/復号化システムが復号化を行っているとき、共用RSエンコーダ/デコーダは、複数のシンドローム値Sk(k=0〜15、kは正の整数である)、エラー消去位置多項式(error-erasure locator polynomial)、エラー消去評価多項式(error-erasure evaluator polynomial)を生成し、エラー値を得てエラーの訂正を完了する。さらに、k≧2Tである場合、シンドローム値Skは0に設定される。
【0022】
データを符号化するときの生成多項式G(x)は、以下の式で表される。
【0023】
G(x)=Пk=0〜(2T−1)(x+αk)
データを復号化するときのシンドローム値は、以下の式より得られる。
【0024】
Sk=Σi =0〜N−1(riαi k),k=0〜2T−1
そのうち、ri(i=0〜N−1)はコードワードのN個のシンボルを表している。
【0025】
符号化、復号化の両方を行う場合、αは有限体GF(28)の要素であり、以下の式で表される原始多項式P(x)の根である。
【0026】
P(x)=x8+x4+x3+x2+1
【発明の実施の形態】
上述した本発明の目的、特徴、及び長所をより一層明瞭にするため、以下に本発明の好ましい実施の形態を挙げ、図を参照にしながらさらに詳しく説明する。
【0027】
図2A及び2BはCIRC(cross interleave Reed-Solomon code)の符号化及び復号化を示している。一般にCIRCはCDに用いられ、2個のRSコード(C1コード及びC2コード)を含んでいる。図2Aでは、CIRCの符号化が示されている。まず、24個のメッセージシンボルからなるデータブロックが遅延ユニット202に入力される。遅延ユニット202はデータブロックの一部分にシンボル2個の遅延を導入する。データブロックに遅延を導入した後、C2エンコーダ204は、この遅延データブロックを処理してC2を符号化し、4個のシンボルからなるパリティ・コードを生成し、24個のメッセージシンボルと4個のシンボルからなるPパリティ・コードとからなる28個のシンボルのコードワードを出力する。
【0028】
続いて、インターリーバ206は28個のシンボルを受信してインターリーブする(28個のシンボルはそれぞれ異なる遅延時間で遅延する)。インターリーブした28個のシンボルはC1エンコーダ208に入力される。C1エンコーダ208は4個のシンボルからなるQパリティ・コードを生成して32個のシンボルからなるデータブロックを得る。最後に、遅延ユニット210はこれら32個のシンボルを受信し、このシンボルの一部にシンボル1個の遅延を導入して、32個のシンボルからなるコードワードを得る。
【0029】
図2Bは、CIRCの復号化を示すブロック図である。先ず、遅延ユニット212は32個のシンボルからなるコードワードを受信し、シンボル1個の遅延をこのコードワードに導入する。次に、遅延したコードワードをC1デコーダ214に入力する。C1デコーダ214によりC1を復号化する間、遅延した32個のシンボルのコードワードのうち、4個のシンボルからなるQパリティ・コードが、32個のシンボルのコードワードのエラー訂正に用いられる。4個のシンボルのQパリティ・コードは28個のシンボルのうち2個の誤りシンボルを訂正することが可能である。誤りシンボルが2個以上あるためこれらを完全に訂正できない場合、C1デコーダ214は、28個のシンボルのコードワードがC1の復号化の後にも誤りシンボルを含むことを示す消去フラグEF1を出力する。
【0030】
次に、C1が復号化した28個のシンボルからなるコードワードは、デインターリーバ216に出力される。そのうち、デインターリーバ216は異なる数のシンボルの遅延をコードワードに導入する。それから、デインターリーブされたコードワードはC2デコーダ218に入力される。C2デコーダは、4個のシンボルからなるPパリティ・コードによって、受信したコードワードを検査するとともに、C2が復号化するコードワードの24個のシンボルにおいて生じる誤りシンボルを訂正する。4個のシンボルからなるPパリティ・コードは28個のシンボルのうち生じる誤りシンボルを4個まで訂正することができる。誤りシンボルが4個以上あるためこれらを完全に訂正できない場合、C2デコーダ218は、24個のシンボルのコードワードがC2の復号化の後にも誤りシンボルを含むことを示す消去フラグEF2を出力する。そして、C2が復号化した24個のシンボルのコードワードは、遅延ユニット220に入力される。遅延ユニット220はシンボル2個の遅延をコードワードのシンボルの一部に導入して24個のシンボルからなるコードワードを得る。復号化の間、消去フラグEF1は遅延ユニット222により処理された後、消去フラグEF2とともに論理演算ユニット224に入力され、28個のシンボルからなるコードワードが復号化後も誤りシンボルを含むことを示すアンレライアブルデータフラグ
(unreliable data flag:UDF)を得る。
【0031】
C1の復号化の間、C1デコーダ214は、4個のシンボルからなるパリティ・コードを含む32個のシンボルのコードワードを受信する。一方、C1の符号化の間、C1エンコーダ208は、28個のシンボルのコードワードを受信し、4個のシンボルからなるパリティ・コードを生成する。このため、C1エンコーダ/デコーダにより処理されたコードワードの長さは、32個のシンボルと定義される(そのうち、各シンボルは8ビットである)。したがって、C1エンコーダ/デコーダで用いられる生成多項式は以下の式で表される。
【0032】
GC1(x)=Πk=0〜3(x+αk)
C2の復号化の間、C2デコーダ218は、4個のシンボルからなるパリティ・コードを含む28個のシンボルのコードワードを受信する。一方、C2の符号化の間、C2エンコーダ204は、24個のシンボルのコードワードを受信し、4個のシンボルからなるパリティ・コードを生成する。このため、C2エンコーダ/デコーダにより処理されたコードワードの長さは、28個のシンボルと定義される(そのうち、各シンボルは8ビットである)。したがって、C2エンコーダ/デコーダで用いられる生成多項式は以下の式で表される。
【0033】
GC2(x)=Πk=0〜3(x+αk)
一方、従来のCDのP/Qエンコーダ/デコーダ110のうちPコードエンコーダ/デコーダによって処理されるコードワードの長さは、26個のシンボルである。したがって、生成多項式は以下の式で表される。
【0034】
GP(x)=Πk=0〜1(x+αk)
さらに、従来のCDのP/Qエンコーダ/デコーダ110のうちQコードエンコーダ/デコーダによって処理されるコードワードの長さは、45個のシンボルである。したがって、生成多項式は以下の式で表される。
【0035】
GQ(x)=Πk=0〜1(x+αk)
図3は、DVDのECCブロックデータフォーマットを示している。DVDデータフォーマットのうち、2次元生成コード(two-dimensional product code)はエラー許容度を高めるのに用いられる。図3から分かるように、ECCブロックは、B0,0〜B207,171で示されるデータ要素のような192行×172列のデータ要素を含んでいる。次に、図3で示されるように、B192,0〜B207,171で示されるデータ要素のような192行×172列のデータにより、16行の外部コードパリティ(outer-code parity, PO)が行方向に生成される。それから、B0,172〜B207,181で示されるような16行のPOを含む192行×172列のデータ要素が10列の内部コードパリティ(inner-code parity,PI)の生成に用いられる。
【0036】
j行目のPOの要素、すなわちBij(i=192〜207)より、以下の多項式R1j(x)が得られる。
【0037】
R1j(x)=Σi =192〜207(Bi ,j・x207− i)
そのうち、j列目のPOの要素、すなわちBi j( i =192〜207)が、以下の式より得られる。
【0038】
R1j(x)=(I1j(x)・x16)MOD(GPO(x))
I1j(x)=Σi =0〜191(Bi ,j・x191− i)
GPO(x)=Πk=0〜15(x+αk)
同様に、i行目のPIの要素、すなわちBi j(j=172〜181)が、以下の多項式R2i(x)が得られる。
【0039】
R2i(x)=Σj=172〜181(Bi ,j・x181−j)
そのうち、i行目のPIの要素、すなわちBij(j=172〜181)が、以下の式より得られる。
【0040】
R2i(x)=(I2i(x)・x16)MOD(GP I(x))
I2i(x)=Σj=0〜171(Bi ,j・x191−j)
GP I(x)=Πk=0〜9(x+αk)
DVDへのデータの書き込みを行った後、記録情報を表すために符号化/復号化システムがBCAコードを用いた場合、この符号化/復号化システムはBCAECCエンコーダ/デコーダをさらに含む。BCA ECCの符号化/復号化の間、BCA ECCエンコーダ/デコーダは16個のシンボルからなるコードワードを処理し、その工程において以下の式で表される生成多項式を用いる。
【0041】
GBCA(x)=Πk=0〜3(x+αk)
そのうち、αは有限体GF(28)の要素であり、以下の式で表される原始多項式の原始根である。
【0042】
P(x)=x8+x4+x3+x2+1
以下、上述した各符号化/復号化における生成多項式についての要約を述べる。
【0043】
(1)C1エンコーダ/デコーダは32個のシンボルからなるコードワードを処理し、その工程において以下の式で表される生成多項式GC1(x)を用いる。
【0044】
GC1(x)=Πk=0〜3(x+αk)
(2)C2エンコーダ/デコーダは28個のシンボルからなるコードワードを処理し、その工程において以下の式で表される生成多項式GC2(x)を用いる。
【0045】
GC2(x)=Πk=0〜3(x+αk)
(3)CD Pエンコーダ/デコーダは26個のシンボルからなるコードワードを処理し、その工程において以下の式で表される生成多項式GP(x)を用いる。
【0046】
GP(x)=Πk=0〜1(x+αk)
(4)CD Qエンコーダ/デコーダは45個のシンボルからなるコードワードを処理し、その工程において以下の式で表される生成多項式GQ(x)を用いる。
【0047】
GQ(x)=Πk=0〜1(x+αk)
(5)DVD外部エンコーダ/デコーダは208個のシンボルからなるコードワードを処理し、その工程において以下の式で表される生成多項式GPO(x)を用いる。
【0048】
GPO(x)=Πk=0〜15(x+αk)
(6)DVD内部エンコーダ/デコーダは182個のシンボルからなるコードワードを処理し、その工程において以下の式で表される生成多項式GP I(x)を用いる。
【0049】
GP I(x)=Πk=0〜9(x+αk)
(7)BCA ECCエンコーダ/デコーダは16個のシンボルこらなるコードワードを処理し、その工程において以下の式で表される生成多項式GBCA(x)を用いる。
【0050】
GBCA(x)=Πk=0〜3(x+αk)
したがって、C1エンコーダ/デコーダ、C2エンコーダ/デコーダ、CD Pエンコーダ/デコーダ、CD Qエンコーダ/デコーダ、DVD外部エンコーダ/デコーダ、DVD内部エンコーダ/デコーダ、及びBCA ECCエンコーダ/デコーダはそれぞれ異なる長さのコードワードを処理し、生成多項式はそれぞれ以下に示す生成多項式の一般式で表される。
【0051】
G(x)=Πk=0〜(2T−1)(x+αk) (*)
上記の一般式がC1エンコーダ/デコーダ、C2エンコーダ/デコーダ、又はBCA ECCエンコーダ/デコーダで用いられる場合、T=2であり、CD P/Qコードエンコーダ/デコーダに用いられる場合、T=1であり、DVD外部エンコーダ/デコーダ又はDVD内部エンコーダ/デコーダに用いられる場合、T=8又は5である。
【0052】
また、αは有限体GF(28)の要素であり、以下の式で表される原始多項式の原始根である。
【0053】
P(x)=x8+x4+x3+x2+1
CDデータフォーマット中のデータを処理するために符号化/復号化システムを構成する場合、C1エンコーダ/デコーダ、C2エンコーダ/デコーダ、又はCD P/Qエンコーダ/デコーダに用いられるそれぞれの生成多項式におけるαは、有限体GF(28)の要素である。DVDデータフォーマット中のデータを処理するために符号化/復号化システムを構成する場合、DVD内部/外部 エンコーダ/デコーダ、及びBCA ECCエンコーダ/デコーダに用いられるそれぞれの生成多項式におけるαもまた、有限体GF(28)の要素である。したがって、符号化/復号化システムがCDモードからDVDモードへ、あるいはDVDモードからCDモードへ切換えられるとき、RSコードのいかなるフィールドの転換も必要としない。
【0054】
したがって、上述したRSエンコーダ/デコーダは1つのRSエンコーダ/デコーダに一体化することができる。異なる符号化又は復号化処理を行う場合、コードワードの長さ及びTの値は一体化したRSエンコーダ/デコーダにおいて対応する値に変わる。さらに、異なるTの値は、各復号化処理において計算されるシンドローム値の数に関連している。
【0055】
図1で示されるCD/DVDの符号化/復号化システムにおいて、コードワードの長さ及びデータバッファ102へのアクセス順序は各RSエンコーダ/デコーダによって異なる。一つのRSエンコーダ/デコーダにつき、データバッファ102へのアクセス順序はアドレスマッパーに記憶されうる。例えば、アクセス順序を指定するマッパーテーブルはアドレスマッパーで用いられる。一方、図1の各RSエンコーダ/デコーダで用いられる生成多項式は、生成多項式の一般式の一例であるため、符号化/復号化工程は、異なる符号化/復号化工程に対応して変わる2Tの値を備えた共用RSエンコーダ/デコーダにより行われる。したがって、図1で示される特定のRSエンコーダ/デコーダは、アドレスマッパー及び共用RSエンコーダ/デコーダの組合せに代替することが可能である。
【0056】
図4は、本発明の好ましい具体例による光ディスク記憶装置内のエンコーダ/デコーダを示している。図4において、C1アドレスマッパー402及び共用RSエンコーダ/デコーダ404、C2アドレスマッパー106及び共用RSエンコーダ/デコーダ404、CD P/Qアドレスマッパー408及び共用RSエンコーダ/デコーダ404、BCA ECCアドレスマッパー410及び共用RSエンコーダ/デコーダ404、DVD内部/外部アドレスマッパー412及び共用RSエンコーダ/デコーダ404は、図1におけるC1エンコーダ/デコーダ116、C2エンコーダ/デコーダ112、CD P/Qエンコーダ/デコーダ110、BCA ECCエンコーダ/デコーダ122、DVD内部/外部エンコーダ/デコーダ120にそれぞれ代替している。
【0057】
また、上述したアドレスマッパーは、アドレスマッパーに記憶されたアクセス順序によって、対応するデータバッファにアクセスするのに用いられる。さらに詳しく言えば、C1アドレスマッパー402は、C1アドレスマッパー402に記憶されたアクセス順序によって、データバッファ414にアクセスする。C2アドレスマッパー406は、C2アドレスパマッパー406に記憶されたアクセス順序によって、データバッファ414にアクセスする。CD P/Qアドレスマッパー408は、CD P/Qアドレスマッパー408に記憶されたアクセス順序によって、データバッファ414にアクセスする。BCA ECCアドレスマッパー410はBCA ECCアドレスマッパー410に記憶されたアクセス順序によって、データバッファ414にアクセスする。最後に、DCD内部/外部アドレスマッパー412はDCD内部/外部アドレスマッパー412に記憶されたアクセス順序によって、データバッファ414にアクセスする。
【0058】
さらに、共用RSエンコーダ/デコーダ404は、C1アドレスマッパー402、C2アドレスマッパー406、CD P/Qアドレスマッパー408、BCA ECCアドレスマッパー410、又はDVD内部/外部アドレスマッパー412のうちいずれかと選択的に接続することができる。
【0059】
図4の符号化/復号化システムがデータの符合化を行う場合、共用RSエンコーダ/デコーダ404はRSコードの生成多項式を用いて2T個のシンボルからなるパリティ・コードを生成し、N個のシンボルからなるコードワードを出力する。そのうち、2T及びNの値は、共用RSエンコーダ/デコーダ404に接続する選ばれたアドレスマッパーに関連している。図4の符号化/復号化システムがデータの復号化を行う場合、誤りデータを訂正するため、共用RSエンコーダ/デコーダ404は複数のシンドローム値Sk(k=0〜15、kは正の整数である)、エラー消去位置多項式、エラー消去評価多項式を生成してエラー値を得る。さらに、kが2T以下でない場合、Skは0の値を取る。
【0060】
さらに、インターリーバ/デインターリーバ114の作動はメモリに対する特定のアクセス順序とみなされるため、インターリーブ/デインターリーブの動作もアドレスマッパーにより行われる。図4において、インターリーブ/デインターリーブを行うアドレスマッパーは、C1アドレスマッパー402又はC2アドレスマッパー406に組み合わせることができる。したがって、C1アドレスマッパー402又はC2アドレスマッパー406がデータバッファ414にアクセスする間、インターリーブ/デインターリーブの動作が行われる。このため、データバッファ414へのアクセス時間は減少し、CIRC符号化/復号化工程のレイテンシも減少する。
【0061】
図4において、符号化/復号化システムは、図1で示される従来のシステム同様、バス101、117、CRCジェネレータ、訂正バリデータ104、ランダマイザ/デランダマイザ106、光記憶媒体108、及びSRAM(static random access memory)118を用いる。したがって、説明の便宜上、ここではこれらに対応する動作については述べない。
【0062】
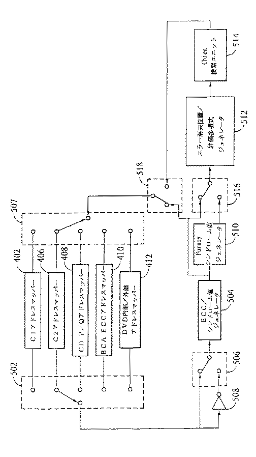
図5は、図4の共用RSエンコーダ/デコーダの構造を示している。図5では、スイッチ502を用いることにより、C1アドレスマッパー402、C2アドレスマッパー406、CD P/Qアドレスマッパー408、BCA ECCアドレスマッパー410、又はDVD内部/外部アドレスマッパー412のうちいずれかの出力が、共用RSエンコーダ/デコーダ404の入力として選ばれる。共用RSエンコーダ/デコーダ404がデータを符号化する場合、受信データはECC/シンドローム値ジェネレータ504に転送される。ECC/シンドローム値ジェネレータ504は生成多項式を用いてパリティ・コードを生成し、パリティ・コードを含むコードワードを出力する。
【0063】
共用RSエンコーダ/デコーダ404は、ECC/シンドローム値ジェネレータ504へデータを直接送ること、あるいはECC/シンドローム値ジェネレータ504へデータを送る前にデータを反転することを選ぶ、スイッチ506及びインバータ508をさらに含む。
【0064】
図4の符号化/復号化システムがデータの符号化を行う場合、スイッチ518及び507によって、ECC/シンドローム値ジェネレータ504によって生成されたコードワードは、C1アドレスマッパー402、C2アドレスマッパー406、CD P/Qアドレスマッパー408、BCA ECCアドレスマッパー410、又はDVD内部/外部アドレスマッパー412のうちいずれかに送られる。スイッチ502及び507は同一のアドレスマッパーを選ぶのに用いられる。また、生成多項式、及びECC/シンドローム値ジェネレータ504で処理されたコードワードの長さは、選ばれたアドレスマッパーに対応している。
【0065】
言い換えれば、ECC/シンドローム値ジェネレータ504は以下の式で表わされる生成多項式を用いる。
【0066】
G(x)=Πk=0〜(2T−1)(x+αk) (*)
ECC/シンドローム値ジェネレータ504がC1アドレスマッパー402、C2アドレスマッパー406、又はBCA ECCアドレスマッパーより送られたデータを処理するとき、Tは2に設定される。ECC/シンドローム値ジェネレータ504がCD P/Qアドレスマッパー408より送られたデータを処理するとき、Tは1に設定される。ECC/シンドローム値ジェネレータ504がDVD内部/外部アドレスマッパー412より送られたデータを処理するとき、Tは5(DVD内部符号化/復号化の場合)又は8(DVD外部符号化/復号化の場合)にそれぞれ設定される。
【0067】
データを復号化する場合、共用RSエンコーダ/デコーダには受信データの処理について2つのアプローチがある。1つは、まず、受信データをECC/シンドローム値ジェネレータ504に送り、それからForneyシンドローム値ジェネレータ510、エラー消去位置/評価多項式ジェネレータ512、及びChien検索ユニット514を用いて、得た結果を出力することである。もう1つは、受信データをECC/シンドローム値ジェネレータ504へ送り、それからエラー消去位置/評価多項式ジェネレータ512及びChien検索ユニット514を用いて所望のデータを得ることである。受信データの処理において、共用RSエンコーダ/デコーダはスイッチ516を用いて2つのアプローチのうち一方を選ぶ。
【0068】
共用RSエンコーダ/デコーダが行う復号化は以下の工程を含む。そのうち、各コードワードの長さは、2T個のシンボルからなるパリティ・コードを含むN個のシンボルであり、N及び2Tの値は選ばれたアドレスマッパーに関連している。
【0069】
(a)1個のコードワードを受信した後、生成多項式の2T個の根に対応する2T個のシンドローム値S0、S1、…、Si、…、及びS2T−1を計算する。2T個のシンドローム値は以下の式で表される。
【0070】
Sk=Σi=0〜N−1(rixi)|x=αk=Σi=0〜N−1(riαik)
(k=0〜2T−1)
そのうち、ri(i=0〜N−1)はコードワードのN個のシンボルを表している。シンドローム値多項式S(x)は以下の式で表される。
【0071】
S(x)=Σi=0〜2T−1(Sixi)
(b)e個の既知の消去位置によって以下の式で表される消去位置多項式Λ(x)を計算し、
Λ(x)=Πk=0〜e(x+αjk)
以下の式で表されるForney's変形(modified)シンドローム値多項式T(x)を計算する。
【0072】
T(x)=S(x)Λ(x)mod(x2T) (**)
多項式T(x)を用いることにより、工程(c)を行うのに用いる初期値を得る。
【0073】
(c)ユークリッドアルゴリズムにより、エラー消去位置多項式σ(x)及びエラー消去評価多項式ω(x)を得る。
【0074】
deg(Λ(x))>deg(T(x))であるとき、誤りシンボルがないためユークリッドアルゴリズムを行う必要がないことを示している。
【0075】
ユークリッドアルゴリズムを始めるとき、4つの多項式、つまりμi(x)、λi(x)、Ri(x)、及びQi(x)が計算に導入され、対応する初期多項式は以下のように定義される。
【0076】
μ0(χ)=Λ(χ) R0(χ)=χ2T
λ0(χ)=0 Q(χ)=T(χ)
次に、以下の回帰多項式(recursive equation)によって多項式μi(x)、λi
(x)、Ri(x)、及びQi(x)を計算する。まず、i=1であり、回帰多項式を1回計算するごとに、iの値は1増加する。
【0077】
【数1】
上述の回帰多項式において、ai−1及びbi−1はそれぞれRi(x)及びQi(x)の最大指数(maximal exponent)の係数である。
【0078】
また、li−1=deg(Ri−1(x))−deg(Qi−1(x))であって、li−1<0であるときσi−1=0であり、そうでなければ、σi−1=1である。
【0079】
deg(λi(x))>deg(Ri(x))であるとき、エラー消去位置多項式をσ(x)=λi(x)と、エラー消去評価多項式をω(x)=Ri(x)と設定。
【0080】
(d)Chien検索技術(Chien search technique)により、エラー消去位置多項式U(x)の根を求める。エラー位置が求められると、エラー位置に対応するエラー値を計算することができる。
【0081】
(f)最後に、対応するエラー値を用いて求められたエラー位置により、エラー値をコードワードに加えて、誤りシンボルで代替することによりエラー訂正が完了する。
【0082】
上述の復号化工程において、αは有限体GF(28)の要素であり、以下の式で表される原始多項式の根である。
【0083】
P(x)=x8+x4+x3+x2+1
また、ECC/シンドローム値ジェネレータ504は、工程(a)を行うのに用いられ、シンドローム値S0、S1、…、S15を出力する(いくつかのシンドローム値は0に設定される)。Forneyシンドローム値ジェネレータ510は工程(b)を行うのに用いられ、消去位置多項式及びForney's変形シンドローム値多項式を生成する。エラー消去位置/評価多項式ジェネレータ512は工程(c)を行うのに用いられ、工程(b)で得た初期値により、エラー消去位置多項式及びエラー消去評価多項式を生成する。Chien検索ユニット514は工程(d)及び(f)を行うのに用いられ、エラー消去位置多項式の根及びエラー値を得て、誤りシンボルをエラー値に代替することによりエラー訂正を完了する。
【0084】
式(*)からシンドローム値を計算する場合、所望のシンドローム値の数は2Tであり、その最大値は16である。DVDの外部復号化を行うときに16個のシンドローム値を計算する状況が発生する。したがって、ECC/シンドローム値ジェネレータ504は16個のシンドローム値S0、S1、…、S15を生成できるように設定される。復号化工程において16個以下のシンドローム値を計算する必要がある場合、シンドローム値Sk(k=0〜15)の設定において、シンドローム値Sk(kは2T以上)は0に設定される。例えば、C1復号化工程では、シンドローム値S0〜S3を計算するだけで良いため、シンドローム値S4〜S15は全て0に設定される。
【0085】
図2Bで示される復号化工程において消去フラグを生成したとき、消去が存在することを示している。消去とエラーとの違いは、エラーは位置及び値が共に未知である一方、消去は位置が既知で値が未知であることである。
【0086】
したがって、消去が存在するとき、Forneyシンドローム値ジェネレータ510は消去位置多項式を得て初期値を生成する。それから、初期値がエラー消去位置/評価多項式ジェネレータ512へ入力される。消去が存在しない場合、Forneyシンドローム値ジェネレータ510は用いられない。このため、ECC/シンドローム値ジェネレータ504がシンドローム値の計算を完了すると、シンドローム値はスイッチ516によりエラー消去位置/評価多項式ジェネレータ512へ送られる。この状況においては、スイッチ516を用いることによりForney'sシンドローム値ジェネレータ510を用いる必要がないため、Forneyシンドローム値ジェネレータ510での計算に費やす時間が減少し、それに伴ってレイテンシも減少する。
【0087】
ここで注意すべきことは、エラー消去位置多項式及びエラー消去評価多項式の計算には、ベーレカンプ(Berlekamp)アルゴリズム(当該技術における復号化に用いられるアルゴリズムとして広く知られている。説明の便宜上、ここでは述べない)など、ユークリッドアルゴリズム以外のアルゴリズムも用いられうることである。また、符号化/復号化の速度を増加させるため、2個以上の共用RSエンコーダ/デコーダを用いることができる。
【0088】
以上を要約すると、(1)2Tの値が変化するときの、シンドローム値Sk(k=0〜15)の設定について、シンドローム値Skは、k>2Tのとき0に設定される。(2)Forney's変形シンドローム値多項式T(x)=S(x)Λ(x)mod(x2T)の計算結果は、2Tの値と関連している。(3)ユークリッドアルゴリズムによりエラー消去位置多項式及びエラー消去評価多項式を得るとき、初期値は2Tの値と関連している。
【0089】
ユークリッドアルゴリズムの代わりにベーレカンプアルゴリズムを用いることによりエラー消去位置多項式及びエラー消去評価多項式を得るとき、回帰演算の時間は、初期値と同様、2Tの値と関連している。
【0090】
一方、コードワードの長さが変化するとき、シンドローム値Sk=Σi=0〜N−1(rixi)の計算におけるNの値も変化する。また、Chien検索技術は、コードワードの長さの変化に伴って調整する必要がある。
【0091】
【発明の効果】
以上により、光記憶装置の符号化/復号化システムは、共用RSエンコーダ/デコーダを用いるだけで、ハードウエアのコストを減少できるとともに、ハードウエアを効率的に使用することができる。また、本発明によれば、インターリーブ/デインターリーブはC1符号化/復号化又はC2符号化/復号化の工程と結合することにより、符号化/復号化システムのレイテンシを減少することができる。
【0092】
本発明では好ましい実施例を前述の通り開示したが、これらは決して本発明に限定するものではなく、当該技術を熟知する者なら誰でも、本発明の精神と領域を脱しない範囲内で各種の変動や潤色を加えることができ、従って本発明の保護範囲は、特許請求の範囲で指定した内容を基準とする。
【図面の簡単な説明】
【図1】CD/DVD記憶装置における従来の符号化/復号化システムを示す。
【図2A】CIRCの符号化又は復号化工程を示すブロック図である。
【図2B】CIRCの符号化又は復号化工程を示すブロック図である。
【図3】DVDエラー訂正コードのブロックデータフォーマットを示す。
【図4】本発明の好ましい具体例による光記憶装置における符号化/復号化システムを示す。
【図5】図4のRSエンコーダ/デコーダの詳細ブロック図である。
【符号の説明】
101、117 バス
102、414 データバッファ
104 CRCジェネレータ及び訂正バリデータ
106 ランダマイザ/デランダマイザ
108 光記憶媒体
110 CD P/Qエンコーダ/デコーダ
112 C2エンコーダ/デコーダ
114 インターリーバ/デインターリーバ
116 C1エンコーダ/デコーダ
118 SRAM
120 DVD内部/外部エンコーダ/デコーダ
122 BCA ECCエンコーダデコーダ
202、210、212、220、222 遅延ユニット
204 C2エンコーダ
206 インターリーバ
218 C2デコーダ
224 論理演算ユニット
402 C1アドレスマッパー
404 共用RSエンコーダ/デコーダ
406 C2アドレスマッパー
408 CD P/Qアドレスマッパー
410 BCA ECCアドレスマッパー
412 DVD内部/外部アドレスマッパー
502、506、507、516、518 スイッチ
504 ECC/シンドローム値ジェネレータ
508 インバータ
510 Forneyシンドローム値ジェネレータ
512 エラー消去位置/評価多項式ジェネレータ
514 Chien検索ユニット
Claims (14)
- データバッファに記憶されるCD/DVDデータの符号化/復号化を行い、C1アドレスマッパーに記憶されるアクセス順序によって前記データバッファにアクセスする前記C1アドレスマッパーと、C2アドレスマッパーに記憶されるアクセス順序によって前記データバッファにアクセスする前記C2アドレスマッパーと、CD P/Qアドレスマッパーに記憶されるアクセス順序によって前記データバッファにアクセスする前記CD P/Qアドレスマッパーと、DVD内部/外部アドレスマッパーに記憶されるアクセス順序によって前記データバッファにアクセスする前記DVD内部/外部アドレスマッパーと、前記C1アドレスマッパー、前記C2アドレスマッパー、前記CD P/Qアドレスマッパー、前記DVD内部/外部アドレスマッパー、前記DVD内部/外部アドレスマッパーのうちのいずれかと選択的に接続することができる共有RSエンコーダ/デコーダと、からなる光ディスク記憶装置の符号化/復号化システムであって、前記共有RSエンコーダ/デコーダは、前記符号化/復号化システムが符号化を行っているときにRSコードの生成多項式を用い、RSコードの前記生成多項式は、2T個のシンボルからなるパリティ・コードを含むN個のシンボルからなる第1コードワードを生成するのに用いられ、N及び2Tの値は前記選ばれたアドレスマッパーに関連し、前記生成多項式は以下の式G(x)で表され、G(x)=Пk=0〜(2T−1)(x+αk)
そのうち、αは有限体GF(28)の要素であるとともに、以下の式P(x)で表される原始多項式:P(x)=x8+x4+x3+x2+1の根であり、
前記共用RSエンコーダ/デコーダは、前記生成多項式を用いて前記パリティ・コードを生成するとともに、前記符号化/復号化システムが符号化を行っているとき前記第1コードワードを出力し、あるいは前記符号化/復号化システムが復号化を行っているとき前記シンドローム値Sk ( k=0〜15、kは正の整数)を出力するECC/シンドローム値ジェネレータと、前記エラー消去位置多項式及び前記エラー消去評価多項式を生成するエラー消去位置/評価多項式ジェネレータと、前記ECC/シンドローム値ジェネレータと接続して消去位置多項式及び Forney's 変形シンドローム値多項式を生成し、前記エラー消去位置/評価多項式ジェネレータが必要とする初期値を生成する Forney シンドローム値ジェネレータと、前記エラー消去位置多項式の根を得てエラー位置及びエラー値を求める Chien 検索ユニットと、共用RSエンコーダ/デコーダの出力として、前記ECC/シンドローム値ジェネレータの出力又は前記 Chien 検索ユニットの出力のいずれかを選ぶ第1スイッチと、前記エラー消去位置/評価多項式ジェネレータの入力として、前記ECC/シンドローム値ジェネレータの入力又は前記 Forney シンドローム値ジェネレータの入力のいずれかを選ぶ第2スイッチと、からなる符号化/復号化システム。 - 前記共用RSエンコーダ/デコーダは、前記共用RSエンコーダ/デコーダの入力端末に接続し、入力データを反転するとともに反転した前記入力データを出力するインバータと、前記RSエンコーダ/デコーダの前記入力端末を前記ECC/シンドローム値ジェネレータに接続すること、あるいは反転した前記入力データを前記ECC/シンドローム値ジェネレータに送ることのいずれかを選ぶ第3スイッチと、をさらに含む、請求項1に記載の符号化/復号化システム。
- 前記C1アドレスマッパー又は前記C2アドレスマッパーが前記データバッファにアクセスして符号化するときインターリーブが行われ、前記C1アドレスマッパー又は前記C2アドレスマッパーが前記データバッファにアクセスして復号化するときデインターリーブが行われる、請求項1に記載の符号化/復号化システム。
- 前記符号化/復号化システムは、BCA ECCアドレスマッパーのアクセス順序によって前記データバッファにアクセスする前記BCAECCアドレスマッパーをさらに含む、請求項1に記載の符号化/復号化システム。
- 前記共有RSエンコーダ/デコーダが、前記C1アドレスマッパー、前記C2アドレスマッパー、又は前記BCA ECCアドレスマッパーからの出力を処理するときT=2であり、前記共有RSエンコーダ/デコーダが前記CD P/Qアドレスマッパーからの出力を処理するときT=1であり、前記共有RSエンコーダ/デコーダが前記DVD内部/外部アドレスマッパーからの出力を処理するとき、外部符号化/復号化を行う場合T=8であり、内部符号化/復号化を行う場合T=5である、請求項4に記載の符号化/復号化システム。
- データバッファに記憶されるCD/DVDデータの符号化/復号化を行い、C1アドレスマッパーに記憶されるアクセス順序によって前記データバッファにアクセスする前記C1アドレスマッパーと、C2アドレスマッパーに記憶されるアクセス順序によって前記データバッファにアクセスする前記C2アドレスマッパーと、CD P/Qアドレスマッパーに記憶されるアクセス順序によって前記データバッファにアクセスする前記CD P/Qアドレスマッパーと、DVD内部/外部アドレスマッパーに記憶されるアクセス順序によって前記データバッファにアクセスする前記DVD内部/外部アドレスマッパーと、前記C1アドレスマッパー、前記C2アドレスマッパー、前記CD P/Qアドレスマッパー、前記DVD内部/外部アドレスマッパー、前記DVD内部/外部アドレスマッパーのうちのいずれかと選択的に接続することができる共有RSエンコーダ/デコーダと、からなる光ディスク記憶装置の符号化/復号化システムであって、前記共有RSエンコーダ/デコーダは、前記生成多項式を用いてパリティ・コードを生成するとともに、前記符号化/復号化システムが符号化を行っているとき第1コードワードを出力し、あるいは前記符号化/復号化システムが復号化を行っているとき前記シンドローム値Sk(k=0〜15、kは正の整数)を出力するECC/シンドローム値ジェネレータと、エラー消去位置多項式及びエラー消去評価多項式を生成するエラー消去位置/評価多項式ジェネレータと、前記ECC/シンドローム値ジェネレータと接続して消去位置多項式及びForney's変形シンドローム値多項式を生成し、前記エラー消去位置/評価多項式ジェネレータが必要とする初期値を生成するForneyシンドローム値ジェネレータと、前記エラー消去位置多項式の根を得てエラー位置及びエラー値を求めるChien検索ユニットと、前記共用RSエンコーダ/デコーダの出力端末間に接続され、前記符号化/復号化システムが符号化を行っているとき前記ECC/シンドローム値ジェネレータに切換え、前記符号化/復号化システムが復号化を行っているときChienスイッチユニットに切換える第1スイッチと、前記エラー消去位置/評価多項式ジェネレータ間に接続され、消去が存在するとき前記Forneyシンドローム値ジェネレータに切換え、そうでないとき前記CRC/シンドローム値ジェネレータに切換える第2スイッチと、からなり、前記生成多項式は以下の式G(x)で表され、G(x)=Пk=0〜(2T−1)(x+αk)
前記シンドローム値は以下の式により得られ、Sk=Σi=0〜N−1(riαik),k=0〜2T−1そのうち、ri(i=0〜N−1)は前記コードワードの前記N個のシンボルを表しており、αは有限体GF(28)の要素であるとともに、以下の式P(x)で表される原始多項式:P(x)=x8+x4+x3+x2+1の根であることを特徴とする符号化/復号化システム。 - 前記共用RSエンコーダ/デコーダは、前記共用RSエンコーダ/デコーダの入力端末に接続され、入力データを反転するとともに反転された前記入力データを出力するインバータと、前記共用RSエンコーダ/デコーダの前記入力端末を前記ECC/シンドローム値ジェネレータに接続すること、あるいは反転された前記入力データを前記ECC/シンドローム値ジェネレータに送ることのいずれかを選ぶ第3スイッチと、をさらに含む、請求項6に記載の符号化/復号化システム。
- 前記C1アドレスマッパー又は前記C2アドレスマッパーが前記データバッファにアクセスして符号化するときにインターリーブが行われ、前記C1アドレスマッパー又は前記C2アドレスマッパーが前記データバッファにアクセスして復号化するときにデインターリーブが行われる、請求項7に記載の符合化/復号化システム。
- 前記符合化/復号化システムは、BCA ECCアドレスマッパーに記憶されるアクセス順序によって前記データバッファにアクセスする前記BCA ECCアドレスマッパーをさらに含む、請求項7に記載の符号化/復号化システム。
- 前記共用RSエンコーダ/デコーダが前記C1アドレスマッパー、前記C2アドレスマッパー、又は前記BCA ECCアドレスマッパーからの出力を処理するとき、T=2であり、前記共有RSエンコーダ/デコーダが前記CD P/Qアドレスマッパーからの出力を処理するときT=1であり、前記共有RSエンコーダ/デコーダが前記DVD内部/外部アドレスマッパーからの出力を処理するとき、外部符号化/復号化を行う場合T=8であり、内部符号化/復号化を行う場合T=5である、請求項7に記載の符号化/復号化システム。
- C1アドレスマッパー、C2アドレスマッパー、CD P/Qアドレスマッパー、DVD内部/外部アドレスマッパーのいずれかと選択的に接続することができる共用RSエンコーダ/デコーダであり、前記共用RSエンコーダ/デコーダが符号化を行っているとき、RSコードの生成多項式を用いて2T個のシンボルからなるパリティ・コードを生成するとともに、N個のシンボルからなるコードワードを出力し(2T及びNの値は前記選ばれたアドレスマッパーに関連する)、あるいは前記符号化/復号化システムが復号化を行っているとき、複数のシンドローム値Sk(k=0〜15、kは正の整数)を生成するとともに、kが≧2Tである場合、シンドローム値Skを0に設定するECC/シンドローム値ジェネレータと、前記エラー消去位置多項式及び前記エラー消去評価多項式を生成するエラー消去位置/評価多項式ジェネレータと、前記ECC/シンドローム値ジェネレータと接続して消去位置多項式及びForney's変形シンドローム値多項式を生成し、前記エラー消去位置/評価多項式ジェネレータが必要とする初期値を生成するForneyシンドローム値ジェネレータと、前記エラー消去位置多項式の根を得てエラー位置及びエラー値を求めるChien検索ユニットと、前記共用RSエンコーダ/デコーダの出力端末間に接続され、前記共用RSエンコーダ/デコーダが符号化を行っているとき前記ECC/シンドローム値ジェネレータに切換え、前記符号化/復号化システムが復号化を行っているときChienスイッチユニットに切換える第1スイッチと、前記エラー消去位置/評価多項式ジェネレータ間に接続され、消去が存在するとき前記Forneyシンドローム値ジェネレータに切換え、そうでないとき前記CRC/シンドローム値ジェネレータに切換える第2スイッチと、からなり、前記生成多項式は以下の式G(x)で表され、G(x)=Пk=0〜(2T−1)(x+αk)
前記シンドローム値は以下の式により得られ、Sk=Σi=0〜N−1(riαik),k=0〜2T−1そのうち、ri(i=0〜N−1)は前記コードワードの前記N個のシンボルを表しており、αは有限体GF(28)の要素であるとともに、以下の式P(x)で表される原始多項式:P(x)=x8+x4+x3+x2+1の根であることを特徴とする、共有RSエンコーダ/デコーダ。 - 前記共用RSエンコーダ/デコーダの入力端末に接続され、入力データを反転するとともに反転された前記入力データを出力するインバータと、前記共用RSエンコーダ/デコーダの前記入力端末を前記ECC/シンドローム値ジェネレータに接続すること、あるいは反転された前記入力データを前記ECC/シンドローム値ジェネレータに送ることのいずれかを選ぶ第3スイッチと、をさらに含む、請求項11に記載の共用RSエンコーダ/デコーダ。
- BCA ECCアドレスマッパーに選択的に接続することがさらに可能である、請求項11に記載の共用RSエンコーダ/デコーダ。
- 前記C1アドレスマッパー、前記C2アドレスマッパー、又は前記BCA ECCアドレスマッパーからの出力を処理するとき、T=2であり、前記CD P/Qアドレスマッパーからの出力を処理するときT=1であり、前記DVD内部/外部アドレスマッパーからの出力を処理するとき、外部符号化/復号化を行う場合T=8であり、内部符号化/復号化を行う場合T=5である、請求項11に記載の共用RSエンコーダ/デコーダ。
Applications Claiming Priority (2)
| Application Number | Priority Date | Filing Date | Title |
|---|---|---|---|
| TW089109970A TW541519B (en) | 2000-05-24 | 2000-05-24 | Encoding/decoding system in optical disk storage device |
| TW89109970 | 2000-05-24 |
Publications (2)
| Publication Number | Publication Date |
|---|---|
| JP2001357630A JP2001357630A (ja) | 2001-12-26 |
| JP3645809B2 true JP3645809B2 (ja) | 2005-05-11 |
Family
ID=21659828
Family Applications (1)
| Application Number | Title | Priority Date | Filing Date |
|---|---|---|---|
| JP2000373481A Expired - Fee Related JP3645809B2 (ja) | 2000-05-24 | 2000-12-07 | 光ディスク記憶装置の符号化/復号化システム |
Country Status (3)
| Country | Link |
|---|---|
| US (1) | US6832042B1 (ja) |
| JP (1) | JP3645809B2 (ja) |
| TW (1) | TW541519B (ja) |
Families Citing this family (17)
| Publication number | Priority date | Publication date | Assignee | Title |
|---|---|---|---|---|
| US20080282128A1 (en) * | 1999-08-04 | 2008-11-13 | Super Talent Electronics, Inc. | Method of Error Correction Code on Solid State Disk to Gain Data Security and Higher Performance |
| TWI258135B (en) * | 2002-01-25 | 2006-07-11 | Sony Corp | Information recording device and method, information reproducing device and method, recording medium, and disc recording medium |
| FR2860360B1 (fr) * | 2003-09-29 | 2005-12-09 | Canon Kk | Dispositif de codage /decodage utilisant un codeur/decodeur de reed-solomon |
| JP2006190346A (ja) * | 2004-12-28 | 2006-07-20 | Toshiba Corp | エラー訂正処理装置及びエラー訂正処理方法 |
| US7624330B2 (en) * | 2005-12-12 | 2009-11-24 | Lsi Corporation | Unified memory architecture for recording applications |
| KR100803129B1 (ko) | 2006-03-07 | 2008-02-14 | 엘지전자 주식회사 | 디지털 방송 수신 시스템에서의 오류 정정 방법 |
| US20070260963A1 (en) * | 2006-04-21 | 2007-11-08 | Kuo-Lung Chien | Error correction system and related method thereof |
| US20070260961A1 (en) * | 2006-04-21 | 2007-11-08 | Kuo-Lung Chien | Error correction system and related method thereof |
| US20070260960A1 (en) * | 2006-04-21 | 2007-11-08 | Kuo-Lung Chien | Error correction system and related method thereof |
| US7689894B2 (en) * | 2006-05-11 | 2010-03-30 | Mediatek Inc. | Decoding apparatus and method therefor |
| US7774688B1 (en) * | 2006-10-11 | 2010-08-10 | Marvell International Ltd. | Hardware efficient decoding system for Bose, Ray-Chaudhuri, Hocquenghem (BCH) product codes |
| TW200943741A (en) * | 2008-04-10 | 2009-10-16 | Univ Nat Chiao Tung | Decoding method and device suitable for shortened BCH codes or Reed-Solomon codes |
| TWI384467B (zh) * | 2009-01-13 | 2013-02-01 | Sunplus Technology Co Ltd | High - density recording medium decoding system and method |
| KR20130136341A (ko) * | 2012-06-04 | 2013-12-12 | 에스케이하이닉스 주식회사 | 반도체 장치 및 그 동작 방법 |
| US9054742B2 (en) * | 2013-03-14 | 2015-06-09 | Intel Corporation | Error and erasure decoding apparatus and method |
| US9396062B1 (en) * | 2014-04-04 | 2016-07-19 | Seagate Technology Llc | Group based codes for multi-dimensional recording (MDR) |
| KR20230021949A (ko) * | 2021-08-06 | 2023-02-14 | 삼성전자주식회사 | 메모리 장치 및 이의 동작 방법 |
Family Cites Families (5)
| Publication number | Priority date | Publication date | Assignee | Title |
|---|---|---|---|---|
| GB2318954B (en) * | 1996-10-29 | 2001-05-23 | Daewoo Electronics Co Ltd | Reed-solomon decoder for use in advanced television |
| TW432362B (en) * | 1997-04-02 | 2001-05-01 | Matsushita Electric Industrial Co Ltd | High speed data input-output device which fetches data into internal memory and performs operations on the data before outputting the data |
| TW334533B (en) * | 1997-06-28 | 1998-06-21 | United Microelectronics Corp | The control circuit apparatus for CD-ROM optical disk driver |
| KR100272493B1 (ko) * | 1997-08-30 | 2000-11-15 | 윤종용 | 디지탈비디오디스크및컴팩트디스크공용데이타프로세서장치 |
| US20020152436A1 (en) * | 2001-02-05 | 2002-10-17 | O'dea James Orrin | Digital error mapping circuit and method |
-
2000
- 2000-05-24 TW TW089109970A patent/TW541519B/zh not_active IP Right Cessation
- 2000-11-15 US US09/711,922 patent/US6832042B1/en not_active Expired - Lifetime
- 2000-12-07 JP JP2000373481A patent/JP3645809B2/ja not_active Expired - Fee Related
Also Published As
| Publication number | Publication date |
|---|---|
| TW541519B (en) | 2003-07-11 |
| US6832042B1 (en) | 2004-12-14 |
| JP2001357630A (ja) | 2001-12-26 |
Similar Documents
| Publication | Publication Date | Title |
|---|---|---|
| JP3645809B2 (ja) | 光ディスク記憶装置の符号化/復号化システム | |
| JP4346135B2 (ja) | コンピュータ記憶装置においてランダムデータに対してcrcシンドロームを生成するeccシステム | |
| KR100573356B1 (ko) | 코드워드데이터를저장하기위한데이터버퍼와에러신드롬을저장하기위한신드롬버퍼를사용하는ecc시스템 | |
| JP5216593B2 (ja) | 多段階誤り訂正方法及び装置 | |
| US7760822B1 (en) | Address generator for LDPC encoder and decoder and method thereof | |
| JP4723089B2 (ja) | 線形合同シーケンスを使用するターボコードインタリーバ | |
| US5974580A (en) | Concurrent row/column syndrome generator for a product code | |
| US8042030B2 (en) | Encoding apparatus, decoding apparatus, encoding method, decoding method, and storage device | |
| KR100415136B1 (ko) | 에러정정방법,에러정정장치,데이터판독장치,및데이터맵핑방법 | |
| US7278085B1 (en) | Simple error-correction codes for data buffers | |
| TWI539758B (zh) | 藉由癥狀表來解碼渦輪乘積碼之系統及方法 | |
| JPS6354254B2 (ja) | ||
| JPH0637646A (ja) | 誤り訂正方式及びこの誤り訂正方式を用いた復号器 | |
| JP3671906B2 (ja) | 繰り返し連接符号復号回路及びそれを用いた符号化復号化システム | |
| JP3764453B2 (ja) | エラー訂正のための符号化装置及び方法と復号化装置及び方法 | |
| JP3891568B2 (ja) | 誤り訂正符号を復号化する方法及び装置 | |
| JP3260095B2 (ja) | 誤り訂正符号及び誤り検出符号の復号器並びにその復号方法 | |
| JP3283130B2 (ja) | ディジタルデータ符号化及び復号化方法並びにこれらの方法を実施するための装置 | |
| EP0603932B1 (en) | Method and apparatus for implementing a quasi-product code with different degrees of protection against errors | |
| JP4039227B2 (ja) | 復号方法及びプログラム並びにこれを用いた復号回路 | |
| JP3777246B2 (ja) | ディスク記憶装置内の誤りを訂正するためのシステムおよび誤り制御チップ、ならびに符号化および復号化の方法 | |
| JP2004080762A (ja) | クロスインターリーブリード−ソロモン符号訂正を行う方法及び装置 | |
| JP3992443B2 (ja) | 符号化方法、復号方法、符号化回路、復号回路、記憶装置、記憶媒体、通信装置 | |
| JP2001244823A (ja) | クロスインターリーブドリードソロモンコードの復号の処理内の誤り訂正のための装置 | |
| Wu | Generalized integrated interleaving BCH codes |
Legal Events
| Date | Code | Title | Description |
|---|---|---|---|
| A131 | Notification of reasons for refusal |
Free format text: JAPANESE INTERMEDIATE CODE: A131 Effective date: 20040330 |
|
| A601 | Written request for extension of time |
Free format text: JAPANESE INTERMEDIATE CODE: A601 Effective date: 20040628 |
|
| A602 | Written permission of extension of time |
Free format text: JAPANESE INTERMEDIATE CODE: A602 Effective date: 20040701 |
|
| A521 | Written amendment |
Free format text: JAPANESE INTERMEDIATE CODE: A523 Effective date: 20040914 |
|
| TRDD | Decision of grant or rejection written | ||
| A01 | Written decision to grant a patent or to grant a registration (utility model) |
Free format text: JAPANESE INTERMEDIATE CODE: A01 Effective date: 20050105 |
|
| A61 | First payment of annual fees (during grant procedure) |
Free format text: JAPANESE INTERMEDIATE CODE: A61 Effective date: 20050204 |
|
| R150 | Certificate of patent or registration of utility model |
Free format text: JAPANESE INTERMEDIATE CODE: R150 Ref document number: 3645809 Country of ref document: JP Free format text: JAPANESE INTERMEDIATE CODE: R150 |
|
| S111 | Request for change of ownership or part of ownership |
Free format text: JAPANESE INTERMEDIATE CODE: R313113 |
|
| S531 | Written request for registration of change of domicile |
Free format text: JAPANESE INTERMEDIATE CODE: R313531 |
|
| S533 | Written request for registration of change of name |
Free format text: JAPANESE INTERMEDIATE CODE: R313533 |
|
| R350 | Written notification of registration of transfer |
Free format text: JAPANESE INTERMEDIATE CODE: R350 |
|
| FPAY | Renewal fee payment (event date is renewal date of database) |
Free format text: PAYMENT UNTIL: 20080210 Year of fee payment: 3 |
|
| FPAY | Renewal fee payment (event date is renewal date of database) |
Free format text: PAYMENT UNTIL: 20090210 Year of fee payment: 4 |
|
| R250 | Receipt of annual fees |
Free format text: JAPANESE INTERMEDIATE CODE: R250 |
|
| FPAY | Renewal fee payment (event date is renewal date of database) |
Free format text: PAYMENT UNTIL: 20090210 Year of fee payment: 4 |
|
| FPAY | Renewal fee payment (event date is renewal date of database) |
Free format text: PAYMENT UNTIL: 20100210 Year of fee payment: 5 |
|
| R250 | Receipt of annual fees |
Free format text: JAPANESE INTERMEDIATE CODE: R250 |
|
| FPAY | Renewal fee payment (event date is renewal date of database) |
Free format text: PAYMENT UNTIL: 20100210 Year of fee payment: 5 |
|
| FPAY | Renewal fee payment (event date is renewal date of database) |
Free format text: PAYMENT UNTIL: 20110210 Year of fee payment: 6 |
|
| R250 | Receipt of annual fees |
Free format text: JAPANESE INTERMEDIATE CODE: R250 |
|
| FPAY | Renewal fee payment (event date is renewal date of database) |
Free format text: PAYMENT UNTIL: 20110210 Year of fee payment: 6 |
|
| FPAY | Renewal fee payment (event date is renewal date of database) |
Free format text: PAYMENT UNTIL: 20120210 Year of fee payment: 7 |
|
| R250 | Receipt of annual fees |
Free format text: JAPANESE INTERMEDIATE CODE: R250 |
|
| FPAY | Renewal fee payment (event date is renewal date of database) |
Free format text: PAYMENT UNTIL: 20120210 Year of fee payment: 7 |
|
| FPAY | Renewal fee payment (event date is renewal date of database) |
Free format text: PAYMENT UNTIL: 20130210 Year of fee payment: 8 |
|
| R250 | Receipt of annual fees |
Free format text: JAPANESE INTERMEDIATE CODE: R250 |
|
| FPAY | Renewal fee payment (event date is renewal date of database) |
Free format text: PAYMENT UNTIL: 20130210 Year of fee payment: 8 |
|
| FPAY | Renewal fee payment (event date is renewal date of database) |
Free format text: PAYMENT UNTIL: 20140210 Year of fee payment: 9 |
|
| R250 | Receipt of annual fees |
Free format text: JAPANESE INTERMEDIATE CODE: R250 |
|
| R250 | Receipt of annual fees |
Free format text: JAPANESE INTERMEDIATE CODE: R250 |
|
| R250 | Receipt of annual fees |
Free format text: JAPANESE INTERMEDIATE CODE: R250 |
|
| R250 | Receipt of annual fees |
Free format text: JAPANESE INTERMEDIATE CODE: R250 |
|
| R250 | Receipt of annual fees |
Free format text: JAPANESE INTERMEDIATE CODE: R250 |
|
| R250 | Receipt of annual fees |
Free format text: JAPANESE INTERMEDIATE CODE: R250 |
|
| LAPS | Cancellation because of no payment of annual fees |
