JP3581663B2 - インクジェットプリンタ - Google Patents

インクジェットプリンタ Download PDF

Info

Publication number
JP3581663B2
JP3581663B2 JP2001034041A JP2001034041A JP3581663B2 JP 3581663 B2 JP3581663 B2 JP 3581663B2 JP 2001034041 A JP2001034041 A JP 2001034041A JP 2001034041 A JP2001034041 A JP 2001034041A JP 3581663 B2 JP3581663 B2 JP 3581663B2
Authority
JP
Japan
Prior art keywords
ink
head
elastic member
needle
holes
Prior art date
Legal status (The legal status is an assumption and is not a legal conclusion. Google has not performed a legal analysis and makes no representation as to the accuracy of the status listed.)
Expired - Fee Related
Application number
JP2001034041A
Other languages
English (en)
Other versions
JP2002234181A (ja
Inventor
義雅 荒木
Current Assignee (The listed assignees may be inaccurate. Google has not performed a legal analysis and makes no representation or warranty as to the accuracy of the list.)
Canon Inc
Original Assignee
Canon Inc
Priority date (The priority date is an assumption and is not a legal conclusion. Google has not performed a legal analysis and makes no representation as to the accuracy of the date listed.)
Filing date
Publication date
Application filed by Canon Inc filed Critical Canon Inc
Priority to JP2001034041A priority Critical patent/JP3581663B2/ja
Publication of JP2002234181A publication Critical patent/JP2002234181A/ja
Application granted granted Critical
Publication of JP3581663B2 publication Critical patent/JP3581663B2/ja
Anticipated expiration legal-status Critical
Expired - Fee Related legal-status Critical Current

Links

Images

Landscapes

  • Ink Jet (AREA)

Description

【0001】
【発明の属する技術分野】
本発明は、インクタンク内のインクを、効率よく、中空の針を介してヘッドに供給できる新規なインクジェットプリンタに関するものである。
【0002】
【従来の技術】
従来例のインクジェットプリンタを図11、図12、図13、図14、図15、図16、図17、図18を用いて以下に説明する。
【0003】
まず従来例のインクジェットプリンタの外観について、図11、図12、図13を用いて説明すると共にその構成と作用について順次述べる。
【0004】
図11は、従来例のインクジェットプリンタの正面図、図12は、従来例のインクジェットプリンタの背面図、図13は、従来例のインクジェットプリンタの右側面図である。
【0005】
図11に示すように、本体25の外観は、ケース24とカバー部23にて形成されている。また、ケース24には、通紙口27が設けられている。
【0006】
次に、インクジェットプリンタの背面図である図12に示すように、カバー部23は、ケース24にヒンジ部26により連結されている。また、ケース24には、排紙口22が設けられている。
【0007】
また、インクジェットプリンタの右側面図である図l3に示すように、カバー部23は、ケ一ス24にヒンジ部26にて連結されているため、A方向へ回動する。
【0008】
次に、図14〜図18を用いて従来例のインクジェットプリンタの構造を説明する。
【0009】
図14は、図12のB−B線断面図、図15は、図13のC−C線断面図、図16は、図13のD−D線断面図、図17は、針拡大図、図18は、図15のE−E線断面拡大図である。
【0010】
2は、主走査モーター、3は、プーリ、4は、ベルト、5は、ベルト固定部、6は、ヘッド、7は、キャップ、8は、ワイパー、9は、ワーパーケース、10は、支持プレート、11は、側板(R)、12は、予備吐出箱、13は廃液吸収体、14は、廃液チューブ、15は、印字用紙、16は、手差し従動ローラ、17は、手差しローラ、18は、送り従動ローラ、19は、送りローラ、20は、プラテン、21は、吸引チューブ、37は、メインタンク、38は、メインレール、39は、サブレール、50は針、51は、弾性部材、52は、チューブ、53は、ケース、54は、中空部、57は、アルミパックである。
【0011】
図14に示すように、キャリッジ1は、主走査モーター2からの駆動を伝達されたプーリ3に取り付けられたベルト4にベルト固定部5にて取り付けられているため、主走査モーター2を駆動することにより、D方向へ移動する。この時、キャリッジ1は、メインレール38とサブレール39に支えられ移動する。
【0012】
また、図15に示すように、キャリッジ1に取り付けられたヘッド6は、印字を行っていない時には、キャップ7でキャッピングされている。
【0013】
ヘッド6にて印字を行った後にヘッド6をクリーニングするワイパー8は、ワイパーケース9内に取り付けられており、支持プレート10でワイパーケース9は支持されている。支持プレート10は、側板(R)11に取り付けられている。ワイパーケース9の隣には、予備吐出箱12が設けられている。予備吐出箱12は、ヘッド6のノズルのメニスカスを一定に保つため、印字を実行する前に、ヘッド6が吐出を行った時の吐出されたインクを受けるためのものである。予備吐出箱12は、支持プレート10に取り付けられている。
【0014】
予備吐出箱12には、廃液チューブ14が取り付けられており、廃液チューブ14は、廃液吸収体13に連結されている。そのため、予備吐出箱12内に、ヘッド6から吐出されたインクは、廃液チューブ14を通り、廃液吸収体13に吸収される。
【0015】
また、上記キャップ7は、吸引チューブ21によって図示しない吸引ポンプに連結されており、不使用時キャップ7をヘッド6に密着させた後に、吸引ポンプを作動させることで、ヘッド6のノズル内の微細なゴミ、粘度の高くなったインクを吸い出すという働きがある。
【0016】
図16に示したように、メインタンク37は、ケース53と弾性部材51とアルミパック57で形成されている。アルミパック57の開口部に、弾性部材5lは取り付けられている。アルミパック57内にインクが貯蔵され、アルミパック57と弾性部材51により密閉系が形成されている。
【0017】
メインタンク37は、不図示の駆動系によりe方向へ移動し、針50がメインタンク37に設けられた弾性部材51に刺さり、弾性部材51を貫通する。
【0018】
これによりメインタンク37とヘッド6はチューブ52、針50で連結され、ついで、吸引ポンプを使用しヘッド6よりインクを吸い出すことで、ヘッド6内を負圧とし、チューブ52、針50を介してメインタンク37からヘッド6内のインクバッファへインクが供給され、ヘッド6が、インクを吐出する。
【0019】
ところで、図17に示すように針50内部は、中空になっており、中空部54を通ってインクがヘッドに供給される。
【0020】
次に、図18に、キャリッジ1が、図15においてE−E断面線より左側に移動した場合で、かつ、印字用紙15を挿入した場合の図15のE−E線断面拡大図を示す。
【0021】
印字用紙15は、F方向に挿入され、G方向より排出される。印字用紙15をF方向より挿入すると、まず、手差しローラ17と手差し従動ローラ16に印字用紙15が挟まれ、手差しローラ17と手差し従動ローラ16によりH方向へ印字用紙15が送られる。その後、印字用紙15は、プラテン20上を通り、送りローラ19と送り従動ローラ18に挟まれ、H方向へ送られ、排紙口22よりG方向へ排出される。また、プラテン20上に印字用紙15が存在する時に、キャリッジ1に取り付けられたヘッド6よりインクが、印字用紙15へ吐出されることで、印字用紙15上に画像が形成される。
【0022】
また、本体25の外観は、ケース24とカバー部23により形成されている。
【0023】
カバー部23は、本体25を携帯する時には、閉じられている。
【0024】
【発明が解決しようとする課題】
従来のインクジェットプリンタは、メインタンク37からヘッド6へのインク供給時に、アルミパック57の縮小状態によっては、メインタンク37内に負圧が発生する場合が存在し、メインタンク37内が負圧の状態であると、メインタンク37に針50を刺したとき、針50内部の中空部54を通してヘッド6内のインクバッファのインクがメインタンク37に引き込まれるという問題が存在した。
【0025】
そのため、インク供給時には、メインタンク37に針50を刺した後、メインタンク37に引き込まれたインクを再度ヘッド6内のインクバッファへ供給する必要があり、インク供給時間が長くなりスループット(処理能力)が低下していた。
【0026】
本発明は、以上のような局面にかんがみてなされたもので、その目的とする処は、中空の針に設けられた複数の孔の中で少なくとも2個以上の孔を、弾性部材の厚みより広い間隔で配置し、かつ、挿入後には、上記すべての孔は、上記弾性部材を通過する位置に配置することによって、挿入時にメインタンク内の圧力を大気圧と同一にし、ヘッド内のインクバッファのインクがメインタンクに引き込まれるのを防止することで、引き込まれたインクをヘッドヘ再度供給する必要がなくスループットの向上したインクジェットプリンタを提供することにある。
【0027】
【課題を解決するための手段】
上記目的を達成するため、本発明では、インクジェットプリンタを次の(1)のとおりに構成する。
(1)被印字物に印字を行うためのヘッドと、印字を行うためにヘッドを搭載し被印刷物上を往復移動するキャリッジと、前記ヘッドへ供給するインクを貯留しインクを外部に導出するための導出部に配置された弾性部材を備えたインクタンクが着脱自在に装填されるインクタンク装填部と、前記インクタンク装填部に配置され、前記弾性部材を貫通することで、前記インクタンク内のインクを前記ヘッドに供給する中空の針と、を有するインクジェットプリンタにおいて、
前記中空の針には複数の孔が設けられており、複数の孔の中で少なくとも2つの孔の間隔が、前記弾性部材の厚みより広い間隔で配置されており、一方の孔が前記弾性部材を通過し前記インクタンク内部と連通した状態で、他方の孔は前記インクタンク外部に位置しており、かつ前記中空の針の前記インクタンクへの挿入が完了した状態では、すべての孔は前記弾性部材を貫通し、すべての孔を介してインクの供給がなされるインクジェットプリンタ。
【0031】
【発明の実施の形態】
以下、本発明の実施例を示すが、本発明の実施例においては、実質的に従来例と同一の構成には同一の符号を付して、説明の詳細を省く。
【0032】
(第1実施例)
以下に本発明の第1実施例を図lないし図9を用いて説明する。
【0033】
ここで、本発明の第1実施例において新規な構成部分について説明する。
【0034】
符号55は、ヘッド6に設けられる針50aに開口した孔を示し、針50aの中心軸に沿ってインク供給用の中空部54が形成され、針先端にはインク供給用の孔56が開孔してある。
【0035】
つぎに、本発明のインクジェットプリンタの外観について、図1、図2、図3を用いて説明すると共にその構成と作用について順次述べる。
【0036】
図1は、インクジェットプリンタの正面図、図2は、インクジェットプリンタの背面図、図3は、インクジェットプリンタの右側面図である。
【0037】
図1に示すように、本体25の外観は、ケース24とカバー部23にて形成され、前記ケース24には、通紙口27が設けられている。
【0038】
そして、インクジェットプリンタの背面図である図2に示すように、カバー部23は、ケース24にヒンジ部26により連結されている。また、ケース24には、排紙口22が設けられている。
【0039】
また、インクジェットプリンタの右側面図である図3に示すように、カバー部23は、ケース24にヒンジ部26にて連結されているため、前記した従来技術の方向(A方向)と同一方向の、K方向へ回動する。
【0040】
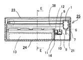
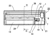
図4は、図2のJ−J線断面図、図5は、図3のL−L線断面図、図6は、図3のN−N線断面図、図7は、針周辺拡大図、図8は、針周辺拡大図(挿入後)、図9は、図5のO−O線断面拡大図である。
【0041】
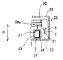
図4に示すように、キャリッジ1は、主走査モーター2からの駆動を伝達されたプーリ3に取り付けられたベルト4にベルト固定部5にて取り付けられているため、主走査モーター2を駆動することにより、M方向へ移動する。この時、キャリッジ1は、メインレール38とサブレール39に支えられ移動する。
【0042】
また、図5に示すように、キャリッジ1に取り付けられたヘッド6は、印字を行っていない時には、キャップ7でキャッピングされている。
【0043】
ヘッド6にて印字を行った後にヘッド6をクリーニングするワイパー8は、ワイパーケース9内に取り付けられており、支持プレート10でワイパーケース9は支持されている。支持プレート10は、側板(R)11に取り付けられている。ワイパーケース9の隣には、予備吐出箱12が設けられている。予備吐出箱12は、ヘッド6のノズルのメニスカスを一定に保つため、印字を実行する前に、ヘッド6が吐出を行った時の吐出されたインクを受けるためのものである。予備吐出箱12は、支持プレート10に取り付けられている。
【0044】
予備吐出箱12には、廃液チューブ14が取り付けられており、廃液チューブ14は、廃液吸収体13に連結されている。そのため、予備吐出箱12内に、ヘッド6から吐出されたインクは、廃液チューブ14を通り、廃液吸収体13に吸収される。
【0045】
また、上記キャップ7は、吸引チューブ21によって図示しない吸引ポンプに連結されており、不使用時キャップ7をヘッド6に密着させた後に、吸引ポンプを作動させることで、ヘッド6のノズル内の微細なゴミ、粘度の高くなったインクを吸い出すという働きがある。
【0046】
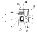
図6に示すように、メインタンク37は、ケース53と弾性部材51とアルミパック57で形成されている。アルミパック57の開口部に、弾性部材51は取り付けられている。アルミパック57内にインクが貯蔵され、アルミパック57と弾性部材51により密閉系が形成されている。
【0047】
メインタンク37は、不図示の駆動系によりP方向へ移動し、針50aがメインタンク37に設けられた弾性部材51に刺さり、弾性部材51を貫通する。
【0048】
これによりメインタンク37とヘッド6はチューブ52、針50aで連結され、ついで、吸引ポンプによりヘッド6よりインクを吸い出すことで、ヘッド6内を負圧とし、チューブ52、針50aを介してメインタンク37からヘッド6内のインクバッファへインクが供給され、ヘッド6が、インクを吐出する。
【0049】
ところで、図7に示すように針50a内部は、中空になっており、中空部54を通ってインクがヘッド6内のインクバッファに供給される。
【0050】
また、孔55、孔56が針50aに設けられているが、これらの孔55、孔56は、弾性部材51の厚みwよりも大きな間隔hで配置されている。そのため、弾性部材51に針50aを挿入し、孔55がメインタンク37の外側、孔56がメインタンク37内側の位置にあるとき、孔55、中空部54、孔56を介して、メインタンク37内の空気は、大気開放となる。
【0051】
なお、確実に、メインタンク37内を大気圧にするために、この状態でメインタンク37の移動を停止し、再度、移動しても良い。
【0052】
その後、図8に示すように針50aを弾性部材51に貫通させることで、孔55、孔56、中空部54を通ってメインタンク37内のインクが、ヘッド6へ供給される。
【0053】
次に、図9は、キャリッジ1が、図5においてO−O断面線より左側に移動した場合で、かつ、印字用紙15を挿入した場合の図5のO−O線断面拡大図である。
【0054】
印字用紙15は、Q方向に挿入され、S方向より排出される。印字用紙15を前記従来技術の方向(F方向)と同一方向の、Q方向より挿入すると、まず、手差しローラ17と千差し従動ローラ16に印字用紙15が挟まれ、手差しローラ17と手差し従動ローラ16により前記従来技術の方向(H方向)と同一方向の、R方向へ印字用紙15が送られる。その後、印字用紙15は、プラテン20上を通り、送りローラ19と送り従動ローラ18に挟まれ、R方向へ送られ、排紙口22より前記従来技術の方向(G方向)と同一方向の、S方向へ排出される。
【0055】
また、プラテン20上に印字用紙15が存在する時に、キャリッジ1に取り付けられたヘッド6よりインクが、印字用紙15へ吐出されることで、印字用紙15上に画像が形成される。
【0056】
また、本体25の外観は、ケース24とカバー部23により形成されている。
【0057】
カバー部23は、本体25を携帯する時には、閉じられている。
【0058】
(第2実施例)
次に、本発明の第2実施例を、図10を用いて説明する。
【0059】
図10は、インクジェットプリンタの針断面図である。
【0060】
本実施例は、上述した第1実施例において、針50aに設けた孔55、孔56を針50a挿入方向と垂直方向に設けたものであって、孔55、孔56は、弾性部材51の厚みwよりも大きな間隔hで配置されている。
【0061】
このような方向に、孔を設けることで、弾性部材51の断片、ゴミ等が孔55、孔56に入りにくくなる構成となっている。ここで、メインタンク37は、T方向へ移動する。
【0062】
その他の構成は、第1実施例と同一であるので、その部分の説明は省略する。
【0063】
【発明の効果】
以上説明したように、本発明は、インクジェットプリンタにおいて、メインタンクに設けられた弾性部材に挿入される針に、弾性部材の厚みより広い間隔で孔を配置し、弾性部材に針を挿入時、針内部の中空部、孔を通してメインタンク内の圧力を大気圧と同一にする構成としたことにより、ヘッドのインクバッファ内のインクが針を介してメインタンクに引き込まれるのを防止した。
【0064】
その結果、引き戻されたインクをヘッドへ再度供給する必要がなくなり、スループットが向上するという効果が生じた。
【0065】
本発明は、インクジェットプリンタにおいて、メインタンクに設けられた弾性部材に挿入される針に、中空の針の挿入方向と垂直方向に孔を設けることで、中空の針を弾性部材に挿入するときに、弾性部材の断片、ゴミ等が、中空の針の孔に入りにくくなり、針内部のつまりを防止できるという効果が生じた。
【0066】
本発明は、インクジェットプリンタにおいて、メインタンクに設けられた弾性部材に挿入される針に設けた複数の孔のなかで、少なくとも1つの孔が弾性部材を通過したときに、針を静止させ、メインタンク内の負圧を確実に大気圧と同一とする構成としたことでヘッドのインクが針を介してメインタンクに引き込まれるのを防止した。
【0067】
その結果、さらに確実に、引き込まれたインクをヘッドヘ再度供給する必要がなくなり、スループットが向上するという効果が生じた。
【図面の簡単な説明】
【図1】本発明のインクジェットプリンタの正面図
【図2】本発明のインクジェットプリンタの背面図
【図3】本発明のインクジェットプリンタの右側面図
【図4】図2のJ−J線断面図
【図5】図3のL−L線断面図
【図6】図3のN−N線断面図
【図7】針周辺拡大図
【図8】針周辺拡大図(挿入後)
【図9】図5のO−O線断面拡大図
【図10】本発明、第2実施例の針周辺拡大図
【図11】従来例のインクジェットプリンタの正面図
【図12】従来例のインクジェットプリンタの背面図
【図13】従来例のインクジェットプリンタの右側面図
【図14】図12のB−B線断面図
【図15】図l3のC−C線断面図
【図16】図l3のD−D線断面図
【図17】針拡大図
【図18】図l5のE−E線断面拡大図
【符号の説明】
1 キャリッジ
2 主走査モーター
3 プーリ
4 ベルト
5 ベルト固定部
6 ヘッド
7 キャップ
8 ワイパー
9 ワイパーケース
10 支持プレ一ト
11 側板(R)
12 予備吐出箱
13 廃液吸収体
14 廃液チューブ
15 印字用紙
16 手差し従動ローラ
17 手差しローラ
18 送り従動ローラ
19 送りローラ
20 プラテン
21 吸引チューブ
22 排紙口
23 カバー部
24 ケース
25 本体
26 ヒンジ部
27 通紙口
37 メインタンク
38 メインレール
39 サブレール
50 従来例の針
50a 針
51 弾性部材
52 チューブ
53 ケース
54 中空部
55 孔
56 孔
57 アルミパック

Claims (1)

  1. 被印字物に印字を行うためのヘッドと、印字を行うためにヘッドを搭載し被印刷物上を往復移動するキャリッジと、前記ヘッドへ供給するインクを貯留しインクを外部に導出するための導出部に配置された弾性部材を備えたインクタンクが着脱自在に装填されるインクタンク装填部と、前記インクタンク装填部に配置され、前記弾性部材を貫通することで、前記インクタンク内のインクを前記ヘッドに供給する中空の針と、を有するインクジェットプリンタにおいて、
    前記中空の針には複数の孔が設けられており、複数の孔の中で少なくとも2つの孔の間隔が、前記弾性部材の厚みより広い間隔で配置されており、一方の孔が前記弾性部材を通過し前記インクタンク内部と連通した状態で、他方の孔は前記インクタンク外部に位置しており、かつ前記中空の針の前記インクタンクへの挿入が完了した状態では、すべての孔は前記弾性部材を貫通し、すべての孔を介してインクの供給がなされることを特徴とするインクジェットプリンタ。
JP2001034041A 2001-02-09 2001-02-09 インクジェットプリンタ Expired - Fee Related JP3581663B2 (ja)

Priority Applications (1)

Application Number Priority Date Filing Date Title
JP2001034041A JP3581663B2 (ja) 2001-02-09 2001-02-09 インクジェットプリンタ

Applications Claiming Priority (1)

Application Number Priority Date Filing Date Title
JP2001034041A JP3581663B2 (ja) 2001-02-09 2001-02-09 インクジェットプリンタ

Publications (2)

Publication Number Publication Date
JP2002234181A JP2002234181A (ja) 2002-08-20
JP3581663B2 true JP3581663B2 (ja) 2004-10-27

Family

ID=18897710

Family Applications (1)

Application Number Title Priority Date Filing Date
JP2001034041A Expired - Fee Related JP3581663B2 (ja) 2001-02-09 2001-02-09 インクジェットプリンタ

Country Status (1)

Country Link
JP (1) JP3581663B2 (ja)

Families Citing this family (2)

* Cited by examiner, † Cited by third party
Publication number Priority date Publication date Assignee Title
JP4915515B2 (ja) * 2007-01-17 2012-04-11 セイコーエプソン株式会社 液体噴射装置
JP6111749B2 (ja) * 2013-03-07 2017-04-12 セイコーエプソン株式会社 液体収容体

Also Published As

Publication number Publication date
JP2002234181A (ja) 2002-08-20

Similar Documents

Publication Publication Date Title
JP3581663B2 (ja) インクジェットプリンタ
JP3733662B2 (ja) インクカートリッジ及びそれを用いたインクジェット記録装置
US6592214B2 (en) Ink-jet head, ink-jet head with bubble extracting device, and ink-jet type printing apparatus
JP2003326739A (ja) 画像形成装置及び印字ヘッド交換方法
JP2000141685A (ja) インクジェット式記録装置
JP2870041B2 (ja) インクジェットプリンタ
JP3052432B2 (ja) インクジェットプリンタ
JP2016221783A (ja) 記録装置及びキャップ
JP4738191B2 (ja) インクジェットプリンタ
JP2002178542A (ja) インクジェット記録装置
JP3479507B2 (ja) インクジェットプリンタ
JP2025067677A (ja) 記録装置
JP2002187291A (ja) インクジェット式記録装置、及び、インクジェット式記録装置におけるクリーニング方法
JP2007307785A (ja) インクジェット式画像形成装置およびインク廃液の処理方法
JP3531382B2 (ja) インクジェットプリンタの回復装置
JP2000177146A (ja) インクジェット式記録装置
JPH11254702A (ja) 液体吐出記録装置およびその液体供給方法
JP2002036576A (ja) 液体噴射装置及び同装置におけるヘッドクリーニング方法
JP2003276221A (ja) インクジェットプリンタ
JP2006068978A (ja) インクジェット記録装置
JPH08295029A (ja) インクカートリッジ及び記録装置
JPH10329341A (ja) ライン型インクジェットプリンタ
JP5807335B2 (ja) 液体噴射装置
JPH1199664A (ja) インクジェット方式画像形成装置
JP2006069097A (ja) インクジェット記録装置

Legal Events

Date Code Title Description
A977 Report on retrieval

Free format text: JAPANESE INTERMEDIATE CODE: A971007

Effective date: 20040122

A131 Notification of reasons for refusal

Free format text: JAPANESE INTERMEDIATE CODE: A131

Effective date: 20040203

A521 Written amendment

Free format text: JAPANESE INTERMEDIATE CODE: A523

Effective date: 20040326

A131 Notification of reasons for refusal

Free format text: JAPANESE INTERMEDIATE CODE: A131

Effective date: 20040518

A521 Written amendment

Free format text: JAPANESE INTERMEDIATE CODE: A523

Effective date: 20040621

TRDD Decision of grant or rejection written
A01 Written decision to grant a patent or to grant a registration (utility model)

Free format text: JAPANESE INTERMEDIATE CODE: A01

Effective date: 20040720

A61 First payment of annual fees (during grant procedure)

Free format text: JAPANESE INTERMEDIATE CODE: A61

Effective date: 20040723

R150 Certificate of patent or registration of utility model

Free format text: JAPANESE INTERMEDIATE CODE: R150

FPAY Renewal fee payment (event date is renewal date of database)

Free format text: PAYMENT UNTIL: 20080730

Year of fee payment: 4

FPAY Renewal fee payment (event date is renewal date of database)

Free format text: PAYMENT UNTIL: 20080730

Year of fee payment: 4

FPAY Renewal fee payment (event date is renewal date of database)

Free format text: PAYMENT UNTIL: 20090730

Year of fee payment: 5

FPAY Renewal fee payment (event date is renewal date of database)

Free format text: PAYMENT UNTIL: 20090730

Year of fee payment: 5

FPAY Renewal fee payment (event date is renewal date of database)

Free format text: PAYMENT UNTIL: 20100730

Year of fee payment: 6

FPAY Renewal fee payment (event date is renewal date of database)

Free format text: PAYMENT UNTIL: 20100730

Year of fee payment: 6

FPAY Renewal fee payment (event date is renewal date of database)

Free format text: PAYMENT UNTIL: 20110730

Year of fee payment: 7

FPAY Renewal fee payment (event date is renewal date of database)

Free format text: PAYMENT UNTIL: 20120730

Year of fee payment: 8

FPAY Renewal fee payment (event date is renewal date of database)

Free format text: PAYMENT UNTIL: 20120730

Year of fee payment: 8

FPAY Renewal fee payment (event date is renewal date of database)

Free format text: PAYMENT UNTIL: 20130730

Year of fee payment: 9

LAPS Cancellation because of no payment of annual fees