JP2017196009A - 放射線撮影装置及び放射線撮影システム - Google Patents

放射線撮影装置及び放射線撮影システム Download PDF

Info

Publication number
JP2017196009A
JP2017196009A JP2016087680A JP2016087680A JP2017196009A JP 2017196009 A JP2017196009 A JP 2017196009A JP 2016087680 A JP2016087680 A JP 2016087680A JP 2016087680 A JP2016087680 A JP 2016087680A JP 2017196009 A JP2017196009 A JP 2017196009A
Authority
JP
Japan
Prior art keywords
radiation
time
control unit
charge
waveform information
Prior art date
Legal status (The legal status is an assumption and is not a legal conclusion. Google has not performed a legal analysis and makes no representation as to the accuracy of the status listed.)
Pending
Application number
JP2016087680A
Other languages
English (en)
Inventor
哲 細木
Satoru Hosoki
哲 細木
Current Assignee (The listed assignees may be inaccurate. Google has not performed a legal analysis and makes no representation or warranty as to the accuracy of the list.)
Konica Minolta Inc
Original Assignee
Konica Minolta Inc
Priority date (The priority date is an assumption and is not a legal conclusion. Google has not performed a legal analysis and makes no representation as to the accuracy of the date listed.)
Filing date
Publication date
Application filed by Konica Minolta Inc filed Critical Konica Minolta Inc
Priority to JP2016087680A priority Critical patent/JP2017196009A/ja
Priority to US15/469,257 priority patent/US20170303885A1/en
Publication of JP2017196009A publication Critical patent/JP2017196009A/ja
Pending legal-status Critical Current

Links

Images

Classifications

    • AHUMAN NECESSITIES
    • A61MEDICAL OR VETERINARY SCIENCE; HYGIENE
    • A61BDIAGNOSIS; SURGERY; IDENTIFICATION
    • A61B6/00Apparatus or devices for radiation diagnosis; Apparatus or devices for radiation diagnosis combined with radiation therapy equipment
    • A61B6/42Arrangements for detecting radiation specially adapted for radiation diagnosis
    • A61B6/4208Arrangements for detecting radiation specially adapted for radiation diagnosis characterised by using a particular type of detector
    • A61B6/4233Arrangements for detecting radiation specially adapted for radiation diagnosis characterised by using a particular type of detector using matrix detectors
    • AHUMAN NECESSITIES
    • A61MEDICAL OR VETERINARY SCIENCE; HYGIENE
    • A61BDIAGNOSIS; SURGERY; IDENTIFICATION
    • A61B6/00Apparatus or devices for radiation diagnosis; Apparatus or devices for radiation diagnosis combined with radiation therapy equipment
    • A61B6/40Arrangements for generating radiation specially adapted for radiation diagnosis
    • A61B6/4064Arrangements for generating radiation specially adapted for radiation diagnosis specially adapted for producing a particular type of beam
    • AHUMAN NECESSITIES
    • A61MEDICAL OR VETERINARY SCIENCE; HYGIENE
    • A61BDIAGNOSIS; SURGERY; IDENTIFICATION
    • A61B6/00Apparatus or devices for radiation diagnosis; Apparatus or devices for radiation diagnosis combined with radiation therapy equipment
    • A61B6/44Constructional features of apparatus for radiation diagnosis
    • A61B6/4405Constructional features of apparatus for radiation diagnosis the apparatus being movable or portable, e.g. handheld or mounted on a trolley
    • AHUMAN NECESSITIES
    • A61MEDICAL OR VETERINARY SCIENCE; HYGIENE
    • A61BDIAGNOSIS; SURGERY; IDENTIFICATION
    • A61B6/00Apparatus or devices for radiation diagnosis; Apparatus or devices for radiation diagnosis combined with radiation therapy equipment
    • A61B6/54Control of apparatus or devices for radiation diagnosis
    • AHUMAN NECESSITIES
    • A61MEDICAL OR VETERINARY SCIENCE; HYGIENE
    • A61BDIAGNOSIS; SURGERY; IDENTIFICATION
    • A61B6/00Apparatus or devices for radiation diagnosis; Apparatus or devices for radiation diagnosis combined with radiation therapy equipment
    • A61B6/54Control of apparatus or devices for radiation diagnosis
    • A61B6/542Control of apparatus or devices for radiation diagnosis involving control of exposure
    • AHUMAN NECESSITIES
    • A61MEDICAL OR VETERINARY SCIENCE; HYGIENE
    • A61BDIAGNOSIS; SURGERY; IDENTIFICATION
    • A61B6/00Apparatus or devices for radiation diagnosis; Apparatus or devices for radiation diagnosis combined with radiation therapy equipment
    • A61B6/58Testing, adjusting or calibrating thereof
    • A61B6/582Calibration
    • A61B6/585Calibration of detector units

Landscapes

  • Health & Medical Sciences (AREA)
  • Life Sciences & Earth Sciences (AREA)
  • Medical Informatics (AREA)
  • Engineering & Computer Science (AREA)
  • Physics & Mathematics (AREA)
  • Radiology & Medical Imaging (AREA)
  • Heart & Thoracic Surgery (AREA)
  • Nuclear Medicine, Radiotherapy & Molecular Imaging (AREA)
  • Optics & Photonics (AREA)
  • Pathology (AREA)
  • Biophysics (AREA)
  • Biomedical Technology (AREA)
  • High Energy & Nuclear Physics (AREA)
  • Molecular Biology (AREA)
  • Surgery (AREA)
  • Animal Behavior & Ethology (AREA)
  • General Health & Medical Sciences (AREA)
  • Public Health (AREA)
  • Veterinary Medicine (AREA)
  • Mathematical Physics (AREA)
  • Apparatus For Radiation Diagnosis (AREA)

Abstract

【課題】放射線源の放射線照射時間と放射線撮影装置の電荷蓄積時間のずれによる不都合を抑制する放射線撮影装置を提供する。【解決手段】放射線撮影システム100におけるFPDカセッテ3の制御部によれば、予め調整用にキャリブレーションを行って、放射線源2により照射された放射線に応じた電荷を複数の放射線検出素子の少なくとも一部に蓄積して読み出すことにより放射線源2により照射された放射線の波形情報を取得し、取得した波形情報に基づいて、被写体の複数のフレーム画像を生成する際の制御条件を調整する。【選択図】図1

Description

本発明は、放射線撮影装置及び放射線撮影システムに関する。
近年、放射線源から照射され被写体を透過した放射線に応じた電荷を蓄積する放射線検出素子が二次元状に配列され、放射線検出素子内に蓄積された電荷を読み出して画像データを生成する可搬型の放射線撮影装置(FPD:Flat Panel Detector)を用いた放射線撮影システムが知られている。このような放射線撮影システムでは、放射線撮影装置における電荷蓄積時間(以下、蓄積時間と呼ぶ)に放射線源による放射線照射が行われるように、放射線源において放射線が照射されている時間(放射線照射時間と呼ぶ)と放射線撮影装置における蓄積時間との間で同期をとる必要がある。
しかしながら、放射線撮影装置と放射線源を制御する放射線制御装置との間の通信を無線通信にした場合、そのリアルタイム性に問題があるため、パルス状の放射線を所定時間間隔で照射(パルス照射)して複数のフレーム画像を取得する動画撮影時に、放射線照射毎に放射線制御装置と放射線撮影装置との間で同期通信を行うのでは同期が取れない場合がある。
そこで、例えば、特許文献1には、撮影指示を行う放射線制御装置としてのコンソールに時間を計時する計時部を設けるとともに、FPDを内蔵した電子カセッテに、コンソールの計時部と同期させた時間を計時する計時部を設けて各々計時させるようにし、コンソールで予め定められた曝射開始時間となった場合に放射線源から放射線を所定時間照射させ、電子カセッテで前記曝射開始時間から前記所定時間経過した後にFPDに蓄積した電荷を読み出して放射線画像を示す画像データを生成する技術が記載されている。
特開2010−81960号公報
しかしながら、特許文献1においては、放射線源から出力される放射線の出力特性は考慮されていない。そのため、例えば、放射線源から出力される放射線の波形にゆらぎが発生して蓄積時間内に放射線照射が完了しない場合、蓄積時間外に照射された放射線の影響により画像が劣化してしまうという問題がある。また、蓄積時間に対して放射線源から出力される放射線の波形周期が短い場合には、無駄に撮影時間が長くなってしまうという問題がある。
本発明の課題は、放射線源の放射線照射時間と放射線撮影装置の電荷蓄積時間のずれによる不都合を抑制することである。
上記課題を解決するため、請求項1に記載の発明は、
放射線量に応じた電荷を蓄積する複数の放射線検出素子が二次元状に配列された検出部と、
放射線源によりパルス照射され被写体を透過した放射線量に応じた電荷の前記放射線検出素子による蓄積及び前記蓄積された電荷の前記放射線検出素子からの読み出しを制御して前記被写体の複数のフレーム画像を生成する制御部と、を備える可搬型の放射線撮影装置であって、
前記制御部は、予め調整用に前記放射線源により照射された放射線に応じた電荷を前記複数の放射線検出素子の少なくとも一部に蓄積して読み出すことにより前記放射線源により照射された放射線の波形情報を取得し、取得した波形情報に基づいて、前記被写体の複数のフレーム画像を生成する際の制御条件を調整する。
請求項2に記載の発明は、請求項1に記載の発明において
前記制御部は、前記取得した波形情報に基づいて、前記放射線検出素子による電荷蓄積時間を調整する。
請求項3に記載の発明は、請求項2に記載の発明において
前記制御部は、前記取得した波形情報に基づいて、前記放射線源による放射線照射時間を特定し、特定した放射線照射時間に対して前記電荷蓄積時間が長い場合、前記放射線照射時間に合わせて前記電荷蓄積時間を短縮する。
請求項4に記載の発明は、請求項2に記載の発明において
前記制御部は、前記取得した波形情報に基づいて、前記放射線源による放射線照射時間を特定し、特定した放射線照射時間に対して前記電荷蓄積時間が短い場合、前記放射線照射時間に合わせて前記電荷蓄積時間を延長する。
請求項5に記載の発明は、請求項1に記載の発明において
前記制御部は、前記取得した波形情報に基づいて、前記放射線検出素子の複数ラインのうち、前記被写体の複数のフレーム画像の生成時における電荷読み出し時に放射線が照射されるラインを特定し、当該特定したラインに対する画像補正係数を調整し、前記被写体の複数のフレーム画像のうち2フレーム目以降に生成される画像データについては、当該画像データから一つ前のフレーム画像の画像データの前記特定されたラインに前記画像補正係数をかけた画像データを減算する。
請求項6に記載の発明の放射線撮影システムは、
パルス照射が可能な放射線源と、請求項1〜5の何れか一項に記載の放射線撮影装置と、を備える。
本発明によれば、放射線源の放射線照射時間と放射線撮影装置の電荷蓄積時間のずれによる不都合を抑制することができる。
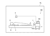
放射線撮影システムの全体構成例を示す図である。 放射線制御装置の機能的構成を示すブロック図である。 FPDカセッテの機能的構成を示すブロック図である。 (a)は、第1の実施形態におけるキャリブレーション時のFPDカセッテの動作、読み出し電荷量、放射線管電圧の例を示す図、(b)は、第1の実施形態における撮影時のFPDカセッテの動作、放射線管電圧の例を示す図である。 (a)は、第2の実施形態におけるキャリブレーション時のFPDカセッテの動作、読み出し電荷量、放射線管電圧の例を示す図、(b)は、第2の実施形態における撮影時のFPDカセッテの動作、放射線管電圧の例を示す図である。 画像補正係数の一例を示す図である。
<第1の実施形態>
(放射線撮影システム100の構成)
まず、本発明に係る第1の実施形態の構成について説明する。
図1に、本実施形態における放射線撮影システム100の全体構成例を示す。
放射線撮影システム100は、例えば、移動が困難な患者の放射線撮影のための回診用のシステムであり、放射線制御装置1と、放射線源2と、FPD(Flat Panel Detector
)カセッテ3と、を備えて構成されている。放射線制御装置1は、車輪を有し、移動可能な回診車として構成されている。
放射線撮影システム100は、図1に示すように、手術室、集中治療室や病室Rc等に持ち込まれ、FPDカセッテ3を、例えばベッドBに寝ている被写体HとベッドBとの間もしくは、図示しないベッドBの被写体Hとは反対面に設けられた挿入口に差し込む等した状態で、放射線源2から放射線を照射して、被写体Hの動画撮影を行うシステムである。本実施形態において、動画撮影とは、1回の撮影操作(曝射スイッチ102aの操作)に応じて、被写体Hに対しX線等の放射線をパルス状にして所定時間間隔で繰り返し照射(パルス照射)して動画像を得ることをいう。動画撮影より得られた一連の画像を動画像と呼ぶ。また、動画像を構成する複数の画像のそれぞれをフレーム画像と呼ぶ。
以下、放射線撮影システム100を構成する各装置について説明する。
放射線制御装置1は、入力された放射線照射条件に基づいて放射線源2を制御して放射線を照射させる装置であり、図2に示すように、制御部101、操作部102、表示部103、記憶部104、駆動部105、無線通信部106、水晶発振子107等を備えて構成されている。
制御部101は、CPU(Central Processing Unit)、RAM(Random Access Memory)等により構成される。制御部101のCPUは、操作部102の操作に応じて、記憶部104に記憶されているシステムプログラムや各種処理プログラムを読み出してRAM内に展開し、展開されたプログラムに従って、放射線制御装置1の各部の動作を制御する。
操作部102は、表示部103の表面を覆うように透明電極を格子状に配置したタッチパネル等を有し、手指やタッチペン等で押下された位置を検出し、その位置情報を操作情報として制御部101に出力する。
また、操作部102は、撮影実施者が放射線の曝射を指示するための曝射スイッチ102aを備える。曝射スイッチ102aは、2段階スイッチとなっている。
表示部103は、LCD(Liquid Crystal Display)やCRT(Cathode Ray Tube)等のモニタにより構成され、制御部101から入力される表示信号の指示に従って表示を行う。
記憶部104は、不揮発性の半導体メモリーやハードディスク等により構成される。記憶部104は、制御部101で実行される各種プログラムやプログラムにより処理の実行に必要なパラメーター、或いは処理結果等のデータを記憶する。
駆動部105は、放射線源2の管球駆動を行う回路である。駆動部105と放射線源2とはケーブルを介して接続されている。
無線通信部106は、アンテナ108を備え、FPDカセッテ3等の外部機器と無線通信を行う。
水晶発振子107は、圧電効果により発振する素子であり、その発振数は制御部101のCPUに入力される。制御部101は、水晶発振子107から入力される発振数に基づいて、時刻を計時する。
放射線源2は、パルス照射が可能であり、放射線制御装置1の制御に従って、被写体Hに対し放射線(X線)を照射する。
FPDカセッテ3は、動画撮影対応の可搬型の放射線撮影装置である。以下、FPDカセッテ3は、シンチレーター等を備え、照射された放射線をシンチレーターで可視光等の他の波長の光に変換して放射線検出素子で画像データを得るいわゆる間接型として説明するが、シンチレーター等を介さずに放射線を放射線検出素子で直接検出する、いわゆる直接型としてもよい。
図3は、FPDカセッテ3の等価回路を表すブロック図である。図3に示すように、FPDカセッテ3には、図示しないセンサー基板上に複数の放射線検出素子7が二次元状(マトリクス状)に配列されている(検出部)。各放射線検出素子7は、照射された放射線の線量に応じた電荷を蓄積するようになっている。各放射線検出素子7には、バイアス線9が接続されており、バイアス線9は結線10に接続されている。そして、結線10はバイアス電源14に接続されており、バイアス電源14からバイアス線9等を介して各放射線検出素子7に逆バイアス電圧が印加されるようになっている。
各放射線検出素子7には、薄膜トランジスター(Thin Film Transistor。以下、TFTという。)8がスイッチ素子として接続されており、TFT8は信号線6に接続されている。また、走査駆動部15では、配線15cを介して電源回路15aから供給されたオン電圧とオフ電圧がゲートドライバー15bで切り替えられて走査線5の各ラインL0〜Lxに印加されるようになっている。そして、各TFT8は、走査線5を介してオン電圧が印加されるとオン状態になって、放射線検出素子7内に蓄積された電荷を信号線6に放出させ、また、走査線5を介してオフ電圧が印加されるとオフ状態になって、放射線検出素子7と信号線6との導通を遮断して、放射線検出素子7内で発生した電荷を放射線検出素子7内に蓄積させるようになっている。各放射線検出素子7及びこれに接続されたTFT8は、ピクセル(画素)を構成している。
読み出しIC16内には複数の読み出し回路17が設けられており、読み出し回路17にはそれぞれ信号線6が接続されている。そして、画像データの読み出し処理の際には、放射線検出素子7から電荷が放出されると、電荷は信号線6を介して読み出し回路17に流れ込み、増幅回路18では流れ込んだ電荷の量に応じた電圧値が出力される。そして、相関二重サンプリング回路(図3では「CDS」と記載されている。)19は、増幅回路18から出力された電圧値をアナログ値の画像データとして読み出して下流側に出力する。そして、出力された画像データはアナログマルチプレクサー21を介してA/D変換器20に順次送信され、A/D変換器20でデジタル値の画像データに順次変換され、記憶部23に出力されて順次保存されるようになっている。
制御部22は、図示しないCPU(Central Processing Unit)やROM(Read Only Memory)、RAM(Random Access Memory)、入出力インターフェース等がバスに接続されたコンピューターや、FPGA(Field Programmable Gate Array)等で構成されている。専用の制御回路で構成されていてもよい。制御部22には、SRAM(Static RAM)やSDRAM(Synchronous DRAM)、NAND型フラッシュメモリー等で構成される記憶部23が接続されており、また、アンテナ29を介して放射線制御装置1等の外部機器と無線方式で通信を行う無線通信部30が接続されている。放射線制御装置1とFPDカセッテ3の通信は無線により行われるため、回診での撮影時に放射線制御装置1とFPDカセッテ3をケーブル等で接続する必要がなく、利便性が良い。
また、制御部22には、走査駆動部15や読み出し回路17、記憶部23、バイアス電源14等の各機能部に必要な電力を供給する内蔵電源24等が接続されている。そして、制御部22は、上記のように走査駆動部15や読み出し回路17等の動作を制御して、各放射線検出素子7に放射線量に応じた電荷を蓄積させたり、蓄積された電荷を信号線6に放出させ、放出された電荷を読み出し回路17等で画像データとして読み出したりするようになっている。
更に、制御部22には、水晶発振子25が接続されている。水晶発振子25は、圧電効果により発振する素子であり、その発振数は制御部22のCPUに入力される。制御部22は、水晶発振子25から入力される発振数に基づいて、時刻を計時する。放射線制御装置1とFPDカセッテ3は時刻の同期がとられている。
なお、FPDカセッテ3は、放射線技師等の撮影実施者が持参してもよいが、FPDカセッテ3は比較的重く、落下すると壊れたり故障したりする可能性があるため、回診車としての放射線制御装置1に設けられたカセッテ用のポケット11に挿入されて搬送できるようになっている。
(放射線撮影システム100の動作)
次に、放射線撮影システム100における動作について説明する。
本実施形態の放射線撮影システム100においては、例えば、当該システムの設置時(施設導入時)等において、キャリブレーションが行われる。ここでいうキャリブレーションとは、予め調整用に放射線源2から照射された放射線に応じた電荷を複数の放射線検出素子7の少なくとも一部に蓄積して読み出すことによりFPDカセッテ3において放射線源2から照射された放射線の波形情報を取得し、取得した波形情報に基づいて、FPDカセッテ3において被写体の複数のフレーム画像を生成する際の制御条件を調整することをいう。放射線の波形情報(放射線出力波形情報)は、放射線の波形を特定する情報であり、例えば、放射線検出素子7が読み出しを完了したタイミングから次に読み出すタイミングまでの間に放射線源2から照射された放射線量の積分値に比例する電荷量である。
図4(a)に、キャリブレーション時のFPDカセッテ3の動作、読み出し電荷量、放射線管電圧を示す。図4(a)に示すように、キャリブレーション時において、放射線源2は、予め設定された放射線照射条件で放射線を照射する。FPDカセッテ3は、予め設定されたキャリブレーション時間、二次元状に配列された放射線検出素子7のうちの一部(ここでは、一ラインとする)における予め設定された短時間の電荷の蓄積及び読み出しを繰り返し、キャリブレーション時間に放射線源2から照射された放射線の波形情報を取得する。そして、取得された波形情報に基づいて、被写体の複数のフレーム画像を生成する際の制御条件を調整する。
以下、放射線撮影システム100におけるキャリブレーションの流れについて詳細に説明する。
まず、撮影実施者は、操作部102を介して放射線制御装置1にキャリブレーションの実行を指示する。
次いで、撮影実施者は、曝射スイッチ102aの第1段スイッチを押下する。放射線制御装置1の制御部101は、曝射スイッチ102aの第1段スイッチが押下されると、放射線源2を起動させるとともに、無線通信部106によりアンテナ108を介してFPDカセッテ3に起動信号及びキャリブレーション指示信号を送信する。FPDカセッテ3の制御部22は、無線通信部30により起動信号及びキャリブレーション指示信号を受信すると、走査駆動部15のゲートドライバー15b(図3参照)から走査線5のキャリブレーションに使用する所定ライン(以下、所定ラインと呼ぶ)にオン電圧を印加させ、所定ラインの放射線検出素子7内に残存する電荷を信号線6に放出させる等して除去するリセット処理を行う。リセット処理が終了すると、制御部22は、ゲートドライバー15bから走査線5の所定ラインにオフ電圧を印加させて電荷蓄積状態に移行させる。また、それとともに無線通信部30により放射線制御装置1にインターロック解除信号を送信する。
曝射スイッチ102aの第2段スイッチが押下されると、放射線制御装置1の制御部101は、無線通信部106によりFPDカセッテ3からのインターロック解除信号が受信されたか否かを判断し、受信されていないと判断した場合、インターロック解除信号の受信を待機する。インターロック解除信号を受信すると、制御部101は、無線通信部106によりFPDカセッテ3に調整用の放射線照射開始時刻を通知する。そして、制御部101は、放射線照射開始時刻が到来すると、駆動部105により放射線源2に予め設定された放射線照射条件で放射線照射を行わせる。
FPDカセッテ3において、制御部22は、放射線制御装置1から通知された放射線照射開始時刻が到来すると、所定時間間隔でゲートドライバー15bから走査線5の所定ラインにオン電圧を印加させて所定ラインに蓄積された電荷の読み出し処理を行う。制御部22は、図4(a)に示すように、所定のサンプリング時間の間、短時間の蓄積と所定ラインの読み出し処理を繰り返す。なお、サンプリング時間は、予め定められている蓄積時間(初期値)よりも長い期間であることが好ましい。サンプリング時間が経過すると、制御部22は、所定時間間隔で読み出した電荷量の時間変化に基づいて、放射線源2の放射線出力波形情報を取得する。そして、取得した波形情報に基づいて、蓄積時間を調整する。
例えば、制御部22は、放射線源2の放射線出力波形情報に基づいて、放射線源2による放射線照射時間(放射線照射開始時刻から放射線が検出されなくなるまでの時間)を特定し、図4(a)に示すように、特定した放射線照射時間に対して蓄積時間(初期値)が長い場合、図4(b)に示すように、放射線照射時間に合わせて蓄積時間を短縮する。これにより、全体の撮影時間を短縮することができる。また、最大フレームレートの向上を図ることができる。一方、特定した放射線照射時間に対して蓄積時間(初期値)が短い場合、制御部22は、放射線照射時間に合わせて蓄積時間を延長する。これにより、放射線照射が読み出し時間にかかってしまい、その余分な放射線照射により次のフレーム画像の画像が劣化してしまうことを防止することができる。
制御部22は、調整後の蓄積時間を撮影時の蓄積時間として設定し、記憶部23に記憶させる。
次に、放射線撮影システム100における撮影の流れについて詳細に説明する。
まず、撮影実施者は、放射線照射条件の調整、被写体H、放射線源2、FPDカセッテ3のポジショニング等の撮影準備を行う。
撮影準備が完了すると、撮影実施者は、曝射スイッチ102aの第1段スイッチを押下する。放射線制御装置1の制御部101は、曝射スイッチ102aの第1段スイッチが押下されると、放射線源2を起動させるとともに、無線通信部106によりアンテナ108を介してFPDカセッテ3に起動信号を送信する。FPDカセッテ3の制御部22は、無線通信部30により起動信号を受信すると、走査駆動部15のゲートドライバー15b(図3参照)から走査線5の各ラインL0〜Lxにオン電圧を順次印加させ、放射線検出素子7内に残存する電荷を信号線6に放出させる等して放射線検出素子7内から除去するリセット処理を行う。リセット処理が終了すると、制御部22は、ゲートドライバー15bから走査線5の各ラインL0〜Lxにオフ電圧を印加させて電荷蓄積状態に移行させる。また、それとともに無線通信部30により放射線制御装置1にインターロック解除信号を送信する。
曝射スイッチ102aの第2段スイッチが押下されると、放射線制御装置1の制御部101は、無線通信部106によりFPDカセッテ3からのインターロック解除信号が受信されたか否かを判断し、受信していないと判断した場合、インターロック解除信号の受信を待機する。インターロック解除信号を受信すると、制御部101は、各フレーム画像の放射線照射開始時刻を無線通信部106によりFPDカセッテ3に送信する。放射線照射開始時刻が到来すると、制御部101は、駆動部105により放射線源2に放射線照射(パルス照射)を行わせる。
FPDカセッテ3において、無線通信部30により放射線制御装置1から放射線照射開始時刻を受信すると、制御部22は、放射線照射開始時刻を待機する。放射線照射開始時刻が到来すると、制御部22は、放射線検出素子7に記憶部23に設定されている蓄積時間、電荷の蓄積を行わせた後、ゲートドライバー15bから走査線5の各ラインL0〜Lxにオン電圧を順次印加させて前述したようにフレーム画像の画像データの読み出し処理を行う。
制御部22は、全てのフレーム画像に対する上述の蓄積及び読み出し処理を繰り返し実行し、被写体Hの動画像を構成する複数のフレーム画像を生成する。
このように、FPDカセッテ3の制御部22は、キャリブレーションで取得した放射線源2の放射線出力波形情報に基づいて、蓄積時間を調整する。従って、例えば、キャリブレーションにおいて、図4(a)に示すように、放射線照射時間に対し蓄積時間(初期値)が長かった場合、放射線照射時間に合わせて短縮された蓄積時間が撮影時の蓄積時間として設定されるので、全体の撮影時間を短縮することができる。また、最大フレームレートの向上等を図ることができる。また、キャリブレーションにおいて、放射線照射時間に対して蓄積時間(初期値)が短かった場合、放射線照射時間に合わせて延長された蓄積時間が撮影時の蓄積時間として設定されるので、蓄積時間外の余分な放射線照射による画像の劣化を防止することができる。
<第2の実施形態>
次に、第2の実施形態について説明する。
第1の実施形態においては、放射線撮影システム100の設置時等に、予めキャリブレーションを行って放射線源2の放射線出力波形情報を取得し、取得した波形情報に基づいて、蓄積時間を調整する場合について説明した。第2の実施形態においては、放射線撮影システム100の設置時等に、予めキャリブレーションを行って放射線源2の放射線出力波形情報を取得し、取得した波形情報に基づいて画像補正係数を調整し、撮影時には調整した画像補正係数でフレーム画像を補正する場合を例にとり説明する。
第2の実施形態における放射線撮影システムの構成は、第1の実施形態で説明した放射線撮影システム100と同様であるので説明を援用する。また、キャリブレーションの流れについても、FPDカセッテ3の制御部22において放射線源2の放射線出力波形情報を取得するまでの処理については第1の実施形態で説明したものと同様であるので説明を援用する。
キャリブレーションにおいて、放射線源2の放射線出力波形情報を取得すると、FPDカセッテ3の制御部22は、取得した放射線出力波形情報に基づいて、画像補正係数を調整する。
具体的に、制御部22は、取得した放射線出力波形情報に基づいて、キャリブレーションにおいて蓄積時間外の読み出しで検出された電荷量及びその電荷量が検出された時間を特定し、特定した電荷量及び時間に基づいて、撮影における電荷読み出し時に放射線照射が行われるライン及び照射される放射線に応じた電荷量を特定する。そして、特定されたライン及び電荷量に基づいて、各ラインの画像補正係数α(y)を決定し、記憶部23に記憶させる。
例えば、図5(a)、(b)に示す例では、キャリブレーションにより取得された放射線出力波形情報に基づいて、撮影時の電荷読み出し時に放射線照射が行われるラインがラインL0〜ラインL2であることが特定される。そして、キャリブレーションにおいて蓄積時間外に検出された電荷量に基づいて、各ラインL0〜Lxの画像補正係数α(y)が決定され、図6に示すように、ライン番号(y)と、そのラインのキャリブレーション時の電荷量と、決定されたα(y)が対応付けて記憶部23に記憶される。
次に、第2の実施形態における撮影の流れについて詳細に説明する。
まず、撮影実施者は、放射線照射条件の調整、被写体H、放射線源2、FPDカセッテ3のポジショニング等の撮影準備を行う。
撮影準備が完了すると、撮影実施者は、曝射スイッチ102aの第1段スイッチを押下する。放射線制御装置1の制御部101は、曝射スイッチ102aの第1段スイッチが押下されると、放射線源2を起動させるとともに、無線通信部106によりアンテナ108を介してFPDカセッテ3に起動信号を送信する。FPDカセッテ3の制御部22は、無線通信部30により起動信号を受信すると、走査駆動部15のゲートドライバー15b(図3参照)から走査線5の各ラインL0〜Lxにオン電圧を順次印加させ、放射線検出素子7内に残存する電荷を信号線6に放出させる等して放射線検出素子7内から除去するリセット処理を行う。リセット処理が終了すると、制御部22は、ゲートドライバー15bから走査線5の各ラインL0〜Lxにオフ電圧を印加させて電荷蓄積状態に移行させる。また、それとともに無線通信部30により放射線制御装置1にインターロック解除信号を送信する。
曝射スイッチ102aの第2段スイッチが押下されると、放射線制御装置1の制御部101は、無線通信部106によりFPDカセッテ3からのインターロック解除信号が受信されたか否かを判断し、受信されていないと判断した場合、インターロック解除信号の受信を待機する。インターロック解除信号を受信すると、制御部101は、各フレーム画像の放射線照射開始時刻を無線通信部106によりFPDカセッテ3に送信する。放射線照射開始時刻が到来すると、制御部101は、駆動部105により放射線源2に放射線照射(パルス照射)を行わせる。
FPDカセッテ3において、無線通信部30により放射線制御装置1からの放射線照射開始時刻を受信すると、制御部22は、放射線照射開始時刻を待機する。放射線照射開始時刻が到来すると、制御部22は、放射線検出素子7に蓄積時間だけ蓄積を行わせた後、ゲートドライバー15bから走査線5の各ラインL0〜Lxにオン電圧を順次印加させて前述したようにフレーム画像の画像データの読み出し処理を行う。2フレーム目以降については、各ラインの画像データを読み出した後、以下の(式1)に示すように、一つ前のフレーム画像の画像データにキャリブレーションで決定された画像補正係数α(y)をかけて読み出した画像データから減算する。
dout(x,y,t)=din(x,y,t)−α(y)×din(x,y,t−1)
・・・(式1)
ここで、dout(x,y,t):時刻tでの座標(x,y)での補正後画像データ
din(x,y,t):時刻tでの座標(x,y)での読み出し画像データ
なお、撮影時の電荷読み出し時に放射線照射が行われないラインについては、画像補正係数α(y)は0であり、実質的に補正(減算)は行われない。
このように、蓄積時間より放射線照射時間が長く、読み出し時間に放射線照射が行われてしまう場合に、上記処理により、読み出し時に照射された放射線による画像劣化を抑制することができる。
以上説明したように、放射線撮影システム100におけるFPDカセッテ3の制御部22によれば、予め調整用にキャリブレーションを行って、放射線源2により照射された放射線に応じた電荷を複数の放射線検出素子7の少なくとも一部に蓄積して読み出すことにより放射線源2により照射された放射線の波形情報を取得し、取得した波形情報に基づいて、被写体の複数のフレーム画像を生成する際の制御条件を調整する。
例えば、制御部22は、キャリブレーションにより取得した波形情報に基づいて、放射線源2による放射線照射時間を特定し、特定した放射線照射時間に対して電荷蓄積時間が長い場合、放射線照射時間に合わせて電荷蓄積時間を短縮する。従って、放射線源2の放射線出力特性によって生じる放射線照射時間と電荷蓄積時間のずれによる不都合、例えば、撮影時間が無駄に長くなることを抑制することができる。
また、例えば、制御部22は、キャリブレーションにより取得した波形情報に基づいて、放射線源2による放射線照射時間を特定し、特定した放射線照射時間に対して電荷蓄積時間が短い場合、放射線照射時間に合わせて電荷蓄積時間を延長する。従って、放射線源2の放射線出力特性によって生じる放射線照射時間と電荷蓄積時間のずれによる不都合、例えば、電荷読み出し時に放射線が照射されてしまうことによる画像劣化を抑制することができる。
また、例えば、制御部22は、取得した波形情報に基づいて、放射線検出素子7の複数ラインのうち、被写体の複数のフレーム画像の生成時における電荷読み出し時に放射線が照射されるラインを特定し、当該特定したラインに対する画像補正係数を調整し、被写体の複数のフレーム画像のうち2フレーム目以降に生成される画像データについては、当該画像データから一つ前のフレーム画像の画像データの特定されたラインに画像補正係数をかけた画像データを減算する。従って、放射線源2の放射線出力特性によって生じる放射線照射時間と電荷蓄積時間のずれによる不都合、例えば、電荷読み出し時に放射線が照射されてしまうことによる画像劣化を抑制することができる。
なお、上記実施形態における記述内容は、本発明の好適な一例であり、これに限定されるものではない。
例えば、上記実施形態においては、キャリブレーション時に一ライン分の電荷の蓄積と読み出しを繰り返すこととしたが、これに限定されず、例えば、複数ラインとしてもよいし、複数ピクセルとしてもよい。
その他、放射線撮影システムを構成する各装置の細部構成及び細部動作に関しても、本発明の趣旨を逸脱することのない範囲で適宜変更可能である。
100 放射線撮影システム
1 放射線制御装置
101 制御部
102 操作部
102a 曝射スイッチ
103 表示部
104 記憶部
105 駆動部
106 無線通信部
107 水晶発振子
108 アンテナ
2 放射線源
3 FPDカセッテ
5 走査線
6 信号線
7 放射線検出素子
8 TFT
9 バイアス線
10 結線
14 バイアス電源
15 走査駆動部
16 読み出しIC
17 読み出し回路
18 増幅回路
19 相関二重サンプリング回路
20 A/D変換器
21 アナログマルチプレクサー
22 制御部
23 記憶部
24 内蔵電源
25 水晶発振子
29 アンテナ
30 無線通信部

Claims (6)

  1. 放射線量に応じた電荷を蓄積する複数の放射線検出素子が二次元状に配列された検出部と、
    放射線源によりパルス照射され被写体を透過した放射線量に応じた電荷の前記放射線検出素子による蓄積及び前記蓄積された電荷の前記放射線検出素子からの読み出しを制御して前記被写体の複数のフレーム画像を生成する制御部と、を備える可搬型の放射線撮影装置であって、
    前記制御部は、予め調整用に前記放射線源により照射された放射線に応じた電荷を前記複数の放射線検出素子の少なくとも一部に蓄積して読み出すことにより前記放射線源により照射された放射線の波形情報を取得し、取得した波形情報に基づいて、前記被写体の複数のフレーム画像を生成する際の制御条件を調整する放射線撮影装置。
  2. 前記制御部は、前記取得した波形情報に基づいて、前記放射線検出素子による電荷蓄積時間を調整する請求項1に記載の放射線撮影装置。
  3. 前記制御部は、前記取得した波形情報に基づいて、前記放射線源による放射線照射時間を特定し、特定した放射線照射時間に対して前記電荷蓄積時間が長い場合、前記放射線照射時間に合わせて前記電荷蓄積時間を短縮する請求項2に記載の放射線撮影装置。
  4. 前記制御部は、前記取得した波形情報に基づいて、前記放射線源による放射線照射時間を特定し、特定した放射線照射時間に対して前記電荷蓄積時間が短い場合、前記放射線照射時間に合わせて前記電荷蓄積時間を延長する請求項2に記載の放射線撮影装置。
  5. 前記制御部は、前記取得した波形情報に基づいて、前記放射線検出素子の複数ラインのうち、前記被写体の複数のフレーム画像の生成時における電荷読み出し時に放射線が照射されるラインを特定し、当該特定したラインに対する画像補正係数を調整し、前記被写体の複数のフレーム画像のうち2フレーム目以降に生成される画像データについては、当該画像データから一つ前のフレーム画像の画像データの前記特定されたラインに前記画像補正係数をかけた画像データを減算する請求項1に記載の放射線撮影装置。
  6. パルス照射が可能な放射線源と、請求項1〜5の何れか一項に記載の放射線撮影装置と、を備える放射線撮影システム。
JP2016087680A 2016-04-26 2016-04-26 放射線撮影装置及び放射線撮影システム Pending JP2017196009A (ja)

Priority Applications (2)

Application Number Priority Date Filing Date Title
JP2016087680A JP2017196009A (ja) 2016-04-26 2016-04-26 放射線撮影装置及び放射線撮影システム
US15/469,257 US20170303885A1 (en) 2016-04-26 2017-03-24 Radiographic capturing apparatus and radiographic capturing system

Applications Claiming Priority (1)

Application Number Priority Date Filing Date Title
JP2016087680A JP2017196009A (ja) 2016-04-26 2016-04-26 放射線撮影装置及び放射線撮影システム

Publications (1)

Publication Number Publication Date
JP2017196009A true JP2017196009A (ja) 2017-11-02

Family

ID=60089234

Family Applications (1)

Application Number Title Priority Date Filing Date
JP2016087680A Pending JP2017196009A (ja) 2016-04-26 2016-04-26 放射線撮影装置及び放射線撮影システム

Country Status (2)

Country Link
US (1) US20170303885A1 (ja)
JP (1) JP2017196009A (ja)

Families Citing this family (2)

* Cited by examiner, † Cited by third party
Publication number Priority date Publication date Assignee Title
JP6972810B2 (ja) * 2017-09-12 2021-11-24 コニカミノルタ株式会社 放射線制御装置
JP2022182028A (ja) * 2021-05-27 2022-12-08 キヤノン株式会社 放射線撮影装置、放射線検出器、および放射線撮影装置の制御装置

Citations (7)

* Cited by examiner, † Cited by third party
Publication number Priority date Publication date Assignee Title
JP2006122667A (ja) * 2004-10-01 2006-05-18 Canon Inc 放射線撮影装置及びその方法並びにプログラム
JP2009014675A (ja) * 2007-07-09 2009-01-22 Canon Inc 撮影制御装置及びその制御方法、並びに、プログラム
JP2011185800A (ja) * 2010-03-10 2011-09-22 Konica Minolta Medical & Graphic Inc 放射線画像撮影装置および放射線画像撮影システム
JP2012029920A (ja) * 2010-07-30 2012-02-16 Canon Inc X線撮影装置及び測定方法
JP2012244607A (ja) * 2011-05-24 2012-12-10 Canon Inc 撮像装置及びその制御方法、並びに、撮像システム
WO2013015351A1 (ja) * 2011-07-26 2013-01-31 富士フイルム株式会社 放射線画像検出装置及びその制御方法
US20150078530A1 (en) * 2013-09-18 2015-03-19 Carestream Health, Inc. Digital radiography detector image readout process

Family Cites Families (23)

* Cited by examiner, † Cited by third party
Publication number Priority date Publication date Assignee Title
JPH07220056A (ja) * 1993-11-26 1995-08-18 Philips Electron Nv 画像合成方法及び同方法を遂行する画像装置
JP3950665B2 (ja) * 2001-10-23 2007-08-01 キヤノン株式会社 放射線撮像装置及び放射線撮像装置の撮像方法
JP4659341B2 (ja) * 2003-06-23 2011-03-30 キヤノン株式会社 X線撮影装置
US7302039B2 (en) * 2005-02-24 2007-11-27 Canon Kabushiki Kaisha Radiography apparatus, radiography system, and control method thereof
EP1892953B1 (en) * 2006-08-22 2009-06-17 Konica Minolta Medical & Graphic, Inc. X-Ray image processing system
JP5063227B2 (ja) * 2007-07-09 2012-10-31 キヤノン株式会社 撮影制御装置及びその制御方法、並びに、プログラム
JP2010005212A (ja) * 2008-06-27 2010-01-14 Canon Inc 放射線撮像装置、その制御方法及び放射線撮像システム
JP5335313B2 (ja) * 2008-08-05 2013-11-06 キヤノン株式会社 X線画像撮影装置、x線画像撮影システム、x線撮影制御装置、制御方法及びプログラム
JP2010075677A (ja) * 2008-08-28 2010-04-08 Fujifilm Corp 放射線画像撮影装置、及び画像処理装置
JP2010081960A (ja) * 2008-09-29 2010-04-15 Fujifilm Corp 放射線画像撮影システム
JP5517484B2 (ja) * 2009-05-01 2014-06-11 キヤノン株式会社 撮像装置及び撮像システム、それらの制御方法及びそのプログラム
JP2011067333A (ja) * 2009-09-25 2011-04-07 Fujifilm Corp 放射線画像撮影装置及び撮影制御装置
KR101094180B1 (ko) * 2009-11-10 2011-12-14 주식회사바텍 파노라마 영상 획득 방법 및 장치
CN102985008B (zh) * 2010-05-26 2015-04-08 株式会社岛津制作所 X射线摄影装置
EP2604187A4 (en) * 2010-07-14 2016-09-07 Univ Tohoku SIGNAL PROCESSING DEVICE, SIGNAL PROCESSING PROGRAM, AND COMPUTER READABLE RECORDING MEDIUM WITH THE SIGNAL PROGRAMMING PROGRAM RECORDED THEREFROM
JP5672147B2 (ja) * 2011-05-24 2015-02-18 コニカミノルタ株式会社 胸部診断支援情報生成システム
EP2716222A4 (en) * 2011-05-30 2014-11-26 Fujifilm Corp METHOD AND DEVICE FOR DETECTING A BEAM EXPOSURE LEVEL AND X-RAY IMAGING SYSTEM
WO2013015350A1 (ja) * 2011-07-26 2013-01-31 富士フイルム株式会社 放射線撮影装置及びその制御方法、並びに放射線画像検出装置
JP5593338B2 (ja) * 2012-01-30 2014-09-24 富士フイルム株式会社 放射線照射開始判定装置、放射線画像撮影装置、放射線画像撮影制御装置、放射線照射開始判定方法、及び放射線照射開始判定プログラム
US20130279656A1 (en) * 2012-04-19 2013-10-24 Canon Kabushiki Kaisha Radiation imaging apparatus, radiation imaging system, method of controlling radiation imaging apparatus and storage medium
JP2014016343A (ja) * 2012-06-13 2014-01-30 Canon Inc 放射線画像撮像装置、放射線画像撮像方法及びプログラム
US20140361189A1 (en) * 2013-06-05 2014-12-11 Canon Kabushiki Kaisha Radiation imaging system
JP6050206B2 (ja) * 2013-09-17 2016-12-21 富士フイルム株式会社 放射線撮影システム及び通信環境制御装置

Patent Citations (7)

* Cited by examiner, † Cited by third party
Publication number Priority date Publication date Assignee Title
JP2006122667A (ja) * 2004-10-01 2006-05-18 Canon Inc 放射線撮影装置及びその方法並びにプログラム
JP2009014675A (ja) * 2007-07-09 2009-01-22 Canon Inc 撮影制御装置及びその制御方法、並びに、プログラム
JP2011185800A (ja) * 2010-03-10 2011-09-22 Konica Minolta Medical & Graphic Inc 放射線画像撮影装置および放射線画像撮影システム
JP2012029920A (ja) * 2010-07-30 2012-02-16 Canon Inc X線撮影装置及び測定方法
JP2012244607A (ja) * 2011-05-24 2012-12-10 Canon Inc 撮像装置及びその制御方法、並びに、撮像システム
WO2013015351A1 (ja) * 2011-07-26 2013-01-31 富士フイルム株式会社 放射線画像検出装置及びその制御方法
US20150078530A1 (en) * 2013-09-18 2015-03-19 Carestream Health, Inc. Digital radiography detector image readout process

Also Published As

Publication number Publication date
US20170303885A1 (en) 2017-10-26

Similar Documents

Publication Publication Date Title
JP6668717B2 (ja) 放射線撮影装置及び放射線撮影システム
CN103841891B (zh) 放射线摄影系统及其控制方法以及放射线图像检测装置
JP6056380B2 (ja) 放射線画像撮影システム
JP5866814B2 (ja) 放射線画像撮影システムおよび放射線画像撮影装置
JP5799725B2 (ja) 放射線画像撮影システムおよび放射線画像撮影装置
JP2020031961A (ja) 放射線画像撮影システム
JP2013141484A (ja) 放射線画像撮影システム
JP2017196009A (ja) 放射線撮影装置及び放射線撮影システム
JP2011117930A (ja) 放射線画像形成装置及び放射線画像形成方法
US10973490B2 (en) Radiation image photographing apparatus and radiation image photographing system for radiation image photographing process and dark image acquiring process
JP7424409B2 (ja) 放射線撮影装置
JP5799750B2 (ja) 放射線画像撮影システムおよび放射線画像撮影装置
JP6455337B2 (ja) 放射線画像撮影システムおよび放射線画像撮影装置
US10335110B2 (en) Radiographic image capturing system and radiographic image capturing apparatus
JP2016043153A (ja) 可搬型放射線画像撮影装置および放射線画像撮影システム
JP2015213546A (ja) 放射線画像撮影装置および放射線画像撮影システム
JP6142758B2 (ja) 放射線画像撮影装置および放射線画像撮影システム
JP5790659B2 (ja) 放射線画像撮影装置
JP2014036776A (ja) 放射線画像撮影システムおよび放射線画像撮影装置
JP2017217171A (ja) 放射線画像撮影装置および放射線画像撮影システム
JP2013022044A (ja) 放射線画像撮影システムおよび放射線画像撮影装置
JP2013150226A (ja) 放射線画像撮影システムおよび放射線画像撮影装置
JP2014216820A (ja) 放射線画像撮影システムおよび放射線画像撮影装置
JP5626225B2 (ja) 放射線画像撮影装置および放射線画像撮影システム
JP2013093736A (ja) 放射線画像撮影装置および放射線画像撮影システム

Legal Events

Date Code Title Description
A621 Written request for application examination

Free format text: JAPANESE INTERMEDIATE CODE: A621

Effective date: 20190315

A977 Report on retrieval

Free format text: JAPANESE INTERMEDIATE CODE: A971007

Effective date: 20200122

A131 Notification of reasons for refusal

Free format text: JAPANESE INTERMEDIATE CODE: A131

Effective date: 20200212

A521 Request for written amendment filed

Free format text: JAPANESE INTERMEDIATE CODE: A523

Effective date: 20200403

A131 Notification of reasons for refusal

Free format text: JAPANESE INTERMEDIATE CODE: A131

Effective date: 20200707

A02 Decision of refusal

Free format text: JAPANESE INTERMEDIATE CODE: A02

Effective date: 20210105